rexresearch.com

Mark HOLTZAPPLE

StarRotor Engine



http://www.opensourceenergy.org/C17/News%20Viewer/default.aspx?ID=1135

Overview

by

Sterling Allan

The Future of the car engine. Could it be the StarRotor? Designed by a 5-year old company in Texas, it’s about half the size of a normal car engine, is 50-60 percent efficient, and --- according to it’s makers --- will be able to take you from New York to L.A. on just one tank of gas.

The company feels this puppy could make the jump from the lab to under your hood within the next decade.

Device is capable of burning a number of different fuels, from gasoline and diesel to natural gas and hydrogen.

What they have now is the "compressor" side of the engine. The "Expander" side is expected in about a year.

The 4th prototype (compressor) was expected to be completed in November, 2005, followed by testing. The company was expecting 80% efficiency, compared to the 72% they have measured on the 3rd prototype.

Two units have been sold to an oil company for beta testing (are being built now), according to Mark Holtzapple, co-founder and president. A new CNC mill procured this past Summer enables them to now fill orders.

The technology is protected by five U.S. Patents by Holtzapple, who is a professor of chemical engineering at Texas A&M University.

They are presently targeting the "distributed power" market with stationary power units. "The automobile market is very difficult to get into," said Holtzapple.


DARPA White Paper on the Holtzapple StarRotor Engine

( PDF Format )


Mark Holtzapple

Professor, Dept. Chemical Engineering, Texas A&M
( http://cheweb.tamu.edu/faculty/holtzapple/ )

http://starrotor.com

StarRotor Corp. HQ
1805 Southwood Dr.
College Station, TX 77840


http://www.thebatt.com/media/storage/paper657/news/2005/07/07/News/Aggies.Design.More.Efficient.Car.Engine-961180.shtml?norewrite200605262206&sourcedomain=www.thebatt.co

Aggies Design More Efficient Car Engine

by

Liang Liang


Media Credit: Ravi Garach

Mark Holtzapple, a professor in the Department of Chemical Engineering, shows the outer rotor, which is one of the key internal parts of the StarRotor compressor, on Wednesday.
 

Seven miles away from Texas A&M is a group of workshops and warehouses. Among them is a manufacturing facility where Mark Holtzapple, a professor in the Department of Chemical Engineering, and three former A&M students built the StarRotor engine.

Holtzapple said StarRotor has features that customers want but typical engines don't provide, such as high efficiency in oil consumption, low maintenance, low price and a lasting durability.

"Typical engines are only 15 to 20 percent efficient in consuming oil, as they lose a lot of energy when they emit hot exhaust gas into the air," Holtzapple said. "StarRotor could be 65 percent efficient (in oil consumption), as it releases much less heat."

Holtzapple said that just like every other engine, StarRotor has a combustor, compressor and extender. What makes StarRotor different is a heat exchanger between the compressor and combustor, and a water spray over the compressor. Holtzapple said the heat exchanger preheats gas so the combustor burns less fuel, and the water spray reduces the heat the compressor gives off.

Kyle Ross, an engineer with the StarRotor Corp. who received his doctorate from A&M in 1998, said that because StarRotor is more compact, it allows the engine to last longer and have less maintenance.

"It only has 10 to 20 percent of parts of a typical engine," Ross said. "It costs less to produce, and there is not much up and down piston movement in StarRotor. It just has two rotors, which mean little friction."

Holtzapple said StarRotor is designed to burn any reactive fuel such as diesel, alcohol and even olive oil, rather than a stable fuel such as gasoline. Holtzapple said the engine emits little pollution, as it doesn't emit unburned fuels like a typical engine does.

Andrew Rabroker, an engineer who received his master's from A&M in 2000, said the team has come up with solutions for the technical challenges it encountered, such as gas leakage problems. Rabroker said the group is now working on how to manage the high temperature operation of the engine.

"When a few parts of the machine just came out four years ago, a lot of people laughed," Rabroker said. "They doubted if we could really make it."

Ross said that despite some people's doubts, the group has managed to get investments from private investors, who in turn own a percentage of the company. Ross said the group hasn't considered going to the public to raise funds, because under the regulations of the United States government, it would take half of a million dollars for a company to issue stocks. Additionally, the team wants to wait until more of the StarRotor technologies have been tested and proved.

Holtzapple said the group's job is divided into two parts; the first part is to get job done, and the second part is to let people know about it.

"Now we are working on the first part," Holtzapple said.

Holtzapple said the team has finished producing the compressor of StarRotor, which holds two U.S. patents. Holtzapple said the team expects to have a prototype engine in a year and start selling the engine in five years.

Christopher Ciesielski, a sophomore chemical engineering major, said he is working with the team as an intern this summer. He said he got to know about StarRotor during the spring semester through one of Holtzapple's classes.

"When I heard about the engine, I thought it was very interesting," he said. "After class, I asked Dr. Holtzapple if they would consider having a freshman as an intern to work with them, (and) he said yes. I am glad that I got to be here this summer. (I'm) learning a lot."


http://www.greencarcongress.com/2006/04/a_braytoncycle_.html

A Compact Brayton-Cycle Engine

( 28 April 2006 )

A Texas A&M chemical engineering professor has developed a process to convert biomass to a mixed alcohol fuel that contains more energy than fuel ethanol. He has also developed a compact Brayton-cycle engine (the same thermodynamic cycle employed by jet engines) capable of being powered by any type of fuel—including his MixAlco mixed alcohol fuel.

Prof. Mark Holtzapple projects that his StarRotor engine, which is being developed by a company of the same name, could deliver efficiencies of 49–55% applied in a passenger car—about 2.5 to 3 times more efficient than a conventioanl gasoline engine.

The StarRotor engine. In the classic Brayton-cycle engine, ambient air is pressurized in a compressor, passed to a mixing chamber where fuel is added, and then ignited in an expansion chamber. It then expands through a piston/cylinder.

As applied to gas turbines, the Brayton engine has a compressor, a burner and an expansion turbine. Ambient air is compressed and passed through a heat exchanger for pre-heating. The pre-heated charge goes to a combustor where fuel is ignited, and the hot compressed air then flows to an expander where the thermal energy is converted to shaft work. The hot exhaust gases from the expander are sent to the heat exchanger where they are cooled and then discharged.

Brayton cycle engines have a high power density (hence their use in jet aircraft), compared to the lower power density of Otto (spark ignition) and Diesel engines.

The major challenge in implementing Brayton cycle engines, according to an analysis done for the Defense Advanced Research Projects Agency by Holtzapple, is to find a means to process large volumes of air to achieve a desired power output.

Traditionally, this is accomplished using dynamic (i.e., axial or centrifugal) compressors and expanders. The devices, however, require very high speeds—e.g., 100,000 rpm for a 30kW unit—to develop the desired pressure and flow. They also operate efficiently at only one speed, and are affected by changes in air density.

The patented StarRotor Brayton cycle engine uses gerotors for both the compressor and expander. (A gerotor is a positive displacement pump mechanism that delivers a known, predetermined quantity of fluid in proportion to speed.)

The StarRotor compressor has an inner gerotor with n teeth and an outer gerotor with n + 1 teeth. As the gerotors rotate, the void that opens draws air in through the inlet port. As the rotation continues, the void closes and compresses the air. When the air is compressed enough, the compressed air exhausts through the outlet port.

Because the void opens n + 1 times per revolution of the outer gerotor, the gerotor compressor is able to process enormous volumes of gas in a very compact size. The expander operates similarly to the compressor, except in reverse.

The StarRotor applied in a vehicle could yield efficiencies of 49 to 55% and fuel economy of 75 to 100 mpg, according to Holtzapple.

The gerotor teeth must be dry --- lubricants are not compatible with the high temperatures. To prevent wear and friction, there must be no physical contact between the teeth of the inner and outer gerotors. StarRotor employs an inexpensive surface treatment to minimize gas leakage through the small gap, and an external synchronization mechanism ensures proper motion of the inner and outer gerotors.

The StarRotor, according to Holtzapple, can offer power ranges from 50W to 50,000kW. Lower-power versions employ a single stage that compresses air from 1 to 6 atm. The medium-power engines employ a second stage that compresses air from 6 to 36 atm. The high-power engines employ a third stage that compresses air from 36 to 216 atm. The power density is improved by using small-diameter rotors that rotate rapidly.


http://www.theeagle.com/businesstechnology/051803inventors.htm
© 2000 - 2006 The Bryan-College Station Eagle
May 17, 2003

A&M System recognizes inventors for their efforts

By KELLI LEVEY
Eagle Staff Writer


Eagle photo/Dave McDermand

Mark Holtzapple, the winner of the Ingenuity Award, displays his StarRotor engine during the Spirit of Innovation event held at the MSC last week. “We’re thinking [the engine] will last about 1 million miles,” he said. “The thought is you would never buy the engine, you’d lease it, and because the body would wear out so much quicker than the engine you’d just have to switch those out over the years.”

The mention of inventions evokes images of mad scientists hunched over test tubes, hair askew and scribbled notes scattered around.

Their projects typically had names no one could pronounce and applications no one could fathom.

But the half-dozen inventors recognized during a program Wednesday at Texas A&M University proved those stereotypes no longer hold true.

The inventors of the Texas 1015 Onion, highway safety devices and a high-efficiency engine were among those who received “Spirit of Innovation” awards.

The A&M System’s Technology Licensing Office recently received notification of the invention of an efficient hybrid vehicle, the 2,000th submitted since the office opened in 1992.

Herbert Richardson, who was chancellor of the A&M System at that time, said things have changed tremendously since then.

“Faculty was discouraged from inventing, and in some cases it was actually illegal for them to do so,” he said.

“The culture still has not gotten to a point where there is a tremendous, universitywide enthusiasm for innovation. We have to make sure those inventions follow through.”

Research and development generates about $40 billion nationally and product testing accounts for about one-quarter of a million jobs, said Terry Young, executive director of the technology licensing office.

So far this year, 50 inventions with the potential to help mankind have been filed within the A&M System, said Young, who also is assistant vice chancellor for technology transfer.

“It is amazing to realize the impact the A&M System is having on the state, the nation and the world,” he said.

The winner of the Ingenuity Award was Mark Holtzapple, who is developing the StarRotor engine. He said it is high-efficiency, very durable and able to run on multiple types of fuels, such as alcohol or diesel fuel — even olive oil.

With the current gas tank sizes it would last 1,000 miles between fill-ups and 50,000 to 100,000 between oil changes.

“An added bonus is the air goes through a heat exchanger so what is released is relatively cool gas,” said Holtzapple, whose focus on every project is minimizing damage to the environment. “There’s almost no pollution.”

The engine also is designed to be durable, he said.

“We’re thinking it will last about one million miles,” he said. “The thought is you would never buy the engine, you’d lease it, and because the body would wear out so much quicker than the engine you’d just have to switch those out over the years.

“Literally, a college kid could buy one of these engines and use it his whole life, then pass it down to his kids when they start driving.”

The engine also is powerful and compact because it is based on the technology of a jet engine. The space saved could go to increase the passenger capacity, Holtzapple said.

Attention is being focused nationally on hydrogen-powered vehicles, but Holtzapple said he thinks his approach is more feasible.

“We wish them luck, but we think we’ve found a better way,” he said.

“I really believe this is the engine we’ve all been waiting for. Time will tell, but we think so. It takes you where you want to go and does it without requiring a lot of tinkering or things that can go wrong.”

The next step in Holtzapple’s process is to build and test a compressor this summer.

“The manufacturers tell us they see a lot of ‘paper motors,’ which means they look good as a design, but we’ll soon have the data to back it, then we can move forward with marketing it,” Holtzapple said.

Holtzapple’s project is being backed largely by Mark Carrabba, the owner of several area businesses. Carrabba said as a manufacturer he was impressed with the economy of the engine, which has about 200 parts compared with about 2,000 on a regular engine.

A&M’s licensing office played matchmaker between the pair after Carrabba expressed concern that inventions coming out of the university weren’t being developed.

“I said, ‘Here we are in College Station, kind of a small town, and we have a world-class university here and quite a bit of inventing going on,’” Carrabba said. “It seems to me there is not much spin-off business here — but there will be. Things are certainly moving in that direction.”

Howard Graves, chancellor of the A&M System, said research and disseminating information about that research are essential parts of a university’s role.

“If we’re going to be good stewards of our resources we need to be sure we come up with good products,” he said. “At the same time, we need to be fully funded.”

• Kelli Levey’s e-mail address is klevey@theeagle.com.


US Patent # 6,336,317

( PDF, 1 MB )

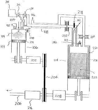
Quasi-Isothermal Brayton Cycle Engine

Abstract ~ An engine is disclosed. According to one embodiment of the present invention, the engine comprises a compressor, and combustor, and an expander. The compressor compresses ambient air. The combustor burns the compressed air, and produces exhaust gasses. The expander receives the exhaust gases from the combustor, and expands the exhaust gasses. The compressor may be a gerotor compressor or a piston compressor having variable-dead-volume control. The expander may be a gerotor expander or a piston expander having variable-dead-volume control. In another embodiment, an engine comprises a piston compressor, a combustor, a piston expander, and a pressure tank. The piston compressor compresses ambient air. The combustor burns the compressed air, and produces exhaust gasses. The piston expander receives the exhaust gasses from the combustor, and expands the exhaust gasses. The pressure tank receives and stores the compressed air from the compressor. In another embodiment, a gerotor compressor or a gerotor expander comprises an inner gerotor, and an outer gerotor. The inner gerotor and the outer gerotor are driven so that they do not touch. The gerotors may be cantilevered or non-cantilevered.


US Patent # 6,886,326

( PDF, 1 MB )

Quasi-Isothermal Brayton Cycle Engine


Abstract ~ An engine is disclosed. According to one embodiment of the present invention, the engine comprises a compressor, and combustor, and an expander. The compressor compresses ambient air. The combustor burns the compressed air, and produces exhaust gasses. The expander receives the exhaust gases from the combustor, and expands the exhaust gasses. The compressor may be a gerotor compressor or a piston compressor having variable-dead-volume control. The expander may be a gerotor expander or a piston expander having variable-dead-volume control. In another embodiment, an engine comprises a piston compressor, a combustor, a piston expander, and a pressure tank. The piston compressor compresses ambient air. The combustor burns the compressed air, and produces exhaust gasses. The piston expander receives the exhaust gasses from the combustor, and expands the exhaust gasses. The pressure tank receives and stores the compressed air from the compressor. In another embodiment, a gerotor compressor or a gerotor expander comprises an inner gerotor, and an outer gerotor. The inner gerotor and the outer gerotor are driven so that they do not touch. The gerotors may be cantilevered or non-cantilevered.


US Patent # 6,684,658

Vapor-Compression Evaporative Air Conditioning Systems and Components

Abstract ~ Novel vapor compression evaporative cooling systems which use water as a refrigerant are provided, as are methods for using same. Also provided are novel compressors, compressor components, and means for removing noncondensibles useful in such cooling systems.


US Patent # 6,530,211

( PDF, 1 MB )

Quasi-Isothermal Brayton Cycle Engine

Classification: --- international: F01C1/10; F01C11/00; F01C21/10; F02B75/02; F02G1/02; F02G3/02; F04C18/10; F02B53/00; F01C1/00; F01C11/00; F01C21/00; F02B75/02; F02G1/00; F02G3/00; F04C18/08; F02B53/00; (IPC1-7): F02G1/00; F02C3/00; F02G3/00; F04B49/00; F04C18/00; --- european: F01C1/10D; F01C11/00B2; F01C21/10; F02B75/02; F02G1/02; F02G3/02; F04C18/10

Abstract ~ An engine is disclosed. According to one embodiment of the present invention, the engine comprises a compressor, and combustor, and an expander. The compressor compresses ambient air. The combustor bums the compressed air, and produces exhaust gasses. The expander receives the exhaust gases from the combustor, and expands the exhaust gasses. The compressor may be a gerotor compressor or a piston compressor having variable-dead-volume control. The expander may be a gerotor expander or a piston expander having variable-dead-volume control. In another embodiment, an engine comprises a piston compressor, a combustor, a piston expander, and a pressure tank. The piston compressor compresses ambient air. The combustor bums the compressed air, and produces exhaust gasses. The piston expander receives the exhaust gasses from the combustor, and expands the exhaust gasses. The pressure tank receives and stores the compressed air from the compressor. In another embodiment, a gerotor compressor or a gerotor expander comprises an inner gerotor, and an outer gerotor. The inner gerotor and the outer gerotor are driven so that they do not touch. The gerotors may be cantilevered or non-cantilevered.


US Patent # 6,427,453

Vapor-Compression Evaporative Air Conditioning Systems and Components

Abstract ~ Novel vapor compression evaporative cooling systems which use water as a refrigerant are provided, as are methods for using same. Also provided are novel compressors, compressor components, and means for removing noncondensibles useful in such cooling systems.


US Patent # 7,008,200

Gerotor Apparatus for a Quasi-Isothermal Brayton Cycle Engine

Abstract ~ According to one embodiment of the invention, a gerotor apparatus includes an outer gerotor having an outer gerotor chamber, an inner gerotor, at least a portion of which is disposed within the outer gerotor chamber, and a synchronizing apparatus operable to control the rotation of the inner gerotor relative to the outer gerotor. The inner gerotor includes one or more entrance passages operable to communicate a lubricant into the outer gerotor chamber.