
rexresearch.com
Jurij KRAVCHENKO, et al
Biological Anomaly Detectors
http://www.sott.net/article/270676-Unconventional-research-in-USSR-and-Russia
http://www.unconv-association.org/sites/unconventional/files/publications/kernbach-IJUS13-en.pdf
http://cybertronica.co/sites/default/files/publications/kernbach-IJUS13-en.pdf
Long and Super-Long Range
device-device and operator-device Interactions
Serge Kernbach, Vitaliy Zamsha, Yuri Kravchenko
Abstract - This work describes performed device-device and
operator-device experiments at long and super-long distances of
>1 km, >100 km and >10000 km. Experimental setup uses two
types of sensors, based on electric double layers and IGA-1
device, and two types of LED and laser generators. We analyzed the
construction of the setup, establishing a connection between
receiver and emitter, and multiple effects appeared. A common
character of operator- and device- interactions is assumed. This
approach can be considered as a novel communication system as well
as a system for operator training with an objective feedback from
devices...
Reference to :
http://psiterror.ru/download.php?view.179
Long Instrumental nonlocal interactions
in the formation of the concept of "teleportation of
information"
A.Yu.Smirnov
Description The aim is to study the long-range "nonlocal
interactions" (HB) and their physical mechanisms. The results of
HB on living beings using their images created by physical methods
(for negatives). The role of the state (and content) of the
consciousness of the experimenter in the implementation of HB.
Formulated epistemological paradox "psychophysics" (GLP) consists
in the fact that in the framework of a consistent application of
the methods and approaches of classical science obtained
information contrary to its theoretical grounds (in the form of
the phenomena of "psychophysics"). The ways of the permission of
GLP by forming appropriate for the "psychophysics" symbolic
languages, codes and methods of coding - decoding the information.
It is assumed and discussed the existence of a universal physical
factor determining the existence of long-range nonlocal effects
(DNV).
Man-made device "generators" are modified, and the operators that
have consciousness, "design" appearance. The data on "generators"
and "Registrar" DNV.
It is assumed that "energy information" (EI) system to compensate
(through adaptation) changes its state from the individual "point"
EI impacts. Formulated the principle of the system 'of Energy
"effects, providing a more efficient DNV.
Experimental studies were carried out on the basis of the Group of
Non-Ionizing Radiation Biophysics Research Institute Edith RCRC
RAMS c 1980 to 2004 ..
"Teleporter" with the possibility of local and nonlocal
(distant) Impact (2002). From left to see the input waveguide
exciting "TI" EHF EMR.
http://people.uta.fi/~kamiah/Ahonen_Sarja_Hanninen_Tallinn_Final_2012.pdf
Variability of Hartmann lines and
copper net effects
Researcher, PhD Mikko Ahonen
http://auraumana.altervista.org/carlo_splendore_ricerche_sull_aura_eng.pdf
Researches on Human Aura
Carlo Splendore
Clairvoyant Investigation / Simple
Do-It-Yourself Devices / Photo of the Aura by Digital
Process for Psycho-Physical Diagnosis
Patents
RU2080605
METHOD OF EXAMINATION OF ELECTROMAGNETIC FIELDS OF SURFACES
Inventor:
BOROVSKIJ SERGEJ // KRAVCHENKO YURIJ
[0001]
The invention relates to the study of physical parameters of a
condition of objects of metal, biological, and others.) Are in
different states, such as those associated with processing, aimed
at improving the quality of products.
The practical application of the technology of aviation and space
engine and Apparatus (instrumental and primary production),
medical diagnosis of the human condition, and others.
[0002]
A method is known studieseletrophysiological surface conditions
comprising that the material, one face of which was examined fixed
with macroscopic gap relative to the receiving electrode, the
receiving electrode connected to the input of the operational
amplifier as a first stage and a differential amplifier as the
second stage is isolated and reinforcing only varying part of the
signal, an operational amplifier span feedback through a
RC-circuit of a capacitor and a resistor, the free edge of the
material is connected through a resistor to the free input of the
operational amplifier having connections to the body of the device
and the measurement of the signal produced at the output of the
differential amplifier [1] Disadvantages of existing method
associated with leakage of the charge through the input amplifier
circuit at the time of measurement, and consequently,introducing
systematic error, firstly, and low accuracy in the measurement of
weak electrostatic parameters, and secondly, (since the signal
gain can be achieved only by measuring the current through the
receiving electrode when it approaches the surface when there is a
change in capacitance between the surface and the electrode) does
not allow the use of a method for identifying a substance and a
category of state of the object.
[0003]
A method is known studies of electrostatic fields surfaces,
preferably after the various processing aimed at improving the
quality of products comprising that material one of whose surfaces
examined, fixed with a uniform gap relative to the plate of the
receiving electrode, with a receiving electrode connected to an
input of electrometer amplifier , the latter operate on the
differential amplifier, the outputs of which the signals applied
to the inputs of the operational amplifier and the electrometer
amplifier span parallel negative feedback via a capacitor, in
which the receiving electrode with induced charge without first
modulating the electric field at the moment it approaches the
surface under investigation,and measure the voltage at the output
[2] The disadvantages of the method: the leakage of charge through
the amplifier; low precision in the study of weak fields;
one-parameter study does not allow the identification of the
substance or category of object state.
[0004]
By identifying realize establishment of the fact whether the test
substance or the state of the object to one of the known which on
the basis of preliminary experimental data produced by the
corresponding rank (systematization) the spectrum recorded
characteristics (e.g., x-ray analysis for the presence of a
particular line in the spectrum of the secondary X-ray judge about
the object of its composition or state, for example, the
allocation of the various chemical components of phase).
[0005]
The closest technical solution chosen as the closest analog is a
method of investigation of the electromagnetic fields surfaces
consists in the fact that the object of investigation and the
plate receiving electrode is placed in a shielded insulated
chamber research facility is connected to the ground bus meter
test surface has a fixedly on the fixed distance relative to the
receiving electrode, the receiving electrode connected to the
input of the operational amplifier through an electronic switch
voltage amplifier span parallel negative feedback via a capacitor,
on which a receiving electrode induces a charge, sets a
predetermined switching frequency, produce at the amplifier output
pulses of input current and a pulse current through capacity
"investigated surface receiving electrode"increase induced on the
capacitor negative feedback charge by integrating the pulsed
increment of the input current of the amplifier within a
predetermined period of time and measure the output voltage [3]
The disadvantage of the closest analog-parameter study, does not
allow identification of the substance or category of state of an
object, including taking into account the presence of local Places
outages in the composition of matter and the state of the object.
Specific dimensions of local inhomogeneities could be identified
with traditional scanning the surface of the object.
Another disadvantage of narrow functionality due to lack of
measuring the phase shift between the various frequency components
of the electromagnetic spectrum.
[0006]
The goal is achieved by a method for the study of electromagnetic
fields surfaces, lies in the fact that the object of study and a
plate - a receiving electrode placed in a shielded insulated
chamber, the object of investigation is connected to the ground
bus meter piemny electrode is connected to the input of the
operational amplifier via the electronic switch voltage
operational amplifier span parallel negative feedback via a
capacitor, in which the receiving electrode is induced with a
charge, a predetermined set switching frequency, to provide input
operational amplifier input current pulses and a pulse current
through the capacitance "investigated surface receiving
electrode"increase induced by the capacitor negative feedback
charge by integrating the pulse increment input current amplifier
for a predetermined period of time, measured the output voltage,
unlike the prototype produces a change of the switching frequency
in a predetermined range is determined corresponding to each value
of the frequency of the output voltage and is plotted switching
frequency output voltage, then built the spectral dependence
determine the value of the switching frequency, the corresponding
line of extreme output voltage and use the presence of this line
and its intensity for identification.
[0007]
The drawing shows an equivalent circuit of the method of
investigation of the electromagnetic field as the object surfaces
prior art method and the proposed method.
[0008]
It is evident that a change in the input voltage is equal to where
f is the switching frequency, & omega; & Pi = 2; f input
resistance Rin of the operational amplifier.
[0009]
Through capacitance Ci flowing pulse current proportional to the
input voltage Vin equal to Vin + & Delta; Ui use of electronic
switch voltage, connect it directly to the input of the
operational amplifier; setting the switching frequency f, creating
at the amplifier input pulses of the input current, and generates
a pulsed current through the capacitance investigated surface
receiving electrode integration pulsed increment of the input
current of the amplifier within a predetermined period of time to
increase the induced capacitor feedback charge investigated metal
surface enable together exactly make measurement of weak
electrostatic fields surfaces.
[0010]
Additionally, the switching frequency is changed in a
predetermined range, the output voltage is determined for each new
value of the frequency is plotted "switching frequency output
voltage" is determined according to the maximum spectral
constructed and used the presence of the line (maximum) and its
intensity for identification.
RU2118181
METHOD OF PROTECTION AGAINST ELECTROMAGNETIC ANOMALIES AT
EARTH SURFACE
FIELD: medicine; medical engineering. SUBSTANCE: method may be
used to protect living organisms against detrimental effects of
earth radiation anomalies. Method allows higher accuracy due to
objectivization of determination of geopathogenic zone localizing
boundaries and classification of anomalies. Method guarantees
protection against other components of earth radiation of other
nature. It also provides for protection against volumetric
distribution of earth radiation anomalies. Method includes
determination of objective noise phase-frequency characteristics
of earth radiation electrical component within range of section
being examined. Map of nonuniformities of field characteristic
distribution over space located above section being examined is
drawn up, and objects to be protected are arranged at places
corresponding to those in map with the least values of field
characteristics.;
EFFECT: higher accuracy, enhanced reliability
[0001]
The invention relates to the field of medicine and medical
equipment and can be used to protect living organisms from harmful
effects of the anomalies of terrestrial radiation, including
electromagnetic, in the so-called geopathogenic zones, such as the
placement of beds, planning jobs, the construction of houses, the
choice , broken down and seeding garden and vegetable plots.
[0002]
There is a method to compensate for the geomagnetic field, which
consists in the fact that they create an additional magnetic field
with the help of independent auxiliary windings powered by power
sources, which are controlled by signals from the magnetometers,
proportional to the measured or the fluctuations of the
geomagnetic field of the measurement of the current in the main
compensating windings [1].
[0003]
The disadvantages of this method are the high complexity, low
accuracy due to the impossibility of compensating all the
irregularities of the field by a finite set of sources, low
functionality for failure to compensate the volume distribution of
the anomalies of the field, as well as the low reliability of the
protection due compensation only part of the electromagnetic
radiation of the earth.
[0004]
Known method of protection against terrestrial radiation,
comprising the steps of determining the characteristics of the
field distribution characteristics map a field and place the
objects to be protected, at locations corresponding to the lowest
values ??of the characteristics.
In addition, characteristics of the field is determined indirectly
on the subjective feelings of the operator, and a map of the
projections constitute a subjective sensation of the operator on
the surface of the test site.
In addition, an indication of subjective sensations of the
operator is carried out by a spontaneous motion of a pendulum or a
frame that keeps the operator in the handles and moves at a
constant height above the surface of the investigated area [2].
[0005]
The disadvantages of the known method is the low accuracy and
repeatability due to the placement of objects on the basis of the
maps, which is a reflection of the subjective feelings of the
operator moving across the survey area, which is largely dependent
on the individual operator, its individual sensitivity, emotional
and physical condition, the impact of external psychophysiological
factors etc.
In addition, the drawbacks of the method are also low
functionality, not allowing to protect objects from bulk geopathic
formations.
[0006]
The aim of the invention is to improve the accuracy by
objectification delimitation localization of geopathic zones and
classification anomalies, simplifying, improving the reliability
due to the fact that the invention makes it possible to guarantee
the protection of the other components of the terrestrial
radiation of a different nature, as well as enhanced functionality
through the definition and protection of the surround distribution
of anomalies of terrestrial radiation, as well as increased
sensitivity and reproducibility of measurements.
[0007]
To achieve this goal in the known method of protection against
terrestrial radiation is the fact that determine the
characteristics of the field, up map of the characteristics of the
field and place the objects to be protected in the positions
corresponding to the lowest values ??of the characteristics as the
characteristics of the field is determined by objective
phase-frequency characteristics of the noise electric component of
terrestrial radiation map of the characteristics of the field up
in space over the study area, and securable objects are placed on
the map of the objective characteristics of the field, and the
accommodations are spatial regions.
In addition, phase response terrestrial radiation is determined by
the fact that they take a receiving antenna noise signal electric
component of the earth radiation, convert it to a noise electric
signal from which is isolated by at least one harmonic component
at a fixed frequency in the range of super-long wave is measured
and indicates the amount of shift in phase between this component
and the reference signal of the same frequency within the dead
zone and the integral of the phase shift outside the deadband.
In addition, the map distribution characteristics of the field
constituted by the fact that moved at a constant speed receiver
antenna parallel to the ground in the proposed direction of
searching and reading the phase shift, or integral, before each
motion compensated interfering background aligning the phase shift
of the received signal and the reference and set the zero initial
conditions of integration, and with the appearance of phase shift
movement of the antenna is produced in the opposite direction and
reversible changes indicator record the exact boundary of the
anomalous zone, and by a sharp irreversible changes of the
indicator fixed entry into the abnormal area and the degree of its
intensity on the rate of increase of readings indicator.
Furthermore, the noise signal electric component terrestrial
radiation take due to the fact that they form electrical
capacitance between the receiving antenna and the ground, the size
of the antenna selected in a range far from resonance at the
operating frequencies, and conversion into an electrical signal is
produced by the fact that the measured change in charge formed
capacity.
In addition, characteristics of the field is determined by the
volume of the sample portion by the fact that the determined
characteristics of the field over the entire surface of the
portion at different levels in three mutually perpendicular
planes.
[0008]
Figure 1 shows graphs measuring the phase shift and integral
along the path passing through geopathic zone (GPP), and the
process of determining its precise borders.
[0009]
Figure 2 shows a graph of the magnitude of the phase shift
and integral in determining the approximate boundaries of the
GEA.
[0010]
Figure 3 shows a three-dimensional structure and its
sectional ILI in three planes.
[0011]
FIG. 4 shows the valid and invalid placement workplace
person with respect to GPP.
[0012]
FIG. 5 shows a vertical section through the stacked
apartment house for a specific example of the method of
(example, N 1).
[0013]
FIG. 6 shows the layout of jobs to use the proposed method
in Example N 2.
[0014]
FIG. 7 shows the same as Figure 6, after application of the
proposed method.
[0015]
8 shows a layout jobs to use the proposed method in Example
N 3.
[0016]
FIG. 9 shows the same as Figure 8, after applying the
proposed method.
[0017]
FIG. 10 shows a volume of geopathogenic zones of
residential apartments for example the N 4.
[0018]

The method of protection against electromagnetic anomalies at the
surface of the Earth is based on the objectification determine the
exact boundaries of geopathic anomalies fixing distortion field,
determined by the nature of change in phase-frequency
characteristics of the noise component of the electromagnetic
field of super-long radio frequency waves, while moving the
antenna above the sample surface.
Reading phase field parameters can significantly improve the noise
immunity of determining geopathogenic zones and therefore the
accuracy of the method, as interference are mostly amplitude
character.
A background noise component of the electromagnetic field produced
by the electric component of the background radiation over the
survey area by measuring fluctuations of the charge receiving
antenna, which can significantly weaken the magnetic component of
noise having a frequency band used in precedence, for example in
the form of radiation stations.
The method uses the most informative signal noise components in a
useful signal, which is achieved in combination with an additional
operation input using ultrashort untuned wideband antenna whose
dimensions are much smaller than the resonance at the frequencies
that also provides attenuation of radio signals, aligns thereby
gain characteristics received noise signals, which eliminates the
need for gain control.
All these operations are further in combination allow so increase
the gain when detecting geopathic zones, making possible their
objective localization with high accuracy, unlike the known
existing methods, including the prototype, which significantly
improves the reliability of the protection.
The method of protection against electromagnetic anomalies in the
Earth's surface is also based on the redistribution of protected
sites in the most secure areas of the re-created the spatial
pattern of the field.
This takes into account the presence of not only the projection of
the field inhomogeneities on the earth's surface (or the surface
of the floor in a residential area) in the form of networks
Hartman [3] Kurri [4] and geopathogenic spots [5], but also the
spatial structure of the networks and spots topology with which a
change in the height range of the human growth may largely differ
from the cross section near the surface under study, which is
usually the only way and taken into account in the known methods.
This in turn imposes more stringent restrictions on the placement
of objects to be protected than in the prior art, t. E. The
operation of accommodation due to it is performed differently.
In addition, identification of hazards in the spatial field
pattern of the study area and the redistribution of protected
sites effectively guarantees their protection from the harmful
effects of the electromagnetic component, and on the components of
a different nature, which is not true of the known methods of
protection, based on the screening because they allow protects the
lens only by a particular component of the radiation, such as
electromagnetic.
To. It is known that in geopathogenic zones has a match in the
topology status abnormalities fields of different nature (magnetic
[6], the electromagnetic radio spectrum [7], the ultraviolet range
[8], increased background radiation [9], climate anomalies [10]
and may still unknown nature), then the best choice is the radical
protection safe place for one of the most easily detected
radiation components corresponding to the object arrangement and
protection as is done in the proposed method.
[0019]
The method of protection against electromagnetic anomalies in the
Earth's surface is as follows.
[0020]
By scanning the test area define the characteristics of the
electromagnetic field at a constant height from the surface of the
land and map the characteristics of the field inhomogeneities.
[0021]
Features field determined by the fact that a portion of the
surface parallel to the receiving antenna in the form of a
conductive disc diameter of 2 - 10 cm, which forms the surface
portion of electrical capacitance, the magnitude of charge which
does not depend on the distance from the surface portion and an
electrical signal proportional to the noise component of the
radiophone.
Since the reception is performed in the range of super-long wave
(1 - 10 kHz), and the dimensions of the antenna are the super
small compared to the operating wavelength, the antenna is tuned
away from the resonance in this range, resulting in not performed
amplification at a single frequency, and are received noise
signals over a wide range.
Since such an antenna is not resonant, then it ensures uniform
amplitude-frequency characteristic around the operating frequency
range, resulting in no need to adjust the gain in the search
process, which greatly simplifies the method.
Because of the noise signal that is proportional to the charge of
the antenna component is isolated by filtering the frequency
narrow-band filter with a bandwidth equal shares of Hertz and
determine its phase shift relative to the reference signal whose
frequency is equal to the average frequency notch filter settings.
This value of phase difference and is used as a characteristic of
the field plot.
Since the change of phase shift, a diverse field in geopathogenic
zones are small, are calculated and displayed the integral of the
phase shift.
Before driving the antenna at any reference point sample portion
compensates the interfering background alignment phase shift
between the received and the reference signal by adjusting the
phase of the reference signal.
Further, the antenna is moved at a constant velocity at a height
of 0.8 - 1 m above the test site or at a predetermined level, and
the appearance and sharp increase in the signal integral of the
phase shift is judged to join the geopathic zone.
Fixing the integral of the phase shift can significantly improve
the accuracy of recording the presence of small phase shifts,
since the appearance of even small quantities of the phase shift
is a continuous growth of its integral, until reaching the
saturation value of the integral over a finite time, it is easy to
find on the display.
The speed of this growth at a constant rate of movement of the
antenna can judge the intensity of geopathic anomalies.
The exact definition of the boundaries 1 geopathic zones (GPZ) 2
(1) produced by the appearance of a small reversible phase-shift,
smaller dead zone and integrator immediately preceding
integration.
Since the intervals between geopathogenic zones 2, i.e. Zones
sharply pronounced change in phase shift 3 present his small
fluctuations 4, the presence of a dead zone 5 integrator to avoid
integrating them (Figure 1).
The exact boundaries of GPP 2 is determined while fixing the
position since the start of integration 6 and subsequent fixation
of the position immediately preceding the date the integration
resetting the integrator 7, which is the exact boundary of 1 ILI
2.
Position the start of integration 6 is determined by the fact that
immediately after the sharp increase of the indicator come back
for a short distance, set the zero initial conditions of
integration and continue to move forward at a constant speed, but
oscillating 8 amplitude of several centimeters back and forth by
the receiving antenna 9 (Figure 1).
The position is determined by the beginning of the integration
between the last swing of the antenna 9 in which a reversible
change of the indicator, and the first swing, which while
advancing backwards indicator is not reduced.
The distance between the exact boundaries of GPP 1 and the start
of integration 6 is typically a few centimeters.
If this accuracy is not required, it can be considered the
beginning of ILI starting position of integration 6, and the
display indicate only signals exceeding the dead zone of the
integrator 5 (2).
[0022]
In order to avoid the accumulation of hardware drift before and
during measurements periodically set the initial conditions of the
integrator to zero.
[0023]
After identifying the topology of the borders of geopathogenic
zones characterized by the presence of a phase shift greater than
the dead zone integrator and mapping projection irregularities
electromagnetic field on the surface of the entire study area,
producing movement of objects to be protected (plants, places of
permanent residence of people, for example, sleeping, working and
etc.) in place with the minimum values ??of the characteristics of
the field, ie, with zero phase shift (with a constant phase shift
without sudden changes).
[0024]
In drawing up the three-dimensional map of the field
inhomogeneities of the investigated area by moving the antenna
parallel to the three mutually perpendicular planes at different
levels and for each level up my card section for measuring time
integral of the phase shift.
Map of the distribution of bulk inhomogeneities field
reconstructed by combining the received card sections.
In order to expedite the more detailed measurement is carried out
in areas identified ILI (3).
[0025]
Redistribution protection objects is carried out in accordance
with their size and shape in three dimensions so that no part of
the object does not reach the place of his permanent residence in
any part of the GEA. For example, no part of the body of a man
sitting behind a desk or standing at the workplace should not fall
into the GEA throughout the growth (Figure 4). The inadmissibility
of stay in the workplace 4 can only be determined by the proposed
method, t. To. The known methods show that the spot (GPP
projection on the floor) is located outside the workplace.
[0026]
The proposed method of protection against electromagnetic
anomalies in the Earth's surface has been applied at the request
of the family Filatov living on the sixth floor of a nine houses,
due to their suspicions about the impact of accommodation on the
health of her husband. Filatov, 53 years old, sick with arthritis,
myocardial infarction transfer. He believes that the state of his
health affects berth. Complaints of feeling unwell after sleeping
on the couch.
[0027]
Determination geopathic zones produced by the inventive method by
detecting the presence of the phase shift between the selected
frequency component of the received noise signal and the reference
signal for evaluating the presence and the growth rate of the
integral of the phase shift.
Payment interfering background made at the left door jamb in point
A (5). Locations borders of geopathogenic zones moves at a
constant speed of the antenna parallel to the floor at a distance
of about 1 meter away. Simultaneously geopathogenic zones to
control were determined by dowsing bioperator Goriukhino AS
[0028]
In the hall, where there was a bed owner, discovered the network
Hartman reduced size (1,2 & bull; 1,3 m), units that come to
bed. In addition, on a bunk it was recorded three energy spot
diameter of 20 - 30 cm (perceived by dowsing as one large spot)
and pull the spot size of about 30 x 50 cm.
The rest of the testimony on the proposed method and the method of
dowsing almost identical.
[0029]
Further, according to the proposed method produced moving bed in a
safe place with zero phase shift. Filatov noted evidence of
improved health occur within a week after moving bed. Act on the
implementation of the proposed method is applied.
[0030]
Example 2.
Manufactures application of the proposed method of protection
against electromagnetic anomalies in order to protect employees
experienced track machine station N 61 (FDIS-61) at the station
Dema (Mr.
Ufa) from the harmful effects of geopathogenic zones of intense
radiation.
[0031]
In the offices FDIS-61 detected a standard network Hartman (2,5
& bull; 2 m), and recommendations for changes in the location
of jobs. The accounting office (FIG. 6) in addition to the
specified network Hartman discovered anomalous zone as a spot 10
high intensity radiation with a high growth rate of the integral
of the measured phase shift. The operator moving speed is about
0.5 m / sec. The size of the detected spots 40 & bull; 60 cm,
located between the windows of accounting at a distance of 1 m
from the wall (Figure 6). The measurements have coincided with the
testimony of the operator of dowsing. Noted complaints staff
unexplained deterioration of health and health status. After the
measurements according to the proposed method in the cabinet
reshuffle accounts were produced (7) so that jobs do not end up on
the network nodes and Hartman were possible within 10 abnormal
spots. Two days later, two of the four were in the anomalous zones
accounting officer (11 and 12) reported an improvement in
well-being, a significant decrease in fatigue after a working day
and reducing irritability at work and at home. The workplace of
one of these 11 employees were directly over the zone of intense
radiation 10. 13 Employee workplace which is next to the network
node Hartman, also reported an improvement in health status after
2.5 weeks. Messages about any changes from the staff of 14 and 15
have been received.
[0032]
Example 3.
Under the agreement, the state environmental inspection of
premises of the hospital of the N 4 Ufa, the proposed method has
been applied to improve the environmental situation in these
chambers and offices of three prenatal chamber on the fifth floor,
a total area of ??150 square meters, five delivery rooms and
doctors' offices on the south side of the fifth floor of the
building with total area of ??about 200 square meters; children's
intensive care unit, three delivery room, operating room,
children's wards and detention centers, the Chamber of the west
wing on the fourth floor, a total area of ??about 1,400 square
meters; pharmacy room on the first floor, an area of ??about 100
square meters.
FIG. 8 is a plan for the preparation of pharmaceutical drugs
boxing with the layout of jobs before applying the proposed
method. As was explained in the application of the method in the
area of ??the table 16, where the final dosage forms, passes a
broad band of intense radiation width of 30 cm and is 17 intense
radiation spot diameter of about 60 cm. The same spot was found in
the House and 413 on the fourth floor, located on the premises of
pharmaceutical boxing. Above the bed was a blur of a woman lying
after childbirth. The woman said she had constant headaches, and
her baby is not gaining weight. In addition, the room box is
detected Hartman standard net with a mesh size of about 2 &
bull; 2.5 m, one of the nodes of which goes to the workplace 18
(8).
[0033]
After application of the method in all areas relevant permutations
were performed so that the sleeping and jobs, as well as the
storage and preparation of medicines do not fall into the zone of
increased radiation intensity. Floor Plan pharmacy boxing after
application of the method is shown in Figure 9. It can be seen
that the tables employees and jobs are out geopathogenic
discovered bands of intense radiation and stains, as well as
outside the nodes of the network Hartman. Appropriate
rearrangements were performed in 413 ward located on the pharmacy
box, and then the next day there were reports on the improvement
of health and disappearance of headaches in women located there.
Information from the pharmacy staff, there are 16 local and 18,
have been received.
[0034]
Example 4.
The proposed method was applied to protect the residents of
apartment residential building N 42 from the harmful effects of
terrestrial radiation at the request of the tenant Ahmadullina RN
The family consists of two people - a mother and daughter.
Akhmadullin moved into this apartment recently and feels well.
Indications for use of the method as a preventive measure was the
large number of cancer tenants living in flats below (the
apartment is located on the top floor), and the previous tenants.
The apartment is full-length, two-bedroom with a lounge and
kitchen on the fifth floor of the five-story building, oriented
with respect to the cardinal. One wall of the blind and out into
the yard, where it is adjacent to the tallest tree. Control
definition of the topology of geopathogenic zones of the proposed
method was carried out by the operator of dowsing Goriukhino AS
[0035]
The application method the following was revealed. The room (10)
detected a network Hartman reduced-size (130 x 150 cm) and three
energy "pillar" - one vertical and two horizontal. The vertical
column of 19 cm diameter of about 80 was near the piano.
Horizontal poles - 20 ellipsoids and 21 to 90 cm in diameter at a
height of 180 cm from the wall and were 80 cm. One of the outer
walls of the hall is (blank wall). Under the existing arrangement
of sofas place of permanent residence of people do not fall into
the detected power poles and nodes Hartmann, therefore, the
movement of the sofa in the room is not required. The bedroom
found two vertical energy pillar 22 diameter of 70 cm and a
diameter of 23 to 90 cm. The projection column 23 falls on the
bed, causing it recommended moving to a safe place.
[0036]
In the study found a single vertical column 24 and two horizontal
ellipsoid 25 and 26. The projection of the vertical column 24 was
placed on a desk, and a horizontal ellipsoid 26 a diameter of
about 80 cm was at a height of 1.25 meters, served by 170 cm, and
passed through the chest and head sitting at a desk person. In
accordance with this it was identified safe places for the desk
and receive detailed instructions on moving according to the
proposed method.
[0037]
The kitchen also found two vertical posts 27 and 28; and post 27
small diameter causes a positive reaction to a long stay in it.
Identify safe places and recommendations for moving their
permanent residence. Control determination GEA conducted the
famous subjective dowsing method, showed the presence of only a
projection of vertical columns 19, 22, 23, 24, 27, 28. Horizontal
ellipsoids 20, 21, 25, 26, and changing the configuration of the
cross sections of said vertical columns with a height dowsing
method were not detected, indicating the high accuracy and high
functionality of the method in determining the volumetric topology
GPP.
[0038]
For half of the year (1992) of the proposed method of protection
against electromagnetic anomalies in the Earth's surface have been
surveyed about 1,000 sites, of which 10 per cent are garden plots.
The total area of ??all objects was not less than 25,000 square
meters. We were given the relevant scheme of permutations that are
in 80 percent of cases. A significant improvement in well-being,
health, sleep, interpersonal relationships reported about 54
percent of people whose sleeping and jobs were geopathogenic zones
before applying the method. There are cases of severe changes in
course of disease and cure infertility.
[0039]
Prepared to release new building codes, taking into account the
placement of geopathic zones on the ground during the planning of
residential and industrial buildings.
[0040]
The proposed method for protecting against electromagnetic anomaly
in the earth's surface has the following advantages over known
methods, including the prior art: - a high accuracy by
objectification of a method including the steps of determining the
boundaries and classification geopathic zones, and also by use of
the phase method and the method,allows to realize high sensitivity
due to the display of the integral of the phase shift; - Low
probability of error due to the high noise immunity operation
locate geopathic zones and their mapping from the use of phase
measurements, coupled with the natural noise of the electric
component of the electromagnetic field as a useful signal; -
Significantly enhanced functionality at the expense of the
protection of the volume distribution of geopathic zones around
the living space above the test site; - Significantly higher
reliability of protection, because by further introduction of the
operation is carried out keeping the bulk configuration of
geopathic zones, which differ in general by their projection on a
horizontal surface,which alone is taken into consideration in the
prior art, thereby realizing tighter security requirements
geopathogenic; - Significantly higher reliability of protection,
since the proposed method, in contrast to the known can guarantee
protection against all types of terrestrial radiation component
not only of electromagnetic nature; - Simplicity and accessibility
implementation due to lack of need for any special protective
equipment such as screens, pyramids, pastes, special clothing,
etc.
[0041]
Sources of information
1. Poland Application N 258220, A 61 N, 1988
[0042]
2. Neumyvakin IP "Health is in your hands." M. Sphinx, 1992,
s.75-76.
[0043]
3. Hartmann E. "Krankheit als Standortproblem", Heidelberg,
KFHaug, 1976.
[0044]
4. Curry M. "curry - Netz". Munchen, Herold Verlag, 1980.
[0045]
5. Dubrov AP "Terrestrial radiation and human health." M .:
Arguments and Facts, 1993
[0046]
6. "10 Erfahrungsaustausch", 1993. (Proceedings of the seminar.
Topic: "International Geomagnetic geology"). Mersmann L.
[0047]
7. Dubrov A. P. "Geomagnetic Field and Life. Geomagnetobiology ".
N.Y. Plenum Press, 1978.
[0048]
8. Lezec Matela "Wissenschaftliche Untersuchungen der
Storzonen-Forschungen in Polen" .- "Radiaesthesie", N 206, Marz,
1994.
[0049]
9. "10 Erfahrungsaustansch", 1993 (Proceedings of the seminar
theme: "scintillation measuring technique in geology). Mersmann L.
[0050]
10. Grigoriev AI "black" and "white" radio spots. - "Radio
amateur" N 5, 1993, p. 40.
RU2118124
METHOD OF ESTIMATION OF BIOLOGICAL OBJECT
ELECTROMAGNETIC FIELD AND DEVICE DESIGNED FOR ITS
REALIZATION
FIELD: medicine; medical engineering. SUBSTANCE: method may be
used for noninvasive remote diagnostics of pathologic and
prepatologic conditions. It may be used as means for preliminary
diagnostics, topological diagnostics of organ diseases in
dynamics, as well as for checking the dynamics of treatment
process. Method includes estimation of topology of equipotential
surfaces of biological object magnetic field by phase shift
parameter, topological diagnostics of organs and tissues, use of
super-long-wave range and phase-frequency analysis, as well as use
of noise as useful signal.; Topological analysis of configuration
of equipotential field surfaces allows estimation of total
potential of organism protective forces by relative dimensions of
equipotential surfaces and localizing of pathologic foci by
position of concavities and convexities in picture of
equipotential surface relative to biological object body.
Deviation of received signal phase from reference signal phase is
checked by recording the signal equal to integral of received and
reference signal difference. Equipotential curve may be plotted by
great number of points with any preset discreteness which is
expedient in automation of measurements and plotting of topograms.
When tracking system is used continuous scanning of equipotential
curve with controlled movement of receiving electrode may be
provided. EFFECT: enlarged functional and diagnostic capabilities.
[0001]
The invention relates to the field of medicine and medical
equipment and can be used for non-invasive diagnosis of
pathological and remote prepathological states, as a means of
pre-diagnostic for the diagnosis of diseases of the topological
dynamics, as well as to control the dynamics of the process of
treatment.
[0002]
There is a method for remote monitoring of internal physiological
processes of a person due to the fact that the measured
electromagnetic signals emanating from the body over time in the
range of 0.3-0.4 Hz 40 ... and share the signals on the ECG, EEG,
EMG, EOG and respiratory wave due to the fact that a distance of
up to 12 feet. from the body supercooled superconducting complex
antenna, the temperature of which is maintained at approximately
3,7 K, produce optimal filtering the received signal thereby
maximize the signal / noise ratio, received signal is converted to
digital form, is transmitted to a digital processor which divides
the received signal into components that characterize the
physiological processes in the body, namely, ECG, EEG, EMG, EOG
and breath wave and display it on the display [1].
[0003]
The disadvantages of this method are the limited functionality of
the diagnosis since it is possible to observe only the
instantaneous values ??fleeting electrophysiologic processor
organism and does not allow to evaluate the characteristics and
condition of nearly constant field electromagnetic envelope around
the body, and also allows for topology diagnosis of organs and
tissues due to registering a total instantaneous amplitude
intensity of the electromagnetic field of the patient.
[0004]
The closest to the proposed method is known for mapping the
electrical comprising that above the surface of bioobject measured
spatial distribution of the electric charge, and the measurement
is carried out by the fact that at a distance above the bioobject
a receiving electrode and measure its charge. Furthermore,
the other side of the bioobject symmetrically to the first
receiving electrode located at a distance above the bioobject
second receiving electrode and form electrical capacitance with
the first receiving electrode, and the biological object is placed
in the interelectrode space, whereupon before measuring the charge
of the first receiving electrode produce charge bioobject
high-frequency electric field [2 ].
[0005]
The disadvantages of this method are low functional and diagnostic
capabilities, and low diagnostic accuracy. This is because the
known method allows to obtain the card only fast processes, namely
insensible perspiration, reflecting thermoregulatory response of
the organism, as well as mechanical vibrations of a charged
surface of the body associated with the mechanical functioning of
the internal organs. In view of the rapid dynamics of these
processes, its connection with the disease is extremely difficult
because of the high unsteadiness, stochasticity and large
individual variation. In addition, the conclusion of any
abnormalities shall be made regarding the status of that developed
in a patient over an extended period of time calculated in months
or more, that is. E. Observability is commensurate with this
period. This is a clear disproportion between the temporal
organization of the disease and informative signs, taken as a
diagnosis in the known method, greatly complicates the diagnosis
and reduces the accuracy of the diagnosis, and, moreover, does not
allow to identify the underlying causes of the disease, allowing
the judge only on its external manifestations. The known method
eliminates the need for cryogenic technology, which makes it
relatively simple and affordable, but at the same time it requires
a preliminary charge of skin outside a sufficiently strong
high-frequency electric field is created on the surface of the
body of a regular electric charge that makes the known method of
actively using rough external influences on a person negatively
affects its bio-energy and introducing distortion in the
measurement.
[0006]
Known cryogenic physiographer comprising a receiving antenna
triangular shape, consisting of three identical metal plates and
supercooled superconducting three identical supercooled analog
blocks, each of which is connected to a respective plate; analog
block containing circuitry noise reduction, the input of which is
the input of the analog block, and is connected to the outputs of
the three supercooled analog blocks antennas, fiber optic link
having an input coupled to the output of the circuit noise
reduction low-pass filter having an input connected to the output
fiber optic line connection, and the output is an analog output
unit; analog-to-digital converter having an input connected to the
output of the analog block; Four-memory blockinputs connected to
the outputs of the analog-to-digital converter; four Fourier
processor and four correlators whose inputs are connected to the
respective outputs of the four channels of the storage unit; a
mini-computer with a display having inputs connected to the
outputs of the correlators and Fourier processors, and four
outputs connected to four digital-analog converter to the inputs
of four-recorder [3].
[0007]
The disadvantages of the known device is the high degree of
complexity and low performance, including by reason of the
application of cryogenic technology, as well as low functional and
diagnostic capabilities for failure to assess the stationary
states of the body, inability to conduct topologichnskoy
diagnostics, as well as due to control only the instantaneous
values ??of physiological parameters having a very complex and
difficult relationship with the general condition of the patient.
[0008]
The closest to the proposed device is to measure the electrical
charge bioobject comprising measuring a receiving electrode and
the recording device having an input electrically coupled to the
receiving electrode. Furthermore, the device comprises a grounded
shield configured in the form of two connected telescopically,
hollow cylinders, the inner cylinder is arranged plugged end, and
the outer is provided with a flat annular fifth fixed at its end
opposite the anechoic end of the inner cylinder, in the cavity
which is situated measuring a receiving electrode and secured at a
fixed distance from the open end [4].
[0009]
The disadvantages of the known device is the low functionality and
diagnostic capabilities for failure to assess the configuration of
the field, low accuracy and noise immunity due to the measurement
of the surface of a static field, which is highly variable and
dependent on external conditions, but because of low information
content, particularly on the state of internal organs.
[0010]
The aim of the invention is to expand the functional and
diagnostic capabilities through the implementation of the
possibility of assessing the topology of the equipotential
surfaces of the electromagnetic field biological object to a
parameter of the phase shift of the topological diagnostics of
organs and tissues, increase diagnostic accuracy and noise
immunity due to the use superlong range and phase analysis as well
as through the use of noise as the useful signal.
[0011]
To achieve this goal in the known method the electric mapping
comprising that above the surface of bioobject measured spatial
distribution of the electric charge measurements are made due to
the fact that at a distance above the bioobject a receiving
electrode and measure the battery charge, an additional range of
super-long radio waves on the noise component of the electric
charge receiving electrode due to the fact that they take the
noise signal from the receiving electrode separated frequency
component at a fixed frequency of the noise signal fluktatsy
charge receiving electrode, and as a parameter to estimate the
field using the phase shift amount between the selected frequency
component and the reference signal of the same frequency,
configuration, location and shape of the curve with respect to the
biological object parameter estimation of a field trial, the
extent and localization In addition, measurements are made loft
space around the biological object, with each section building
curve equipotential surface of the measured parameter field.
Furthermore, the receiving electrode is moved parallel to the
surface of the biological object at the same distance from it,
wherein before moving align the phase of the reference and the
received signal by adjusting the reference signal, and during the
movement of the seating area on the bioobject, above which there
is a phase change which is judged on the localization processes
and pathological changes.
In addition, the curve of equipotential surface evaluation of
fields in each section bioobject building due to the fact that
every time aligned interfering background because the set
receiving the electrode at the same distance from the biological
object, by adjusting the phase of a reference signal aligned phase
of the reference and the received signal is then transferred to
the constant velocity along a straight receiving electrode toward
bioobject and determine the distance from the receiving electrode
to the biological object from which recorded a non-zero value, or
the excess of the prescribed constant phase difference between the
received and reference signals.
In addition, each time changing the frequency of the reference
signal within a range of super-long radio waves, and for each
frequency corresponding curve build equipotential surface measured
parameter field.
In addition, the phase deviation of the received signal from the
reference register by the fact that the determined value of the
integral of the phase difference of the received and reference
signals, by its presence and change judging the phase deviation of
the received signal from the phase reference signal, and the slew
rate - of the magnitude of the phase difference and every time you
install a new dimension zero initial conditions of integration.
In addition, the curve of the equipotential surface of the field
in the section are building due to the fact that carry automatic
movement of the receiving electrode directly on a curve
equipotential surface around bioobject within each section due to
the fact that they produce the movement of the receiving electrode
around the circumference of the biological object in the plane of
the section, determine the amount of deviation of the phase
difference of the reference and the received signals from the
preassigned value to control the radial movement of the receiving
electrode from the deviation of the phase difference from the
target value and determining the distance and configuration of
equipotential curve to the bioobject.
In addition, the obtained sections bioelectromagnetic fields
produce three-dimensional reconstruction of the equipotential
surfaces of the field for each frequency.
In addition, the change of sections bioelectromagnetic field
bioobject automatically generate pre-programmed so that the
exercise continuous scanning receiver electrode equipotential
surface field parameter biological object, such as a helical path.
In addition, simultaneously with the measurement of the surface
configuration of the field determines the biological object or a
major proportion and combine them into one scale derived from the
equipotential surface of the field.
In addition, in determining the configuration of the equipotential
surfaces to reduce the size of the judge lowered the general
defenses, and localization of local depressions and bulges
equipotential surface is judged on the localization of
pathological morphological and functional changes in the relevant
field of tissues and organs bioobject.
In addition, the section of the equipotential surface is arranged
so as to extend through the centers of the autonomic nerve plexus
and subcortical structures, and the localization of deformation of
the equipotential surface in the respective centers are judged on
the pathology of managed these centers.
In addition, measurements are made periodically during the course
of medication, physiotherapy, reflex, manual, or other types of
therapy and form the feedback parameters therapeutic effect due to
the fact that the dynamics of change in the configuration of the
equipotential surfaces in the course of therapy is judged on its
effectiveness and accuracy and if necessary, make the correction
circuits doses and treatments.
[0012]
To achieve this goal in the known device for measuring electric
charge bioobject comprising a receiving electrode connected to the
input of the measuring unit, the output of which is connected to
the input of the indication unit further measuring unit comprises
a series connection pre-amplifier, pulse filter ac amplifier, the
phase detector, smoothing LPF and DC amplifier, and also comprises
a signal generator a reference frequency and phase, the output of
which is connected to the second input of the pulse filter and a
second input of the phase detector unit compensating for an
interfering background, whose output is connected to a second
input of the DC amplifier whose output is the output of the
measuring unit, the input preamplifier is input to the measuring
unit.
In addition, the display unit comprises an integrator whose input
is the input of the display unit, the output of the integrator is
connected to the input of the display element, a reset input
connected to the output of the integrator element of the
integrator reset.
In addition, the display unit includes a nonlinear type element
"dead zone" with variable area, whose input is the input of the
display unit, a setting item dead zone, the output of which is
connected to the control input of the nonlinear element, an
integrator whose input is connected to the output of the nonlinear
element, the element resetting the integrator, the output of which
is connected to the reset input of the integrator, the indicator
element having an input connected to the output of the integrator.
Furthermore, it is entered rangefinder, for example optical,
infrared or ultrasound, the input of which is situated near the
receiving electrode at one him level and located in a direction
perpendicular to the plane of the electrode, and the display unit
put the second indicator element whose input is the second input
and a display unit coupled to an output rangefinder.
In addition, it introduced three independent electromechanical
drive receiving electrode connected thereto, the
program-controlling unit, three outputs of which are connected to
the inputs of three actuators, the fourth output
program-controlled unit is connected to the control input of the
measuring unit, the output of which is connected to a first input
program-controlled unit, put a control input unit compensating for
an interfering background, which is the control input of the
measuring unit.
Furthermore, it is entered patient position sensor unit and its
proportions, the output of the sensor is connected to the second
input of the program-controlled unit.
Furthermore, it is entered rangefinder input of which is flush
with the receiving electrode, and an output coupled to the second
input of the program-controlled unit.
In addition, it introduced a fourth electromechanical drive moving
electrode receiving an input coupled to the fifth output of the
program-controlling unit, and an output coupled to the receiving
electrode.
In addition, the electromechanical drive moving the receiving
electrode made in the form of electric stepper motors.
In addition, program-control unit comprises a microcomputer with a
keyboard and a display connected to the inputs of the
microcomputer, two analog-to-digital and digital to analogue
converters connected to the parallel IO ports microcomputer inputs
of analog-digital converters are first and second inputs of a
program-controlled unit Exit DAC output is the fourth
program-control unit, the first, second, third and fifth inputs
are software-control unit are serial ports IO microcomputer.
[0013]
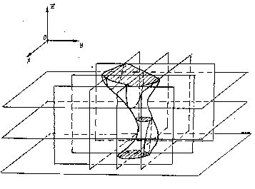
FIG. 1 is a diagram of the method of evaluation of the
electromagnetic field biobektov.
[0014]
FIG. 2-8 shows the equipotential surface of the phase of
individual patients.
[0015]
FIG. 9 is a diagram of the process at a rapid diagnosis.
[0016]
FIG. 10 shows the localization of the detected phase
distortion surface for a particular patient at a rapid
diagnosis.
[0017]
FIG. 11 is a functional diagram of the device for
evaluating the electromagnetic field of biological objects.
[0018]
FIG. 12 is a functional block diagram of the display
device.
[0019]
FIG. 13 shows the characteristic of "input-output"
nonlinear element and its regulation.
[0020]
FIG. 14 is a structural diagram of a device with manual
measurement.
[0021]
FIG. 15 is a structural diagram of the device in
stand-alone embodiment, including rapid diagnosis.
[0022]
FIG. 16-17 is a functional block diagram of embodiments of
the indicator with a range finder.
[0023]
FIG. 18 is a functional diagram of an automated embodiment
of the device.
[0024]
FIG. 19 shows a circuit compensating for an interfering
background.
[0025]
FIG. 20 is a diagram of a constructive embodiment of the
automated performance of the device.
[0026]
FIG. 21 is a functional diagram of an automated embodiment
of the device with an additional degree of freedom of the
receiving electrode.
[0027]
FIG. 22 shows a flowchart of the program miroEVM automated
embodiment of the device.
[0028]
FIG. 23 is a structural diagram of an automated embodiment
of the device implementation with an additional degree of
freedom of the receiving electrode.
[0029]

A method for evaluating the electromagnetic field biological
object based on the topological analysis of the equipotential
surfaces of a stationary electromagnetic field surrounding
biological object.
As an option, which is being built on equipotential surfaces, used
in contrast to all the known literary sources, the magnitude of
the phase shift between the reference signal of fixed frequency
and the harmonic component of the received noise signal.
Thus, the noise signal held about the biological object is useful,
and use as a working range of super-long radio waves from 1 to 10
kHz allows tune out fast rhythmic physiological processes (such as
ECG, EEG, KRG, EMG, circadian rhythm and etc.) and judge slowly
changing stationary field, bearing the imprint of the total
functional and morphological state organs, tissues and systems of
the body, and responds to medication and other types of treatment
modalities.
At the same topological analysis of the configuration of the
equipotential surfaces of the field allows us to estimate how
common the potential of the body's defenses in the relative size
of the equipotential surfaces, and localization of lesions on the
location of cavities and protuberances on the film surface with
respect to the equipotential body bioobject.
[0030]
Due to the fact that the change in phase of the received signals
represent a relatively small value to increase the overall
sensitivity and noise immunity of the process control of the phase
deviation of the received signal from the reference produced by
the fact that the recorded signal is equal to the integral of the
phase difference of the received and reference signals.
It is sufficient, even minor deviations phase to the phase
difference signal integrator began to grow continuously and for a
finite time interval peaked, which is easily detected by
conventional instrumentation.
Estimates of the rate of increase of the integral of the phase
difference at a constant speed of the receiving antenna (receiving
electrode) or the evaluation of its value over a fixed period of
time to judge the magnitude of the phase jump.
To fix the next phase jump over another portion of the patient's
body, previously set zero initial conditions of integration.
[0031]
A method for evaluating the electromagnetic field biological
object is as follows.
Patient 1 (FIG. 1) is placed in the supine position on a reel 2.
To reduce non-automated diagnostic procedures of the
electromagnetic field evaluation of a person made in the spatial
orientation of the receiving electrode (antenna) 3 on each of the
seven main energy points of the human channel along the spine.
Points 4 front and rear surface of the body of the patient 1,
broadly in line with the projections on the skin autonomic nerve
plexus and subcortical structures.
Accepted point measurements (conventional and literature data on
vegetology [5]) were as follows (see. Table).
[0032]
It was assumed that the measurement of the electromagnetic field
of the respective vegetative plexus allow to interpret functional
or organic changes in organs and systems, adjusts these tangles.
[0033]
The antenna 3 is located above the selected point 4 on a permanent
(for all 4 points) a height of 1.5 mm, and compensates by
adjusting the value of background interfering signal phase
reference generator for the value of the phase of the harmonic
component of the signal received by the antenna 3 background noise
fluctuations of the charge capacity of the antenna.
Thus, at a distance of 1.5 m are installing a zero phase
difference between the received and reference signals.
Further, by moving the antenna 3 at a constant velocity along a
straight line connecting the antenna 3 and the selected point 4 of
the patient 1 in the direction of the patient 1, with simultaneous
observation of the magnitude of the phase difference, or to
increase the sensitivity of its integral.
[0034]
Moving the antenna 3 is performed along the line, such as a rod
(FIG. 1), or manually by rapid diagnosis holding the antenna with
the device in the hand or automatically by means of a
servomechanism.
[0035]
At the time of the non-zero phase difference (or an abrupt change
of the integral of the phase difference) or exceeding their
preassigned threshold measure distances to a selected point 4 at
the appropriate place on the skin of the patient.
These distances over each point used to construct the curve of
equipotential surfaces of equal phase in a given combination (Fig.
2 - 8).
Building equipotential curve in the required section can be
produced on a large number of points with any desired degree of
discreteness that it is appropriate to do in the automation of
measurement and construction topograms.
By using the tracking system may continuously scan the
equipotential curve to control the movement of the antenna 3 to
the phase deviation of the received signal from the phase of a
reference signal.
At the same time, according to the experimental data, the
projection of defects (cavities or bulges) equipotential surface
on the skin, usually coincides with the localization of lesions
(Fig. 2-8), which confirms the known clinical methods.
Measuring the distance from the skin to the position of the
antenna 3, which recorded a non-zero predetermined value of the
phase difference in the case of a simplified assessment of the
field for seven major points on a scale of distances 5, along
which the antenna 3.
Thus before the measurement at each point was performed four
positioning antenna 3 to contact with a given point at a distance
of 4 or 2-3 mm away from the initial distance and the mark on the
scale 5 that is subtracted from the distance mark on a scale of 5,
which was recorded on the phase shift.
[0036]
If automation of a method by increasing the number of measurement
points, determination of distances can be made by known electronic
methods using rangefinders (e.g., via radio waves, optical,
infrared or ultrasound, etc.) or by means of contact sensors, and
stepper motors which allow a continuous scanning topogram field
and output for print and display.
[0037]
In the case of rapid diagnosis (perhaps in field or field
conditions, rescue operations, emergency situations, etc.)
receiving electrode - antenna 3 arranged parallel to any part of
the body of the patient 1 (Fig. 9) at a distance of 0 2 - 0.3 m
and produce background interference alignment installation phase
reference signal equal to the phase of the received and the
installation of zero initial conditions for integration, and then
the receiving antenna is moved parallel to the surface 3 of the
body at the same distance from it. In this fixed place on the body
surface over which there is a sharp change in the signal integral
of the phase difference of the received and reference signals.
After locking the phase jump every time again set zero initial
conditions of integration and continue to move the antenna 3 to
the new sharp change in the integral of the phase difference, etc.
The receiving antenna 3 is moved so as to fix the border start
integration and thus mark at the surface portions of the body
where the phase difference is not zero.
These sites are supposedly projections of lesions within the body
or damage.
[0038]
Example 1.
Patient Z., 45 years old, entered the clinic for checkups. No
complaints. Clinical examination confirmed the good state of
health. According to the survey field configuration in the
sagittal plane of the flat, elliptical, indicating that the normal
functioning of the patient (Fig. 2). In this and the following
examples, measurements were taken at a frequency of 7.4 kHz.
[0039]
Example 2.
Patient D., 44 years old, was treated at the pulmonology
department of the Republican Clinical Hospital. Kuvatova with a
diagnosis of asthma with frequent attacks. In the measurement of
the electromagnetic field detected, in that the V of the rear and
in the area V, IV, III front attaching points with abrupt
deformation scallops, constrictions. Based on these data (Fig. 3)
could be assumed that the electromagnetic field of the patient is
not only misshapen due to lung diseases, but also include changes
in the heart and gastrointestinal tract, which was confirmed in
further clinical studies further.
[0040]
Example 3.
Patient Z., 52 years old. Clinical diagnosis: coronary artery
disease, angina FC II, chronic gastritis, urolithiasis, chronic
pyelonephritis, a cyst of the right kidney. Upon registration of
the field in the sagittal plane (Fig. 4) revealed a substantial
deformation field at the points II and IV behind. In the frontal
plane (Fig. 5) changes in the field are registered in the area IV
and III points, a significant reduction of the distance - in terms
VII. After 5 months after discharge, the patient re-admitted to
hospital with ischemic attacks, indicating that the high
diagnostic accuracy of the method in the early stages of the
disease and stages predzabolevany.
[0041]
Example 4.
F.R.T patient, 38 years old, was treated at a tuberculosis clinic
with a diagnosis of fibro-cavernous tuberculosis of the right
lung. The survey was conducted by the proposed method. Results
constructing equipotential curves of equal phase on the transverse
sections, extending through III, IV and V the point shown in
Figure 6, respectively. One can see a significant narrowing of the
equipotential surface of the field at point IV (cardiopulmonary
plexus) compared to the V point and an asymmetrical restriction on
a section through III point (solar plexus), mainly on the right,
which fully meets the clinical diagnosis.
[0042]
Example 5.
D. Patient D., 44 years old, clinical diagnosis: asthma. During
the course of treatment in the hospital there were three of the
proposed method of measurement - the second after 6 days after the
first, third in 7 days after the first. The measurement data (7)
show partial alignment of the phase defects the equipotential
surfaces, but with a simultaneous decrease in the area covered by
the curve in the sagittal section.
[0043]
Example 6.
P.K.O. patient, 45 years old. Clinical diagnosis: dystonia. At the
first examination shows a strong decrease of the phase with dips
in the surface region II, IV and VI and bulging points in region
III and V of points (8). During the course of treatment with
repeated measurements made after 3 days, and the third measurement
performed after another 11 days, it was revealed expansion phase
surface area increases, by the curve in the cross section, but
preserving the nature of deformations, in particular depressions
in the region IV point and bulging in the area III and V pixels.
[0044]
Example 7.
Has rapid diagnosis athlete boxer-K immediately after the
competition. Alignment of background interference produced at a
distance of 20 cm from the surface of the skin in the area under
the right collarbone.
When moving the receiving electrode at a constant speed of about
0.1 m / s parallel to the surface of the body along parallel
vertical lines were found two zones substantial phase deviation
shown in Figure 10. Later, during the clinical studies were found
concussion and fracture of the left edge, ie were obtained
confirming found topographical zones damage.
[0045]
Examination of the proposed method was conducted in 270 patients
with different pathologies, including 82 with ischemic heart
disease, 61 with hypertension, 22 with asthma, 40 with
cholecystitis, 25 with gastric ulcer and 40 with pulmonary
tuberculosis. The control group consisted of 30 healthy
individuals.
In the group of healthy subjects research has shown that
equipotential surface is a phase in 18 individual geometry of an
ellipsoid at a distance of 40 - 70 cm from the skin, 12 persons
equipotential surface located at a distance in the same range, but
had a slight deviation from the oval.
In patients with pathology observed explicit equipotential
deformation phase surface, significant deviations from its
ellipsoidal shape in the form of depressions, constrictions,
bumps, etc., the location of which largely coincide with the
locations of the affected organs and tissues.
Furthermore, there was a reduction phase surface area compared
with those of the control group.
In the course of patient treatment and improve clinical parameters
for repeated measures proposed method revealed an increase in the
surface area of ??the phase to 35 - 50 cm in 91 percent of
patients, however, strain it remained in 62 percent of cases.
[0046]
Thus, in almost all cases there was a coincidence of clinical data
with the evaluation of the electromagnetic field, which allows to
conclude that a sufficiently high information content of the
proposed method.
[0047]
An apparatus for evaluating the electromagnetic field (11)
comprises a receiving antenna electrode 6 serially connected
pre-amplifier 7, pulse filter 8, the AC amplifier 10, a phase
detector 11, lowpass filter 12, current amplifier 13 constituting
the measuring unit 14 whose input is the input of the preamplifier
7, and is connected to the output of the receiving electrode 6; in
the measuring unit 14 also includes a generator 9, the reference
frequency and phase, the output of which is connected to the
second input of the pulse filter 8 and the second input of the
phase detector 11 and unit 16 compensating for an interfering
background, whose output is connected to the second input of the
amplifier 13, the DC output of which It is the output of the
measuring unit 14 and is connected to the input of the indicating
unit 15 which comprises an integrator 17, whose input is the input
unit 15, a reset button 18, an integrator 17,whose output is
connected to the second reset input of the integrator 17 and the
display element 19, whose input is connected to the output of the
integrator 17.
[0048]
Unit 15 display (Fig. 12) may further comprise a non-linear
element 21, such as "dead zone", the value of the zone which
regulates the voltage and the element 22, setting the dead zone,
the output of which is connected to the control input of the
nonlinear element 21, whose input is the input unit 15 display and
the output connected to the input of the integrator 17.
[0049]
An apparatus for evaluating the electromagnetic fields
constructively be executed (14), such as a mobile system 20
comprising a vertically disposed rod 23 on which freely fixable
moves upward - downward receiving electrode 6, the distance scale
24 disposed parallel to the rod 23 and mounted on the lower ends
of the stretcher 25, on which the measuring unit 14 and display
unit 15.
[0050]
An embodiment of the device as a hand tool (15) may comprise a
housing 26 with a handle, which is located inside the measuring
unit 14 and the display unit 15 together with the autonomous power
supply; on the outer surface of the housing 26 is a receiving
electrode 6, flush with the plane which is situated rangefinder
27; the outer surface of the housing 26 also is the management
body section 16 of compensation button 18 resetting the integrator
17, the indicator member 19 is phase deviation and display element
28 distance rangefinder 27.
[0051]
An automated version of the apparatus for evaluating the
electromagnetic field bio-object (18) comprises a position sensor
30, the patient and his proportions, program control unit 31
comprising a data entry keyboard 32 and a microcomputer 33 with a
display 37, keyboard 32 and display 37 are connected to the inputs
of the microcomputer 33, the first input unit 31 connected to the
output of the measuring unit 14 and sensor unit 30 - the second
input unit 31; also includes three drive: 34 of the radial
displacement of the receiving electrode 6, corner 35 of transverse
displacement of the receiving electrode 6 on the circumference of
the moving system 20 which may be in the form of half-rings 20
located in the transverse plane of the couch 29 (Figure 20) and
the reciprocating drive 36 -postupatelnogo motion of the moving
system 20 along the couch 29; electrical inputs of the drive 34 -
36 connected to the first three outputs of 31,a fourth output is
connected to an additional control input of the measuring unit 14
which is a control input unit 16 compensating for an interfering
background; mechanical outputs 34 - 36 are connected to the
receiving electrode 6 and the movable system 20; Sensors 30, 29
are located along the couch.
Instead, the position sensor 30, and the proportions of the
patient device 27 may comprise a rangefinder (21), whose output is
connected to a second input of the unit 31.
To coordinate the presentation of the first and second information
input unit 31 is connected to the microcomputer 33 through
analog-to-digital converters 38 and 39, and fourth output block 31
is the output of the digital to analog converter 40 whose input is
connected to the output 33 of the microcomputer.
[0052]
An automated version of the apparatus may also comprise a fourth
actuator (21, 23) 41 controlling an inclination of the receiving
electrode 6 with respect to the vertical axis in the longitudinal
plane, power input coupled to the fifth output block 31, which may
also be a serial input - output of the microcomputer 33 .
[0053]
An apparatus for evaluating the electromagnetic field bio-object
(11) realizing the proposed method works as follows.
[0054]
When placing the antenna receiving electrode 6 parallel to the
surface formed bioobject electric capacity, one of the plates
which is a biological object, and the other - the receiving
antenna 6.
At the last induced electrical charge proportional to the electric
component of the electromagnetic field surrounding the biological
object at the point of placement of the antenna 6, and fluctuating
in the form of "white noise".
Since the antenna 6 is electrically small, ie, its dimensions are
negligible compared to the operating wavelength range, the
resonant amplification of a single frequency does not occur and
the antenna 6 receives the noise signal with a uniform frequency
response, whereby the adjustment is not required, and gain
control.
Noise electrical signal proportional to the charge antenna
capacitance is amplified by the head amplifier 7, which is a
charge amplifier and to a first input to pulse bandpass filter 8
with a narrow bandwidth allocated from the noise signal one
spectral line at a frequency equal to the frequency generator 9 of
the reference signal, specifies the voltage which is supplied to
the second input pulse filter 8.
Dedicated harmonic frequency component of the noise signal output
from the pulse filter 8 into ac amplifier 10 with high gain, which
is amplified to saturation of amplifier 10 and to a first input of
the phase detector 11, the second input of which receives the
voltage reference signal of the reference frequency and phase
generator 9.
In the phase detector output pulse signal 11 appears, the pulse
area is proportional to the phase difference of the selected
frequency component of the received noise signal and the reference
signal generator 9.
This voltage is smoothed by a filter 12 with a lowpass long time
constant, whereby the output of the last there is a steady voltage
proportional to the average value of the pulse voltage output from
the phase detector 11, i.e. proportional to the magnitude of the
phase difference, the output voltage of the filter 12 is amplified
by the DC (DCA) 13 whose output is the output of the measuring
unit 14, and is input to the display unit 15.
When placing a receiving antenna 6 at alignment interfering
background (see. Mode) obtained at the output DCA 13 voltage
proportional to the phase shift at a given point offset selection
balancing voltage output unit 16 compensating for an interfering
background, which enters the DCA 13 and subtracted from the
voltage phase difference.
The output voltage of the block 16 is selected so that the output
voltage DCA 13 was zero at the point of placement of the antenna
6.
Thus since output voltage of the integrator 17, the display unit
15 is zero, and the integrator 17 is set to zero initial
conditions 18 pressing integration reset, the voltage at its
output is also zero, indicating that the element 19 is shown.
When moving the antenna 6 along a straight line towards the
bioobject on moving system 20 or parallel to the surface of
bioobject's hands of the operator (see. Mode) occurs when the
phase difference between the received signal and the reference
oscillator 9 is different from the value of the offset voltage
from the output 16 of compensation, with the result that the
output signal appears TF 13, which is proportional to the voltage
difference between the output of the filter 12 and the lowpass
output unit 16.
This signal is input to the display unit 15, the input of which is
the input of the integrator 17, causing the latter begins to
integrate, that is indicated by 19, the input of which receives
the output signal of the integrator 17.
If the imbalance is stored and the phase difference signal
continues to differ from the offset voltages from the block 16,
the integrator 17 continues to integrate the voltage saturation
regardless of how small this mismatch.
In this case, the speed of integration is proportional to the
error, ie, is proportional to the increment of the phase shift of
the received signal at a given point in space, whereby the speed
of integration can judge the magnitude of the phase jump.
If you want to register the value of the phase discontinuity in
excess of preassigned constant, display unit 15 may comprise a
non-linear element 21, such as "dead zone" area with controlled
variable voltage output adjustment member 22 (12, 13).
Since the nonlinear element 21 is connected to the input of the
integrator 17, the latter begins to integrate the error signal
output from the DCA 13 only when it exceeds in magnitude the
magnitude of the deadband, which is determined by the voltage from
the element 22 and the configuration can be tuned.
[0055]
The device may be formed in the stationary embodiment (FIG. 14)
with manual movement of the receiving electrode 6 and the rod
antenna 23 provided with a distance scale 24.
In this case, the whole device can be placed on a trolley 25, and
measurements are performed with the patient lying on the couch
(FIG. 1), or sitting on a chair (1) according to the measurement
point.
Distance to the equipotential surface of the parietal region of
the patient is measured in a sitting position.
Alignment of background interference is produced whenever a new
position stretcher 25 relative to the patient 1 in the upper
position of the antenna 6 on the rod 23, i.e. for each new
measurement point.
The measured quantity is the distance from the skin to the surface
of equal phase, measured by the distance scale 24 and the LED 19
allows to fix the distance reference point.
[0056]
An embodiment of the device for rapid assessment of the biological
object electromagnetic field may be configured as a hand-held
device with a self-powered, located in the hands of the operator
and used according to the method of (9), with manual movement of
the receiver antenna electrode 6 is rigidly mounted on the housing
26 and moves together with the unit parallel to the biological
object 1.
[0057]
For fast (but less accurate), the phase of construction of the
equipotential surface of the field with the biological object via
the manual device, the latter may comprise a range-finder 27, for
example, optical, infrared or ultrasonic type indicator 28, the
distances (15, 16, 17).
In this case the displacement of the receiving antenna 6, along
with the device along a straight line towards bioobject is carried
hands of the operator, and the count distances by range finder 27
with its indicator member 28 on the investigated point is produced
in the time integrator 17 starts integrating observing indications
of the first display element 19.
[0058]
An embodiment of the device may provide automatic movement of the
receiving antenna, as well as automatic construction and
reconstruction phase equipotential surfaces.
This arrangement enables the evaluation of the electromagnetic
field bioobject most accurate view of the automatic execution of
all procedures, as well as by carrying out measurements with any
degree is discrete to continuous scanning phase equipotential
surfaces.
[0059]
An automated version of the apparatus for evaluating the
electromagnetic field bioobject operates as follows.
[0060]
The patient is placed on a couch 29 (18 - 21) on the back or
stomach and make the installation of sensors 30 of the patient
with his height, proportions, location of the vegetative centers,
etc. by moving them along the couch 29 and opposite the respective
fixing points of the patient.
Thereafter, a switch unit and is introduced into the
program-controlled unit 31, for example, from the keyboard 32,
when it is implemented on the basis of the microcomputer 33, the
starting point coordinate A compensating for an interfering
background (19), the magnitude of the phase difference of the
surface equal to the phase (in particular case zero) and enter the
command started.
In this program, the control unit 31 (the microcomputer 33, for
example, serial port) by controlling the output electrical signals
drive 34 - 36, generates control signals from the first three
output unit 31 inputs drive 34 - 36, carrying out the movement of
the receiving electrode 6 and the mobile system 20 so that the
electrode 6 is established at the point A. After this the
program-controlling unit 31 includes a first control circuit,
formed by a fourth output unit 31 connected to the control input
of the measuring unit 14 which is a control input of the
compensation unit 16, and the compound output measuring unit 14 to
the first input of the unit 31.
Wherein the fourth output of unit 31 to the control input of the
measuring unit 14 begins to receive the control signal on the
control input unit 16, correction and changes its output voltage
to decrease to zero error voltage output from the measuring unit
14, ie. E. Output from DCA 13 proportional to the phase difference
of the reference oscillator 9 and the received signal is an
interfering background to point A. The output voltage setting unit
16 is continued until complete compensation of an interfering
background, then unit 31 disconnects the first control loop and
comprises a second control circuit consisting of a third output
section 31 connected to the input drive 34 from the radial
movement of the antenna 6 connected to the input of the measuring
unit 14, the output of the measuring unit 14 connected to the
first input of the unit 31.
Thus, the block 31 produces a signal in the second control circuit
applied to an actuator 34, causing it to move the antenna 6
towards the patient 1 on a couch 29 and until the output of the
measuring unit 14 starts to differ from zero and equals modulo a
predetermined phase difference value inputted from the keyboard
32.
Thereafter, the second control circuit 6 by moving the antenna
radially monitors this value until the end of the device.
Along with the inclusion of the second control circuit and
software control unit 31 produces the first and second output
control signals applied to the input drive 35 and 36 of the
movable system 20 with its antenna located at 6.
As a result, the antenna 6 with moving system 20 moves laterally
relative to the patient over the semicircle around and
longitudinally along the body along embedded in the program unit
31 need move the antenna 6.
All the movements of the antenna 6 and the storage unit 31
constitute a release surface equal phase (phase equipotential
surface) or a projection section which are displayed on the
display element 19, which may serve, in particular, the display
screen 37 at block 31 the microprocessor implementation.
If the device has a range finder 27 instead of position sensor 30,
the parallel movement of the antenna 6 is measured by the distance
from it to the patient's body surface and a signal proportional to
the distance to the second input unit 31, which is stored and
displayed on the display 37 in the form of profiles projections or
body surface, superimposed on the corresponding profiles or
projections phase surface.
When implementing the block 31 using the computer 33 signals
outputted from the measuring unit 14 and the range finder 27 are
fed through the first and second inputs of the block 31 to the
microcomputer 33 through analog-to-digital converters 38 and 39,
and a control signal compensating for an interfering background is
transmitted from the output of the microcomputer 33 in the fourth
the output of the DAC 31 through 40.
[0061]
If there are more degrees of freedom motion system 20, performing
the angular movement of the antenna 6 in the longitudinal plane
(21), the drive control signal of the angular displacement of the
longitudinal supplied at its input with the output of the fifth
unit 31 embodied in accordance with a control program (FIG. 22),
similarly drives 34 - 36. At the same time with other movements of
the antenna 6 (radial, circular in a transverse plane along the
longitudinal couch 29) rotates the antenna 6 in the longitudinal
vertical plane (23).
This ensures that the orientation axis of the antenna 6 on a
normal phase along the entire equipotential surface having any
complexity of shape, in any section.
[0062]
Electromechanical actuators 34 - 36, 41 may be implemented in the
form of electric motors, such as stepper type.
Actuators 34 - 36, 41 may also be made in the form of servos with
local feedback connected to the program-controlling unit 31.
[0063]
Compared with the conventional counterpart, including a prototype
of the proposed method for evaluating the electromagnetic field
biological object has the following advantages: - much greater
functionality and diagnostic capabilities, as due to inputs of
operations carried out in the proposed manner and on the terms
offered, allowing typological localize lesion, to detect
functional and morphological disorders of organs and tissues of
the body, to carry out non-specific diagnosis of abnormalities of
patients overall health, etc .; - Neinvazitivnostyu, non-contact
measurements and a high degree of environmental friendliness, as
in the evaluation of the field is not used any effects on the
patient, including electromagnetic; - High speed surveyease of
detection of infectious diseases and high security; - A high
degree of accuracy of the estimate of the electromagnetic field,
allows fine diagnostics by offering state estimation researched
biological object by analyzing the geometry of the surface of
equal phase; - High noise immunity and allows the study without
special shielded chamber, and in order to express diagnostics -
manually by the use of noise as a source of useful information, as
well as by the use of phase method; - Increased functionality,
allowing the use of a method for evaluating the effectiveness of
the treatment process and focused management.
[0064]
As compared with known devices, including the prototype, the
apparatus for evaluating the electromagnetic field bioobject
following advantages: - considerably broader functionality as by
additionally introduced elements connected proposed manner allows
the fine estimation of the spatial configuration of the
electromagnetic field around the biological object to distance
from them; - Precisely evaluate the electromagnetic field in order
to detect its dependence on the state and functioning of the
internal organs, tissues and fluids of the body; - High noise
immunity devices,allowing to realize considerably higher overall
gain value; - Pretty simple design and a high degree of
adaptability and a wide range of implementation in different
versions; - High performance, because it allows you to do without
a shielded chamber, without any special ground biological object
under study, has a high ease of operation and maintenance, high
reliability and does not require any special training of medical
personnel; - Wide possibilities of automation of processes of
measurement, interpretation of results and formulation of general
diagnosis.
[0065]
Sources of information: 1. US Patent N 4940058, cl.A 61 B 5/00,
1990 (pp 6 - 9 claims).
[0066]
2. Radiotekhnika, N 8, 1991 c. 71-72.
[0067]
3. US Patent N 4940058, cl. A 61 B 5/00, 1990 (pp 1-6 claims).
[0068]
4. Copyright certificate USSR N 1297800 cl.A 61 B 5/05, 1987.
[0069]
5. Haulica I. The autonomic nervous system. Anatomy and
physiology, - Bucharest, 1978, pp 17-61.
RU95107736
METHOD AND APPARATUS FOR EVALUATING ELECTROMAGNETIC FIELD OF
BIOLOGICAL OBJECT
FIELD: medicine, medical engineering, non-invasive remote
diagnostics of pathologic and prepathologic conditions. SUBSTANCE:
proposed method and apparatus are based upon topological analysis
of configuration of equipotential surfaces of electromagnetic
field for estimating pith total potential of protective forces of
human body judging by relative dimensions of equipotential
surfaces, and also estimating localization of pathologic foci
judging by location of recesses and convexities on equipotential
surface image with respect to patient's body. Received signal
phase shift in relation to reference signal phase is detected and
controlled by recording signal equal to integral of phase
difference between received signal and reference signal.; In this
manner, great number of points with any in advance predetermined
discreteness can be obtained for plotting equipotential curve in
any required cross-section. Advantageously, this can be done by
automating measurements and topograms plotting procedure. If
tracking system is used, it is possible to organize continuous
scanning of equipotential curve for controlling movements of
receiving electrode on basis of deviation of received signal phase
from reference signal phase. With this approach, noise is used as
useful signal. Invention can be used for preliminary diagnostics,
for topological diagnostics of diseases as viewed in dynamic
aspect, and for control of treatment process dynamics.
EFFECT: broader functional and diagnostic possibilities by
evaluating topology of equipotential surfaces of patient's
electromagnetic field judging by phase shift parameter.
RU2089235
METHOD OF AURAL CORRECTION
[0001]
The invention relates to medicine and medical equipment, namely,
physical therapy, and can be used for nonspecific
obscheozdoravlivayuschego stimulating and reducing non-drug
actions on the human body, as well as to treat and prevent a
number of diseases associated with disorders of bioenergy is
reflected in the distortion of the electromagnetic field around
the person .
[0002]
A method of treating patients with hypertension I-II degree and
vascular dystonia, based on the interaction of electromagnetic
fields the operator and patient and including the impact on the
patient while the infrared radiation of 8-14 microns, microwave
radiation in the range of 8-30 cm and alternating electric field
frequency up to 10 Hz, while the radiation source used the hands
of the operator [1] The disadvantage of this method is the low
efficiency of the impact and long-term treatment because of the
impact of randomly without exact knowledge of an objective picture
of the electromagnetic field of the patient, and also because of
the instability effects because it depends on the subjective state
of the operator.
[0003]
There is a method aural correction, including the measurement of
electromagnetic fields and the construction of aurotopogrammy
bioobject followed by exposure, aimed at leveling aurotopogrammy
to its closest approach to the normal, and the second measurement
and the construction aurotopogrammy.
In addition, the alignment aurotopogrammy produced by psychic
effects of the operator, and the construction aurotopogrammy
performed using ESP [2] The disadvantages of this method are
long-term treatment due to low accuracy due to the high degree of
subjectivity measurements and influences that determine high
dependence of the condition and operator skill and low
reproducibility.
[0004]
The aim of the invention is to reduce the duration of treatment
due to the implementation of the possibility of targeting,
resulting in normal configuration and size of external
electromagnetic fields and biological objects by the full
objectification of diagnostic and therapeutic processes.
[0005]
To achieve this goal in the known method aural correction
measurement of the electromagnetic field of the bioobject is
carried out at one or several frequencies, for example, using the
meter of the phase shift in the spatial orientation of its movable
receiving electrode with respect to each of the seven points of
main power channel bioobject and construction fazoaurotopogrammy
for each frequency measurement and exposure is carried out by
applying to the skin at the site of localization of the
electromagnetic field defects bioobject one or more pairs of
electrodes of a conductive material with different electrochemical
potentials, in pairs, in the chain between which include a
generator of electrical oscillations corresponding to the
oscillation frequency equal to the frequency measurement.
Furthermore, the electrodes with a negative electrochemical
potential is placed on the skin at positions corresponding
fazoaurotopogrammy failures and the positive electrode
electrochemical potential at the positions corresponding bulges
fazoaurotopogrammy.
In addition, generators simultaneously tuned to one or
successively or simultaneously at several frequencies,
corresponding to frequencies fazoaurotopogrammy measurement.
In addition, if necessary, spend several sessions repeated
leveling and control measurement and building fazoaurotopogramm to
achieve sustainable alignment fazoaurotopogrammy and restore its
normal size.
[0006]
FIG. 1 shows an equivalent circuit diagram of the operation
alignment fazoaurotopogrammy and restore its size; FIG. 2 -
measuring circuit fazoaurotopogrammy; FIG. 3 The framework for the
alignment operation fazoaurotopogrammy in unilateral imposition of
electrodes; FIG. 4 is a schematic of the operation at the
bilateral alignment fazoaurotopogrammy applying electrodes; FIG. 5
a diagram of the operation alignment fazoaurotopogrammy
simultaneously on multiple frequencies using the appropriate
number of generators configured on the removal frequency
(measured) fazoaurotopogrammy, while the image of the family of
curves original aurotopogrammy for these frequencies; FIG. 6-11 -
fazoaurotopogrammy specific patients before and after the
correction.
[0007]
The method is based on the aural correction autoaktivizatsii
electrolyte metabolism and redistribution of ions and electrolytes
in body tissues due to its own generated his own electrical and
electromagnetic energy without any external energy sources.
Exposure is carried out purposefully through a defect phase
potential pattern of the electromagnetic field around the patient
aurotopogrammy, ie through areas of the skin, corresponding to the
most topographically pronounced deviations field pattern of the
patient from the picture of the field of a healthy person.
Superimposed on the skin electrodes made of dissimilar metal (for
example, the positive copper, zinc negative) form a galvanic cell,
the role of the electrolyte which operate tissue and internal
environment of the body.
Since the latter have a much more active and reactive electrical
resistance, in connection with such an electrochemical cell bus
low-voltage power generator of electrical oscillations and the
latter, on the resistances of the body tissues and fluids is
allocated a significant portion of the variable component of the
oscillator (Fig.
1).
As a result, the electrode is formed with a variable voltage and
constant component of the tissues of the body between the
electrodes an alternating current (20-100 mA) generated by itself
without any external power supply, and therefore completely
eliminates unwanted side effects.
Electrodes placed on the skin in places, is a projection of the
spatial pattern of defects of the electromagnetic field
surrounding the patient and the pre-measured and constructed to
cause general and local stimulation of the electron-ion exchange
of the whole body, as well as a favorable stable distribution of
dipoles persists after removing the electrode.
This distribution produces a displacement of electric dipoles
domestic media and tissues of the body, aligning the data field
defects causing a change in its pattern and sizes approaching
normal, healthy state of the body accordingly.
In turn, the alignment of the electromagnetic fields and keeping
them in this state has a causal inverse effect on the patient
health-improving effect and helps to eliminate the causes of
change in the field [3] The process is carried out as follows.
[0008]
For remote examination of the patient in the prone position on the
couch using fazoaurometrii.
Measurement fazoaurotopogrammy produce, for example, using the
meter of the phase shift in the spatial orientation of its movable
receiving electrode with respect to each of the seven points of
main power channel person along the backbone [4] points (front and
rear surfaces of the patient) to substantially correspond to the
projections on the skin autonomic nerve plexus and subcortical
structures.
Accepted point measurements (suspended and literature data on
vegetology) distributed as follows (see Table 1).
[0009]
Next, a movable electrode 1 (Fig. 2) the meter phase shift 2
located on the rod 3 is fixed along lines 4 passing through each
of the seven points (Table. 1), defects deflection field pattern
from the normal corresponding healthy man ( dips, low values ??of
the distances from the equipotential surface fazoaurotopogrammy
phase to the surface of the patient's body, local or general wears
off of the field).
Measurements were carried out on the same frequency f1 and values
??for a number of fixed frequencies f1, f2, f3, fn.
[0010]
Then the overlay therapeutic pairs of electrodes 5, 6 made of
dissimilar conductive materials, wherein the negative electrode 5
is applied to the skin, preferably in places fazoaurotopogrammy
failures and the positive electrode 6 in a position corresponding
normal areas fazoaurotopogrammy or convexity.
With this arrangement, the pair of electrodes in pairs can be
either one-way (front or rear, for example, FIG. 3) and
double-sided (positive electrodes 6 on one side of the body of the
patient, and negative on the other hand 5 (FIG.
4)).
The electrodes are secured, for example, plaster, connected
respectively to a negative 7 and positive 8 supply rails of one or
more generators 9, electromagnetic waves, the tuning frequency of
which is (are) equal to f1 frequency detachably fazoaurotopogrammy
and left in that position on a patient for an extended time Tlech.
[0011]
After Tlech electrodes are removed and re-produce the control
fazoaurogrammy build on the frequency f1, fixing the dynamics of
the normalization of the topography of the electromagnetic field
in the form of reduced failures and restore a healthy state
dimensions, respectively.
If necessary, the measurement is repeated exposure session.
To achieve a sustainable pattern of normalization effect of the
electromagnetic field produced a course of several repeated
sessions with simultaneous control of the field at intervals of
1-7 days between sessions.
[0012]
If necessary analogously produce building family fazoaurotopogramm
for a number of frequencies f1, f2, fn and corresponding
correction field at each frequency separately, sequentially
rearranging generator 9 for these vibrational frequencies, either
simultaneously using multiple generators 9 are configured, each on
a different frequency f1, f2, fn and several corresponding pairs
of generators electrodes 5 and 6 (Fig.
5).
[0013]
Example 1.
Patient P. 52 years.
Clinical diagnosis: coronary artery disease, angina FC III.
Experience periodic bouts of tightness in the chest at rest,
sometimes passing into a strong chest pain that occurs usually
during physical exertion.
Seizures are removed by nitroglycerine.
During the attack there is an increase in blood pressure, in areas
Zakharyin-Ged noted hyperalgesia skin.
Electrocardiography in the application of dosed physical load of
50 W indicates the offset segment STV3-5 below contours to 1.5 mm,
sometimes - go to STV4-5 (-).
Sick for five years, it has repeatedly held hospital treatment.
Before hospitalization observed acceleration and intensification
of attacks, which was assessed as a progressive form of angina.
[0014]
Fazoaurogramm measurement at a frequency of 7.4 kHz showed the
presence of significant bilateral failures field in the 4th point
along the spine (see. Table. 1 and Fig.
6).
[0015]
The patient is in the supine position at rest were placed two
pairs of electrodes as follows: the negative electrodes in the
front and rear skin of the 4-th point; positive one in front in
the 2nd point, the other behind in the 3rd point.
Electrodes were fixed plaster and joined the positive and negative
supply rails generator electrical sinusoidal wave tuned to the
frequency of 7.4 kHz, which begins to generate immediately after
joining the electrode.
The duration of the procedure was 30 minutes, after which the
electrodes were removed and the field measurements were repeated.
Building fazoaurotopogrammy after exposure showed a significant
alignment of the failures of the electromagnetic field of the
patient (Fig.
6).
[0016]
The next day was a repeat measurement fazoaurotopogrammy that
showed the effect of preserving the alignment of the field with
some decrease in adjusted areas (approximately half).
After that, the repeated session with the same electrode placement
and exposure time and then adjusted topography plots approximately
returned to the state after the first exposure.
Sessions lasting 30 minutes were performed daily (all held 7
sessions), after which he was made persistent effect of leveling
the field, which confirmed a control measurement of topography of
the field in 7 days after the end of sessions.
[0017]
Clinical examination and observation showed that after treatment
significantly reduced the intensity and frequency of angina
attacks, dosed physical load increased to 100 W, the dose of a
drug used in the treatment of decreased three times.
All of this allowed us to estimate the second angina.
[0018]
Control measurement fazoaurotopogrammy 30 days after discharge,
conducted on an outpatient basis showed stabilization of the
clinical status of the patient at the level of angina FC II
without symptoms of its progression.
[0019]
Example 2.
Patient K. 45 years old, passed medical examinations of 26.02.93
About a year ago I suffered sinusitis with several subsequent
relapses accompanying colds.
There were also complaints of episodic pain that occurs sometimes
in the lumbosacral and cervical regions of the motion under load,
is often a stiff neck and neck.
[0020]
A dimension and construct a family fazoaurotopogramm different
frequencies ranging from 2.0 kHz to 8.0 in increments of 1 KHz
(FIG.
7).
The study showed the presence of a number of defects in the form
of the dips and bumps equipotential phase surface frontal-sagittal
section bioelectromagnetic field, especially in the 6th point
(between the eyebrows. See Table. 1) front and rear and in the 2nd
and 3rd points (hypogastric and solar plexus), front and rear.
[0021]
A 5 sessions bioelectromagnetic field correction by the proposed
method, a duration of 60 minutes.
Each session consisted of three similar consecutive procedures of
20 minutes each with a different arrangement of electrodes.
The circuit arrangement of the electrodes for each point are given
in Table Overlay.
2.
[0022]
In the first procedure of each session shall adjust at the same
time two independent generators for the frequency of 2 kHz and 8
(Fig. 8), for example, for a frequency of 2 kHz on the table. 2
electrodes are applied as follows: in the 4th point 4P front, rear
4h for the negative electrode, the positive electrode is applied
in the 1 st point: 1h back; in the second procedure for three
generators 3 kHz, 4 kHz, 7.1 kHz (Fig. 9); the third three
generators at frequencies 3, 5, 6 kHz (Fig.
10).
[0023]
Sessions correction carried out 2 times a week at regular
intervals (4 days).
By the fifth session was achieved sustained correction
fazoaurogrammy (Fig. 11), repeatability with virtually remained a
month after the end of the session.
[0024]
The results of correction: the well-being has improved
significantly, pain and cervical spine stopped; increased
non-specific resistance of the organism.
[0025]
Proposed method aural correction human electromagnetic field was
applied in the treatment of 74 patients in the clinic cardiac
diseases concurrently with the assigned medication.
The results of treatment were compared with a control group of 15
people. with similar diagnoses who received only medical
treatment.
It was found that the use of the method in conjunction with known
treatments reduced the time average of 1.5 times and reduce the
incidence of disease progression, particularly in the subsequent
application of additional ambulatory fashion.
[0026]
The proposed method was also used in the treatment of various
types of degenerative disc disease of the spine (cervical,
thoracic and lumbar), and 52 patients in the clinic of chronic
gastroenterological diseases (23 pers.).
Comparison with two control groups of 10 patients with similar
diagnoses showed a high efficiency of the method as in combination
with conventional treatments, and for self-application, shortening
of treatment an average of 2-2.5.
[0027]
Application of the method on an outpatient basis at a dispensary
examination of 100 people led to the reduction in average 3-5
times the total incidence after prophylactic correction
bioelectromagnetic field.
[0028]
Method aural correction in comparison with the known methods of
physical therapy, including the prototype has the following
advantages: much shorter period of treatment due to the high
precision exposure in accordance with the needs of the organism,
because by introducing additional operations constitute a single
interconnected on the proposed scheme complex operations prototype
method is carried possibility of purposeful corrective action
directly on parts of the body, generating defective areas
bioelectromagnetic field the patient and the possibility of visual
inspection of the alignment of the field; high compatibility with
other treatments, such as medication,which significantly reduces
the treatment by enhancing the effectiveness of the medications by
1.5-2 times; high accuracy and a high degree of exposure
reproducibility, as well as the lack of any dependency on the
state of the operator, the external environment impact on the
level of training and skill of the operator because of the large
objectification of a method; high physiological because through
the use of optional operations introduced, providing a targeted
stimulation of the body he himself used the currents and voltages
do not differ from the internal voltages and currents of the body
and has the same nature as generated by himself according to his
needs without any external energy sources,whereby there is
practically no negative side effects of the treatment; high
resistance of the resulting effect of the correction of the field,
continuing the weeks and months that allows the impact of the weak
for a long time, allowing, in turn, carry sparing regimen and also
contributes to the lack of side effects and contraindications;
reduction of terms of treatment by improving the efficiency of
preventive actions of a method that allows to work towards the
cessation of the disease at an early stage and at the stage of
predzabolevaniya manifested so far only at the field level; high
electrical safety and security of patients from infection, since
it does not use external sources of energy and by the introduction
of the operations,and therefore it needs only the simplest of
disinfection; small time of procedures and the high ease of
operation and ease of training of medical personnel; high economic
efficiency due to a lack of supplies and drugs.