
rexresearch.com
Walter KRUMMENACHER, et
al.
Polarmond Sleeping System
http://www.empa.ch/plugin/template/empa/3/161435/---/l=2
A "magic tent" for mountaineers
by
Lorenz Huber
In collaboration with the start-up "Polarmond," scientists at Empa
developed an "all-in-one" shelter system. Inside the shelter
conditions remain comfortable whatever the weather outdoors,
thanks to a sophisticated dehumidifying system and a fine-tuned
temperature control mechanism.
At the Swiss Textiles Association's Innovation Day, the new
start-up firm Polarmond presented its patented "all-in-one"
sleeping system. This combines the functions of a sleeping bag,
sleeping mat and bivouac in one product. What is particularly
special about it is that the spacious inner room allows the user
to sleep comfortably -- as if in their own bed -- at temperatures
down to -30°C, and yet it is heated by nothing more than the
occupant's body heat. Empa researchers Martin Camenzind and
Matthew Morrissey assisted Polarmond in the search for suitable
materials, and helped in finding a solution to the problems of
thermal insulation and dealing with moisture.
The great challenge in terms of thermal insulation was the size of
the space to be insulated. Despite the spacious inner room, the
weight of the total system has to be kept as low as possible to
make the product attractive for trekkers and mountaineers. "An
inner room of this size is not the easiest option for a product
that must be as light as possible," explains Camenzind. "It would
be more efficient to have the insulation layer in direct contact
with the body." Because of several requirements, like this one,
which were contradictory, Morrissey and Camenzind initially
decided to name the sleeping system "magic tent."
The Empa researchers combined approaches, materials and techniques
from very varied fields in an innovative way. "If you want to find
new solutions, you have to think outside the box and look beyond
the standard methods," says Camenzind. And so the two scientists
developed a so-called sandwich construction for the insulation,
consisting of a fluffy synthetic filling with reflective layers,
as is also used in spacesuits. Step by step, the "magic tent"
became a real tent.
The difficulty in dealing with humidity is that it must be removed
from the body whilst simultaneously keeping the insulation layer
dry. A special kind of liner, a sort of cover, partially solves
this problem. The side facing the body is covered in a permeable
layer which allows water vapour to pass through it. However, the
liner is sealed from the upper side into the inner room, so
humidity from the user's body is trapped in the liner and can,
next morning quite simply be shaken out of it in the form of water
drops or ice crystals.
Because, however, the liner is not enclosed (as in a sleeping
bag), but "only" a cover, an exchange of air -- and therefore also
humidity -- in the inner room is unavoidable. In order that the
insulation layer remains dry despite this, it is given a coating
which is non-permeable to water vapour on the side facing into the
sleeping room. The residual humidity is taken up by the warmed air
in the sleeping cell and escapes via a zippered opening. This
allows a practically constant temperature to be maintained in the
sleeping cell even if the outdoor temperature varies, and
therefore eliminates the problem caused by the user perspiring.
Gold Award at "Outdoor 2015" fair in Germany.
Not least thanks to Empa's contribution, Polarmond won the Gold
Industry Award at the leading European trade show "Outdoor 2015."
This is considered to be one of the most prestigious international
awards that a company involved in the outdoor field can be given,
and is awarded every year at the "Outdoor." exhibition in
Friedrichshafen, Germany. In the jury's words of praise, "The
entire research experience of the last 20 years has gone into the
development of Polarmond's "All-in-one- Sleeping System," adding
that the modularly constructed system was innovative and extremely
functional. It takes into account all the factors involved in
sleeping outdoors under all conditions, and mutually optimizes
them. The next step is for Polarmond to close contracts with the
material suppliers they have been evaluating. In addition, some
details must still be optimized, according to the company's CEO,
Walter Krummenacher. "We are already very satisfied with our
product, but not quite finished yet." If all goes as planned the
"All-in-one-Sleeping System" will appear on the market in March
2016.
Patents
Bivouac shelter
US9080345
A bivouac shelter for residing outdoors, including a basis unit
that forms a tunnel-like or sack-like body receiving space with an
access opening for a person. The bivouac shelter includes a
closure unit, by way of which the body receiving space is closable
in a thermally insulating and airtight manner. The closure unit
moreover includes a connection body that can be assembled
transversely over the access opening and that is connectable to
the basis unit in a thermally insulating manner. The closure unit
moreover includes a hood attached onto the connection body for
receipt of a head of a person lying with the body in the body
receiving space. The basis unit can also include a foot-side
terminating element.
BACKGROUND OF THE INVENTION
1. Field of the Invention
The invention relates to a bivouac shelter for residing outdoors
or in non-heated accommodation, said bivouac shelter comprising a
basis unit which forms a tunnel-like or tube-like body receiving
space with a foot region as well as with at least one access
opening for at least one person.
Bivouac shelters provide a person with protection from weather
conditions when residing outdoors. Such weather conditions can be
wind, downpour, such as snow, hail or rain, as well as temperature
conditions. Bivouac shelters in particular should also serve for
permitting spending the night outdoors and provide a sleeping
person with adequate protection from the mentioned weather
conditions. Bivouac shelters are used by the most varied of groups
of people. Of course, the use of bivouac shelters for outdoor
activities such as trekking, mountain tours, expeditions etc. are
known. Here, the bivouac shelters permit the stopover over several
days, in regions, in which no fixed sheltered accommodation is
otherwise available. Moreover, bivouac shelters are also applied
for homeless people who for various reasons permanently or
temporarily have no fixed accommodation. These can be persons who
can no longer live in their fixed accommodation due to the event
of damage, such as with earthquakes, fire, flooding or storms.
Moreover, the homelessness can also relate to refugees who had to
leave their fixed accommodation for various reasons. Moreover,
bivouac shelters are also used by emergency services, such as the
military with their deployment lasting several days, in regions in
which no fixed sheltered accommodation is available and where
mobility is highly important. Bivouac shelters are also used in
the field of rescue.
Known to a lesser extent is the provision of bivouac shelters to
homeless people whom one comes across in large cities and who
cannot afford fixed accommodation due to economic reasons for
example. This type of homeless people either spends the night out
in the open in self-constructed, makeshift dwellings or in
overnight shelters for the homeless. It is particularly the case
in harsh winters that such overnight shelters are however fully
occupied, so that indeed with freezing temperatures many homeless
people must spend the night in their makeshift dwellings or at
locations out in the open which provide a little shelter. These
opportunities for spending the night however provide much too
little protection from the weather conditions and in particular
low temperatures, so that it is indeed in harsh winters that death
and freezing often occurs amongst the homeless.
2. Description of Related Art
Apart from bivouac shelters, sleeping bags are also known for
spending the night out in the open, and these are to insulate the
body against low outside temperatures. Such sleeping bags are
disclosed for example in US 2004/0040087 and U.S. Pat. No.
3,959,834A. The body with such sleeping bags however is not
hermetically sealed to the outside, since the head lies outside
the sleeping bag and air can therefore circulate through the head
opening. The head and in particular the face portion as a rule are
insufficiently protected from low temperatures, even if integrated
hoods are provided for this. Although it is known to span hood
coverings over the head for the reasons mentioned above, this
solution is likewise not satisfactory since such hood coverings
e.g. are not windproof.
In contrast to the conventional sleeping bags mentioned above,
bivouac shelters also provide protection from further weather
influences such as wind and downpour. A multitude of bivouac
shelters for residing outdoors is known from the state of the art.
Thus e.g. WO 2004/109041 describes a mobile protective shelter
with an inflatable element. The protective shelter forms a
tunnel-like cavity which can provide a lying person with
protection and can be closed off to the outside. According to this
sheltering device, the complete person is located in the
tunnel-like cavity, so that a separate air feed is provided, via
which the person is supplied with air for breathing. In another
example, the person is supplied with oxygen by an oxygen bottle
brought along.
WO94/17266 describes an inflatable sheltering device with an
inflatable mattress and, arranged above this, a likewise
inflatable cover hood which together with the mattress forms a
cavity for completely receiving a person. Air openings are
provided for the supply of fresh air.
In certain embodiments of bivouac shelters, the head therefore in
each case together with the remaining body is accommodated in a
thermally insulating receiving space. This however necessitates
the provision of means for the fresh air supply such as e.g. air
openings. Moreover, air openings must also be provided in order to
prevent the formation of condensation water in the receiving space
due to exhaled air. Such air openings however reduce the heat
insulation capacity and are moreover problematic with regard to
their sealedness with respect to water, such as rain, or surface
water. Other means for the supply of fresh air are also elaborate
and complicated with regard to their implementation.
According to alternative embodiments of bivouac shelters, the head
is arranged outside the thermally insulating receiving space for
the body. The supply of breathing air is therefore ensured.
Instead, the thermal insulation capacity is likewise reduced by
way of leaky or permeable transition region between the
outer-lying head portion and the remaining body. Moreover, the
head portion is insufficiently protected from the influences of
the weather.
BRIEF SUMMARY OF THE INVENTION
It is therefore the object of the invention, to provide a mobile
and lightweight bivouac shelter of the initially mentioned type,
with which on the one hand the body is ideally protected from
weather influences and in particularly optimally thermally
insulated from the cold, and on the other hand the adequate supply
of fresh air for breathing is ensured without complicated
technical measures. The bivouac shelter should moreover be simple
with regard to design and assembly, as well as inexpensively
manufacturable.
This object is achieved by the characterising features of claim 1.
The dependent claims claim particular further developments and
alternative solutions of the invention.
The bivouac shelter is thus characterised in that the basis unit
comprises a connection opening for a closure unit, said connection
opening lying opposite the foot region. The basis unit is moreover
designed in a self-supporting manner in the operating position and
forms a shape-retaining body receiving space. The basis unit
moreover comprises an at least partially, preferably completely
multi-walled construction with at least one, preferably a
plurality of air-filled hollow chambers lying therebetween,
wherein the basis unit obtains its intrinsic stability due to the
multi-walled construction.
According to a particular embodiment, the basis unit comprises an
inner (insulating) body as well as an outer (insulating) body. The
outer body bears on the inner insulating body and envelops this at
least partly and preferably completely. The outer body in
particular forms a tunnel-like or tubular receiving space for the
inner body. The inner body for its part forms a tunnel-like or
tubular body receiving space.
The inner body can e.g. be inserted into the outer body. The two
insulating bodies moreover form a ground part.
Hollow chambers which are closed or connected to one another and
are preferably air-filled are arranged between the two insulating
bodies. These hollow chambers have a further insulation effect.
For this, the inner body towards the outer body, and/or the outer
body towards the inner body preferably has an outer contour with
prominences and recesses. The outer contour can e.g. be wavelike,
zigzagged, and in particular square-wave-shaped.
Both bodies are preferably designed in a multi-walled manner, with
one or more air-filled hollow chambers lying therebetween. The
bodies for this contain valves, with which the hollow chambers can
be filled with air.
In a further development of the invention, the closure unit is
attached onto the connection opening in a releasable or fixed
manner and closes the body receiving space in a thermally
insulating manner.
The connection opening preferably corresponds to an end-side
opening of the tunnel-like or tubular body receiving space.
According to a particularly preferred embodiment, the connection
opening corresponds to the access opening. This does not
necessarily need to be the case. Thus the access opening can also
be attached or incorporated laterally, on a wall section which
laterally delimits the body receiving space in the longitudinal
direction. The access opening here can e.g. be designed as an
access slot or access gap or by way of a detachable access flap
which forms hatch. The access slot or access gap are arranged e.g.
in the longitudinal direction.
Moreover, the access opening can also be designed by a liftable
basis upper part. The basis upper part can be completely separated
from the remaining basis unit or be connected to this via a hinge
connection. The basis upper part can be connected to the lower
part of the basis upper part via a tongue-and-groove connection
which is at least partly peripheral.
The access opening defines that opening, through which the user
enters into the body receiving space.
The closure unit is releasably connected to the basis unit via
closure means, such as with a positive fit, a friction fit, in
particular via a Velcro-type closure, zip closure or button
closure.
The closure unit can comprise a connection body which can be
assembled transversely over the connection opening or access
opening and which is connectable to the basis unit in a thermally
insulating manner.
Moreover, the closure unit preferably comprises a hood for
receiving a head of a person lying with his body in the body
receiving space, said hood being attached in a releasable manner
or in non-releasable manner which is to say integrally. The hood
preferably comprises a flexible two-dimensional (sheet-like)
material.
The body receiving space is closable preferably in a thermally
insulating as well as watertight and/or airtight manner by way of
the closure unit. Watertight means that no moisture and in
particular no rainwater or surface water can penetrate into the
body receiving space. Airtight means that no uncontrolled exchange
of air can take place, wherein an air exchange controlled by
valves is not to be excluded by this.
The closure unit is thus preferably connectable via the connection
body to the basis unit, preferably in an airtight, watertight and
thermally insulating manner. Accordingly of course, the basis unit
or its wall region is also designed in a thermally insulating and
preferably also airtight as well as watertight manner. The body
receiving space serves for receiving at least the legs or parts
thereof and preferably the torso as well as the arms and legs of a
lying person, hereinafter called body. The head in contrast is
placed outside the body receiving spaced closed by the closure
unit.
The thermally insulated body receiving space is heated up by the
body's own heat of the person lying therein, and is kept warm.
I.e., no external heat source such as a heater is necessary for
heating the body receiving space. With particularly harsh weather
conditions, additional heating means can be provided in the body
receiving space for heating this. Since the body receiving space
is however hermetically closed to the outside and permits no air
circulation and moreover is thermally insulated in an optimal
manner by the air chambers of the basis unit, the body receiving
space can be kept comfortably warm with a comparatively low heat
output. Moreover, additionally a sleeping bag or a sleeping
envelope or a sleeping cover arranged in the body receiving space
and for increasing the comfort can be provided. The sleeping bag
or the sleeping envelope can e.g. be releasably or non-releasably
connected to the closure unit.
The basis unit preferably at least in sections and preferably
completely or over the whole periphery is designed in a
multi-walled, in particular double-walled manner. The basis unit
thus comprises at least two walls which are distanced to one
another. At least one, preferably several hollow chambers which
are separated from one another and are filled with air (e.g.
inflatable) is contained therebetween in a lying manner. The
chambers e.g. are inflatable via one or more valves e.g. by way of
a pump such as a hand pump or foot pump, with a gas such as air.
The chambers can also be self-inflatable. Inflatable is therefore
to be understood hereinafter as self-inflatable as well as
actively inflatable, e.g. by way of a pump.
The chambers can be separated from one another in an airtight
manner or designed in a manner communicating with one another. The
hollow chambers which are formed between the outer wall and the
inner wall and which are filled with air ensure an optimal thermal
insulation of the bivouac shelter with respect to the environment.
The basis unit likewise forms the ground part which lies on the
ground and which is usefully an integral part of the basis unit.
This ground part is usefully likewise designed in a multi-walled
manner with hollow chambers which are filled with air (e.g.
inflatable) and lie therebetween, and therefore simultaneously
also assumes the function of a mattress. I.e. the ground part with
the air-filled hollow chamber(s) not only serves for the thermal
insulation but also for cushioning or spring support.
According to a first embodiment variant, the multi-walled
construction of the basis unit comprises two outer-lying walls as
well as a self-expanding inner structure lying therebetween and
having at least one hollow chamber. The inner structure is
elastically expandable into an operating position e.g. by way of
pressure relief. The air is sucked through a valve by way of this.
The filling of the hollow chambers with air is thus effected
without the active supply of air. The inner structure can e.g.
contain an elastically deformable foam material. The hollow
chambers here are formed by the pores of the foam material. The
shape retention is effected here essentially via the inner
structure, e.g. the foam and not necessarily via the enclosed air
volume. The air according to this embodiment variant specifically
usefully has atmospheric pressure.
In the transport condition, the basis unit is folded or rolled in
a compact manner, and well as the air pressed out of the hollow
chambers. The inner structure experiences a compression in this
condition. Only on unfolding or unrolling and the pressure relief
entailed by this does the basis unit begin to automatically
inflate with air through the valves.
According to a second embodiment variant, the multi-walled
construction of the basis unit comprises two outer-lying walls as
well as flexible connection webs or chamber walls which lie
therebetween and which connect the two walls to one another. The
connection webs or chamber walls are a type of spacer between the
walls which are connected to these. They form one or more open or
closed hollow chambers which can be filled with air via one or
more valves. The hollow chambers here must be actively inflated.
The shape retention is effected here essentially via the air
volume enclosed in the hollow chambers. The air according to this
embodiment variant specifically preferably has an overpressure
compared to the ambient pressure.
Whilst the ground part is preferably designed in a plane manner,
the roof part arranged thereabove is preferably formed in an
arched manner. The roof part can however also be designed
differently, e.g. with plane surfaces which meet at an angle. The
roof part with its lateral wall sections is connected to the
ground part, preferably in an integral manner. The roof part can
moreover comprise reinforcement structures which are separate or
integrated into this, and which ensure the intrinsic stability of
the basis unit.
The basis unit can be designed as a plane component which is
flexible in the inflated condition and which can be bent into a
tubular structure for creating the bivouac shelter, wherein the
two lateral end sections or end edges which are led together are
connected to one another in a thermally insulating and preferably
also watertight and/or airtight manner.
The basis unit comprises a foot region which lies opposite the
connection opening. The body receiving space is terminated or
closed off to the outside in a thermally insulating manner and
preferably also in a watertight and/or airtight manner, in the
foot region.
In a particular embodiment, a separately formed terminating
element can be provided, via which the body receiving space in the
foot region can be closed in a thermally insulating and preferably
also watertight and/or airtight manner. The terminating element
can be designed as a separate element which can be completely
disassembled from the basis unit, or as an element which at least
partly can be released from the basis unit amid the release of a
connection opening to the outside. According to this embodiment,
with a disassembled terminating element, warm air can be led into
the body receiving space via the foot opening. The terminating
element can be connected to the remaining basis unit via a type of
tongue-and-groove connection designed in an annular and closed
manner.
The terminating element can however also be designed as an
integral, non-releasable part of the basis unit. The terminating
element preferably at least in sections, preferably completely is
likewise designed in a multi-walled manner, in particular in a
double-walled manner. Preferably, one or more inflatable chambers
for the thermal insulation of the body receiving space are formed
between an outer wall and the inner wall. In a preferred
embodiment of the invention, the basis unit, preferably together
with the terminating element forms a body which over the whole
periphery is designed in at least double-walled manner, with one
or more inflatable chambers lying therebetween, for the thermal
insulation of the body receiving space. This means that with the
exception of connection webs which as the case may be are provided
between the walls, a thermally insulating hollow chamber is always
arranged between an inner wall and outer wall of the basis unit,
as the case may be also of the terminating element.
The basis unit in the operating position is also designed in a
self-supporting and intrinsically stable manner, and forms a
tunnel-like or tubular permanent body receiving space,
independently of whether a person is located thereon or not. The
body receiving space in cross section can have any polygonal or
round or other type of shape. The cross-sectional shape of the
outer contour of the basis unit and/or its tunnel-like body
receiving space can be polygon-shaped, e.g. triangle-shaped,
rectangle-shaped, trapezium-shaped or semicircular. The basis unit
can have a height reducing from the head region to the foot
region. An aerodynamic design of the basis unit as well as of the
tent structures such as awnings which belong thereto as the case
may be, can be advantageous.
The closure unit is preferably designed as a separate element
which can be partly or completely disassembled from the basis
unit. One however can also envisage the closure unit being
designed as an element which is at least partly separable from the
basis unit amid the release of a connection opening or access
opening. The closure unit must however be at least separable in a
manner such that a person can move through the released connection
opening or access opening, into the body receiving space.
The closure unit in a preferred development of the invention
comprises a connection body which is designed in a peripheral and
annular or bead-like manner, for connection to the basis unit. The
connection body can be designed in a single-part or multi-part
manner. The connection body can however also be a differently
designed closure means, such as part of a zip closure, Velcro-type
closure or button closure.
The closure unit moreover comprises a flexible, sheet-like sealing
element which spans the opening outlined by the annular connection
body for example. The sheet-like sealing element as the case may
be is connected to the connection body preferably in a
non-releasable and in particular watertight and/or airtight
manner. The hood is moreover connected to the sheet-like sealing
element in a releasable or non-releasable, i.e. integral manner.
The sheet-like sealing element and the hood are preferably
manufactured of the same material and particularly preferably in a
single-part manner.
The sheet-like sealing element and/or the hood are preferably
manufactured from or with a single-layer or multi-layer material
and particularly preferably from or with a textile sheet
formation. In contrast to the basis unit, the sheet-like sealing
element and/or the hood preferably have no inflatable chambers.
The sealing element and/or the hood particularly preferably have
elastically stretchable characteristics, and consist preferably of
a natural or synthetic rubber or contain these. The sealing
element and/or the hood particularly preferably consist of
chloroprene rubber, or polychloroprene or chlorbutadiene rubber,
as known under the trademark Neoprene® or contain these.
The sheet-like sealing element and/or the hood can also be of a
double-layered or multi-layered textile material with chambers
which are filled with an insulating solid matter material, such as
downs, plastic foam or plastic fibres.
According to a particular embodiment of the invention, the upper
part of the basis unit and thus also the connection opening is set
back with respect to the ground part, in the direction of the foot
region, in a manner such that the user with the closure unit
formed as a connection element can assume an upright seated
position in the basis unit. The legs thereby at least partly,
preferably completely are accommodated in the tunnel-like
receiving space. The upper body is preferably arranged outside the
body receiving space.
The closure unit can in particular be designed for the use in the
embodiment mentioned above, as a jacket-like connection element or
sealing element in the form of a pull-over part for receiving the
upper body. The jacket-like connection element further comprises
arms for receiving the arms as well as a hood for receiving the
head. The jacket-like connection element is designed as a type of
sleeping envelope.
The jacket-like connection element can itself form a closable
access, through which the user can enter into the jacket-like
connection element as well as into the body receiving space. The
closure of the access can be a zip closure, Velcro-type closure,
button closure or a combined closure, which is incorporated into
the connection element. The access can be slot-like or gap-like.
The jacket-like connection element can be connected to the basis
unit in a fixed or integral manner, or in a releasable manner. The
releasable connection can be a zip closure, a Velcro-type closure,
button closure or a combined closure. The connection is
accordingly designed in an annularly closed manner. In this case,
the access into the body receiving space can be effected via this
releasable connection. For this, the user firstly pulls over the
jacket-like connection element, gets into the body receiving space
and fastens the jacket-like connection element on the basis unit.
Analogously to this, the jacket-like connection element can
already be preassembled on the basis unit. In this case, the user
opens the connection firstly partially, gets in and pulls over the
jacket-like connection element and closes the connection.
The hood is preferably designed as a so-called balaclava, also
called ski mask or slip-over hood. This is a hood enveloping the
complete head and the neck and either leaves free only the face or
only the eyes, mouth and nose, in a targeted manner. The balaclava
thereby is connected to the sheet-like sealing element via the
neck part. If the hood comprises rubber-elastic characteristics,
then this is designed in a manner such that the hood bears on the
contour of the head and, as the case may be, of the neck, in a
tight or snug manner, so that the body receiving space with the
body located therein, via the hood lying snugly on the head
arranged outside the body receiving space, is closed to the
outside in a sealed, in particular watertight and/or airtight
manner. The hood thus seals the facial contours.
The annular connection body is preferably designed in a bead-like
manner and particularly preferably forms one or more chambers
which are inflatable via preferably at least one valve. The
connection body in the operational position is preferably designed
as a supporting or self-supporting element which serves as a
support mount for the flexible, sheet-like sealing element. With
an inflatable connection body, this preferably has the previously
mentioned characteristics not until in the inflated condition. The
connection body however can also contain foam or consist of this.
The connection body can be connected to the remaining basis unit
via a type of tongue-and-groove connection which is designed in an
annular and closed manner.
The closure unit and, with it, the connection opening, preferably
in the longitudinal direction are arranged in a manner displaced
inwards, i.e. towards the foot region, so that an outer-lying
tunnel-like receiving section is formed, in which the head
inserted into the hood can be positioned. The receiving section
can be open to the outside at the end side. However, it is also
possible for the receiving section to be closed to the outside by
way of a further closure element, even if not necessary in an
airtight and watertight manner. This additional closure element
can likewise be designed in an inflatable manner with suitable
hollow chambers, or also consist of an awning.
The receiving section can also be characterised in that the upper
part of the basis unit in the region of the receiving section is
set back with respect to the ground part in the direction of the
foot region, in a manner such that the user with or without the
closure unit designed as a connection element can assume an
upright sitting position on the ground part, wherein the legs are
accommodated in the tunnel-like receiving space.
The closure unit preferably comprises gripper elements arranged
towards the body receiving space, such as grips or straps, by way
of which the person lying in the body receiving space can pull the
closure unit inwards in the direction of the foot region and bring
it into the closure position. The grip elements are preferably
fastened on the connection body.
The closure unit is preferably connected to the basis unit via a
friction fit connection and/or positive fit connection. The
closure unit can e.g. be connected to the basis unit via a type of
tongue-and-groove connection, wherein e.g. a part-peripheral or
fully peripheral groove or recess is provided in the basis unit,
into which groove the connection body engages in a partially
peripheral or fully peripheral manner. Other thermally insulating
and preferably also watertight and/or airtight connection types
are also possible.
Means which on the one hand are water impermeable and on the other
hand are vapour diffusion permeable can be provided on the basis
unit and in particular in the closure unit, for leading away air
humidity out of the body receiving space. This can e.g. be
effected via water impermeable but vapour diffusion permeable
membrane which is known per se. Thus e.g. the flexible sealing
element can comprise such means or such a membrane.
The bivouac shelter is designed such that it can be assembled and
disassembled for multiple use. The bivouac shelter after emptying
the hollow chambers can be brought into a compact unit for the
transport and the storage, thanks to the basis unit and, as the
case may be, the connection body and terminating element, which
are inflatable or fillable with air in a pressure-free manner. The
bivouac shelter or its elements such as basis unit and closure
unit achieve their intrinsic stability by way of the inflation and
filling of these with air, and the design of air-filled hollow
chambers. Basically, the chambers can of course also be filled
with a gas or gas mixture other than air.
The basis unit, as the case may be, with the terminating element
as well as with the connection body as the case may be, comprises
a flexible, sheet-like, watertight and airtight and, as the case
may be, also elastic and stretchable material. The material can
e.g. contain a plastic, in particular PVC and/or a natural or
synthetic rubber or consist of these. The mentioned material forms
the outer-lying walls and, as the case may be, webs of the hollow
chambers. The material preferably consists of a textile sheet
formation or contains such. A fibre-reinforced, in particular
carbon-fibre-reinforced plastic fabric can also be used as a
material.
The bivouac shelter according to the invention is therefore of a
comparatively low weight and thus is suitable for being carried by
a person. The bivouac shelter in its operational position (without
awning) can e.g. have a length of 1 to 3 m, a width of 0.4 to 2 m
and a foot height and head height of 0.3 and 1 m respectively. If
the bivouac shelter is to provide space for more than one person,
then it is designed accordingly wider. The bivouac shelter can be
deployed e.g. at temperatures from -40° to +70° and has a weight
e.g. of less than 6 kg.
For application with high temperatures, e.g. in summer, the
closure unit and, as the case may be, also the terminating element
can be omitted, so that the person lies in a tunnel-like body
receiving space which is open to the outside at one end or at both
ends. The openings in the head region and/or foot region can be
shielded to the outside by way of a suitable awning as a minimum
weather protection, viewing protection and light protection. The
connection locations of the awnings to the basis unit however are
preferably designed in a watertight manner in each case. The
awnings can be connected to the basis unit in a releasable or
non-releasable manner, wherein in the latter case, the flexible
textile sheet formation of the awnings can be folded or rolled
together with the basis unit and stored away.
The bivouac shelter can be designed for one, two or as the case
may be, also several persons. Thus the bivouac shelter can be
designed e.g. for two or more than two persons. In a first
variant, the bivouac shelter comprises connection openings or
access openings which lie opposite one another and which are
closable via suitable closure units of the described type. The
persons here are arranged next to one another, but lying opposite
one another in an alternating manner.
In a second variant, one or more closure units are arranged on
only one side and the persons lie next to one another in an
equally directed manner, The persons can be arranged e.g. parallel
next to one another in both variants.
According to the two variants mentioned above, a common closure
unit can be provided for in each case one, two, several or all
persons of a bivouac shelter, wherein an individual hood is
allocated to each person. Preferably however, an individual
closure unit is provided for the individual access and leaving.
According to a third variant, the bivouac shelter in a plan view
is designed in the shape of an open ring, wherein the open inner
circle forms a common receiving section or open receiving sections
in the form of segments which are at least partly separated from
one another by way of separating elements. The body receiving
space is designed in each case as a ring segment. The persons are
arranged with the head to the inner circle and with the feet
radially outwards. The bivouac shelter and its spatial elements
can also differ from the circular shape and e.g. be designed in an
oval or elliptical or polygonal, in particular rectangular manner.
According to the variants mentioned above, in each case an
individual open receiving section which e.g. are spatially
separated from one another via separation elements, can be
provided for the head of the individual person. One can also
envisage two, more or all persons of a bivouac shelter sharing a
common, open receiving section.
Thanks to the bivouac shelter according to the invention, with the
described closure unit, it is possible to keep the body of a
person warm in a body receiving space which is extremely well
thermally insulating and is preferably also watertight and/or
airtight, whist the head is in contact with the environment and
despite this is likewise well protected from the cold and other
weather conditions. Thanks to the closure unit according to the
invention, the body receiving space is hermetically closed to the
outside despite the head being arranged outside. In particular,
there are no regions, via which an air exchange between the body
receiving space and the environment is possible, wherein this
would compromise the insulation effect. Despite this, the user has
a certain freedom of movement, since the flexible, and, as the
case may, be elastically designed, sheet-like sealing element of
the closure unit permits a rotation of be body between a belly
position, back position and side position, as well as a
displacement of the body along its longitudinal axis.
Since the head is preferably arranged in a tunnel-like receiving
section, although being arranged outside the body receiving space,
this despite this is minimally protected from weather influences.
For the supplementary protection of the head e.g. from wind,
downpour, but also from the incidence of light, the receiving
section can be shielded to the outside via an awning. The user can
additionally or alternatively use the body receiving space for
depositing his personal belongings, such as clothes, provisions
and valuables, since the self-supporting basis unit forms a
permanent body receiving space. The belongings are particularly
secure from theft during sleep, since these are hermetically
shielded to the outside in the body receiving space. The awning in
front of the outer-lying receiving section, apart from an
additional weather protection, viewing protection and light
protection, also provides a protective space for personal
belongings. As can be deduced from the embodiments mentioned
above, the bivouac shelter thus simultaneously has the function of
a sleeping bag with an integrated, air-filled mattress as well as
the function of a bivouac and material store.
The bivouac shelter according to the invention is moreover
assemblable in a rapid and simple manner, i.e. without particular
prior knowledge, as well as without any tools. Only an air pump or
compressed air cartridges for inflating the individual elements
are to be recommended as the case may be. The bivouac shelter
provides protection for at least one person as well as for
personal objects. The access can be designed in a kneeling or
crawling manner. The height of the body receiving space can be
dimensioned such that a person can sit therein, which is an
increase in comfort, in particular for summer operation when the
closure unit is not envisaged.
The bivouac shelter can be applied for the initially mentioned
application purposes. The bivouac shelter according to the
invention can also serve as an emergency shelter for homeless
people. Since the bivouac shelter is simple to handle, easily and
compactly transportable and storable as well as inexpensive, this
is also particularly suitable also for the application in troubled
regions by charity organisations or for the homeless in urban
areas. Moreover, the bivouac shelter is also suitable preferably
for outdoor activities, in particular for ski tours, mountain
climbers, hunters, wilderness adventurers, expeditions, for
travels with a vehicle, for rescue deployment or for the military.
The bivouac shelter is multifunctional from a varied point of
view. Thus e.g. it is suitable for sleeping, for warming up, as a
provisional accommodation with privacy, as well as for the storage
and for the protection of personal belongings. Moreover, the
bivouac shelter is suitable for all seasons, by way of the amount
of thermal insulation being able to be adapted to the prevailing
outer temperatures by way of removing or adding closure elements.
Moreover, shoulder straps can be provided on the basis unit,
wherein a type of rucksack can which can be carried by way of the
shoulder straps can be formed by way of folding up the basis unit
in accordance with instructions.
Thus the bivouac shelter according to the invention is preferably
constructed in a modular manner. Such a modular bivouac shelter as
has been previously described in detail comprises a basis unit
forming a body receiving space as well as an open receiving
section.
The body receiving space and the open receiving section of the
basis unit are coherent, so that the bivouac shelter can be used
as an open camp.
The modular bivouac shelter further comprises a closure unit which
is connectable to the basis unit and spatially delimits the body
receiving space from the open receiving section, so that the
bivouac shelter can be used as sleeping envelope.
Moreover, the bivouac shelter preferably also comprises a tent
unit which in the assembled condition spans the open receiving
section of the basis unit, so that the bivouac shelter can be used
as a tent.
The features of the bivouac shelter described in detail in the
description and its embodiment variants are likewise valid with
regard to the claim of a modular bivouac shelter.
The bivouac shelter with a load is even capable of floating and
can therefore be used as a type of raft or for crossing waters,
thanks to the multi-walled design of the basis unit with air
chambers lying therebetween.
BRIEF DESCRIPTION OF THE DRAWINGS
The subject matter of the invention is explained
hereinafter in more detail by way of one preferred embodiment
example which is represented in the accompanying drawings. There
are shown schematically in:
FIG. 1 is a longitudinal sectional elevation view of a
first embodiment of a bivouac shelter according to the
invention;
FIG. 2 is a longitudinal sectional elevation view through a
bivouac shelter according to FIG. 1, for summer use;
FIG. 3a is a sectional elevation view of the bivouac
shelter according to the invention, in the direction of the
connection opening or access opening (A-A) according to FIG. 1;
FIG. 3b is a cross-sectional elevation view along the line
B-B according to FIG. 1;
FIG. 4 is a longitudinal sectional elevation view through a
further embodiment of a bivouac shelter according to the
invention;
FIG. 5 is a longitudinal sectional view through the bivouac
shelter according to FIG. 4, for summer use;
FIG. 6a is a sectional elevation view of the bivouac
shelter according to the invention, in the direction of the
connection opening or access opening (A-A) according to FIG. 1;
FIG. 6b is a cross-sectional elevation view along the line
B-B according to FIG. 1;
FIG. 7 is a plan view of a further embodiment of a bivouac
shelter according to the invention;
FIGS. 8a-8c are sectional elevation views of a further
embodiment of a bivouac shelter according to the invention;
FIG. 8d is a plan view of an extended, sheet-like sealing
element in a jacket design;
FIG. 9a is a sectional elevation view of a further
embodiment of a bivouac shelter according to the invention;
FIGS. 9b-9c are perspective views of a further embodiment
of a bivouac shelter according to the invention;
FIGS. 10a-10c are cross-sectional elevation views through
the basis unit of a further embodiment of a bivouac shelter
according to the invention.
The reference numerals used in the drawings and their
significance are listed in a grouped manner in the list of
reference numerals. Basically in the figures, the same parts are
provided with the same reference numerals.
DETAILED DESCRIPTION OF THE INVENTION
The bivouac shelter 1 according to the invention which is shown in
FIGS. 1, 2 and 3a, 3b as an embodiment example comprises a basis
unit 2 which forms a tunnel-like body receiving space 7. The basis
unit 2 is thus designed in a tubular or tunnel-like manner. The
basis unit 2 is designed in a double-walled manner of the complete
periphery, with an outer-lying first wall 27 and an inner-lying
second wall 28. Inflatable hollow chambers are arranged between
the two walls 27, 28. As soon as the hollow chambers of the basis
unit 2 are filled with air, these assume a self-supporting shape
amid the formation of the mentioned body receiving space. It is of
course self-evident that the shown basis unit 2 can generally be
designed in a multi-walled manner with hollow chambers arranged in
an infinitely suitable manner. A ground part 29 which is likewise
designed in an at least double-walled manner with inflatable
hollow chambers lying therebetween is integrated into the basis
unit. The ground part 29 simultaneously serves as a mattress. The
basis unit 2 lies with its ground part 29 lies on a ground
underlay 10, for the protection from sharp objects. The ground
underlay as a protection from damage can generally also be
integrated into the ground part of the basis unit, or the ground
part can be designed in a suitably reinforced manner towards the
ground on its resting side.
The body receiving space 7 in the operational position forms a
foot region 23 which is closed to the outside by way of a
terminating element 30. The terminating element 30 is connected to
the basis unit 2 in a thermally insulating and preferably airtight
and/or watertight manner. The terminating element 30 is likewise
designed in at least double-walled manner with inflatable hollow
chambers lying therebetween.
A first awning 11 is fastened on the head-side end of the basis
unit 2. A second awning 12 is fastened on the foot-side end of the
basis unit 2. Both awnings 11, 12 are stentered via anchoring
means such as tent pegs which are admitted in the ground. The
first awning 11 in particular serves for the protection of an open
receiving section 25 from wind, the incidence of light, rainfall,
and as a viewing protection together with the basis unit 2 ensures
a minimum of privacy. Both awnings 11, 12 further serve as storage
space for personal belongings and provide a minimal of protection
from the influences of the weather for these articles or also an
animal such as a dog or cat.
The basis unit is additionally secured against dislocation via guy
means 14a, 14b such as ropes or cables which are attached on the
basis unit 2 via fastening loops 15, 16. The additional fastening
serves for securing the bivouac shelter against strong winds, in
particular when this is not being used and is therefore not
weighed down by the weight of a person. The basis unit 2 can also
be anchored on the ground (not shown) via anchoring elements. The
guy means 14a, 14b, 15, 16 as well as the awnings 11, 12 as well
as the anchoring elements 13 with the associated fastening means
on the basis unit 2 are however optional features.
The bivouac shelter 1 does not lie directly on the ground. In
contrast it is arranged on a ground underlay 10. The ground
underlay 10 serves as a protection from damage to the basis unit 2
by sharp objects as well as for preventing the bivouac shelter 1
from getting dirty. The ground underlay 10 is also to repel
moisture.
The basis unit 2, the terminating element 30 as well as the
connection body 4 comprise valves, in particular check valves for
inflating the mentioned parts (not shown).
According to the representation in FIG. 1, the body receiving
space 7 of the basis unit 2 is closed off to the outside in a
thermally insulating and airtight manner by way of a closure unit
3. The closure unit 3 for this is introduced transversely to the
longitudinal direction L of the basis unit 2 and transversely to
the connection and access opening 26, 27 in the direction of the
body receiving space and closes the latter. The closure unit 3 is
moreover arranged displaced towards the foot region 23 in the
longitudinal direction L, so that an open, tunnel-like receiving
section 25 which receives the head 19 of the user is formed.
The closure unit 3 comprises a connection body 4 which is designed
in an annular manner and via which this closure unit with the
basis unit 2 assumes the thermally insulating and, as the case may
be, watertight and/or airtight connection. The connection body 4
is inflatable into a bead-like, self-supporting element and
accordingly comprises one or more inflatable hollow chambers (not
shown). The shape and size of the connection body 4 is usefully
adapted to the inner cross-sectional contour of the tunnel-like
access opening at the connection location.
A flexible, sheet-like sealing element 6 spans the opening
outlined by the annular connection body 4 and is connected to the
connection body 4 in an airtight manner. A hood 5 is integrated
into the sheet-like sealing element. The hood 5 is designed as a
balaclava which bears snugly on the head 19 and which completely
covers the head 19 with the exception of the facial region,
including the neck portion and in this manner keeps it optimally
warm.
The sealing element 6 and the hood 5 preferably consist of the
same rubber-elastically stretchable material. The sealing element
6 separates off the body receiving space 7 from the surroundings
in an airtight manner, in the manner of a flexible, elastically
stretchable membrane. The head region is also closed to the body
receiving space 7 in an airtight manner since the hood integrated
into the sealing element 6 is likewise designed with elastically
stretchable characteristics, for a snug bearing on the head and as
the case may be, the neck portion. This being the case despite the
face positioned outside the body receiving space 7 being
uncovered. The sealing element 6 in the present embodiment
comprises a hand opening 21 which can be closed in a water-tight
or airtight manner and through which the user can engage with the
hand for the purpose of carrying out task such as eating or
drinking. The hand opening 21 here can be closed e.g. by way of a
zip closure.
A head underlay 20, e.g. a cushion, additionally supports the head
10 in the correct position. The head underlay 20 can be designed
as a separate element or can be integrated into the ground part 29
of the basis unit 2 at a suitable location. The head underlay 20
preferably likewise contains one or more inflatable hollow
chambers.
For setting up the bivouac shelter 2 and for creating the
operating position, the basis unit 2, the terminating element 30
and the connection body 4 are inflated until the envisaged
pressure is achieved in the air chambers. Subsequently, the
terminating element 30 is assembled into the basis unit. For
assuming the lying position for the purpose of sleeping or keeping
the body warm, the person 18 concerned with his feet in front
slips through the access opening 17, also called entry opening,
into the body receiving space extending in the longitudinal
direction. For the closure of the body receiving space 7 the
person 18 grips the previously arranged closure unit 3 at the
grips 8a . . . d with both hands and pulls the closure unit 3 over
his head 19, so that the head comes to lie in the hood 5.
Simultaneously or subsequently, the person 18 via the connection
body 4 fixes the closure unit 3 in a connection section (not
shown) provided especially for this, in the access opening 17. Of
course, the person 18 can also insert the head 19 into the hood 5
not until after the fixation of the closure unit 3 in the
envisaged position. Tightening means 9 are provided for this, via
which the user 18 can pull the hood 5 over the head 19. The user
18 can optionally tighten the hood via the tightening means 9 or
via a separate pull cord, on the chin.
Moreover, optionally a flexible tube with a check valve can be
integrated into the closure unit 3 and in particular into the
sealing element 6, via which tube the exhaled air heated by the
body can be blown into the body receiving space 17 for the purpose
of a quicker heating. The valve can be equipped with a filter unit
for separating air moisture.
The bivouac shelter 1' according to FIG. 1, as can be used in
summer operation, which is to say at mild temperatures and
friendly weather, is shown in FIG. 2. The terminating element 30
is separated from the basis unit 2, so that a foot-side opening 22
is released in the foot region 23. Moreover, the closure unit 3 is
also removed, so that the access opening 17 is also open and the
person 18 lies in an extended receiving space which apart from the
body receiving space 17 also includes the receiving section 25.
The extended receiving space which is open at both ends is well
ventilated in this manner.
The embodiment of a bivouac shelter 51 according to FIG. 4
provides space for two persons. The bivouac shelter 51 likewise
has a tunnel-like or tubular basis unit 52 of the described type,
which forms a body receiving space 7 for two persons 18, 18'. The
bivouac shelter 51 comprises two connection openings and access
openings 66a, 66b, 57a, 57b which lie opposite one another and
which are closable via suitable closure units 53a, 53b of the
described type. The closure units 53a, 53b are likewise arranged
in a manner displaced towards the oppositely lying access opening
57a, 57b in the longitudinal direction L, so that in each case an
open, tunnel-like receiving section 55a, 55b which receives the
head of the person 18, 18? is formed.
The persons 18, 18' are then arranged next to one another, but
lying opposite one another in an alternating manner. Of course the
bivouac shelter 52 can also be designed for more than two persons
arranged next to one another in an alternate manner. Disregarding
the modification or extension described above, the bivouac shelter
51 is provided with functionally equal elements as the bivouac
shelter 1 according to FIG. 1, so that these elements are not
further provided with reference numerals at this location.
FIG. 5 shows the bivouac shelter 51 in summer operation which in
contrast to the bivouac shelter for winter operation according to
FIG. 4 amongst other things can be analogously retrofitted by way
of removing the two closure units 53a, 53b, as with the bivouac
shelter 1 according to FIGS. 1 and 2. Here too, a repeated
explanation is therefore omitted at this location.
FIG. 6a shows a front view of the bivouac shelter according to
FIG. 4 (line A-A). A separate closure unit 53a, 53b is provided
for the individual person. The FIG. 6b shows a cross section
through the bivouac shelter according to FIG. 4 along the line
B-B. The body receiving space 7 is designed such that two to four
persons 18, 18' have enough space thereon. If e.g. a 4-some
bivouac shelter is only used by 3 persons (or even less), then the
non-used hood can be thermally optimally sealed by an inflatable
balloon.
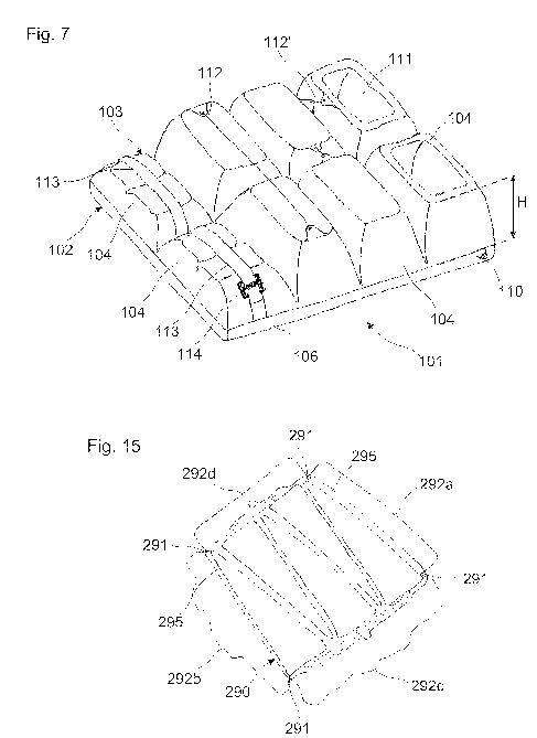
A further embodiment of a bivouac shelter 81 for several persons
is represented in FIG. 7. The bivouac shelter 81 in a plan view is
designed in the shape of an open ring. The sector shaped recess 89
forms the common entry region E which leads into an inner circle
90 which is open at the top. The inner circle 90 forms a common,
annular receiving section 85 which is open to the circle centre.
This can also be divided up into individual sectors by way of e.g.
radially arranged separation elements (not shown). The body
receiving space 87a . . . c is designed in each case as a ring
segment. The closure units 83a . . . c with the hoods which close
the connection openings and access openings, are set back radially
in the direction of the foot region, so that a channel-like
receiving section 85 is formed with a channel opening directed to
the middle point. The receiving section 85 is thus shielded to the
top and to the bottom by the roof part and the ground part of the
basis element 82 respectively. The persons 18, 18', 18? are
arranged with the head to the inner circle 90 and with the feet
radially outwards. The bivouac shelter 81 or at least the open
inner circle 90 can be spanned with a tent roof (not shown). The
closure units 83a . . . c as well as the basis unit 82 and any
terminating elements (not shown), with regard to functioning are
designed in an analogous manner to the corresponding elements of
the other embodiments.
The bivouac shelter 101, 201, 251 represented in the FIGS. 8a-8c
as well as 9a-9c comprises a basis unit 102, 202, 252 which forms
a tunnel-like receiving space 107, 207. The basis unit 102, 202,
252 is likewise designed in a tubular or tunnel-like manner. The
basis unit 102, 202, 252 is designed in a multi-walled, in
particular double-walled manner over the whole periphery, with an
outer-lying first wall and an inner-lying second wall. Hollow
chambers fillable with air are arranged between the two walls. As
soon as the hollow chambers of the basis unit 102, 202, 252 are
filled with air, these assume a self-supporting, intrinsically
stable shape amid the formation of the mentioned body receiving
space 107, 207, 257. The shown basis unit 102, 202, 252 can have
different, suitably designed hollow chambers.
The basis unit 102, 202, 252 moreover at the end of the
tunnel-like or tubular receiving space 107, 207 which lies
opposite the foot-side region forms a connection opening 126, 226,
276, onto which a closure unit 103, 203, 253 is integrally or
releasably attached.
A ground part 129, 229, 279 which is likewise designed in a
multi-walled, in particular double-walled manner, with
air-fillable hollow chambers lying therebetween is also integrated
into the basis unit. The ground part 129, 229, 279 simultaneously
serves as a mattress.
The body receiving space 107, 207, 257 forms a foot region 123,
223, 273 in the operating position. Moreover, an awning 112, 212
can be fastened at the foot-side end of the basis unit 102, 202.
The basis unit 102, 202, 252 is secured on the ground preferably
via suitable securing means as are already described in the
context of the embodiment examples according to FIGS. 1 and 2.
The basis unit 102, 202, 252 moreover comprises one or more
valves, in particular check valves, for filling the mentioned
chambers (not shown).
According to the embodiment according to FIGS. 8a-8c, in the
region of the receiving section 125, the upper part of the basis
unit 102 is set back in the direction of the foot region 123 with
respect to the ground part 129, in a manner such that the user 18
with the pulled-over closure unit 103 designed as a connection
element 106, as described further below, can assume an uprightly
seated position, wherein the legs are accommodated in the
tunnel-like receiving space 107.
The connection opening 126 which simultaneously is the access
opening 117 is accordingly arranged in the set-back end region of
the tunnel-like body receiving space 107. The upper body thus lies
out in the open (see FIG. 8a). The user can therefore also sit
freely on the ground underlay 129 in the region of the basis unit
102 which is open to the top, wherein for this, the closure unit
103 which is not used can be pushed into the body receiving space
107 (see FIG. 8c).
The body receiving space 107 is closed off to the outside in a
thermally insulating and airtight manner at the connection opening
126 by way of the closure unit 126. The closure unit 103 for this
is arranged transversely to the longitudinal direction L of the
basis unit 102 and transversely to the access opening 117 or
connection opening 126.
Since the tunnel-like body receiving space 107 is only designed
for receiving the legs or parts thereof, the closure unit 103 is
designed as a jacket-like connection element 106 of a flexible,
sheet-like material, and comprises arms for receiving the arms, as
well as a hood 105 (see FIG. 8d). Suitable, flexible sheet-like
materials are already described for the embodiment according to
FIGS. 1 and 2 as well as in the general description part.
The jacket-like connection element 106 can itself form a closable
access 130, through which the user can get into the jacket-like
closure element 106 as well as into the body receiving space 107.
The closure of the access 130 can be a zip closure, Velcro-type
closure, button closure or a combined closure. The access can be
slot-like or gap-like. The ground part 129 extends up to the head
portion of the jacket-like connection element 106. The head can be
supported via a head underlay 120 which is separate or is
integrated into the ground part 129.
The jacket-like connection element 106 can be connected to the
basis unit 102 in a fixed which is to say integral manner, or in a
releasable manner. The releasable connection can be a zip closure,
Velcro-type closure, button closure or a combined closure. The
connection is accordingly designed in an annularly closed manner.
In this case, the access into the body receiving space can be
effected via this releasable connection. For this, the user first
pulls over the jacket-like connection element 106, gets into the
body receiving space 107 and fastens the jacket-like connection
element 106 on the basis unit 102.
The jacket-like connection element can however also be fastened on
the basis unit in a fixed, i.e. non-releasable manner, so that the
user gets in through an opening on the jacket-like connection
element.
The region of the basis unit 102 which is open to the top and to
the side and which forms an open receiving section 125, can be
closed via a tent construction 131a, 131b (see FIGS. 8b and 8c).
The tent construction 131a, 131b in particular ensures a light
protection, viewing protection and wind protection and moreover
protects from downpours. The tent construction 131b can e.g. form
an arched dome so that the user 18 can also still sit upright when
they tent construction 131b is assembled (see FIG. 8c). Moreover,
an awning 111 can yet be provided on the head side, subsequently
to the ground part 129 (see in particular FIG. 8b).
According to the embodiment according to FIGS. 9a 9c, the body
receiving space 207, 257 of the basis unit 202, 252 is closed off
to the outside in a thermally insulating and airtight manner at
the connection opening 226, 276 by way of the closure unit 203,
253. The closure unit 203, 253 for this is arranged transversely
to the longitudinal direction L of the basis unit 202, 252 and
transversely to the connection opening 226, 276 which can
simultaneously from the access opening 217. The closure unit 203
is moreover arranged set back towards the foot region 233, 275, so
that a tunnel-like receiving section 225, 275 which is open at the
face side and which receives the head of the user 18 is formed.
The closure unit 203, 253 is designed as a flexible, sheet-like
sealing element 206, 256 with a hood 205, 255 which spans the
connection opening 226276. Suitable, flexible, sheet-like
materials are already described with respect to the embodiment
according to FIGS. 1 and 2 as well as in the general description
part.
The sealing element 206 can itself comprise a closable opening
217? which e.g. serves as hand opening (see FIG. 9b). The sealing
element 206 can furthermore be connected to the basis unit 202 in
a fixed which is to say integral manner or via a releasable
connection.
Here too, the ground part 229, 279 extends up to the head portion,
wherein the head can be supported via a e.g. integrated head
underlay 220.
A further awning 211 can be provided subsequently to the ground
part 229 (see FIG. 9a) at the head side. The head-side and
foot-side awnings 111, 112, 211, 212 according to the embodiment
examples according to FIGS. 8a-9a can moreover be provided for the
purposes already mentioned above.
Variants of the access openings 217, 217', 217?, 217'? are now
represented in FIG. 9b and these are shown by way of example and
by way of the same basis unit 202.
If the sealing element 206 is connected to the basis unit 202 in a
releasable manner, then this releasable connection can also form
the access opening 217?. For this, the user firstly gets into the
body receiving space 207 and subsequently fastens the sealing
element 206 on the basis unit 102.
If the sealing element 206 has itself a closable opening, then
this can not only be designed as a hand opening, but as an access
opening 217'?.
Moreover, an access flap 230 can be provided on the basis unit 202
itself and can be separated at least partly from the remaining
basis unit 202 via a releasable connection, amid the formation of
an access opening 217. The basis unit 202 however as an access
opening 217' can however also only have a releasable connection
which releases an opening slot or opening gap in the opened
condition.
The releasable closures which are mentioned above can be zip
closures, Velcro-type closures, button closures or combined
closures.
FIG. 9c shows a further variant of an access opening 267 on a
basis unit 252 of a bivouac shelter 251. The bivouac shelter 251
with the exception of the mentioned access opening 267 is designed
analogously to the embodiment according to FIGS. 9a, 9b.
The basis unit 252 comprises a shell-like, removable basis upper
part 280. The basis upper part 280 can be lifted from the
remaining basis unit 252 in manner departing from the head region
towards the foot region, via the direction shown by the arrows.
The user can get into the body receiving space 257 and climb out
of this again via an upper access opening 267 which becomes free
and which lies opposite the ground part 279, by way of removing
the basis upper part 280. The basis upper part 280 can be
connected with a positive fit to the remaining basis unit 252 via
a type of tongue-and-groove connection and be locked on this unit
by way of additional fastening means (e.g. clip-lock). The basis
upper part 280 can be completely separated from the remaining
basis unit or be connected to this via a hinge connection.
The hollow chambers of the multi-walled basis unit 102, 202 are
filled with air for setting up the bivouac shelter 101, 201, 251
and for creating the operating position, wherein the multi-wall
structure swells up and ensures its intrinsic stability.
FIG. 10a shows a cross-sectional view through one possible
embodiment of a basis unit 302, 402 of a bivouac shelter 301, 401
according to the invention, as can be applied for example in the
embodiment variants according to the FIGS. 1 to 9.
The basis unit 302, 402 comprises an inner (insulating) body 305,
405 as well as an outer (insulating) body 304, 404. The inner
insulating body 304, 305 forming a tunnel-like or tubular body
receiving space 307, 407 can be inserted into the outer insulating
body 304, 404. The outer insulating body 304, 404 in any case
bears on the inner insulating body 305, 405 and envelops this at
least partly and preferably completely. Air filled hollow chambers
303, 403 which are closed or connected to one another are arranged
between the two insulating bodies 304, 404; 305, 405. These have a
further insulation effect. The inner insulation body 305, 405 for
this has a corrugated outer contour. The mentioned outer contour
can also be zigzag-shaped or square-wave shaped. The two
insulation bodies 305, 405 moreover form a ground part 329, 429.
Both insulation bodies 304, 404; 305, 405 are designed in a
multi-walled manner with one or more air-filled hollow chambers
308, 408; 310, 410 which lie therebetween. The insulation bodies
304, 404; 305, 405 comprise valves 306, 406, with which the hollow
chambers 308, 408; 310, 410 can be filled with air.
The FIGS. 10b and 10c in each case show an enlarged detail of a
corner region of the basis unit 302, 402 according to FIG. 10a.
Whereas the outer contour is essentially the same, FIGS. 10b and
10c describe two different embodiment variants with regard to the
inner structure of the insulating bodies 304, 404; 305, 405.
According to the embodiment variant according to FIG. 10b, the two
insulating bodies 304, 305 comprise two outer outside walls which
are distanced to one another, as well as a self-expanding inner
structure with at least one hollow chamber which with a pressure
relief expands e.g. elastically into an operating position and
sucks air through the valve 306 by way of this. The filling of the
hollow chamber with air is thus effected without any active
feeding of air. This principle is known from self-inflatable air
mattresses. The inner structure here is of an elastically
deformable foam. The hollow chambers are formed by way of the open
pores of the foam.
According to the embodiment according to FIG. 10c, the two
insulation bodies 404, 405 comprise two outer outside walls which
are distanced to one another. The outside walls are connected to
one another via flexible connection webs or chamber walls 409, 411
which lie therebetween. These form one or more open or closed
hollow chambers 408 which are fillable with air via valves 406.
The insulation bodies 404, 405 according to this embodiment must
here be actively inflated, e.g. by way of a pump.
The shape retention here is effected essentially via the air
volume enclosed in the hollow chambers. The air according to this
embodiment variant specifically preferably has an excess pressure
compared to the ambient pressure.
The basis unit can moreover comprise a reflecting coating which
reflects the body heat into the body receiving space, on the inner
side to the body receiving space.
LYING SYSTEM AND LEVELING DEVICE FOR A
LYING SYSTEM
WO2015024137
The invention relates to a lying system (1), comprising at least
one leveling chamber (4) that can be filled with air. The lying
system (1) contains a lying side (2), which forms a lying surface,
and a support side (3). The at least one leveling chamber (4) that
can be filled with air is part of a leveling device (4) or forms
part of a leveling device and can be filled with air in such a way
that the lying system (1) has locally different heights outside of
the usage position. Thus, the support side (3) can be at least
partially adapted to the inclination and/or the unevenness of the
ground, such that the lying surface is more even and/or less
inclined than the ground in the usage position.
DESCRIPTION
The invention relates to the field of outdoor equipment.
It relates to a reclining system and a compensation device for a
deck system for use on an uneven floor.
The system includes a sun deck and a side, the deck side opposite
bearing side.
The contact page is provided for supporting the deck system on an
uneven floor.
The prior Teclinik a variety of mats are known which contain
air-filled chambers. As a damping and insulating the floor, and to
compensate for small bumps on the ground as such
B. caused by smaller stones, serve.
Small irregularities in the use position generate dents on the
contact side of the mat for lying.
The indentations are generated by the print run.
They are possible because the wall of the sleeping pad is flexible
and the air in the chambers can yield and avoid the pressure.
The indentations mentioned arise, however, only if the hammock in
the use position and the ground rests, and when a contact
pressure, eg.
As generated by a lying person.
However, such a sleeping pad can compensate only very small bumps.
Bigger unevenness in the form of wells, rocks or hills penetrate
through to the lying surface and reduce the sleeping comfort
considerably.
The same is true also when the ground is inclined.
In conventional mats has also the lying surface to a corresponding
inclination.
However, an inclined lying area leads to a slippage of the person
lying on the bed.
It is therefore an object of the invention to provide a system and
a deck Ausgleichsein- direction of the aforementioned kind to
create that or what a high sleeping comfort guarantees even with
larger uneven ground or floor inclinations.
The object is solved by the features of independent claims 1 and
14.
Further developments and special embodiments of the invention will
become apparent from the dependent claims, the description and the
drawings.
The erfmdungsgemässe deck system is now distinguished from that it
comprises a compensation device with at least one compensation
chamber, said at least one compensation chamber is so filled with
air that the sun system beyond the use position to Aufiageseite
may have towards locally adjustable different heights.
The at least one equalizing chamber is optionally filled in
cooperation with the limiting means described below and / or
stabilizing device, in particular form-sustaining with air.
The deck system can in particular have before taking the position
of use to the supporting side locally adjustable different
heights.
THERMALLY INSULATING MULTILAYER COVERING
JACKET
WO2015127570
The invention relates to a thermally insulating single- or
multipart multilayer covering jacket (1.1) for covering a person
(4), comprising a body side (3) and an outer side (2). The
covering jacket (1.1) contains a transfer layer (6.1), a blocking
layer (11.1), and a storage layer (5.1) arranged between the
transfer layer (6.1) and the blocking layer (11.1). The transfer
layer (6.1) is arranged so as to face the body side (3) and is
water-permeable in the direction of the storage layer (5.1) and
water-impermeable in the direction away from the storage layer
(5.1). The blocking layer (11.1) is arranged so as to face the
outer side (2) and is water-impermeable in the direction away from
the storage layer (5.1), and the blocking layer (5.1) forms an
intermediate space for storing condensed water which is formed
from the steam transferred into the storage layer (5.1) through
the transfer layer (6.1).