
rexresearch.com
Lawrence LAM
Aileron
http://lamaviation.com/2013/06/27/lam-aviation-claims-30-fuel-saving-increased-speeds-performance-and-safety/
June 27, 2013
Lam Aviation claims 30% fuel saving,
increased speeds, performance and safety
by Ben Sclair
General Aviation News
SAN FRANCISCO, Calif. – June 25, 2013 – Lam Aviation, Inc., has
successfully flown a Lancair Columbia (now Cessna Corvalis)
airframe retrofitted with a new wing equipped with a simple
version of the Lam Aileron. Flight test and evaluation show that
the modified aircraft realizes improved performance by every
measure when compared to the production Corvalis. The plane will
be on display at the Innovations Pavilion at AirVenture.
Flight test results have demonstrated dramatic improvements in
fuel economy, cruise performance, rate of climb and flight
handling, including roll rate, roll authority at slow speeds and
stall speed. The modified aircraft also has an increased useful
load and range.
Key test results of the airplane equipped with Lam Aileron
include:
Improved Cruise Performance – at equivalent power settings, the
modified airplane cruises 12-16 knots faster.
Decreased Fuel Consumption – at equivalent airspeeds, the
modified airplane consumes 20-30 percent less fuel with
corresponding increases in range.
Increased Rate of Climb – 40-50 percent greater rate of
climb after modification.
Increased Useful Load – aircraft useful load increased by
200 pounds.
Improved Flight-Handling Characteristics – roll rate is
increased and stick forces decreased. Roll authority and
flight-handling characteristics are improved in slow flight.
Commented test pilot Len Fox, a former naval aviator and US Navy
test pilot: “From the pilot’s perspective, operation of the Lam
Aileron is seamless. With the Lam Aileron, a slower stall speed
was achieved with a smaller wing. The reduction in wing area
contributed to a higher cruise speed. It was determined that the
horizontal tail required to provide optimum stability will also be
smaller, resulting in yet faster cruise speeds.
The Lam Aileron uncouples the traditional interdependent
relationship for sizing between ailerons and flaps, allowing wings
to be equipped with ailerons and flaps of any span, without the
use of spoilers or flaperons. The Lam Aileron enables aircrafts to
use smaller wings that weigh less and produce less drag, yielding
higher cruise speeds and rates of climb, lower fuel consumption
and improved ride comfort through turbulence, while also improving
roll control and slow-speed flight handling. The Lam Aileron also
allows the traditionally separate functions of flaps and ailerons
to be mixed, providing additional functionality for more
operations including speed brakes and drag rudders, and may offer
more effective methods of spin avoidance and recovery.
“Our aileron increases the range of variable geometries for
airplanes, helping to maximize the benefits of trailing-edge
devices like flaps and ailerons,” said Michael Lam, CEO of Lam
Aviation. “All aircraft designs that use flaps can gain
performance, efficiency and safety from the Lam Aileron.”
Advanced Aileron
Left wing – lower Lam Aileron auxiliary flap panel (yellow)
deployed in combination with main conventional flap (red) to form
full-span flap with upper Lam Aileron panel (green) deflected
upward for a left turn.
The LAM Aileron Innovation
Aero-engineers have long struggled with the inherent competition
between conventional flaps and ailerons for space on the trailing
edge of the wing. The mutually exclusive relationship between the
two dictates that installation of large flaps for good slow-speed
performance mandate small ailerons with less roll control
authority. Alternatively, large ailerons result in small flaps.
Previous attempts to accommodate large or full-span flaps have
included spoilers, flaperons, and tailerons, accompanied by their
many compromises and disadvantages.
The Lam Aileron Solution
Lam Aviation’s inventive aileron uncouples the traditional
mutually exclusive relationship between flaps and ailerons. With
the Lam Aileron, ailerons and flaps can each be of any span,
including full span, and their separate functions may be mixed for
additional modes of operation, such as speed brakes.
The Lam Aileron in Flight
Left wing – upper aileron panel (green) and lower auxiliary flap
(yellow) panels comprising the Lam Aileron deflected upward
together as a unit for a left turn at cruise with the conventional
main flap (red) in its stowed or neutral position on the left
wing.
Renowned aerospace engineer, designer and builder, Greg Cole of
Windward Performance, has retrofitted a Lancair Columbia 300
airframe, now Cessna Corvalis, with a new wing equipped with the
Lam Aileron. Following initial test flight and evaluation in Bend,
Oregon, highly regarded general aviation test pilot, former Naval
aviator and US Navy test pilot Len Fox, will fly the Lam
Aileron-equipped Columbia to Oshkosh, Wisconsin where the new
aileron will be on display at the 2010 EAA AirVenture Convention
July 26-August 1, 2010.
How the Lam Aileron Works
The Lam Aileron replaces the conventional aileron with two panels
approximately one on top of the other on the trailing edge of the
wing. Both panels are deployed as a single unit upwardly only as
an aileron. The upper aileron panel is deflected upward only from
the neutral position; while the lower, auxiliary flap panel is
capable of both upward and downward deflections from the neutral
position. The upper panel is deployed independently as an aileron
and the lower panel is deployed independently as an auxiliary
flap. Deflecting the Lam Aileron (either the upper aileron panel
by itself or both the upper aileron panel and lower auxiliary flap
panel together) upward on one side only provides a rolling moment.
Upward deflection only for roll control makes the entire trailing
edge available for downwardly deflected surfaces such as flaps.
This new aileron design releases flaps and ailerons from their
traditional interdependence for sizing on the trailing edge and
eliminates the compromises between slow flight capability and roll
control authority that follow while improving flight handling
characteristics. It also allows the usual separate functions of
flaps and ailerons to be mixed for additional operations such as
speed brakes or drag rudders.
Lam Aileron – Modes of Operation
For roll control not requiring flaps, both upper and lower panels
may be deflected upwardly together as a unit on one wing causing
rolling moments.
When flaps are scheduled, the lower auxiliary flap panels are
extended on both wings downward (and outward if of the Fowler
type) together with the main flaps to form large or full-span
flaps, while the upper panels continue to move upward
independently for roll control.
Deployment of the upper aileron panel upward and the auxiliary
flap panel downward on one wing yields a drag rudder.
Simultaneous deployment of drag rudders on both sides enables the
Lam Aileron to provide air braking with differential motion of the
upper aileron panels superimposed for roll control.
For maximum roll control authority for highly maneuverable
aircraft, the Lam Aileron may still be scheduled to act as a
conventional differential aileron.
A small number of Lam Ailerons may be installed along the trailing
edge to replace the many flap, spoiler, and aileron panels of
large commercial aircraft.
The Lam Aileron will be investigated for stall/spin departure
resistance and recovery.
FAQs:
Q: Does the Lam Aileron require new materials or manufacturing
processes?
A: No, the Lam Aileron is not dependent on any specific materials
or manufacturing processes. The Lam Aileron is comprised of flap
and aileron panels not much different than conventional aileron
and flaps. It is their application that is new and unique.
Q: How is the Lam Aileron different from a spoiler?
A: Just as conventional ailerons are trailing-edge devices, the
Lam Aileron is a trailing-edge device and continuously modulates
lift as it is deflected. Spoilers are mounted mid-chord on a wing
and serve to disrupt, dump or literally “spoil” lift and are quite
often problematic with their non-linear response.
Q: What are the disadvantages of the Lam Aileron?
A: The Lam Aileron is more complex mechanically. Instead of a
single aileron panel, the Lam Aileron requires two panels that
operate both together and independently.
Q: What kind of aircraft would use the Lam Aileron?
A: The Lam Aileron may be incorporated into any aircraft design
that utilizes a conventional wing and tail configuration.
Q: Is pilot flight control changed?
A: Pilot flight control input and experience are unchanged or
improved similar to drivers finding automobiles with power
steering, automatic transmissions and anti-lock brakes easier and
more secure to operate than those without.
Q: How do the failure modes of the Lam Aileron compare to those of
conventional ailerons?
A: They should be similar and would depend on the specific
installation, in some cases less consequential. For example, a Lam
Aileron may have separate actuators for the aileron panels on each
wing instead of one interconnected set. This might give twice the
probability of an aileron failure but is offset by the continued
function of the other aileron while failure of the interconnected
arrangement would disable all roll control. The Lam Aileron might
offer more options in the case of failure or damage to flight
control surfaces by means of more adaptive solutions through its
wider range of variable geometries.
Aileron for fixed wing aircraft
US6079672
Also published as: WO9930967 (A1)
US6554229 (B1) IL136779 (A) EP1042165 (A1)
EP1042165 (B1)
An aircraft aileron system unique in its construction, method of
deployment and the functional results obtained, is comprised of
two panels located at the rear portion of the wing, in a spanwise
direction and aligned with the wing's trailing edge. The panels
are independently hinged at their leading edges and rotate to make
angular deflections with respect to the wing. The upper, aileron
panel is restricted to upward deflection only from its neutral
position and in operation is deployed independently as an aileron.
The lower, auxiliary flap panel is capable of both upward and
downward deflections from its neutral position, and is deployed
independently downward as an auxiliary flap. Both panels are
deployed together upwardly only as an aileron. Alternatively, the
aileron panel may be capable only of upward deployment while the
auxiliary flap panel is capable of downward deployment only, to
provide a simpler aileron system. For roll control of an aircraft
during cruise, the aileron panel on one side only is deflected up
while the aileron panel on the other side remains in its neutral
position. The aileron system, in conjunction with flap
arrangements, offers multiple aircraft control function with
advantages over past and present systems for aircraft control.
BACKGROUND OF THE INVENTION
1. Field of the Invention
The present invention relates to aircraft flight control devices,
and more particularly to wing-mounted control devices. More
specifically, the invention relates to an improved aileron system
especially suitable for fixed-wing aircraft which provides a
flight control system having improved efficiency and versatility.
2. Related Art
Immediately obvious with the invention of the airplane was the
importance of controlling movement in flight, as an uncontrollable
airborne airplane will soon crash. Aviators soon settled on
ailerons for roll control. An aileron is a hinged panel on the
trailing edge of the wing, usually located at the outboard portion
of the wing, which, when deflected downwardly, increases the lift
of that wing, to roll or bank the airplane into a turn. At the
same time, the aileron on the other wing is deflected upwardly, to
decrease the lift on that wing and thus augment the rolling
motion. The configuration and application of the conventional
aileron system have changed little, if at all, over more than nine
decades since the first fixed-wing aircraft were produced.
One of the most objectionable features of conventional aileron
application is a phenomenon known as "adverse yaw," and virtually
all existing fixed-wing aircraft suffer disadvantageous
consequences associated with adverse yaw. When a turn is initiated
with conventional ailerons, the nose of the airplane turns first
in a direction opposite to that of the intended turn. This is
usually compensated by using rudder deflection to "coordinate" the
turn. The adverse yawing motion is a direct result of aileron
application. While producing more lift to bank the airplane into a
turn, the downwardly-deflected aileron also produces more drag,
which acts momentarily to cause the airplane's nose to turn in the
direction opposite to the intended turn. That is, when one wing is
lifted relative to the other wing by operation of a conventional
aileron to bank the airplane into a turn, it is also pulled back
away from the turn relative to the wing on the other side, causing
the nose initially to turn, or yaw, in the direction opposite to
the turn. This effect becomes increasingly detrimental as the roll
rate increases and/or airspeed decreases.
Adverse yaw produced by the conventional aileron contributes to
spin entry. Instinctive application of conventional ailerons
during attempted spin recovery merely aggravates the spin
condition. When spinning, an airplane is descending and turning in
a tight spiral flight path. The conventional aileron is not
effective in spin recovery. In a left hand spin, for instance, the
left wing is down and toward the center of the spiral.
Instinctively, many pilots are tempted to initiate right stick or
control yoke movement to roll towards the right and out of the
spin. With conventional ailerons this will deploy the left aileron
down and the right aileron up. The left aileron will create more
drag than the form drag caused by the up-going right aileron and
the spin will be further aggravated. For an airplane equipped with
conventional ailerons application of rudder alone is used for spin
recovery. Much of spin training involves conditioning pilots to
avoid the instinctive attempt to roll out of the spin.
Nonetheless, many pilots have aggravated spins by attempting such
recoveries with conventional ailerons.
Various methods and devices have been used to counter adverse yaw.
Among them are the differential aileron with its finite deflection
ratio, and the spoiler. The differential variation of conventional
ailerons is the most commonly used solution and provides some
marginal improvement, but has limitations. Use of spoilers may
obviate adverse yaw, but spoilers present their own problems.
Spoilers are so named because they spoil or effectively eliminate
lift. Ailerons deliver continuously variable changes in lift
within their operational envelopes, whereas spoilers operate in a
step-wise manner, being functionally either on or off, and thus
are difficult to modulate between full and zero effect. Roll
control is difficult to achieve with spoilers without complicated
sub-systems or augmenting devices.
Another disadvantage of conventional ailerons is that they also
require commitment of a sizable portion of the trailing edge of
the wing that could otherwise be used for beneficial high-lift
devices. Such devices allow lower approach, landing and takeoff
speeds, especially advantageous for heavy, high-speed commercial
and high-performance military aircraft.
There are several prior-art devices which, at first glance, may
appear very similar to the present invention. On closer
examination, however, none of them yields the stated results or
functional capabilities of this invention. Most of the previously
employed devices are designed and applied as drag devices, such as
ground control spoilers, drag rudders, dive brakes, or nominal
flaps.
Examples of devices known in the art which are deployed upwardly
to provide aircraft control may be found in the following U.S.
patents
______________________________________
1,504,663 Wright Aug. 12, 1924
2,136,845 Fenton Nov. 15, 1938
2,138,326 Pouit Nov. 29, 1938
2,152,974 Riviere April 4, 1939
2,158,092 Taylor May 16, 1939
2,254,304 Miller Sept. 2, 1941
2,407,401 Clauser et al. Sept. 10, 1946
2,791,385 Johnson May 7, 1957
3,120,935 Perrin Feb. 11, 1964
4,717,097 Sepstrup Jan. 5, 1988
______________
Pouit describes a flap which acts more like a present-day spoiler,
to prevent aircraft capsizing. In a variation, the flap has
separate upper and lower elements, of which the upper element is
simply hinged, and can be extended upwardly only by the upper
deflection of the lower, actuated element. The upper flap member
is not capable of movement independent of the lower member. Both
wing flaps are operated together. Perrin describes a glider
control system wherein the aileron has a secondary aileron which
can be extended up to act as a drag rudder for directional yaw
control in place of a rudder.
Fenton relates to a device which is basically a flap with small,
subsidiary flaps on the upper and lower trailing edges. The
subsidiary flaps are moved up or down through fixed, predetermined
displacement, to control aircraft roll movement, with the
deployment of the subsidiary flap on each side of the aircraft
controlled such that when the subsidiary flap on one side is up,
the corresponding subsidiary flap on the other side is down. Due
to their small size, the effectiveness of the subsidiary flaps is
doubtful.
Clauser et al. provides a lateral control arrangement having an
airfoil member pivoted near the tip of the wing which functions as
an aileron and a flap, or an "ailerflap," and a second airfoil
member, or a "slot lip," pivoted above the ailerflap. Each element
can pivot up and down about its neutral position. The slot lip
regulates the slot spacing between the wing's trailing edge and
the leading edge of the ailerflap, to alter the lift provided by
the ailerflap during takeoff and landing. During flight, lateral
control is achieved with the ailerflaps operated conventionally as
ailerons. The slot lips move in unison with the ailerflaps, and
are not capable of independent upward movement.
Johnson relates to a landing control system having a spoiler
located above a conventional flap. The downwardly extending flap
is used to augment lift, and the upwardly extending spoiler act as
a drag plate during landing approach. The flap and spoiler on both
wings are actuated simultaneously.
Miller provides a split aileron which is a combination aileron and
flap. Each wing has an aileron extending almost the full span, and
a flap pivoted beneath the aileron. The aileron functions
conventionally, and size of the flap is limited to that of the
aileron. Wright et al. describes a split flap arrangement wherein
a lower element pivots down as a flap and an upper element, which
pivots up and down, serves as an aileron. Riviere, Taylor and
Sepstrup disclose split aileron arrangements.
Other examples of control surfaces which are formed of two,
separately hinged sections and can be deployed together up and
down as conventional flaps or ailerons, and are also capable of
separating from each other to provide flap and air brake
functions, are described in U.S. Pat. Nos. 2,427,980, 2,445,833,
2,612,329 and 2,582,348.
More recently flaperons have been employed which function both as
flaps and ailerons, and offer pseudo-full-span flaps. They,
however, greatly compromise the roll function and produce even
greater adverse yaw than the conventional aileron when roll
function is needed. Spoilers attempt to achieve objectives similar
to those of the present invention, but at a great compromise in
flight characteristics. Spoilers tend to have dead bands and are
difficult to modulate. They, after all, "spoil" rather than
modulate lift. Roll control systems involving spoilers have been
used on aircraft with mixed results.
The conventional differential aileron used on most existing
aircraft lessens but does not eliminate adverse yaw. It occupies a
sizable portion of the wing's trailing edge, thus preventing the
installation of full-span flaps. With some aircraft designs, high
roll rates have been sought with the use of full-span ailerons,
thus obviating entirely the installation of flaps. Other aircraft
designs have sacrificed ailerons for full-span flaps,
necessitating the inefficient use of tail planes or wing spoilers
for roll control. No other flight control devices have the
versatility or efficiency of the present invention. The Frise
aileron also claims to lessen adverse yaw by deliberately creating
more drag on the upwardly-deflecting aileron. This device also
does not allow installation of a full-span flap.
The device closest in construction and function to the present
aileron system was invented by the inventors of the present
invention. Presented as the "Delta aileron" which was placed on
top of a one-piece full-span flap, it has some of the features of
this invention. But, it is not aerodynamically as efficient and
offers less functional capability than the present invention. For
example, it does not have an auxiliary flap and in its present
form cannot be used as a drag rudder.
SUMMARY OF THE INVENTION
The aileron system of the present invention simultaneously
eliminates all the above problems while offering desirable
features not possessed by conventional ailerons. Accordingly, an
object of the invention is to provide an aileron system which is
simple in design and construction, and more importantly, in its
unique method of deployment and the functional results obtained.
Other objects of the invention are to provide an aileron system of
the foregoing type which: eliminates adverse yaw associated with
previous aileron roll control systems; provides benefits in spin
avoidance and spin recovery; can be deployed for flight path
control, air braking and as a drag plate; results in a wing which
is cleaner, with fewer actuating mechanisms, and is
aerodynamically efficient and correct in operation; allows for the
incorporation of full-span flaps and other high-lift devices on
the trailing edge of a wing; and provides an overall aircraft
control system which is simpler in construction and requires fewer
components, is less expensive, reduces maintenance requirements,
reduces weight, and provides the aircraft with lower takeoff and
landing speed capabilities, with the advantages attendant
therewith.
The present invention is basically used for roll control of
fixed-wing aircraft around the longitudinal axis. It is a
combination of aerodynamic control surfaces which deflect upwardly
only when deployed for roll control. By operating these surfaces
judiciously and in conjunction with their counterparts on the
other wing, and the flap systems, many favorable results may be
obtained for the control of aircraft.
The aileron system of the present invention is similar in shape
and external appearance to the conventional aileron, but its
construction and deployment are entirely different. It is
comprised of two panels located at the rear portion of the wing,
in a spanwise direction and aligned with the wing's trailing edge.
The panels may be independently hinged at their leading edges or
may be hinged on a common axis and rotate to make angular
deflections with respect to the wing. The upper or aileron panel
is deflected upwardly only from the neutral position, while the
lower, auxiliary flap is capable of both upward and downward
deflections from the neutral position. The upper panel is deployed
independently as an aileron and the lower panel is deployed
independently as an auxiliary flap. Both panels are deployed
together upwardly only as an aileron.
For roll control of an aircraft during cruise, the aileron panel
on one side only is deflected up while the aileron panel on the
other side remains in its neutral position. The auxiliary flap
panel is arranged to move with the aileron panel as a unit, such
that the two surfaces form an "aileron" in the usual sense. To
roll left, for example, the aileron of the present invention on
the left wing is deflected up, while the aileron on the right wing
remains in the neutral position. The upwardly-deflected left
aileron results in a negative change in the wing's lift
coefficient, decreasing the lift on the left wing relative to that
of the right wing, and producing a roll to the left. Effectively
joining the upper and lower panels to move as a unit preserves the
smooth contour of the airfoil. In the deflected mode it is the
equivalent of an airfoil with a reflex camber. Aerodynamically
this is a much more efficient "aileron" than that achieved by
deflecting only the upper panel upwardly.
During flap deployment, the lower auxiliary flap panel is
disengaged from the upper aileron panel, and operated to move with
the main wing flaps to form a full-span flap. The upper aileron
panel is then moved independently to provide roll control. Only
the auxiliary flap panel is arranged to move in conjunction with
the aileron in the roll control mode. The panel used as a
dedicated flap is unaffected. For use on small, general aviation
aircraft, a simpler version of the aileron system may be utilized
to facilitate construction and minimize weight. The auxiliary flap
panel may be left to function completely independently of the
aileron panel. Its stowed position would be the neutral position,
and it would move downwards only as a flap. The auxiliary flap
panel would not accompany the aileron panel in its upward
excursions.
The aileron system of the present invention is placed at the
trailing edge of the wing in much the same location as a
conventional aileron. However, the inventive aileron is deflected
upwardly only. As with other ailerons, deflection results
effectively in a change of the airfoil's camber and thus a change
in the lift coefficient, CL. In the case of the present invention,
the upward deflection of the aileron results in a negative change
in CL. The wing deploying the present aileron then produces less
lift than the other wing with its inventive aileron maintained in
the neutral position. Thus, the wing drops and the aircraft is
rolled toward the lowered wing into a turn. The upwardly-deflected
inventive aileron protrudes into the stream of air flowing over
the wing, creating form drag, to rotate the nose of the aircraft
toward the turn. Unlike activation of conventional ailerons, this
action produces favorable yaw.
The present invention's functional property of favorable yaw aids
in both spin avoidance and spin recovery. For an airplane using
the present aileron system, the same stick movement used by a
pilot to roll right and out of the left hand spin described above,
results in only the right aileron going up and on the outside of
the spiral. The outward yawing motion plus the outside wing being
depressed will roll the airplane away from the spiral center and
aid in recovering from the spin. This will augment the opposite
rudder input usually used for spin recovery. The form drag
associated with the present invention also aids in spin recovery.
Depending on the installation, this effect may be accentuated by
the simultaneous deployment of the auxiliary flap panel with the
aileron panel, creating a drag rudder on one wing, in this example
the right wing.
Favorable yaw also ameliorates the difficulties associated with
asymmetric loss of power during flight in multi-engine aircraft.
The minimum controllable airspeed, Vmca, will decrease with use of
the present invention, as will the required rudder authority and
size, while aircraft performance will increase.
Since it deflects upwardly only, the aileron system of the present
invention frees up the entire wing's trailing edge for
installation of high lift or drag devices to lower approach,
landing and takeoff speeds. With lower approach and landing
speeds, aircraft, particularly heavy commercial or high
performance military aircraft, may gain access to shorter runways.
Carrier-borne aircraft may have slower, safer approaches. These
aircraft will have lower requirements for ground braking and the
maintenance of such systems. Additionally, the invention may be
deployed symmetrically on both wings for flight path control, or
symmetrically in concert with flaps to function as air brakes or
drag rudders.
The present invention is a simple system. It results in aircraft
control systems and overall operations that are safer, more
efficient and aerodynamically correct, simpler and more economical
to produce and maintain. It lends itself to systems of lighter
weight, with the weight savings being traded for increased fuel,
cargo or passenger capacity, or simply a lighter-weight aircraft.
Other objects and features and additional advantages of the
invention will be apparent from the foregoing and the following
description and discussion, in conjunction with the accompanying
drawings.
BRIEF DESCRIPTION OF THE DRAWINGS
FIGS. 1A-1C each shows an airfoil section with the aileron
system of the present invention, in different operational modes.
FIG. 1D shows an airfoil section with an alternate
embodiment of the aileron system of the present invention.
FIGS. 1E-1G show different operational modes of the
embodiment of FIG. 1D.
FIG. 2 is a perspective view of a general aviation type
aircraft with wings incorporating the aileron system of the
present invention, executing a banking turn to the left.
FIGS. 2A and 2B each is a cross section of the wing,
along view lines 2A--2A and 2B--2B, respectively, in FIG. 2,
showing the position of the aileron during the turn.
FIG. 3 is a perspective view of a wing showing the main and
aileron auxiliary flaps deployed to form a full-span flap and
the upper aileron panel of the present invention in the neutral
position.
FIGS. 3A is a cross section of the wing along view line
3A--3A in FIG. 3.
FIG. 4 is a perspective view of a wing showing the main
flaps in their neutral positions and the aileron system of the
present invention deflected up for flight path control.
FIGS. 4A is a cross section of the wing along view
line 4A--4A in FIG. 4.
FIG. 4B is a view similar to FIG. 4, but showing the
auxiliary flaps of the aileron system in their neutral
positions.
FIG. 4C is a cross section along view line 4C--4C in FIG.
4B.
FIG. 5 is a perspective view showing a wing with full-span
flaps deployed and the upper aileron panels of the present
invention deflected up simultaneously for air braking.
FIG. 5A is a cross section of the wing along view line
5A--5A in FIG. 5.
FIG. 5B is a view similar to FIG. 5 showing the aileron
system of the present invention deployed as a drag rudder.
FIGS. 5C-5D are cross sections along view lines 5C--5C and
5D--5D, respectively, in FIG. 5B.
FIG. 6 is a schematic showing an embodiment of a system for
operating the aileron system of the present invention.
FIG. 6A shows, to a larger scale, parts of the
operating system illustrated in FIG. 6.
FIGS. 7A-7C each shows a cross section of the wing along
view line 7--7 in FIG. 6, schematically illustrating different
deployment modes of the aileron system of the present invention.
FIG. 8 is a plan view of a typical commercial jet aircraft
wing with various flaps and aileron arrangements.
FIG. 9 is a wing cross section along view line 9--9 in
FIG. 8, with an embodiment of the present invention
incorporating a two-sectioned Fowler flap in the stowed
position.
FIG. 10 shows a portion of the operating sub-system for the
Fowler flap shown in FIG. 9.
FIGS. 11A-11C each is a view of the wing shown in FIG.
9, depicting the control surfaces in different stages of
operation.
FIG. 12 shows schematically an embodiment of the present
invention with a single-section Fowler flap.
FIG. 13 shows schematically an embodiment of the
present invention with a split flap.
FIG. 14 is a plan view of the present aileron system for a
swept wing aircraft, schematically illustrating some components
of the operating mechanism.
FIG. 15 shows, to a larger scale, additional details of the
operating mechanism illustrated in FIG. 14.
FIG. 16 is a view along view line 16--16 in FIG. 15.
DETAILED DESCRIPTION OF THE PREFERRED EMBODIMENTS
FIGS. 1A, 1B and 1C each shows a cross section, or an airfoil
section, of a wing W incorporating the improved aileron system 10
of the present invention, illustrating different stages in the
deployment of the system. The aileron system is shown to include
an upper, aileron panel 12 and an auxiliary flap panel 14 stowed
underneath the aileron panel. Both the aileron panel 12 and the
auxiliary flap panel 14 are separately hinged to the wing's rear
spar 16 or other hard points, and can be operated independently,
but can also be made to operate in unison for certain functions
when they are engaged. In FIG. 1A, both panels are shown in their
respective neutral or retracted positions, in which they form
smooth continuations of the respective upper and lower surfaces of
the wing W. With the aileron panel 12 deflected upwardly, as shown
in FIG. 1B, the auxiliary flap panel 14 also is made to deflect
upwardly to form an aerodynamically efficient "aileron" in the
usual sense. With the auxiliary flap panel 14 deployed downwardly,
as shown in FIG. 1C, the aileron panel 12 can remain in the
neutral position (shown in solid lines) or be deflected up only,
as indicated by the broken line 17.
Instead of separately hinging the auxiliary flap panel and the
aileron panel, these panels may be hinged to rotate about a common
axis, as shown in FIG. 1D. In this configuration as well, the
aileron panel 12 can be deflected upwardly (FIGS. 1E and 1G), but
is not deflected downwardly beyond its neutral position (FIG. 1F),
whereas the auxiliary flap panel 14 can be deflected upwardly in
unison with the aileron panel and down independent of the aileron
panel.
For small, general aviation aircraft, a simplified version of the
aileron system illustrated in FIGS. 1A-1C may be utilized to
facilitate construction and minimize weight. The auxiliary flap
panel may be left completely independent of the aileron panel. Its
retracted or stowed position would be the neutral position, as
shown by the auxiliary flap panel in FIG. 1A, and it would move
downwards only as a flap, such as shown by the auxiliary flap
panel in FIG. 1C. However, the auxiliary flap panel would not move
with the aileron in its upward excursions.
In the following description, the term "aileron" will refer to
both the aileron panel and the auxiliary flap panel when they are
operated to move as a unit. The term "aileron panel" will refer to
the upper panel when it functions as an upwardly-movable only
aileron, independently of the auxiliary flap panel. Similarly, the
term "auxiliary flap panel" will refer to the lower panel when it
functions as a flap, independently of the aileron panel.
In FIG. 2, a general aviation type aircraft 18 is depicted making
a left banking turn by rotating about the aircraft's longitudinal
axis L. In this maneuver, the aileron on the left wing or left
aileron 20 is deflected up while the right aileron 22 remains in
its neutral position, as shown respectively by the wing cross
section depicted in FIGS. 2A and 2B. The angular deflection
required for a banked turn is comparable to that of a conventional
aileron. The rate of roll can be modulated by varying the
deflection angle. This illustrates the basic roll control function
of the present invention in which no adverse yaw or rotation about
the vertical axis Y is produced. On the contrary, favorable yaw
results. With conventional ailerons, this same maneuver would be
achieved by simultaneously deflecting the left aileron up and the
right aileron down, resulting in the adverse yaw discuss above. In
the present invention, the aileron panel is not deflected
downwardly beyond its neutral position.
Each of the ailerons 20 and 22 can be modulated independently to
deflect to any degree in order to provide the roll rate desired,
or be deflected simultaneously for flight path control or air
brakes, including the extreme case of maximum upward deflection of
both for ground control, for landing roll- out. Wing panels
conventionally deployed for the latter mode are usually referred
to as ground control spoilers. The inventors consider "spoiler", a
term which originated in the glider or sail plane community, a
misnomer for panels used in this mode as brakes. A spoiler is an
aerodynamic obstruction positioned on top of the wing,
perpendicular to the air stream, at approximately the mid-point of
the wing chord. When deployed, a spoiler creates highly turbulent
flow over the top of the wing and actually destroys, or "spoils"
the wing's lift, thus the name spoiler. When the lift is spoiled,
the weight of the wing exceeds the lift supporting it and causes
the wing to drop.
The ground control "spoiler" is an aerodynamic drag device
primarily. It does create turbulence, mostly behind the wing. This
drag panel acts effectively as a flap mounted and deployed on the
upper surface of the wing, and instead of creating lift as a
conventional flap on the wing's bottom, this panel behaves as a
negative flap creating a downward force, or negative lift, which
is beneficial in applying more force on the aircraft's landing
gear to permit harder wheel braking. This is done best when the
lower, auxiliary flap panel is retracted once the airplane is on
the ground. If the upper drag panel and the lower flap panel are
deployed at the same time the forces tend to negate each other.
Under this circumstance the drag force of both panels are still in
effect and become an air brake. It can become a drag rudder if
only one wing's control surfaces are deployed in this manner.
The present aileron system can be used for different modes of the
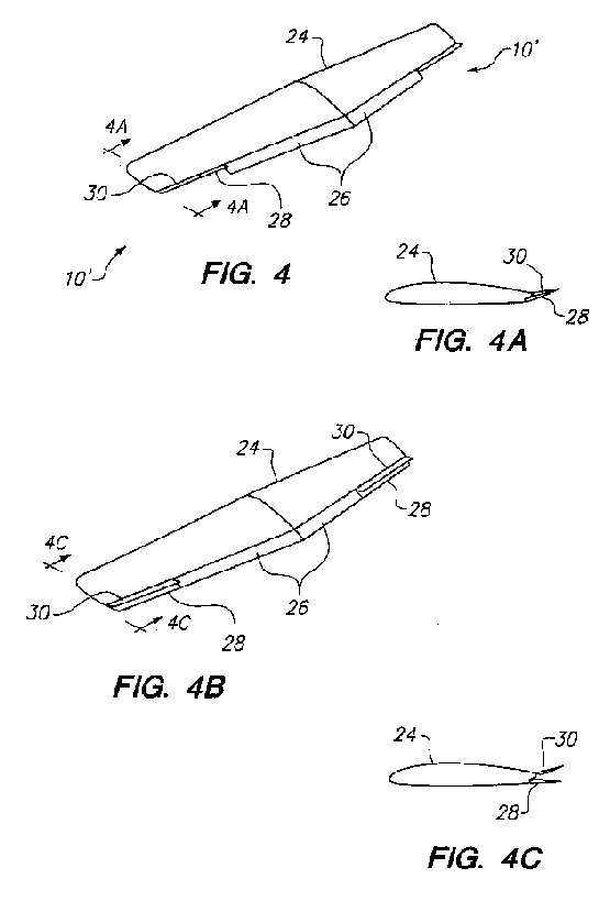
flight regime. FIG. 3 shows a general aviation type wing 24, such
as the wing shown in FIG. 2, with full-span flaps formed by the
main flap 26 and the auxiliary flap 28 deployed together. Both the
main flap 26 and the auxiliary flap 28 are shown in FIG. 3 at
maximum deflection. In this mode the aileron panels 30 can remain
stowed in the neutral position (FIG. 3A) or each can be deflected
up individually for roll control. The ailerons 10' can be
deflected upwards on both sides simultaneously to provide
modulated flight path control when the main flaps 26 are
retracted, as shown in FIGS. 4 and 4A. The auxiliary flap panel 28
moves upwardly with the aileron panel 30 in this case. An
alternate method is to deflect upwards only the aileron panels 30,
with the auxiliary flap panels remaining in their neutral
positions, as shown in FIGS. 4B and 4C.
FIG. 5 depicts the control surfaces of the aileron system 10'
deployed in the air brake mode. Actually, the air brake can be
deployed in two ways. The first method is in conjunction with the
full-span flaps, e.g., in preparation for landing, as shown in
FIG. 5. When further reduction of airspeed is required, the
aileron panels 30 can be deflected up simultaneously and
symmetrically on both wings to form the air brake. The aileron
panels continue to provide roll control by the superimposition of
individual and independent further upward deflection. The second
method is during level, or cruise, flight when a decrease in
airspeed is desired. Both aileron panels 30 can be deflected up
and both auxiliary flaps 28 deflected down to form an air brake.
Note FIGS. 5 and 5A. A variation of the second method can be
attained by deploying the aileron panel 30 and the auxiliary flap
panel 28 together on one wing only, with the corresponding control
surfaces on the other wing remaining retracted or in their
respective neutral position, to form a drag rudder as shown in
FIGS. 5B, 5C and 5D. The drag rudder, as the name implies,
performs the same function as the tail rudder, by dragging, or
yawing one wing to the direction desired.
FIG. 6 schematically depicts a general aviation type wing 24 with
an example of an operating system to implement control of the
ailerons. A cable or tubing linkage 32 is connected between a
control stick 34 and a cam/pulley arrangement 36 coupled to a push
rod linkage 38 to actuate the aileron 10'. As shown in FIGS. 6 and
6A, the auxiliary flap panel 28 can be actuated by a cockpit lever
40 connected by another cable or tube linkage 42 to transfer bell
cranks 44 and 46 (shown in schematic form), which in turn actuate
linkage 50 to move the auxiliary flap 28 up or down on command
from the pilot. The push rod 48 is biased by a spring 49. Other
mechanisms may perform the same functions by transducing the
pilots actions through any means of control input, such as
conventional stick or yoke movement, or pressure sensing device,
or even neural impulse or electro-encephalographic interpretation,
with physical implementation by any electrical, mechanical,
hydraulic or other motive force.
Operation of the controls can be seen by referring to FIGS. 6, 6A
and 7A-7C. The aileron panel 30 and the auxiliary flap panel 28
are shown in their respective neutral position in FIG. 7A, and
FIG. 7B shows the aileron 10' deflected up. With the auxiliary
flap panel 28 not deployed in the flap mode, the auxiliary flap's
control cable 42 is allowed to unload, and push rod 48 will engage
transfer bell crank 46 to move a second push rod 50, which in turn
moves the auxiliary flap panel up in concert with the aileron
panel 30. In FIG. 7C, the aileron panel 30 is in the neutral
position and the auxiliary flap panel 28 is deflected down. When
the auxiliary flap lever 40 is actuated in the cockpit via the
cable 42, tension will rotate transfer bell crank 44, to move push
rod 48 sideways to disengage from transfer bell crank 46. Note
that the auxiliary flap lever and the main flap lever can be
combined. With the auxiliary flap panel 28 disengaged, the aileron
panel 30 is free for independent deployment up, modulated for
aileron roll function up to a position indicated by line 52 or
modulated flight path control up to maximum deflection indicated
at 53 for ground control drag panel functions.
Cable or tubing arrangements comprise very simple control systems
commonly found on small, light aircraft. They are by no means the
only systems capable of performing the functions described, and
are chosen only as examples. The controls can be actuated by any
means capable of transducing a pilot's actions, including but not
limited to conventional stick or control yoke and rudder, flight
directors or other automated or computerized pilots, fly-by-wire
or even voice command or neural impulse. Control actuation may be
implemented via cables, tubings, pushrods, or electric servo
motors, electromagnetic actuators, hydraulic cylinders, pneumatic
systems, or any method of transferring force to cause mechanical
movement of the aileron and flaps.
For high performance aircraft, particularly heavy commercial or
military aircraft, the number of possible configurations of the
ailerons and flaps may be very large. Such complex configurations
and deployment schedules might be best managed by pilot control
commands implemented through a computer.
A plan view of a commercial jet aircraft wing 54 is shown in FIG.
8, with leading edge Krueger flaps 56, 57, 58, and 59. The inboard
aileron 60 and the outboard aileron 62 line the wing's trailing
edge. The broken lines indicate the extended position of a
two-section Fowler flap 64 and 66 which form the auxiliary flap
panel for the ailerons 60 and 62, respectively, and the extended
position of the main Fowler flap 68. The full-span flap system can
be comprised entirely of two-section Fowler flaps. That is, the
lower auxiliary flap panel can be a Fowler flap. The aileron panel
may extend from section 62 to section 60, with the aileron panel
of the inboard section 60 being deployed as a flight path control
and ground control drag panel only. In this application the
auxiliary flap panel need not follow the aileron panel's upward
movement, since in this particular application its function is to
create drag. Any combination of flap types can be used for the
main and the lower auxiliary flap panel of the aileron system as
desired to suit the engineering, production, or performance
objectives of individual applications.
FIG. 9 shows in schematic form an embodiment of the aileron system
62 in which the lower auxiliary flap 66 is a two-section Fowler
flap having sections 70 and 71. The broken lines indicate the
upward deployed position of the aileron 62. An example of a
suitable guide for the auxiliary flap panel 66 comprised of the
Fowler flap is shown in FIG. 10, wherein a track 72 guides the
deployment of the two-section Fowler flap. Track 72 is disposed in
a fairing located on the wing, at the ends of the flaps, such as
fairings 74 visible in FIG. 8. These Fowler flap sections are
shown in the stowed positions as 70 and 71 and in the maximum
extended positions as 70' and 71'. The larger of the Fowler flap
sections 70 rides on a shuttle 76, shown in FIG. 11A, which is
guided along the track 72. Flap deployment is accomplished by
electrically-driven screw jacks 78, which are attached to the
shuttle 76. Rotation of the screw effects a rearward push on the
screw jack 78 to extend the larger of the Fowler flap sections 70,
which in turn pulls out the smaller section of the Fowler flap 71
via a connecting linkage 80 (FIG. 10.) A hydraulic cylinder 82
actuates the auxiliary flap, which is the larger of the two Fowler
flap sections, through a transfer bar lever 83.
The aileron system is shown in the up deflected position in FIG.
11B. The auxiliary flap 70 is hinged at the front end to the
shuttle 76, and the rear part of the flap is lifted away from the
shuttle. When the auxiliary flap 70 is in the fully retracted
position (FIG. 11A) it is automatically released mechanically from
the shuttle 76. When the auxiliary flap is ready for extension,
electric microswitches (not shown) will signal the screw jack
motor circuits (not shown) that the auxiliary flap is stowed in
its neutral position. At that time the screw jack motor will begin
operating. A mechanical device on the shuttle will automatically
lock the flap to the shuttle and begin its deployment along the
track. The broken lines 84 and 85 indicate the aileron panel and
the auxiliary flap panel are in one of the air brake mode
positions.
The fully deployed auxiliary Fowler flap is illustrated in FIG.
11C, which depicts the relationship between the two sections of
the Fowler flaps. The aileron panel 62 can be operated
independently in this situation, from its stowed neutral position
(solid lines) to an intermediate upward deflection (phantom lines)
and further to a maximally deflected position indicated by the
line 84.
A schematic drawing is presented in FIG. 12, to illustrate an
alternate form of flap that may be utilized with the aileron
system 62. In this embodiment a single-section Fowler flap 86 is
shown. Phantom lines show the deployed position of the auxiliary
panel (Fowler flap) 86 and the aileron panel 62. The broken line
84 indicates the position of the aileron panel 62 in its
functional mode as a ground control drag panel. The single-section
Fowler flap is less complicated, and requires a smaller track and
other deployment mechanisms which can be contained in a smaller,
more streamlined fairing. This results in a lighter structure,
etc.
In FIG. 13, a simple split flap arrangement is shown. The features
of the present invention are still preserved. As above, this is a
simpler construction but with a trade-off in efficiency and
performance.
FIG. 14 is a schematic plan view showing the aileron system of the
invention 70 installed on a swept-wing jet aircraft. The operating
devices used to control the aileron system are similar to those
described with respect to FIGS. 10 and 11A-11C. The auxiliary flap
70 is retracted beneath the aileron (not shown), and each end of
the flap is supported by a shuttle 76, which in turn rides on a
track 72 guided by rollers 88. Hydraulic cylinders 81 and 82
actuate the movements of the aileron panel and the auxiliary flap
panel separately. The extension and retraction of the shuttles are
effected by a pair of electromechanical screw jacks 78. Additional
details of the shuttle 76 are shown in FIGS. 15 and 16. Two
rollers 88 guide the shuttle 76 on the track 72. The leading edge
of the flap 70 is pivotally supported on the shuttle 76 by a hinge
90. Toward the rear of the flap, at about 1/3 of the flap chord, a
locking mechanism is provided which includes a bolt 92 passing
through a strong point bracket 94 attached to the flap structure,
a spar, or some equivalent structure. A lever bar 98, hinged at 99
to the shuttle, can rotate back and forth (arrow A) to actuate the
locking bolt 92 via a linkage 100. The lever bar 98 is attached to
a screw jack 78, and a detent block 102 attached on a lever 104
with a roller tip 105, can rotate with an up and down motion,
indicated by the arrow B. The roller tip 105 rides on a roller
guide (not shown) which governs its movement to release the detent
block 102 at the appropriate location.
The sequence of auxiliary flap extension begins with the screw
jack 78 being rotated to push back on the lever bar 98, which in
turn pushes the linkage 100 to lock the bolt 92 onto the bracket
94. Further movement causes the shuttle 76 to move and extend the
auxiliary flap 70, such as depicted in FIGS. 11C and 12. At the
same time the roller-tipped lever 104 is guided to rotate
upwardly, to place the detent block 102 between the lever bar 98
and a shuttle step 106. The lever bar 98 is then locked and
prevented from rotating. The retraction sequence is the reverse of
the above extension sequence. When the lower auxiliary flap panel
70 is fully retracted, the roller guide will rotate the
roller-tipped lever 104 downward, to extract the detent block 102.
The lever bar 98 then can rotate forward to extract the bolt 92.
The lower auxiliary flap panel 70 then is unlocked from the
shuttle 76, but hinged at the forward end and is free to rotate
around this hinge point 90.
The operation of the aileron system, in conjunction with an
aircraft's conventional flap system to provide aircraft control
can be better understood from the following description of its
operation through a hypothetical flight of an aircraft from
takeoff to landing, for example, a large commercial jet aircraft.
Typically, the pilot would select flap deployment for takeoff.
Here, both the main flap and the auxiliary flap panel beneath the
aileron panel would be deflected downward from their stowed,
neutral positions. During and after the takeoff the upwardly
deflecting aileron panel would be deployed to maintain full and
independent roll control authority.
After gaining altitude and speed, the pilot would retract the
flaps, with the auxiliary flap panel then moving to its stowed
position where it effectively becomes one with the aileron panel
to form an aerodynamically efficient "aileron." This integrated
aileron will maintain roll control during cruise flight with a
drag efficient aileron. To roll the aircraft to the left, for
example, the pilot would raise the left aileron. The right aileron
would remain in its neutral position. No adverse yaw would be
experienced during this deployment, and the rolling motion would
be modulated continuously by pilot control input.
For descent, the pilot might reduce power. With this invention,
however, the power settings could be left unaltered, or the
descent rate augmented with the flight path control mode of the
aileron system by raising the ailerons of both wings
symmetrically. The aircraft could descend in this fashion with
wings level, the degree of augmentation of the sink rate
continuously modulated by the simultaneous deflection of the
ailerons. Full roll control authority would be maintained by
superimposing differential aileron deflection. During this
maneuver the aircraft sinks or descends but remains in a level
attitude or nearly so, the cabin floor likewise, a quality
appreciated by flight attendants and passengers. Airspeed could
remain constant during descent even with throttle settings little
changed from cruise. On retraction of the ailerons, the aircraft
would stop its descent and resume its previous level flight path
and airspeed. Steeper descent rates could be obtained by
symmetrical deployment of the drag rudders, that is, the aileron
and auxiliary flap panels together, on both wings as air brakes.
These air brakes with their outboard location on the wing would
not be limited in deployment, as are many conventional speed
brakes with their inboard location, by turbulent air flow created
for the tailplane to fly through.
During approach to landing, the auxiliary and main flaps would be
deployed independently for small changes in wing camber, leading
to deployment of both the main and auxiliary flaps together to
produce full-span flaps for increased lift and/or drag at low
speeds. Flap deployment may be combined here with symmetrical
deployment of the aileron panels as in the above-described flight
path control mode to provide an air braking function. Again,
superimposing differential aileron deployment would provide roll
control.
On touchdown, the pilot would retract all flaps and raise the drag
panels and the aileron panels as additional drag panels. This
action would place additional weight on the wheels for better
ground contact that would allow harder wheel braking and at the
same time exert pressure (as a function of speed) to hold the
aircraft on to the ground.
The invention also offers advantages in dealing with asymmetric
thrust conditions or power loss, a scenario that drives much of
multi-engine aircraft design and certification requirements. With
asymmetric engine power output, the aileron of this invention or
the drag rudder function would provide directional control
superior to that of current systems, with less compromise in
aircraft performance and decreased need for rudder size and
control authority. Asymmetric thrust, which occurs for example
when there is greater power output by the engine or engines on the
right side of an aircraft, or there is less power output by the
engine or engines on the left side, will cause a yawing and
turning motion of the aircraft to the left, towards the side with
less power. This is usually considered an emergent situation. This
yawing motion typically is counteracted with rudder input. The
combination of asymmetric thrust and compensatory rudder input
will allow the aircraft to hold a linear course, but the aircraft
now also will be sideslipping, or have a sideways component to its
motion. This sideslip induces a large amount of drag and may cause
severe decrease in aircraft performance at a time of greatly
reduced power and aerodynamic control authority. This is
counteracted by banking or rolling the wings toward the side with
more power. With conventional aileron control systems this will,
as with normal flight situations, induce adverse yaw which will
require even greater rudder deflection, with the demands on the
rudder now including compensation for both the asymmetric power
condition as well as the adverse yaw induced by banking the
aircraft to eliminate sideslip.
An aircraft with conventional empennage equipped instead with the
present invention would still require rudder input to counteract
yaw generated by the asymmetric thrust condition. But banking
toward the side of greater thrust to compensate for sideslip would
generate favorable yaw, aiding the rudder rather than demanding
even more rudder input. The rudder then could be of smaller size,
generating less aerodynamic drag in all flight conditions,
weighing less. and costing less to produce and to maintain.
Deployment of both the present invention and the rudder under
these circumstances would induce less drag than conventional
control surfaces, yielding greater aircraft performance under
these worrisome conditions.
Disclosed herein is a unique aileron system in conjunction with
flap arrangements which offer multiple function with advantages
over past and present systems for aircraft control. Among its many
advantages, the present invention eliminates adverse yaw
associated with previous systems of aileron roll control. Spin
entry involves the creation of adverse yaw, usually at low flight
speeds. The invention allows airplanes to maneuver well-controlled
at lower speeds and provides favorable rather than adverse yaw,
decreasing the likelihood of spin entry, improving safety. The
present invention operates on the wing's upper surface only. The
entire trailing edge is made available for high lift devices, e.g.
flaps and other functionaries that deflect or move downwards. Any
sort of high lift or drag device that requires varying the wing
trailing edge downwards can be implemented with use of the
invention. Full-span ailerons may be installed for higher roll
rates desired for acrobatic or other aircraft demanding high
maneuverability.
The present aileron system can be employed to deploy
simultaneously on both wings for flight path control. No rolling
motion is caused by symmetrical deployment. The equal deployment
results in an equal decrement of lift on both wings and a
descending flight path with small changes in pitch attitude and
power settings. This effect, as all others with the invention, can
be modulated continuously in contrast to that of many conventional
air or speed brakes. In this mode, control of the individual
ailerons provides roll control.
When the aileron system is used in concert with flaps, air braking
results. Asymmetric deployment results in "drag rudders" and
selective left or right yaw. With large deflection angles the
aileron system may be used as a "drag plate", useful, for example,
for braking on landing roll-out.
The invention offers many favorable economies. It is simple in
design and construction. No new technologies are necessary for
production. It allows for full-span flaps, among other trailing
edge devices. A typical commercial airliner could replace its dual
conventional ailerons, multiple spoilers, complicated flap systems
and all their attendant actuating systems with simply one aileron
system of the present invention and one flap on each wing.
Construction would be simpler and less expensive. Maintenance
would involve fewer systems with fewer opportunities for
malfunction. The wing would be cleaner, fitted with fewer of the
multiple protruding pods now present for actuating systems, and
more aerodynamically efficient and correct in operation. The
weight saved could be traded for additional fuel, improving range,
or additional cargo or passengers, or simply result in a lighter
airplane with better performance. Lower takeoff and landing speeds
impose less stress on landing gear systems, as well as pilots, and
allow aircraft to use smaller airfields. Utility, is increased and
safety enhanced.
Implementation of the invention control system does not result in
any compromise or negative trade-off in any aspect of aircraft
performance. Neither is it more expensive to engineer or produce.
To the contrary it results in performance increases and economies
in production and operation under every consideration.
Although not specifically described herein or illustrated in the
drawings, it is understood that all of the elements described
above are arranged and supported in an operative fashion to form a
complete, operative system. Such complementary structure is known
and would be provided by a person skilled in the art. Numerous
modifications and variations of the present invention are possible
in light of the above disclosure. It is therefore to be understood
that within the scope of the invention defined in the appended
claims the invention may be practiced otherwise than as
specifically described herein.
WO2012068136
MECHANICAL CONTROL MIXER AND METHOD THEREFOR
Inventor: LAM LAWRENCE // LAM MICHAEL
A mechanical control mixer configured to couple to an aircraft is
provided. An axle is mounted to a frame of the mechanical control
mixer, and a barrel is configured to rotate about the axle. A
central rod is disposed within the barrel. The central rod is
configured to rotate with respect to the barrel. A roll control
input is connected to the central rod. The roll control input is
configured to cause the central rod to rotate within the barrel.
Output control rods are connected to the central rod. The output
control rods are connected to at least one control surface of the
aircraft. An air brake input is connected to the barrel. The air
brake input is configured to cause the barrel to rotate about the
axle to move at least one of the output control rods
WO2011156347
FLAP PANEL SHUTTLE SYSTEM AND METHOD THEREFOR
An aircraft control system is presented. The system includes a
wing including a flap track, and a shuttle connected to the flap
track and configured to slide along a length of the flap track.
The system includes a flap panel pivotally attached to the shuttle
at a flap pivot. The flap panel is configured to rotate about the
flap pivot. When the shuttle is deployed along a length of the
flap track, the shuttle is configured to prevent rotation of the
flap panel about the flap pivot, and when the shuttle is withdrawn
into a stowed position, the shuttle is configured to allow the
flap panel to rotate about the flap pivot.