
rexresearch.com
Amy LANG
Sharkskin Drag Reduction
http://abcnews.go.com/Technology/story?id=6209299&page=1
Nov. 10, 2008
Why a Speeding Shark is Like a Golf
Ball
by David Robson
Shortfin mako sharks can shoot through the ocean at up to 50 miles
per hour (80 kilometres an hour). Now a trick that helps them to
reach such speeds has been discovered – the sharks can raise their
scales to create tiny wells across the surface of their skin,
reducing drag like the dimples on a golf ball.
The minute scales – just 200 micrometers long – are made from
tough enamel, such as that found on teeth, giving the skin a rough
texture like sandpaper. Lying flat, they had previously been found
to reduce drag as the shark swims.
Some reports had also suggested that sharks can bristle their
scales, causing them to stand up on end, so Amy Lang from the
University of Alabama in Tuscaloosa and colleagues decided to
investigate whether this too could help sharks travel at high
speeds.
The team created artificial shark skin with a 16 x 24 array of
synthetic scales, each 2 centimetres in length and angled at 90°
to the surface of the "skin".
They then placed the arrangement in a stream of water travelling
at a steady 20 centimetres per second. The water contained
silver-coated nanospheres, which a laser illuminated to reveal the
nature of the flow around the scales.
Golf-ball effect
The experiments revealed that tiny vortices or whirlpools formed
within the cavities between the scales. These vortices form a kind
of "buffer layer" between the skin's surface and the fast moving
fluid, preventing a turbulent wake from forming behind the shark.
Since a wake has a lower pressure than the rest of the fluid, it
exerts a backwards pull on an object, decreasing its speed and
making it harder to change direction.
Eliminating this wake decreases the overall drag on the shark,
allowing it to travel faster and move more easily without the
thick, syrupy feeling humans get as they try to move through
water.
"It's like the difference between pushing a box over ball bearings
instead of dragging it along the floor," says Lang. The same
principle explains the dimples on golf balls, which also create
mini vortices to reduce drag in this way, she says.
Ultimately, the team hope further investigations could be used to
design torpedoes, underwater vehicles, and even aircraft inspired
by shark skin that can move more quickly through water and change
direction more easily.
Sergei Chernyshenko, an aeronautical engineer from Imperial
College London, UK, describes the research as fascinating.
However, he points out that while the team have shown the
existence of vortices, they haven't yet quantified the extent of
the effect on the shark's drag, which he thinks could be minimal.
PASSIVE DRAG MODIFICATION SYSTEM
US2015017385
The present invention is directed to a micro-array surface that
provides for drag reduction. An aerodynamic or hydrodynamic wall
surface that is configured to modify a fluid boundary layer on the
surface is provided. The wall surface has a plurality of cavities
defined therein the surface. In various examples, the interaction
of the cavities with a flow of fluid relative to the wall surface
is configured to form a plurality of stable, embedded cavity
vortices such that a partial slip condition is produced over the
wall surface.
FIELD OF THE INVENTION
[0002] An improved apparatus for reducing or enhancing the skin
friction drag of an aerodynamic or hydrodynamic surface, and in
particular to an improved micro-array surface design for reducing
or enhancing the skin friction drag coefficient and/or heat
transfer rate of aerodynamic or hydrodynamic surfaces.
BACKGROUND
[0003] It has previously been assumed that the scales covering
butterfly wings provide an aerodynamic advantage, but how the
scales function and allow flight through the air with less effort
was unknown. Butterflies (family Lepidoptera meaning scaled wings)
have been studied for the unique aspects of their scales,
especially in terms of their bio-inspired optical properties. In
1967, Nachtigal attempted to determine the lift and drag on dead
specimens under gliding conditions in a wind tunnel experiment.
His results indicated increased lift with the presence of the
scales. Later research in the early 1990's began to look at low
Reynolds number experiments and simulations to study the vortex
formation within a triangular cavity modeled after the
shingle-like pattern observed on butterfly scales. This research
documented vortex formation at various Reynolds numbers but failed
to adequately resolve any aerodynamic function of the scales.
There is also a large body of work that has studied butterflies
and/or moths in flight as well as leading edge vortex formation in
general for insect flight, but none of these studies considered
the aerodynamic effect of butterfly scales.
SUMMARY
[0004] Embodiments of this invention provide a surface of an
object that is configured to provide for either drag reduction or
enhancement, with the latter being beneficial in applications
where increased turbulent mixing is desired such as in heat
transfer applications. In one aspect, an aerodynamic or
hydrodynamic wall surface that is configured to modify a fluid
boundary layer on the surface comprises at least one array of
roughness elements disposed on and extending therefrom the
surface. In one example, the interaction of the roughness elements
with a boundary layer of fluid can act to reduce the skin friction
drag coefficient of the surface over an identical smooth surface
without the roughness elements.
[0005] In a second embodiment, a method for a reduction in skin
friction drag comprises a plurality of three-dimensional cavities.
In one aspect, an array of stable, embedded cavity vortices within
a micro-roughness surface geometry can be formed that produces a
three-dimensionally patterned partial slip condition over the
surface. This complex boundary condition passively forces the
boundary layer flow and results in sub-laminar skin friction. In
another aspect, the formed boundary condition can act to delay
transition to turbulence within the boundary layer. Features of
the transition process from a laminar to a turbulent boundary
layer can occur in small scale flow structures close to the wall.
These structures can be altered by the presence of the
partial-slip boundary condition due the presence of the
micro-cavities.
[0006] In one embodiment, a method for a reduction in skin
friction drag comprises a plurality of three-dimensional cavities.
In one aspect, a plurality of stable, embedded cavity vortices
within a micro-roughness surface geometry can be formed that
produce a three-dimensionally patterned partial slip condition
over the surface. In another aspect, upon movement of the surface
at a predetermined velocity relative to a surrounding fluid, at
least one embedded cavity vortex can bulge up and at least
partially out of the cavity. This vortex can act as a
rollerbearing to alleviate the no-slip condition.
[0007] Other systems, methods, features, and advantages of the
drag modification system of the present application will be or
become apparent to one with skill in the art upon examination of
the following figures and detailed description. It is intended
that all such additional systems, methods, features, and
advantages be included within this description, be within the
scope of the passive micro-array system, and be protected by the
accompanying claims.
BRIEF DESCRIPTION OF THE DRAWINGS
[0008] The accompanying drawings, which are incorporated in and
constitute a part of this specification, illustrate certain
aspects of the instant invention and together with the
description, serve to explain, without limitation, the principles
of the invention. Like reference characters used therein indicate
like parts throughout the several drawings.
[0009] FIG. 1 shows a schematic flow model for a drag enhancing
d-type surface roughness, in which downwash is shown between the
counter-rotating vertex pair and upwash, that would occur on
either side, is shown on the front region of the surface
roughness.
[0010] FIG. 2 shows a schematic flow model for a drag
reducing d-type surface roughness, in which outflow, as depicted
by the arrows, from the upstream cavity to the adjacent
neighboring downstream cavity occurs through the valleys in the
saw tooth geometry of the formed ridges.
[0011] FIG. 3 shows a schematic front elevational view of
one embodiment of a ridge of an array of roughness elements. In
one aspect, for drag reduction, the elements can be aligned such
that the peaks of the roughness elements of each adjacent ridge
can be staggered and can be spaced at about half the peak height
of the roughness element. In this view, flow will encounter the
ridge by moving into the figure. In one exemplary aspect, the
spacing between the peaks of the adjoined roughness elements is
on the order of about 30 viscous length scales at close to
maximum velocity for the fluid passing over the wall surface.
[0012] FIG. 4 is a side elevational schematic view of the
exemplary micro-array of roughness elements shown in FIG. 3,
showing the tops of the roughness elements of FIG. 3 and showing
the formation of counter-rotating streamwise vortices due to the
staggered alignment of adjacent rows of the roughness elements
in the drag enhancing case. The flow of fluid is directed into
the figure.
[0013] FIG. 5 is a top elevational schematic view of
exemplary vertex structures that form within the transversely
extending cavities of an exemplary micro-array of roughness
elements of FIG. 3, showing fluid flow moving from the bottom to
the top of the figure and showing dark short lines correspond to
the peaks of the roughness element in FIG. 3.
[0014] FIG. 6 is a perspective view of one embodiment of a
roughness element of a micro-array of the present application,
showing riblets formed on a front, upstream surface of the
roughness element.
[0015] FIG. 7 is a side elevational view of the roughness
element of FIG. 6.
[0016] FIG. 8 is a top elevational view of the roughness
element of FIG. 6.
[0017] FIG. 9 is front, upstream elevational view of a
plurality of adjoined roughness elements of FIG. 6 that form a
ridge, and showing a plurality of channels formed between
portions of the respective bases and the bottom portions of the
peripheral edges of the respective adjoined roughness elements.
[0018] FIG. 10 is a perspective view of a portion of a
micro-array, showing a plurality of staggered rows of the formed
ridges of adjoined roughness element of FIG. 8, and showing the
approximate spacing between the rows of ridges to be
approximately half the height of a roughness element.
[0019] FIG. 11 is a schematic diagram of cavity flow of
representative fluid flow between the tops of roughness elements
of FIG. 6 and across one “valley,” the roughness elements being
positioned in adjacent ridges or rows. In this diagram, fluid
flow over the surface is from left to right.
[0020] FIG. 12 is a top elevational schematic view of
exemplary vertex structures that form on an exemplary
micro-array of roughness elements of FIG. 6, showing fluid flow
moving from the left to the right of the figure. The orange
vortices represent the outer vortices shown in FIG. 11 and can
have small counter-rotating vortices superimposed on the
outer-vortices that make the flow field consistent to its
neighboring vortices. In the exemplified aspect with three
riblets on the front face of the roughness element, two
counter-rotating vortices would form with an upwelling between
them and a downwash to the flow at the sides. These vortices are
also known as Taylor-Gortler vortices. The blue vortex tubes
represent the vortex cores to the vortex array that link all the
individual outer cavity vortices together.
[0021] FIG. 13 is a graphical illustration of a
two-dimensional computational fluid dynamics (CFD) numerical
calculation through a line of symmetry over the peaks and
valleys of the roughness elements in drag reduction mode. The
cavity Re for this calculation is 2000, and the formation of
stable cavity vortices is observed.
[0022] FIG. 14 is a graphical illustration of the velocity
profiles in the boundary layer forming over the surface in FIG.
13 above the third and eighth cavities. These profiles are
compared to that of a flat plate boundary layer, known as the
Blasius solution. One can observe the non-zero velocity over the
surface of the cavities due to the embedded cavity vortex. One
skilled in the art will appreciate that one can obtain the
momentum thickness of the two boundary layers, which is
proportional to the total drag coefficient on the plate from the
leading edge to that corresponding downstream distance, by
integrating these velocity profiles. In one example, the
momentum thickness over the third cavity is 16.09% of the
momentum thickness of the flat plate Blasius solution, while at
the eighth cavity the percentage of the momentum thickness of
the surface with cavities with respect to the flat plate
solution is 23.91%. Thus, at the third and eighth cavity, the
drag coefficient is reduced by 84% and 76% correspondingly.
[0023] FIG. 15 illustrates isocontours of streamwise
velocity in a laminar flow just over one open cavity in a
periodic array. Upstream of the cavity the flow is uniform. Over
the cavity, the flow speeds up as there is little viscous drag.
The speed-up in fact begins about one cavity width, h, upstream
and extends laterally by a fraction of h. The isocontours of
streamwise velocity are at a height of 0.1 h above cavity
surface in a laminar flow and the slot width Re=4 is based on
the peak streamwise velocity in the slot exit plane.
[0024] FIG. 16 shows a perspective view of an exemplary
honeycomb patterned micro-cavity surface.
[0025] FIG. 17 shows a partial cross-sectional view of the
honeycomb patterned micro-cavity surface of FIG. 16 taken across
line 17-17. This example showing the wall of the cavities
configured with a parabolic profile such that the edges of the
cavities are minimal in size.
[0026] FIG. 18 shows an offset, cubic micro-cavity pattern
showing the partial slip pattern (in grey with a green arrow)
boundary condition created by the induced flow of the embedded
vortices. This illustrates the corresponding partial slip field
to which the outer flow is subjected to an exemplary
three-dimensional array of micro-cavities embedded in the wall
surface (the three-dimensional array of micro-cavities being
shown exemplarily as an offset, square patterned micro-cavity
field). The complex partial slip condition pattern can be
designed, via the geometry and sizing of the cavities, to
disrupt the formation of high and low speed streaks in the near
wall layer that lead to the transition to turbulence in the
boundary layer.
[0027] FIG. 19 shows a typical convergence pattern of
skin-friction lines leading towards a three-dimensional
separation line. When three-dimensionality is added to the
separation flow kinematics, boundary layer separation does not
always coincide with a point of zero shear stress at the wall.
In fact, the shear stress can vanish only at a limited number of
points along the separation line, and a convergence of
skin-friction lines onto a particular separation line is
required for separation to occur.
[0028] FIG. 20 shows the theorized cavity vortices which
should form between adjacent roughness elements for angled
configurations. In this example of a passive micro-roughness
array with preferential flow direction, transverse triangular
roughness elements extend into the flow at an angle between 0
and 90 degrees. The figure illustrates an exemplary array of
roughness elements in which the crown of each respective
roughness element is positioned at an angle of about 40 degrees
with respect to the flow. Preferred flow direction is from left
to right in the figure and the red lines represent embedded
vortices that would form between adjacent roughness elements.
[0029] FIGS. 21A-B show an exemplified micro-array of
roughness elements built for water testing.
[0030] FIG. 21C shows fluorescent dye visualization of
embedded vortices forming in the exemplary roughness surface
shown in FIGS. 21A and 21B.
[0031] FIGS. 22A-22C show velocity vectors of flow over the
model shown in FIG. 21A. FIG. 22A shows the laminar boundary
conditions; FIG. 22B shows the top view of the laminar boundary
layer; and FIG. 22C shows a side view of the turbulent boundary
layer.
[0032] FIG. 23 is a side elevational schematic view of an
array of roughness elements, according to another embodiment,
showing the roughness elements positioned at an acute angle
relative to the underlying surface.
[0033] FIG. 24 is a side elevational schematic view of a
plurality of roughness elements, according to one aspect,
showing the roughness elements positioned at an acute angle
relative to the underlying surface and an embedded vortex formed
within a cavity.
[0034] FIG. 25 is a graphical representation of Couette
flow variation of a moving top plate versus bottom cavity plate
for Re=5 showing the shape of the embedded vortex changing at
different fluid and cavity speeds. As the ratio of the speed of
the top plate (Utop) relative to the speed of the cavity (Ucav)
decreases, the ratio of the coefficient of drag for the cavity
(Ud, cav) to the coefficient of drag for a flat plate (Ud, fp)
also decreases.
[0035] FIGS. 26a-26d are photographs of the scales of a
Monarch butterfly.
[0036] FIG. 26e is a photograph of a cross-section of the
wing of a Monarch butterfly with a plurality of roughness
elements superimposed over the scales on the wing.
[0037] FIG. 27 is a graphical illustration showing the
change in drag at various Reynolds numbers for flow transverse
and parallel to the cavities.
[0038] FIGS. 28a-28c are graphical illustrations showing
computational results illustrating the shape of the embedded
vortex changing for varying Reynolds numbers.
[0039] FIG. 29 is a graphical illustration showing the
change in drag coefficient reduction as a function of Reynolds
number.
[0040] FIG. 30 is a graphical illustration showing the
percent change in drag coefficient reduction as a function of
Reynolds number.
[0041] FIG. 31 is a schematic view of a butterfly showing
scale placement and fluid flow around a portion of the wings of
the butterfly.

DETAILED DESCRIPTION OF THE INVENTION
[0042] The present invention can be understood more readily by
reference to the following detailed description, examples,
drawings, and claims, and their previous and following
description. However, before the present devices, systems, and/or
methods are disclosed and described, it is to be understood that
this invention is not limited to the specific devices, systems,
and/or methods disclosed unless otherwise specified, as such can,
of course, vary. It is also to be understood that the terminology
used herein is for the purpose of describing particular aspects
only and is not intended to be limiting.
[0043] The following description of the invention is provided as
an enabling teaching of the invention in its best, currently known
embodiment. To this end, those skilled in the relevant art will
recognize and appreciate that many changes can be made to the
various aspects of the invention described herein, while still
obtaining the beneficial results of the present invention. It will
also be apparent that some of the desired benefits of the present
invention can be obtained by selecting some of the features of the
present invention without utilizing other features. Accordingly,
those who work in the art will recognize that many modifications
and adaptations to the present invention are possible and can even
be desirable in certain circumstances and are a part of the
present invention. Thus, the following description is provided as
illustrative of the principles of the present invention and not in
limitation thereof.
[0044] As used in the specification and the appended claims, the
singular forms “a,” “an” and “the” include plural referents unless
the context clearly dictates otherwise. Thus, for example,
reference to “a roughness element” includes arrays of two or more
such roughness elements, and the like.
[0045] Ranges can be expressed herein as from “about” one
particular value, and/or to “about” another particular value. When
such a range is expressed, another embodiment includes from the
one particular value and/or to the other particular value.
Similarly, when values are expressed as approximations, by use of
the antecedent “about,” it will be understood that the particular
value forms another embodiment. It will be further understood that
the endpoints of each of the ranges are significant both in
relation to the other endpoint, and independently of the other
endpoint. It is also understood that there are a number of values
disclosed herein, and that each value is also herein disclosed as
“about” that particular value in addition to the value itself. For
example, if the value “10” is disclosed, then “about 10” is also
disclosed. It is also understood that when a value is disclosed
that “less than or equal to” the value, “greater than or equal to
the value” and possible ranges between values are also disclosed,
as appropriately understood by the skilled artisan. For example,
if the value “10” is disclosed the “less than or equal to 10” as
well as “greater than or equal to 10” is also disclosed. It is
also understood that throughout the application, data is provided
in a number of different formats and that this data represents
endpoints and starting points, and ranges for any combination of
the data points. For example, if a particular data point “10” and
a particular data point 15 are disclosed, it is understood that
greater than, greater than or equal to, less than, less than or
equal to, and equal to 10 and 15 are considered disclosed as well
as between 10 and 15. It is also understood that each unit between
two particular units are also disclosed. For example, if 10 and 15
are disclosed, then 11, 12, 13, and 14 are also disclosed.
[0046] As used herein, the terms “optional” or “optionally” mean
that the subsequently described event or circumstance may or may
not occur, and that the description includes instances where said
event or circumstance occurs and instances where it does not.
[0047] The present invention can be understood more readily by
reference to the following detailed description of embodiments of
the invention and the Examples included therein and to the Figures
and their previous and following description.
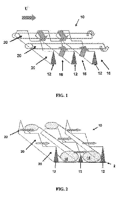
[0048] Referring to FIG. 1, an array 10 of roughness elements with
the induced flow field is illustrated. As shown, spanwise or
transverse cavities 16 defined between the ridges 12 that are
exemplarily formed from adjoined roughness elements 20 that are
positioned substantially transverse to the flow of the fluid over
the surface 2, which results in a series of cavity flows, each
containing a re-circulating flow field. In the exemplary
embodiment illustrated in FIGS. 1 and 2, roughness elements 20 are
integrally connected together to form individual ridges 12 that
are positioned on and extend from the surface 2 substantially
transverse to the flow of fluid across the surface 2. In one
aspect, the ridges 12 are spaced substantially uniform and,
optionally can be variably spaced.
[0049] In one aspect, due to the spacing of the saw tooth peaked
roughness elements 20, an on average streamwise vortex forms in
the flow above each cavity, such as found in the case of drag
enhancing riblets. In one aspect, it is contemplated that the
cavities would comprise vortices of alternating sign as this would
appear to provide the most stable flow regime. In this aspect, and
as illustrated, neighboring vortices contribute to upwashes and
downwashes in an alternating manner across the spanwise direction.
[0050] One skilled in the art will also appreciate that
alternative shapes of the roughness elements 20 are contemplated.
Exemplary alternative shapes can comprise, but are not meant to be
limited to, a blade-like thin peak, which allows the formation of
an increased number of vortices in a predetermined spanwise
dimension, a trapezoidal cross-sectional shape with a flat portion
of the ridge over which the vortices will form, and the like.
[0051] Independent of the ideal shape of the ridges 12, the
overall characteristics of the flow field remains unchanged. In
operation, and referring to FIG. 1, a fluid particle would enter
from the left at some distance above the surface 2, such as
exemplary shown as a flat plate. As the fluid particle approaches
the surface it feels the presence more of the counter-rotating
vortex pair and is pulled downward into a region of downwash. As
it enters this downwash, the fluid particle enters the cavity 16
and is spun around, in an almost slingshot type motion, and
injected back out above the surface through an upwash region of
the channels. From a heat transfer standpoint, the proposed
surface causes fluid particles far away from the surface to come
in contact (or very near) to the surface for a short period of
time and then to be pushed out again far above the surface. With
this “on average” flow field, the burst/sweep process has been
accentuated and controlled to take place in an organized manner.
Thus, in one aspect, the exemplary array 10 of roughness elements
20 provides an efficient manner by which a turbulent boundary
layer flow can be optimized for convective heating/cooling
purposes over a solid surface.
[0052] In one exemplary aspect, in order to cause as much fluid as
possible to come in contact with the “rough” surface 2, the
spacing between the transverse cavities 16 should be minimized.
However, if the spacing became too small, the mass flow rate
pumped through the cavities would decrease due to viscous effects.
In one exemplary aspect, the average height of the ridges
(h<+>) is substantially equal to the width of the cavity
(w<+>), or is about a one to one height to width ratio
(h<+>˜w<+>). In another aspect, with respect to the
average height of the cavities, it can be greater than about half
the peak-to-peak amplitude of the saw tooth pattern along the
ridges. In an exemplary aspect, the amplitude for riblet spacing
would be about and between 10 s<+> to 20 s<+>. In
another example, the amplitude would be about 15 s<+>. In
this aspect, this would also be the average height of the ridges,
with the minimum valley point of the ridges located at an
elevation of s<+> that is about 7.5 (±2.5) above the bottom
of the cavity, and maximum peak located at s<+> that is
about 22.5 (±2.5).
[0053] In a further aspect, the wavelength of the saw tooth
pattern can be about ?<+>=40, based on the size of a typical
vortex mentioned previously of s<+> being about 30. This
would be sufficient to hold a vortex between the peaks. Of course,
it will be appreciated that these dimensions are exemplary only
and are not meant to be limiting. Further, one will appreciate
that the exemplary dimensions can be scaled as desired.
[0054] Referring now to FIG. 2, an exemplary flow field through
the drag reducing roughness element 20 is illustrated. It has been
demonstrated that a series of transverse cavities 16 with
substantially constant ridge height is prone to a random
efflux/influx of fluid due to the high shear region located above
the cavities. This high shear region results in the formation of
streamwise vortices and low speed streaks above the cavities such
as found in the smooth surface case. It is likely that the peak
velocity can be larger for cavities 16 formed by a series of
transverse blades, but would more than likely still be a large
enough percentage below the freestream that streamwise vortices
would still be formed due to a high shear region above the
cavities. As shown in FIG. 2, to prevent and/or reduce the
efflux/influx process out/into the cavities, a saw tooth geometry
is defined by the respective roughness elements 20 that form the
ridges 12 of the array of roughness elements.
[0055] In this example, the substantially transverse cavities
formed between the adjacent ridges help with the stability of the
flow field as the flow through the cavities is given a longer
distance (two cavity widths as opposed to one) by which it is
exposed and pulled along by the flow directly above. As a result
of the exemplary geometry, the estimated peak velocity achieved is
in a range between about 5 to 40 percent of the freestream flow.
Second, the jets formed through the cavities are substantially
tangent to the flow above so that very little vertical velocity
component is formed. If one were looking down onto the surface,
the formed jets would appear to be a periodic array of suction and
blowing at a smooth wall. Finally, the flow acting on the bottom
of the cavities results in a shear stress that provides thrust to
the surface. In this case the effect is such that it can act to
cancel out a large percentage of the skin friction losses due to
the momentum change in the flow over the vertical walls of the
cavities. It is contemplated that this effect is more pronounced
as higher peak velocities in the jets (and thus closer to the
bottom surface of the cavities) are achieved. Thus, in one
example, the width of the cavities 16 can be increased or
maximized (such that the stable flow field in FIG. 2 is
maintained) so as to decrease the number of spanwise channels over
a given surface area.
[0056] In this aspect, considering an averaged streamline through
the roughness element 20, a fluid particle that starts from the
left close to the surface would approach a transverse cavity in
the array and upon entering the cavity be captured by the cavity
vortex and travel around in a spiral motion before being passed
through another cavity just to enter the neighboring cavity and
repeat the previous motion. In this example, all fluid near the
ridge stays near the ridge and there is little or no on average
vertical velocity component away from the cavities of the array.
Given the flow model as stated, and that the cavities are
dimensionally small enough such that viscous effects dominate, it
is contemplated that the net skin friction drag over such an
exemplary surface could start to approach that of a laminar flat
plate boundary layer.
[0057] In one aspect, the formed “rough” surface can be
categorized as a series of trapezoidal channels (d-type roughness
geometry) that are orientated in the spanwise direction
(transverse to the flow of fluid across the array), but, in one
exemplary aspect, with a saw tooth geometry of alternating peaks
along the ridges of the channels giving the surface a
three-dimensional, yet repeatable, pattern. The alignment of the
peaks in the streamwise direction of the flow of fluid is proposed
to increase drag, while the alternation of the peaks in the
streamwise direction will decrease drag. In one aspect, the
spacing between the ridges 12 in the streamwise direction can vary
from 1/2 to a full value of the peak height (or amplitude) of the
ridges with respect to the bottom of the cavities. In another
aspect, the distance between adjacent successive ridges can be in
a range of between about 40 to 60% of the peak longitudinal height
or amplitude of the roughness elements that form the respective
ridges. Optionally, the distance between adjacent successive
ridges can be in a range of between about 45 to 55% of the peak
longitudinal height or amplitude of the roughness elements that
form the respective ridges
[0058] In an alternative embodiment, and referring now to FIGS.
3-12, the micro-array 10 can comprise a plurality of roughness
elements 20 that can extend from the surface and be positioned in
spaced ridges along the surface 2. In this aspect, it is
contemplated that each roughness element 20 has a front, upstream
surface 22 and an opposing rear, downstream surface 24. Further,
each roughness element has a peripheral edge 26 that has an upper
portion 28 that tapers to a top 29 and a bottom portion 30 that
tapers to a base 31. As one would appreciate, the base is
configured to be connected to the underlying surface 2 of the
object. In one exemplified aspect, the roughness elements 20 are
positioned on the underlying surface 2 substantially transverse to
the flow of the fluid across the surface. In another aspect, the
roughness elements extend substantially normal to the underlying
surface. For example, and not meant to be limiting, the transverse
longitudinal height of the roughness elements can be between about
0.001 to 2.00 cm.
[0059] In one aspect, a plurality of roughness elements 20 can be
positioned transverse to the flow of fluid across the surface such
that a distance between a medial portion 32 of the peripheral
edges of adjacent and aligned roughness elements 20 is less than
the distance between the respective tops 29 of the roughness
elements and is less than the distance between the respective
bases 31 of the roughness elements. In a further aspect, adjacent
and aligned roughness elements 20 can be connected at some
selected portion of the respective peripheral edges of the
roughness elements. In this aspect, a channel 34 is defined
therebetween portions of the bases and the bottom portions 30 of
the peripheral edges 26 of the adjacent and adjoined roughness
elements. In one exemplary aspect, it is contemplated that the
formed channels would extend longitudinally substantially co-axial
to the flow of the fluid across the surface. In an alternative
aspect, the adjoining roughness elements can be connected together
such that no channel is formed therebetween the respective
adjoining elements. In a further aspect, the adjoined roughness
elements can form a “saw tooth” ridge that extends substantially
transverse to the fluid flow.
[0060] In one embodiment, the roughness element 20 has a
substantially diamond cross-sectional shape, as shown in FIG. 3.
Alternatively, and as shown in FIG. 6, the roughness element 20
can have a substantially oval shape. Of course, one skilled in the
art will appreciate that other geometric shapes are contemplated
and that the aspects illustrated are merely exemplary.
[0061] Referring now to FIGS. 6-10, in one aspect, it is
contemplated that the front, upstream surface 22 of the roughness
element 20 has a curved, convex cross-sectional shape relative to
the flow of fluid across the surface 2 of the object. In another
aspect, it is contemplated that the rear, downstream surface 24 of
the roughness element has a curved, concave cross-sectional shape
relative to the flow of fluid to promote the recirculation of the
flow within the cavity, and to act as a streamlining effect in
both stabilizing and promoting the embedded vortex flow field. In
one aspect, this slight concavity in the rear surface 24 of the
roughness element also acts to position the tops 29 of the
roughness elements at a slight, acute angle relative to the
underlying surface such that the tops of the roughness elements do
not protrude into the fluid flow normal to the flow direction. In
one aspect, it is contemplated that the radius of curvature of the
rear surface 24 of the roughness element is less than the radius
of curvature of the front surface 22 of the roughness element.
[0062] In a further aspect, each roughness element 20 can have at
least one riblet 40 extending outwardly therefrom the front
surface 22 of the roughness element. In one aspect, the riblet 40
extends longitudinally from at or near the bottom portion 30 of
the roughness element, proximate the base 31, to at or near the
top 29 of the roughness element. That is, in one aspect, the
riblet extends substantially transverse to the underlying surface.
If a plurality of riblets are used, it is contemplated that the
ribs can be spaced apart substantially equal or at varying
distances. Of course, the number of riblets 40 can vary in number,
but typical values would be that from 1 to 7 per each longer
wavelength of the saw tooth pattern of the formed ridge of the
micro-array. In one aspect, the number of riblets is 1, 3, 5, or
7.
[0063] The presence of the riblets 40 formed to either the front
surface 22, or, optionally, to both sides of the roughness
element, act to give a streamlining effect that is conductive to
the formation and stability of the cavity flows (or vortices)
embedded within the cavities formed between adjacent ridges or
rows of the roughness elements. In one aspect, the addition of the
riblets to the roughness elements micro-geometry help to increase
drag reduction, such as, for example, with higher speed flows. In
a further aspect, the riblets 40 act to excite counter-rotating
vortices within the outer vortex structure that when in even
numbers (formed by an odd number of riblets) promote the stability
of the vortex array in the surface.
[0064] Further, in another aspect, it is contemplated that a
trough 42 is defined therebetween adjacent riblets 40 that is
recessed from the respective tips 44 of the riblets. In one
aspect, the trough can be formed by a smooth, curved surface. Of
course, it is contemplated that the surface of each of the troughs
in the respective roughness element can have a substantially equal
radius of curvature or can vary as desired.
[0065] In another aspect, the riblets 40 have an edge surface 46
that extends between the respective riblets that are adjacent to
the sides of the roughness element. In one aspect, the edge
surface 46 can be substantially planar. Alternatively, at least a
portion of the edge surface can be curved. In the curved aspect,
it is contemplated that the radius of curvature of the edge
surface can be greater than the radius of curvature of the troughs
42 of the roughness elements.
[0066] It is further contemplated that the geometry of the formed
surface can be altered as a function of the thickness of the
boundary layer adjacent to the surface. For example, in regions
where the boundary layer is thicker, the tops 29 of the roughness
elements 20 can also comprise an additional saw tooth pattern of
shorter wavelength superimposed on the larger wavelength saw tooth
pattern. This is of importance in regions far downstream from the
leading edge of a body where the boundary layer is thicker, yet
the flow outside the boundary layer and above the surface is of
high velocity.
[0067] In a drag reduction mode, the saw tooth pattern on the tops
29 of the roughness elements 20 acts to inhibit the formation of
the optimal perturbations that appear due to the instability of
the shear flow (or boundary layer) above the roughness element and
inside the boundary layer. At lower speeds this wavelength is
larger. Conversely, at higher speeds this wavelength is smaller.
In one exemplary aspect, the smaller wavelength superimposed on
the larger saw tooth tops can vary from between about 1/3 to 1/7
that of the larger wavelength. The sizing is a function of the
speed of the flow outside the boundary layer adjacent to the
surface (U), the kinematic viscosity of the fluid (?) and the
maximum shear in the boundary layer ((du/dy)max). It should be
noted that as a body moves at higher speeds, the boundary layer at
a particular point on the body will reduce in thickness and the
maximum shear sustained in the boundary layer will increase. This
corresponds to a decrease in the wavelength sizing required of the
roughness element to act in drag reduction mode.
[0068] Regardless of whether a surface results in the formation of
embedded vortices within the respective roughness elements or not,
the “male protrusions” that result from the roughness elements and
their sizing can be sufficient enough to delay the transition to
turbulence in the boundary layer and thus still result in drag
reduction. However, to maximize the drag reduction characteristic
of the micro-array of roughness elements of the present invention
would include both the formation of the embedded spanwise vortex
array within the roughness element as well as the protrusion
geometry of the roughness geometry, which leads to the damping of
instabilities in the boundary layer that result in the transition
to turbulence.
[0069] In addition, and as noted above, the downstream side of the
roughness elements can, or can not, comprise a slightly concavity
to the surface (see FIG. 7) as well. This thickness to the peak of
the formed ridge provides a smooth line of reattachment for the
separated shear layer over the top of the cavity from the previous
upstream roughness element and at the top of the roughness element
provides for a tangential meeting of this outer flow with the next
downstream embedded cavity vortex (again, see FIG. 7). All of the
elements listed here have to do with the effects of streamlining
the micro-geometry to promote the formation of a stable, embedded
cavity vortex within the roughness element.
[0070] Further, it is contemplated that the micro-array 10 of
roughness elements 20 on the surface 2 can comprise a plurality of
micro-arrays of roughness elements 20 on the respective surface 2.
In this aspect, each micro-array can comprise a plurality of
roughness elements, as described above, of a predetermined height
and/or shape. Thus, it is contemplated that, the plurality of
micro-arrays could comprise arrays of varying sized or shaped
roughness elements.
[0071] In another aspect, each micro-array of roughness elements
can comprise individual roughness elements that vary in respective
scale and/or shape. For example and not meant to be limiting,
adjacent roughness element could have different relative scaled
dimensions. Thus, a “large” roughness element can adjoin a “small”
roughness element, such that a front view would be of a line or
ridge of the adjoining roughness elements that have a staggered
saw tooth appearance.
[0072] In the arrays discussed above, the formed channel 34
between adjoining roughness elements 20 allows for some of the
reversed flow at the bottom of the cavities between adjacent
span-wise extending ridges of lines of the roughness elements to
head back upstream to the adjacent, neighboring cavity through the
channels between the roughness elements. In operation, a cavity
flow can result such that fluid particles stay in the cavities to
continue the circulatory pattern between the two cavities, i.e.,
entering the downstream cavity over the top of the valley to
return back to the upstream cavity through the gap beneath the
valley as shown in FIG. 11. The juncture of the two adjoining
roughness elements acts as a center for each individual cavity
vortex and can also allow for a secondary pair of vortices to form
inside the larger cavity vortex, which is also shown in FIG. 11.
Referring to FIG. 12, these vortices, one inside each transverse
half cavity, provides a means of interlocking all of the cavity
flows together in an almost chain-link type array of streamlines
that are relatively stable and are not subject to cavity
influx/efflux of flow, which leads to an increase in drag for the
d-type surface. As noted above, the micro-geometrical patterning
of a surface in this embodiment for maximum drag reduction mode
results in the formation of an array of embedded cavity flows (or
vortices) between the roughness elements.
[0073] It is contemplated that the flow arranged by this roughness
element is a series of micro-slip walls in which the orange ovals
in FIG. 12 denote each micro-slip wall. From another standpoint,
it is contemplated that the roughness element of the present
invention alters the no slip condition which the outside flow sees
at the wall. Further, it is known that embedded cavity flow can be
used as a means of separation control due to the alteration of the
no-slip condition at the surface. It is contemplated that the
roughness element described herein can be used in applications
that would reduce the pressure drag associated with separated
flows over surfaces.
[0074] In a further aspect of the “roughness” surface, the
thickness of the boundary layer can be in a range of at least 10
to 30% of a cavity height of each cavity such that shear layer
instabilities of cavity vortexes that form therein the plurality
of cavities are reduced. Preferably, the thickness of the boundary
layer is about at least 20% of the cavity height. Typically,
cavity height would be measured from the surface 2 of the object
to the peak or highest amplitude of the roughness elements that
form the transversely disposed ridge. In one aspect, each formed
cavity vortex can have a Re, relative to the cavity height,
velocity of the fluid over the wall surface, and the kinematic
viscosity of the fluid, in the range of between 100 and 20,000,
such that the instability of the formed cavity vortexes are
suppressed. Optionally, each formed cavity vortex can have a Re,
relative to the cavity height, velocity of the fluid over the wall
surface, and the kinematic viscosity of the fluid, in the range of
between 1,000 and 5,000.
[0075] The micro-arrays of the roughness elements of the present
invention would find applicability in drag reduction modalities,
such as, for example and not meant to be limiting, on the surfaces
of aircraft, submarines, ship hulls, high speed trains and the
like. In the case of the flow over the hull of a ship, the
micro-arrays of the roughness elements can impact the boundary
layer formation over the hull and therefore affect the amount of
air ingested below the water line, thereby altering the entire
flow field of a ship's wake. It is also contemplated than the
micro-arrays can be used in pipeline walls as well, which would
result in a large reduction in the amount of energy saved to pump
fluids from one point to another.
[0076] It is also contemplated that the micro-arrays of the
present invention allows for the trapping of pockets of air inside
the cavities such that, for example, in hydrodynamic applications,
the working fluid for the micro-slip walls would consist of these
air pockets. This would also reduce the skin friction for
hydrodynamic applications and, in another aspect, can reduce
cativation.
[0077] Still further, the micro-arrays of roughness element can
act as a means of controlling separation. The effect of the arrays
acts to reduce pressure drag over bluff bodies such as automobiles
and trucks. It can also minimize separation over turbine blades,
airfoils, and helicopter rotors as well as flow through serpentine
ducts, which is often a requirement for inlet geometries for
engines on an aircraft. Optionally, in a drag enhancement mode, a
surface formed with the micro-array of roughness elements of the
present invention allows for highly effective convective cooling
to the surfaces of computer board components, which could greatly
impact the performance of these devices.
[0078] It is also contemplated that the self-cleaning property of
the roughness elements should be excellent due to the high shear
rates resulting over the major portions of the surfaces of the
roughness elements. However, it is also contemplated to use
hydrophobic materials in constructing the roughness elements for
hydrodynamic applications.
[0079] It is contemplated that a surface formed with a micro-array
of roughness element as described above, could be formed for a saw
tooth wavelength that corresponds to that of the optimal
perturbation wavelength for the shear flow inside the boundary
layer. In this example, the alignment or alternation of the peaks
to achieve maximum heat transfer rates and maximum drag at a
surface is considered. In one aspect, the alternation of the peaks
forces the half-wavelength of the saw tooth amplitude to
correspond to the optimal perturbation wavelength. Thus, it is
contemplated that the formed drag reducing surface could become
drag enhancing as the flow speed is increased.
[0080] Referring now to FIGS. 15-18, in an alternative embodiment,
a method for reduction in skin friction drag comprises an array of
three-dimensional micro-cavities that are configured to form an
array of stable, embedded cavity vortices such that a
three-dimensionally patterned partial slip condition is produced
over the surface. This complex boundary condition passively forces
the boundary layer flow and results in sub-laminar skin friction.
In another aspect, the formed boundary condition can act to delay
transition to turbulence within the boundary layer.
[0081] Reduction in skin friction drag over a surface can be
achieved by delaying the transition of the boundary layer from the
laminar to turbulent state. This is due to the fact that a laminar
boundary layer has significantly lower shear stress at the surface
than a turbulent one, and attempts to delay transition are labeled
as laminar flow control (LFC). The typical method to maintain
laminar flow is through the use of suction. Alternatively,
discrete roughness elements (DRE) can be used. It has been found
that, through the use of small cylindrical DRE strategically
located on the surface of a plate, Tollmien-Schlichting (TS)
instability waves that are known to lead to natural transition in
a flat plate boundary layer can be suppressed. This can be
achieved due to the formation of steady, optimal low and high
speed streaks across the boundary layer of moderate amplitude,
which are found to suppress the instabilities forming on the TS
waves that lead to the formation of turbulent spots. It has also
been shown that roughness elements, spaced with spanwise
wavelengths shorter than that corresponding to the most amplified
disturbance in the boundary layer, can act as a means of delaying
transition in the case of swept wing boundary layers whereby the
cross-flow instability is suppressed.
[0082] It is contemplated that the negative effect of enhanced
receptivity for a two-dimensional ribbed roughness that is
typically observed can be attributed to the amplification of TS
instability waves by a periodic 2-D forcing from variation in the
shear stress as the flow passes over the tops of the roughness
elements. In one aspect, it is contemplated that a 3-D periodic
forcing can be imposed by the roughness elements. In another
aspect, significant sub-laminar drag over the surface can be
achieved by minimizing the separation distance between the
cavities (with the surface being substantially structurally
sound). Further, the methodology can act to reduce the boundary
layer receptivity and delay transition. In one preferred aspect,
the surface is specifically patterned to facilitate interference
with the growth process of the most unstable waves.
[0083] In one aspect, the methodology contemplates the use of a
cavity having a substantially constant depth. The constant depth
cavity helps to form and maintain a stable cavity flow, with no
influx/efflux of fluid.
[0084] In another aspect, a microgeometry 60 is formed in the
surface that is exposed to the flow of fluid. In one example, the
microgeometry can comprise a three-dimensional array 50 of
micro-cavities 52 such that the cavity Re remains small (about on
the order Re=2000) and the boundary layer forming over the cavity
is sufficiently thick. Such a formed microgeometry insures that
the centrifugal instability, leading to the formation of
Taylor-Gortler vortices, in the cavity flow as well as any
instability of the shear layer (Kelvin-Helmholtz instability)
forming over the cavity openings is prevented. The result is a
stable cavity flow, with no influx/efflux of fluid. The resulting
partial slip condition, formed at the boundary separating the
cavity flow fluid and outer flow fluid, results in reduced
momentum thickness within the boundary layer.
[0085] In one experimental example, the alteration of the momentum
thickness was confirmed and resulted in a reduction of drag
coefficient at a distance 18 cm downstream from 0.01736 for the
Blasius solution to 0.00415 sustained over the first eight
cavities (75% reduction).
[0086] In various aspects, it is contemplated that the cavities of
the microgeometry can comprise a substantially cubic design, a
honeycomb structure, as shown in FIG. 16, and the like. These
shapes are merely exemplary and no limitation on the geometric
shape of the cavities of the surface is intended.
[0087] In another aspect, a method/system for facilitating a
controlled point of transition in the boundary layer and/or
delaying transition is provided. In one aspect, a plurality of
discrete roughness elements (DRE) can be spaced in the spanwise
direction of the surface at the optimal wavelength. This structure
can cause streamwise vortices and low-speed streaks of sufficient
amplitude (such that breakdown to turbulence will take place over
a flat plate) to be generated through the transient growth
mechanism.
[0088] In another aspect, a small spanwise slit is provided in the
surface through which, via an alternation of suction and pumping
of fluid, TS waves in the most unstable frequency range can be
generated that lead to early transition. In still another aspect,
an adverse pressure gradient for the flow over the boundary layer
is set up such that early transition is promoted. This can be
exemplarily achieved by placing the flat plate surface at a small
angle of attack relative to the flow of fluid such that the flow
over the flat plate is subjected to a diverging area and
subsequently decelerates along the length of the plate.
[0089] One exemplary example of a three-dimensional array 50 of
micro-cavities 52 embedded in the surface is shown in FIG. 18 for
an offset, square patterned micro-cavity field. It is contemplated
that this complex partial slip condition pattern can be
configured, via the geometry and sizing of the cavities, to
disrupt the formation of high and low speed streaks in the near
wall layer that lead to the transition to turbulence in the
boundary layer. In one aspect, the partial slip pattern favors the
streamwise direction, and according to the computations of Min
& Kim (2005), a surface dominated by streamwise slip has the
highest potential for transition delay. Thus, the microgeometry
disrupts the formation of the low-speed streaks and reduces the
momentum thickness of the boundary layer. It should be noted that
this higher momentum in the flow closer to the surface is
favorable also in delaying separation of the boundary layer under
adverse pressure gradient conditions (Gad-el-Hak, 2000).
[0090] This embodiment thus contemplates the use of a
microgeometry 60 that can comprise an array 50 of cavities 52 in
which embedded cavity flows form. The array 50 of cavities 52 can
be configured to cause transition delay in boundary layer flows
and to reduce skin friction drag. It is contemplated that the
methodologies/systems of the present application that use such an
embedded micro-cavity surface lead to sub-laminar boundary layer
skin friction coefficients and correspondingly smaller momentum
thickness. Of course, while two primary cavity geometries, cubic
and hexagonal, have been discussed herein, it is contemplated that
these shapes are not meant to be limiting and that other geometric
shapes can be used (perhaps in combination).
[0091] In a further aspect, at least a portion of the edges 54 of
cavities 52 that are substantially aligned with the flow of fluid
over the surface can have upwardly extending ribs that are
connected to and extend outwardly from the top edges 58 of the
cavity. In another aspect, portions of a plurality of cavity walls
56 of the cavities can extend upwardly above the generalized plane
of the surface to form wall extensions. In one aspect, the wall
extensions can protrude into the flow of fluid above the plane of
the surface only on those cavity walls 56 that were aligned with
the fluid flow direction. Optionally, the wall extensions could
extend partially or along the substantial length of the portion of
the cavity walls that are aligned with the fluid flow direction.
Further, the height of the wall extension above the generalized
plane of the surface can be a multiple of the depth of the cavity.
It is contemplated that this multiple can range between about 0 to
about 4. It is also contemplated that the outwardly extending
extensions or ribs would be beneficial in inhibiting cross-flow
near the surface and perhaps cavity influx/efflux.
[0092] In one aspect, it is known that separation of the boundary
layer from the body typically occurs in vicinities where the flow
is decelerating due to change in body curvature, which results in
an adverse pressure gradient. Thus, separation typically occurs in
areas that are posterior of the maximum body thickness. Incipient
separation is characterized by regions of decreasing skin friction
approaching zero, and consequent reversal of the flow at the
surface A similar process, known as dynamic stall, characterizes
unsteady separation from a moving surface producing lift (i.e., a
pitching airfoil) or thrust (i.e., an oscillating caudal fin).
Unsteady separation is characterized by a locality where both the
shear stress (or skin friction) and velocity approach zero as seen
by an observer moving with the separation point (known as the MRS
criterion). In this case, a separated region is most likely to
occur near the point of highest curvature (typically near the
leading edge) prior to blending with the wake near the trailing
edge. If such separation occurs in the latter case, lower
propulsive efficiencies typically result. However, if the unsteady
separation process can be controlled, such that the leading edge
separation bubble remains disconnected with the wake then an
unsteady high-thrust (or high-lift) generation mechanism can
occur.
[0093] In another aspect, when three-dimensionality is added to
the separation flow kinematics, the boundary layer separation does
not always coincide with a point of zero shear stress at the wall.
In fact, and as shown in FIG. 19, the shear stress can vanish only
at a limited number of points along the separation line, and a
convergence of skin-friction lines onto a particular separation
line is required for separation to occur. As a result, 3D boundary
layers can be more capable of overcoming an adverse pressure
gradient without separating. Thus, in this embodiment, it is
contemplated that the respective micro-geometries of the
micro-array of roughness elements are configured in a preferential
flow direction. This configuration can prevent the required
convergence of skin friction lines and can passively act to keep
the flow attached, thereby reducing pressure drag.
[0094] As contemplated, delaying separation of the flow from a
solid boundary results not only in reduced pressure drag, but also
decreased pressure losses in ducted flows such as through
diffusers and turning elbows. Various mechanisms by which
separation can be controlled have been investigated and
successfully applied in the past. Many of these techniques require
the application of suction and/or blowing at the surface and
require energy input.
[0095] The micro-geometries of each of the roughness elements can
be configured to successfully control separation. In this aspect,
the micro-geometries act to impart momentum to the very near-wall
region of the flow, which prevents flow reversal. This can be
achieved by the formation of embedded cavity vortices as shown in
FIG. 20. One of the most successful passive means to date has been
the use of vortex generators, or small typically v-shaped
protrusions with profiles less than half the boundary layer
thickness. These have been shown to produce a system of streamwise
vortices which mix high and low momentum fluid that energizes the
flow close to the surface. Vortex generators need to be placed at
a specific downstream location within a turbulent boundary layer
for maximum performance such that the streamwise vortices affect
the region where separation would normally occur.
[0096] As described above, patterned surfaces can also result in
separation control and golf ball dimples present one of the most
well-known illustrations of surface patterning resulting in
separation control and reduced drag. However, the dimples do more
than just trip the boundary layer to the turbulent state. It has
been shown that the formation of embedded cavity vortices, or
small localized regions of separation within the surface allow the
outer boundary layer flow to skip over the dimples in the pattered
surface. Thus, the use of patterned surfaces, capable of imposing
partial-slip flow conditions at the wall due to the formation of
embedded vortices, can achieve drag reduction via separation
control.
[0097] In addition, and as contemplated herein, if a surface has a
preferred flow direction, which can exemplarily be felt by moving
one's hand over the surface, movement in the direction of
preferred flow would feel smooth to the touch. But, when the
preferred direction surface is felt in the opposite direction, a
higher resistance is imposed and the surface feels rougher. Thus,
this aspect acts to enhance the boundary layer control mechanism
of the micro-geometries by providing a preferential flow direction
of the surface that is capable of locally resisting the reversal
of flow at or near the surface. Therefore, the configured surface
has the potential to disrupt the convergence of skin-friction
lines onto a particular separation line, which controls
three-dimensional separation. The contemplated micro-array of
roughness elements, with the exemplary preferred flow direction
micro-geometries can aid in separation control and or transition
delay.
[0098] Flow experiments have been conducted on an exemplary model
array surface, shown in FIGS. 21A and 21B. In this exemplary array
of roughness elements, a 16×24 array of roughness elements were
scaled up from 0.2 mm to 20 mm for the model. Similarity of the
cavity flow is achieved by matching the cavity Re ~2800 between
real application at higher velocities and model (the scale-up in
size is countered by a scale-down in velocity over the surface
from 14 m/s to 14 cm/s with negligible change in viscosity). In
one experiment, a long flat plate ( ~180 cm) with an elliptic
leading edge was used to grow the boundary layer sufficiently
thick such that shear layer instabilities over the cavity vortices
were not observed to develop. It has been shown that a vortex
forming in a square cavity remains stable at Re=10,000 as long as
the boundary layer thickness was more than roughly 20% of the
cavity depth.
[0099] Referring to FIG. 21C, the experimental results confirmed
the presence of cavity vortices within the micro-array. The
results also show that with the sufficient growth of a boundary
layer upstream of the model (local Re=2×10<5>), transition
is not tripped by the surface and the flow skips over the
cavities. Referring now to FIG. 22A-22C, a time-resolved digital
particle image velocimetry system was used to capture 2D velocity
data within and above the exemplified micro-array surface. In FIG.
22A, the middle roughness element corresponds to a valley in the
configuration geometry, and the first and third elements to peaks.
In this exemplary aspect, the flow accelerates over the cavity
spanning the first and third denticles or roughness elements, with
the primary formation of vorticity being measured in front of the
third denticle (flow being from left to right in the figure). In
this example, and as shown in FIG. 22B, the flow accelerates as it
passes over the cavity between the denticles and reaches speeds on
the order of 5-10% of the freestream flow (U) and has an average
velocity in the y=0 plane of 0.03U. In the purely flat surface
case, the no slip condition at y=0 enforces a zero velocity
boundary condition to the boundary layer flow.
[0100] It is contemplated that the flow velocity at the streamline
separating the cavity flow from the outer boundary layer flow will
further increase concomitantly with a decrease in the boundary
layer thickness (in the current exemplary case this is about 21
mm, or roughly the same size as the cavity depth and thus a fairly
thick boundary layer is used for these results). In the case where
the boundary layer is tripped prior to the configured denticle
model this increases to an average velocity in the y=0 plane of
0.14U as a result of the higher momentum closer to the surface
from the presence of the turbulent boundary layer above the
denticle model. As shown in FIG. 22C, periodic exchange of fluid
is observed in the turbulent boundary layer case between the
cavity flow and boundary flow, but on average the flow displays
only a streamwise component above the cavity. These results are
consistent with the cavity flow exchange observed in
two-dimensional transverse ribbed surfaces. Thus, it is
contemplated that a micro-array of erect roughness elements leads
to higher momentum in the fluid at y=0 for both laminar and
turbulent boundary layer conditions which makes such a roughness
surface a good candidate as a mechanism for separation control.
[0101] In one aspect, it is contemplated that the roughness
elements described herein can be positioned at an angle relative
to the flow of fluid across the roughness surface. The example
shown in FIG. 22A illustrates an exemplary roughness element that
is extending substantially normal to the flow of fluid. It is
contemplated that the roughness element can be positioned at a
selected angle or angles relative to the flow such that a
preferential flow direction surface is formed.
[0102] Positioning the roughness elements at more acute angles
will result in shallower cavity areas that are conducive to
embedded vortex formation within the geometry. As the angle
increases toward normal, the inter-element cavity distance between
the roughness elements increases. FIG. 20 shows the theorized
cavity vortices which should form between adjacent roughness
elements for angled configurations. The vortices that form can be
more shallow and oblong in nature than previously reported. Yet,
even in very shallow circular depression roughness, such as
dimples on a golf ball, the existence of a cavity vortex is found
to occur even at low Re. It is postulated that the primary
mechanism by which separation control is achieved is the partial
slip over the embedded cavity vortices. However, small-scale
mixing of fluid into and out of the cavities can also provide an
additional mechanism delaying or preventing separation for
turbulent or transitioning boundary layer conditions.
[0103] In another aspect, as illustrated in FIG. 23, at least a
portion of the plurality of roughness elements 20 can extend at an
acute angle relative to the underlying surface 2. In another
aspect, the plurality of roughness elements 20 can extend at an
angle of between about 5 degrees and 85 degrees relative to the
underlying surface. In another aspect, the plurality of roughness
elements can extend at an angle of between about 30 degrees and 60
degrees relative to the underlying surface 2. In still another
aspect, the plurality of roughness elements 20 can extend at an
angle of about 45 degrees relative to the underlying surface.
[0104] In one aspect, it is contemplated that positioning at least
a portion of the plurality of roughness elements at an acute angle
relative to the underlying surface can potentially create a larger
cavity 16 than a plurality of roughness elements positioned
substantially normal to the underlying surface. In another aspect,
for air flow over the plurality of roughness elements on the order
of 2 m/s, the Re can be calculated to be on the order of 10 based
on cavity length, as can be appreciated.
[0105] In still another aspect, the boundary layer thickness at a
distance of approximately 0.5 cm from the leading edge of an array
10 of roughness elements 20 can have Re=700 and d=1 mm at a fluid
speed of approximately 2 m/s. In another aspect, the boundary
layer thickness at a distance of approximately 5 cm from the
trailing can have Re=7×10<3 >and d=3 mm at a fluid speed of
approximately 2 m/s. Thus, it is contemplated that an embedded
geometry with cavities on the order of 1/10ththe boundary layer
thickness can interact with the viscous shear flow occurring at
the surface of the array of roughness elements.
[0106] In this embodiment, at lower Re, the array 10 of roughness
elements 20 extending at an acute angle relative to the underlying
surface can be arranged substantially linearly such that a
plurality of spanwise channels comprise the embedded cavity. In
one aspect, the angled roughness elements can also be
substantially aligned in the streamwise direction (i.e., not
staggered). In another aspect, the plurality of roughness elements
can also be arranged to give the path of least resistance to the
flow over the surface, as illustrated in FIG. 23. As can be
appreciated, because of the lower Re and laminar flow above the
cavities, the cavities can have a length greater than their
heights and still form a stable, embedded vortex, thereby helping
to maximize the skin friction reduction potential.
[0107] In another aspect, however, it is contemplated that the
roughness elements 20 can be aligned such that the peaks of the
roughness elements of each adjacent ridge 12 can be staggered, as
previously discussed, giving the surface a three-dimensional yet
repeatable pattern. This can, in one aspect, create a roof
shingle-like pattern of roughness elements that can allow
adaptation to a curved, irregular underlying surface.
[0108] In another aspect, an array of roughness elements can be
disposed on and extend therefrom the underlying surface. In this
aspect, the roughness elements can be positioned substantially
transverse to the flow of fluid across the wall surface, and
substantially linearly in successive ridges of roughness elements.
In another aspect, a plurality of embedded cavities can be formed
therebetween the successive ridges of roughness elements and the
flow of fluid across the wall surface can form at least one cavity
vortex therein each cavity of the plurality of embedded cavities.
[0109] In another aspect, the roughness elements of successive
ridges can be offset in a direction substantially parallel to the
direction of fluid flow on the at least a portion of the wall
surface. Alternatively, the roughness elements of successive
ridges can be aligned in a direction substantially parallel to the
direction of fluid flow on the at least a portion of the wall
surface.
[0110] In another aspect, re-aligning the geometry can increase
surface drag under reversed flow (such as in the case of a leading
edge vortex or separation region). In another aspect, when the
roughness elements are aligned transverse to the fluid flow, the
surface drag can be reduced below that of a flat surface.
[0111] In one aspect, the angle between the plurality of roughness
elements and the underlying surface can allow for a preferential
flow direction to the surface 2. In another aspect, it is
contemplated that the surface 2 can aid in controlling the
unsteady flow and leading edge vortex formation occurring over the
array 10 of roughness elements that would occur, for example,
during flapping flight. Moreover, in this role, it is contemplated
that the surface can also aid in preventing separation at the
trailing edge of the array of roughness elements 20, thereby
resulting in longer attachment of the leading edge vortex (without
stall) and higher lift and thrust production. Thus, for example,
this microgeometry can be useful on the wings of flapping
micro-air vehicles (MAVs) and the like.
[0112] Referring now to FIG. 24, in one aspect, a system and
method for reduction in skin friction drag comprises a plurality
of three-dimensional cavities 16 that are configured to form a
plurality of stable, embedded rotating cavity vortices 18 such
that a partial slip condition is produced over the surface 2. A
dividing streamline 19 can be formed between the trapped flow of
the embedded vortices 18 and the outer fluid flow passing over the
cavities 16.
[0113] In one aspect, the methodology contemplates patterning the
surface 2 with a plurality of roughness elements 20 such that
cavities 16 are formed on the surface between successive roughness
elements with minimal spacing between the cavities. In another
aspect, it is contemplated that the roughness elements described
herein can be positioned at an angle relative to the flow of fluid
across the surface such that a cavity is formed downstream of each
roughness element. In still another aspect, the cavities could be
formed in rows of varying spans to conform to a curved,
three-dimensional surface if necessary. In another aspect, the
cavities 16 can be formed such that a flow of fluid relative to
the surface can pass transversely over the rows of cavities.
[0114] If the surface 2 begins to move within a stagnant fluid, or
if the fluid begins to move relative to the surface, in one
aspect, each roughness element 20 of the plurality of roughness
elements can be sized and shaped so that each respective cavity 16
can develop an embedded rotating vortex 18. In one aspect, each
cavity vortex can contain a predetermined volume of the fluid
rotating therein the cavity. In another aspect, the plurality of
roughness elements 20 can be sized and shaped so that the volume
of fluid therein each cavity vortex 12 is substantially constant
as fluid flows relative to the wall surface 2. That is, although
there can be some leakage of fluid form the vortex, and/or the
addition of some fluid to the vortex, at a predetermined flow rate
of the fluid relative to the surface, the volume of fluid rotating
in the embedded vortex 18 can be substantially constant. For
example and with reference to FIG. 24, the presence of the
rotating vortex 18 embedded in the cavity 16 can restrict fluid
flowing over the cavity from entering into the cavity.
Furthermore, the rotating vortex can restrict the amount of fluid
leaving the cavity.
[0115] At a predetermined fluid flow rate relative to the wall
surface 2, in one aspect, a least a portion of one embedded vortex
18 can bulge up and out of the cavity 16. In another aspect, at a
predetermined fluid flow rate relative to the wall surface, at
least a portion of the rotating cavity vortex can have a vortex
height greater than a depth of the respective cavity. For example,
see FIG. 25 which illustrates the changing shape of the embedded
vortex as fluid conditions change. This vortex can act as a
“rollerbearing” to form a fluidized bearing surface to alleviate
the no-slip condition and reduce friction between the fluid and
the wall surface. However, in order for this rollerbearing
mechanism to work, fluid should be trapped and maintained within
each cavity. Again referring to FIG. 25, assuming Re=5 and the
surface is moving in stagnant air at 3 m/s, and a cavity depth of
about 30 microns, this rollerbearing mechanism can lead to a
partial slip of about 0.03 times the speed of the cavity, or about
97% reduction in drag relative to a flat plate.
[0116] In one aspect, to maintain the trapped vortex requires that
the local Re=Ud/? (where U is the speed of the surface, d is the
cavity depth, and ? is the kinemtic viscosity of the fluid moving
relative to the surface) remain low enough such that stability of
this vortex is maintained. In another aspect, it is contemplated
that a Re<50 will prevent the trapped vortex from becoming
unstable which could otherwise cause fluid to enter and leave the
cavity. The shear forces in this viscous flow can induce a motion
of the fluid that causes the least amount of resistance. In one
aspect, the motion of the fluid takes the form of rotation of the
fluid within the cavity as a whole, or the formation of a cavity
vortex 18. In another aspect, the rotating vortex can sustain the
majority of the velocity gradient between the moving surface 2 and
the fluid in which the surface is moving.
[0117] In another aspect, the center of the rotating vortex 18 can
be quickly relocated towards a bottom of the cavity 16 with even
minimal motion of the surface, as illustrated in FIG. 25. This can
result in a substantial reduction in the size of any boundary
layer forming within the outer fluid. In yet another aspect, for a
streamlined body (i.e., no sharp corners) the net result when
applied to a moving surface can be the elimination of boundary
layer transition and subsequent higher drag, as well as the
prevention of flow separation. Flow separation can be prevented
due to the fact that large partial slip velocities occur at the
surface 2 as opposed to a no slip case. The effect can be reduced
if the surface moves into an oncoming flow of fluid, however even
for the case where the flow has equal speed to that of the surface
a greater than 50% reduction in drag can still occur.
[0118] Cavity shapes can vary as long as a stable, embedded cavity
vortex 18 is maintained within the cavity 16. In one aspect, to
maximize the rollerbearing effect, roughness elements 20 forming
the cavity walls 21 can have minimal contact, or surface area,
with the outer fluid through which the surface is moving. For
example, each cavity can have an aspect ratio (“AR”, defined as
length of the cavity relative to cavity depth) of about 0.1, 0.2,
0.3, 0.4, 0.5, 0.6, 0.7, 0.8, 0.9, 1.0 1.5, 2, 3, 4, 5, 6, 7, 8,
9, 10 or greater than 10. In another aspect, each cavity 16 can be
shaped and sized to minimize the number of cavity walls over a
given length of body surface 2.
[0119] In one aspect, a longitudinal axis of each roughness
element 20 forming the cavity walls 21 can extend substantially
normal to the underlying surface 2. In another aspect, at least a
portion of the cavity walls can extend at an acute angle relative
to the underlying surface. In another aspect, the cavity walls can
extend at an angle of between about 5 degrees and 85 degrees
relative to the underlying surface. In another aspect, the cavity
walls can extend at an angle of between about 30 degrees and 60
degrees relative to the underlying surface 2. In still another
aspect, the cavity walls 21 can extend at an angle of about 26
degrees or about 45 degrees relative to the underlying surface.
[0120] The roughness elements 20 forming the cavity walls 21 can
be substantially planar, in one aspect. In another aspect, and as
previously discussed, at least a portion of the roughness elements
20 can be curved (for example, sinusoidal) or trapezoidal shapes
and the like. In another aspect, a portion of the roughness
elements can be substantially planar, and a portion of the
roughness elements can be curved away from the planar portion.
EXPERIMENTAL
[0121] To test if a surface covered with cavities, modeled after
the geometry of scale placement found on butterfly wings, could
alter the drag two steps were needed. First, the geometry of the
scales (nominal scale size on most butterflies is about 100 µm)
was confirmed by microscopy. Simplified models were constructed to
measure surface drag in a dynamically scaled experiment while at
the same time a simple 2D computational analysis was also
performed.
[0122] Live and dead specimens of Monarch (D. plexippus) were
studied with a focus on obtaining a side-view, or sagittal cut,
through the wing to observe the cavities formed between the rows
of scales. First, observations were focused on whether the scales
were moveable or fixed in place, and when air was passed over the
surface in multiple directions at speeds in excess of 4 m/s no
movement of the scales was observed.
[0123] Observations using both optical and scanning electron
microscopes (“SEM”) resulted in two separate models of the scale
geometry, which differed from previous work by others. As shown in
FIG. 26a-26e, the curved or cusped nature of the scales as well as
their roof-like shingle pattern with all rows of scales forming
perpendicular to the veins was observed on the wings. The scale
geometry was modeled by a cavity with a flat bottom and angled
side walls specified using cavity depth, d, and total cavity
length, l, such that the aspect ratio, AR, was defined as AR=1/d
(as illustrated in FIG. 24). One measurement, with such a geometry
superimposed over the microscopic image of butterfly scales,
illustrated in FIG. 26e, revealed a cavity with an AR of about 2
and a wall angle of about 45 degrees. Other SEM studies suggested
an AR of about 3 and a wall angle of about 26 degrees. It is
contemplated that the difference in these two models can arise
from either a variation in geometry of the scales themselves with
respect to wing location and/or specimen as well as the difficulty
associated with obtaining a true perpendicular cross-sectional cut
of the wing (shown in FIG. 26d). These two models also allow for
any differences to be quantified in the results due to geometrical
variation.
[0124] All testing of the models was completed under Couette flow
conditions which allowed for ease of the computational work
(self-similar with inlet and outlet conditions matching) and use
in an existing facility for drag measurements. The Couette flow
velocity profile was linear, as illustrated in FIG. 24 and models
the viscous boundary layer profile in the region close to the wing
up into which the scales protrude.
[0125] Models for experimental testing were fabricated out of
Plexiglas with thin aluminum plates to form the cavities such that
fabricated surfaces were about two orders of magnitude larger (d=1
cm) than that observed on the butterfly (d ~30 µm). These models
(plates measured 66 cm long by 30.5 cm wide with 60% of the area
in the middle consisting of cavities) were tested in a Couette
flow oil tank facility for measuring surface drag where high
viscosity oil is induced to flow inside a gap formed between the
model plate and a rotating conveyor belt. A force gauge was used
to measure the drag and upon correction of the data was compared
directly to that measured over a flat plate model. For the 45
degree case, the drag was measured for flow passing in the
transverse direction to the cavities (both forward flow as shown
in FIG. 24, and reverse) as well as parallel to the rows of
cavities using an additional model for this flow orientation.
[0126] The velocity profile between the two walls for a Couette
flow was linear, due to the formation of laminar flow for Reynolds
numbers lower than about 300; here Reynolds number is defined as
Re=Uh/? where h is the gap height or distance between the walls.
Additional parameters used to describe the flow include
non-dimensional gap height, ß=h/d, a non-dimensional slip velocity
?=us/U, and the non-dimensional effective slip length, ?=Leff/h.
The drag coefficient over a flat plate where the only surface drag
is that due to skin friction is given theoretically as CD=2/Re and
thus becomes linear on a log-log plot. The fractional drag
coefficient increase or decrease, which is also directly
proportional to the actual drag change, from that of a flat plate
is thus quantified as:
[mathematical formula]
[0127] Thus, ?D<0 indicates a drag decrease and ?D>0
indicates a drag increase. The results from the experimental
testing are shown in FIG. 27. Trends in the data show the larger
drag reduction at lower Re, and that forward and reverse flow over
the cavities yielded only a slight difference with the reversed
flow case showing less drag reduction. Also, as speculated, for
flow passing parallel to the rows the surface drag was increased,
and in fact almost doubled at lower Re. This drag increase dropped
off with an increase in Re. Further, the higher AR case with the
26 degree cavity walls yielded greater drag reduction than the 45
degree, lower AR case. It is contemplated that the optimal cavity
geometry for the formation of trapped, embedded vortex that fills
the cavity is an elongated cavity length to minimize the number of
times the flow passes over a cavity tip in a given length. Both
these effects can maximize the effective average partial slip
velocity for flow passing over the cavity geometry.
[0128] A 2D, self-similar Couette flow simulation using ANSYS was
carried out for two purposes: 1) to document the vortex formation
occurring within the embedded cavities for the transverse cases;
and 2) to document the dividing streamline between the trapped
flow and outer flow passing over the cavities as a function of Re.
The average height of this streamline is needed in order to
correct the drag reduction data so that the drag reduction
obtained under Couette flow can be directly compared to that which
would occur in an unbounded flow domain. Lastly, the simulation
also allowed for the case where the plate with cavities was moving
instead of the flat surface as occurs during the experiments. Any
variation due to this effect, because a butterfly for the most
part moves through stagnant air and not the other way around,
could also be observed.
[0129] Simulations were performed for the same geometries that
were tested experimentally. The streamline and vorticity contours
(FIGS. 28a-c) confirm the presence of an embedded, clockwise
rotating vortex inside the cavity, when flow proceeds from left to
right. The result is that there is now a non-zero velocity
distribution at the top of the cavity. In a regular Couette flow,
a wall would be located at the cavity tips upon which a no-slip
condition would be imposed. The embedded vortex leads to the
formation of a partial slip condition instead imposed upon most of
the outer flow passing above the cavity. In one aspect, the flow
trapped within the cavity becomes inherently part of the surface
leading to the so-called “roller bearing effect”.
[0130] The drag reduction due to this effect calculated
computationally for a 2D self-similar viscous flow is shown in
FIG. 29. At first glance, it is clear that drag calculations using
the 2-D computational model resulted in a drag reduction of about
half that measured in the experiments. However, it should be noted
that the trends in the data are very similar in that both show a
similar decrease in drag reduction with increase in Re, and that
there is only a slight decrease in drag reduction for flow in the
reverse direction over the cavities. For instance, there is some
three-dimensional nature of the flow or a relaxation effect in the
drag over the flat part of the plate within in the experiments not
covered containing cavities. Also, a limited number of transient
simulations revealed that at very low Re (<100) the embedded
vortex stopped and started almost instantly, due to the very
viscous nature of the flow, over a starting and stopping timescale
comparable to that occurring in flapping flight for a butterfly
(about 10 ms per flapping cycle).
[0131] The drag reduction values shown above in both the
experiments and computations are overpredicting the drag reduction
that would occur for an unbounded, viscous flow passing over a
butterfly wing. The experiments were unable, due to limitation in
optical access, to document the flow inside the cavities. However,
the computations allow for the calculation of the dividing
streamline that separates the flow that is trapped within the
cavity and the outer flow passing over the cavity surface. In
bounded Couette flow, the argument exists that a drag reduction
can be achieved in the case of a flat surface by just increasing
the gap height. As shown in FIGS. 28a-c, as the Re increases, the
embedded vortex grows in size and causes the dividing streamline
to move upwards towards the cavity tips. By calculating the
average height of this dividing streamline, this gives an
effective change in gap height that accounts for the fact that the
outer flow does essentially move through a slightly larger gap
height than one located at the tips of the cavity walls.
[0132] Comparing now the drag that would occur in a Couette flow
consisting of this adjusted gap height, located at the average
height of the dividing streamline, an interesting result occurs.
As shown in FIG. 30, the net drag reduction at very low Re is
almost entirely canceled out due to the fact that the dividing
streamline is located fairly deep within the cavity (see Re=1 case
in FIG. 28a). However, as the Re increases, the dividing
streamline moves up towards the tips of the cavities, resulting in
a net maximal drag reduction of about 12% for the AR=3 case.
[0133] It is contemplated that the Re range corresponding to
maximal net drag reduction provides the fundamental biological
reason for the sizing of butterfly scales. First, although the
Monarch has not been specifically studied for this variation as of
yet, recent work has shown that the scales on the Blue Pansy
(Junonia orithya), an aggressive flyer, generally decrease in size
from the wing base towards the edge. This reduction in scale size
can be as much as 40%, and the reason for this occurrence was
attributed to a maturation wave. However, there is no proven
biological function for the microscopic scale-size distribution
over the wings. From a fluid dynamic standpoint though, it is
clear that during flapping forward flight the flow induced over a
butterfly wing will be greatest towards the edge due the
rotational tip speed of the wing. Thus, it is contemplated that
the sizing of the scales can decrease towards the leading edge of
the surface in order to keep the local Re of the flow over the
scales in the proper range for maximal drag alteration at peak
flying speeds.
[0134] Further, during both gliding and flapping flight, because
the wing is modeled as a thin plate, separation of the flow occurs
at the leading edge. For flapping flight, this can lead to the
formation of a leading edge vortex, now well understood as an
important mechanism for lift generation, as illustrated in FIG.
31. During gliding flight, a smaller sized laminar separation
bubble which also increases lift can also form. Both these cases
result in flow reversal on the front portion of the wing.
Previously it was observed that the arrangement of the scales
subsist of rows that form perpendicular to the veins on the wings
(FIG. 26a-e). Based on this scale orientation, it can be surmised
that in the regions of flow reversal the local flow actually
passes over the scales parallel to the rows and this causes a
forward axial force on the wing. Further, it is contemplated that
this increased surface drag also harnesses energy from the leading
edge vortex, and results in a decrease in vortex growth rate
(reduced circulation) as well as an overall reduction in the
induced drag (or reduced amount of energy left in the wake). All
these effects—decreased surface drag over large portions of the
wing due to the roller bearing effect, increased forward axial
force in separated (reversed) flow regions, as well as a reduction
in induced drag—combine to allow the butterfly to fly through the
air with less flow resistance and reduces the overall energy
requirement during flapping flight for the insect.
PASSIVE DRAG MODIFICATION SYSTEM
US2011274875
The present invention is directed to a micro-array surface that
provides for drag reduction. An aerodynamic or hydrodynamic wall
surface that is configured to modify a fluid boundary layer on the
surface is provided. The wall surface has at least one array of
micro-cavities formed therein the surface. In various examples,
the interaction of the micro-cavities with the boundary layer of
the fluid can control separation, reduce surface drag, and/or
delay transition of the fluid over an identical smooth surface
without the micro-cavities.
FIELD OF THE INVENTION
An improved apparatus for reducing or enhancing the skin friction
drag of an aerodynamic or hydrodynamic surface, and in particular
to an improved micro-array surface design for reducing or
enhancing the skin friction drag coefficient and/or heat transfer
rate of aerodynamic or hydrodynamic surfaces.
BACKGROUND
The promise of drag reduction over solid surfaces in high Reynolds
number flows is one that has captured the attention of researchers
for years, yet has remained illusive. In the past, numerous
approaches have used both passive and active methods to control
the flow in a turbulent boundary layer. In one exemplary approach,
it is relatively well known that the aerodynamic drag of a surface
may be reduced by applying a microscopic “texture” to the
otherwise smooth surface. Although the exact fluid dynamic
mechanism at work in this drag reduction is not well understood,
it is speculated that the reduction relates to controlling the
turbulent vortices in the boundary layer adjacent to the surface.
The microscopic texture reduces the skin friction drag of solids
moving through fluids (e.g., aircraft, ships, cars, etc.), and of
fluids moving along solids (e.g., pipe flow, etc.).
One well known geometric form for a microscopic, friction-reducing
texture is known as “riblets.” Conventionally, riblets are
positioned on a surface to form an integrated series of
groove-like peaks and valleys with V-shaped cross-sections.
Normally, the riblets are positioned to extend along the
aerodynamic surface of the object in the direction of fluid flow.
In one example, the height of the riblets and the spacing between
the riblets are usually uniform and on the order of 0.001 to 0.01
inches for most applications.
Dimensionless units, sometimes referred to as wall units, are
conventionally utilized in describing fluid flows of this type.
The wall unit h+ is the non-dimensional distance away from the
wetted surface or more precisely in the direction normal to the
surface, extending into the fluid. Thus h+ is a non-dimensional
measurement of the height of the riblets. The wall unit s+ is the
non-dimensional distance tangent to the local surface and
perpendicular to the flow direction, thus the non-dimensional
distance between the riblets. In the prior art riblets, h+ and s+
are in the range between 10 and 20. Exemplary riblet designs can
comprise an adhesive film applied to a smooth solid surface or
alternatively, with advanced manufacturing techniques, the same
shapes may be directly formed and integrated into the structure of
the aerodynamic surface.
The interaction of riblets with the structure of the turbulent
boundary layer of the fluid reduces the skin friction drag
coefficient (Cdf) of the surface by approximately 6% compared to
an identical smooth surface without riblets. This reduction occurs
despite the significant increase in “wetted area” (the surface
area exposed to the fluid stream) of a riblet-covered surface over
a smooth surface. In attempts to further reduce the Cdf,
modifications to conventional V-shaped riblets have been proposed.
Examples include rounding of the peaks and/or valleys of the
respective riblets, as well as even smaller V-shaped notches in
the sides of the larger V-shaped riblets.
Further examples of improved riblet designs that decreases skin
friction drag with less concomitant increase in wetted area than
conventional riblets include the use of a series of parallel
riblets that extend longitudinally from a smooth surface. In this
example, the riblets have a triangular cross-section in the
transverse direction in which the apex of the cross-section
defines a continuous, undulated ridge with peaks and valleys that
causes an effective reduction in Cdf. The wetted area of this
exemplary design is increased less than with conventional riblets.
SUMMARY
Embodiments of this invention provide a surface of an object that
is configured to provide for either drag reduction or enhancement,
with the latter being beneficial in applications where increased
turbulent mixing is desired such as in heat transfer applications.
In one aspect, an aerodynamic or hydrodynamic wall surface that is
configured to modify a fluid boundary layer on the surface
comprises at least one array of roughness elements disposed on and
extending therefrom the surface. In one example, the interaction
of the roughness elements with a boundary layer of fluid can act
to delay transition to reduce the skin friction drag coefficient
of the surface over an identical smooth surface without the
roughness elements.
In a second embodiment, a method for a reduction in skin friction
drag comprises an array of three-dimensional micro-cavities. In
one aspect, an array of stable, embedded cavity vortices within a
micro-roughness surface geometry is formed that produces a
three-dimensionally patterned partial slip condition over the
surface. This complex boundary condition passively forces the
boundary layer flow and results in sub-laminar skin friction. In
another aspect, the formed boundary condition can act to delay
transition to turbulence within the boundary layer. Features of
the transition process from a laminar to a turbulent boundary
layer can occur in small scale flow structures close to the wall.
These structures can be altered by the presence of the
partial-slip boundary condition due the presence of the
micro-cavities.
Other systems, methods, features, and advantages of the drag
modification system of the present invention will be or become
apparent to one with skill in the art upon examination of the
following figures and detailed description. It is intended that
all such additional systems, methods, features, and advantages be
included within this description, be within the scope of the
passive micro-array system, and be protected by the accompanying
claims.
BRIEF DESCRIPTION OF THE DRAWINGS
The accompanying drawings, which are incorporated in and
constitute a part of this specification, illustrate certain
aspects of the instant invention and together with the
description, serve to explain, without limitation, the principles
of the invention. Like reference characters used therein indicate
like parts throughout the several drawings.
FIG. 1 shows a schematic flow model for a drag enhancing d-type
surface roughness, in which downwash is shown between the
counter-rotating vertex pair and upwash, that would occur on
either side, is shown on the front region of the surface
roughness.
FIG. 2 shows a schematic flow model for a drag reducing
d-type surface roughness, in which outflow, as depicted by the
arrows, from the upstream cavity to the adjacent neighboring
downstream cavity occurs through the valleys in the saw tooth
geometry of the formed ridges.
FIG. 3 shows a schematic front elevational view of one
embodiment of a ridge of an array of roughness elements of the
present invention. In one aspect, for drag reduction, the
elements can be aligned such that the peaks of the roughness
elements of each adjacent ridge can be staggered and can be
spaced at about half the peak height of the roughness element.
In this view, flow will encounter the ridge by moving into the
figure. In one exemplary aspect, the spacing between the peaks
of the adjoined roughness elements is on the order of about 30
viscous length scales at close to maximum velocity for the fluid
passing over the wall surface.
FIG. 4 is a side elevational schematic view of the
exemplary micro-array of roughness elements shown in FIG. 3,
showing the tops of the roughness elements of FIG. 3 and showing
the formation of counter-rotating streamwise vortices due to the
staggered alignment of adjacent rows of the roughness elements
in the drag enhancing case. The flow of fluid is directed into
the figure.
FIG. 5 is a top elevational schematic view of exemplary
vertex structures that form within the transversely extending
cavities of an exemplary micro-array of roughness elements of
FIG. 3 of the present invention, showing fluid flow moving from
the bottom to the top of the figure and showing dark short lines
correspond to the peaks of the roughness element in FIG. 3.
FIG. 6 is a perspective view of one embodiment of a
roughness element of a micro-array of the present invention,
showing riblets formed on a front, upstream surface of the
roughness element.
FIG. 7 is a side elevational view of the roughness element
of FIG. 6.
FIG. 8 is a top elevational view of the roughness element
of FIG. 6.
FIG. 9 is front, upstream elevational view of a plurality
of adjoined roughness elements of FIG. 6 that form a ridge, and
showing a plurality of channels formed between portions of the
respective bases and the bottom portions of the peripheral edges
of the respective adjoined roughness elements.
FIG. 10 is a perspective view of a portion of a micro-array
of the present invention, showing a plurality of staggered rows
of the formed ridges of adjoined roughness element of FIG. 8,
and showing the approximate spacing between the rows of ridges
to be approximately half the height of a roughness element.
FIG. 11 is a schematic diagram of cavity flow of
representative fluid flow between the tops of roughness elements
of FIG. 6 and across one “valley,” the roughness elements being
positioned in adjacent ridges or rows. In this diagram, fluid
flow over the surface is from left to right.
FIG. 12 is a top elevational schematic view of exemplary
vertex structures that form on an exemplary micro-array of
roughness elements of FIG. 6 of the present invention, showing
fluid flow moving from the left to the right of the figure. The
shaded vortices represent the outer vortices X shown in FIG. 11
and may have small counter-rotating vortices Y superimposed on
the outer-vortices X that make the flow field consistent to its
neighboring vortices. In the exemplified aspect with three
riblets on the front face of the roughness element, two
counter-rotating vortices would form with an upwelling between
them and a downwash to the flow at the sides. These vortices are
also known as Taylor-Gortler vortices. The blue vortex tubes Y
represent the vortex cores to the vortex array that link all the
individual outer cavity vortices together.
FIG. 13 is a graphical illustration of a two-dimensional
computational fluid dynamics (CFD) numerical calculation through
a line of symmetry over the peaks and valleys of the roughness
elements in drag reduction mode. The cavity Re for this
calculation is 2000, and the formation of stable cavity vortices
is observed.
FIG. 14 is a graphical illustration of the velocity
profiles in the boundary layer forming over the surface in FIG.
13 above the third and eighth cavities. These profiles are
compared to that of a flat plate boundary layer, known as the
Blasius solution. One can observe the non-zero velocity over the
surface of the cavities due to the embedded cavity vortex. One
skilled in the art will appreciate that one can obtain the
momentum thickness of the two boundary layers, which is
proportional to the total drag coefficient on the plate from the
leading edge to that corresponding downstream distance, by
integrating these velocity profiles. In one example, the
momentum thickness over the third cavity is 16.09% of the
momentum thickness of the flat plate Blasius solution, while at
the eighth cavity the percentage of the momentum thickness of
the surface with cavities with respect to the flat plate
solution is 23.91%. Thus, at the third and eighth cavity, the
drag coefficient is reduced by 84% and 76% correspondingly.
FIG. 15 illustrates isocontours of streamwise velocity in a
laminar flow just over one open cavity in a periodic array.
Upstream of the cavity the flow is uniform. Over the cavity, the
flow speeds up as there is little viscous drag. The speed-up in
fact begins about one cavity width, h, upstream and extends
laterally by a fraction of h. The isocontours of streamwise
velocity are at a height of 0.1 h above cavity surface in a
laminar flow and the slot width Re=4 is based on the peak
streamwise velocity in the slot exit plane.
FIG. 16 shows a perspective view of an exemplary honeycomb
patterned micro-cavity surface.
FIG. 17 shows a partial cross-sectional view of the
exemplary honeycomb patterned micro-cavity surface of FIG. 16
taken across line 17-17. This example showing the wall of the
cavities configured with a parabolic profile such that the edges
of the cavities are minimal in size.
FIG. 18 shows an offset, cubic micro-cavity pattern showing
the partial slip pattern (in grey with a green arrow) boundary
condition created by the induced flow of the embedded vortices.
This illustrates the corresponding partial slip field to which
the outer flow is subjected to an exemplary three-dimensional
array of micro-cavities embedded in the wall surface (the
three-dimensional array of micro-cavities being shown as
exemplarily as an offset, square patterned micro-cavity field).
The complex partial slip condition pattern can be designed, via
the geometry and sizing of the cavities, to disrupt the
formation of high and low speed streaks in the near wall layer
that lead to the transition to turbulence in the boundary layer.
FIG. 19 shows a typical convergence pattern of
skin-friction lines leading towards a three-dimensional
separation line. When three-dimensionality is added to the
separation flow kinematics, boundary layer separation does not
always coincide with a point of zero shear stress at the wall.
In fact, the shear stress may vanish only at a limited number of
points along the separation line, and a convergence of
skin-friction lines onto a particular separation line is
required for separation to occur.
FIG. 20 shows the theorized cavity vortices which should
form between adjacent roughness elements for angled
configurations. In this example of a passive micro-roughness
array with preferential flow direction, transverse triangular
roughness elements extend into the flow at an angle between 0
and 90 degrees. The figure illustrates an exemplary array of
roughness elements in which the crown of each respective
roughness element is positioned at an angle of about 40 degrees
with respect to the flow. Preferred flow direction is from left
to right in the figure and the red lines represent embedded
vortices that would form between adjacent roughness elements.
FIGS. 21A-B shows an exemplified micro-array of roughness
elements built for water testing.
FIG. 21C shows fluorescent dye visualization of embedded
vortices forming in the exemplary roughness surface shown in
FIGS. 21A and 21B.
FIGS. 22A-22C show velocity vectors of flow over the model
shown in FIG. 21A. FIG. 22A shows the laminar boundary
conditions; FIG. 22B shows the top view of the laminar boundary
layer; and FIG. 22C shows a side view of the turbulent boundary
layer.
FIG. 23 illustrates the rear surface of the roughness
element shown in FIG. 6.
DETAILED DESCRIPTION OF THE INVENTION
The present invention can be understood more readily by
reference to the following detailed description, examples,
drawings, and claims, and their previous and following
description. However, before the present devices, systems, and/or
methods are disclosed and described, it is to be understood that
this invention is not limited to the specific devices, systems,
and/or methods disclosed unless otherwise specified, as such can,
of course, vary. It is also to be understood that the terminology
used herein is for the purpose of describing particular aspects
only and is not intended to be limiting.
The following description of the invention is provided as an
enabling teaching of the invention in its best, currently known
embodiment. To this end, those skilled in the relevant art will
recognize and appreciate that many changes can be made to the
various aspects of the invention described herein, while still
obtaining the beneficial results of the present invention. It will
also be apparent that some of the desired benefits of the present
invention can be obtained by selecting some of the features of the
present invention without utilizing other features. Accordingly,
those who work in the art will recognize that many modifications
and adaptations to the present invention are possible and can even
be desirable in certain circumstances and are a part of the
present invention. Thus, the following description is provided as
illustrative of the principles of the present invention and not in
limitation thereof.
As used in the specification and the appended claims, the singular
forms “a,” “an” and “the” include plural referents unless the
context clearly dictates otherwise. Thus, for example, reference
to “a roughness element” includes arrays of two or more such
roughness elements, and the like.
Ranges can be expressed herein as from “about” one particular
value, and/or to “about” another particular value. When such a
range is expressed, another embodiment includes from the one
particular value and/or to the other particular value. Similarly,
when values are expressed as approximations, by use of the
antecedent “about,” it will be understood that the particular
value forms another embodiment. It will be further understood that
the endpoints of each of the ranges are significant both in
relation to the other endpoint, and independently of the other
endpoint. It is also understood that there are a number of values
disclosed herein, and that each value is also herein disclosed as
“about” that particular value in addition to the value itself. For
example, if the value “10” is disclosed, then “about 10” is also
disclosed. It is also understood that when a value is disclosed
that “less than or equal to” the value, “greater than or equal to
the value” and possible ranges between values are also disclosed,
as appropriately understood by the skilled artisan. For example,
if the value “10” is disclosed the “less than or equal to 10” as
well as “greater than or equal to 10” is also disclosed. It is
also understood that throughout the application, data is provided
in a number of different formats and that this data represents
endpoints and starting points, and ranges for any combination of
the data points. For example, if a particular data point “10” and
a particular data point 15 are disclosed, it is understood that
greater than, greater than or equal to, less than, less than or
equal to, and equal to 10 and 15 are considered disclosed as well
as between 10 and 15. It is also understood that each unit between
two particular units are also disclosed. For example, if 10 and 15
are disclosed, then 11, 12, 13, and 14 are also disclosed.
As used herein, the terms “optional” or “optionally” mean that the
subsequently described event or circumstance may or may not occur,
and that the description includes instances where said event or
circumstance occurs and instances where it does not.
The present invention may be understood more readily by reference
to the following detailed description of embodiments of the
invention and the Examples included therein and to the Figures and
their previous and following description.
Referring to FIG. 1, an array of roughness elements 10 with the
induced flow field is illustrated. As shown, spanwise or
transverse cavities 16 are defined between the ridges 12 that are
exemplarily formed from adjoined roughness elements 20 that are
positioned substantially transverse to the flow of the fluid over
the surface 2, which results in a series of cavity flows, each
containing a re-circulating flow field. In the exemplary
embodiment illustrated in FIGS. 1 and 2, roughness elements 20 are
integrally connected together to form individual ridges 12 that
are positioned on and extend from the surface 2 substantially
transverse to the flow of fluid across the surface 2. In one
aspect, the ridges 12 are spaced substantially uniform and,
optionally can be variably spaced.
In one aspect, due to the spacing of the saw tooth peaked
roughness elements 20, an on average streamwise vortex forms in
the flow above each cavity, such as found in the case of drag
enhancing riblets. In one aspect, it is contemplated that the
cavities would comprise vortices of alternating sign as this would
appear to provide the most stable flow regime. In this aspect, and
as illustrated, neighboring vortices contribute to upwashes and
downwashes in an alternating manner across the spanwise direction.
One skilled in the art will also appreciate that alternative
shapes of the roughness elements 20 are contemplated. Exemplary
alternative shapes can comprise, but are not meant to be limited
to, a blade-like thin peak, which allows the formation of an
increased number of vortices in a predetermined spanwise
dimension, a trapezoidal cross-sectional shape with a flat portion
of the ridge over which the vortices will form, and the like.
Independent of the ideal shape of the ridges 12, the overall
characteristics of the flow field remains unchanged. In operation,
and referring to FIG. 1, a fluid particle would enter from the
left at some distance above the surface 2, such as exemplary shown
as a flat plate. As the fluid particle approaches the surface it
feels the presence more of the counter-rotating vortex pair and is
pulled downward into a region of downwash. As it enters this
downwash, the fluid particle enters the cavity 16 and is spun
around, in an almost slingshot type motion, and injected back out
above the surface through an upwash region of the channels. From a
heat transfer standpoint, the proposed surface causes fluid
particles far away from the surface to come in contact (or very
near) to the surface for a short period of time and then to be
pushed out again far above the surface. With this “on average”
flow field, the burst/sweep process has been accentuated and
controlled to take place in an organized manner. Thus, in one
aspect, the exemplary array of roughness elements 10 provides an
efficient manner by which a turbulent boundary layer flow can be
optimized for convective heating/cooling purposes over a solid
surface.
In one exemplary aspect, in order to cause as much fluid as
possible to come in contact with the “rough” surface 2, the
spacing between the transverse cavities 16 should be minimized.
However, if the spacing became too small, the mass flow rate
pumped through the cavities would decrease due to viscous effects.
In one exemplary aspect, the average height of the ridges
(h<+>) is substantially equal to the width of the cavity
(w<+>), or is about a one to one height to width ratio
(h<+>˜w<+>). In another aspect, with respect to the
average height of the cavities, it can be greater than about half
the peak-to-peak amplitude of the saw tooth pattern along the
ridges. In an exemplary aspect, the amplitude for riblet spacing
would be about and between 10 s<+> to 20 s<+>. In
another example, the amplitude would be about 15 s<+>. In
this aspect, this would also be the average height of the ridges,
with the minimum valley point of the ridges located at an
elevation of s<+> that is about 7.5 (±2.5) above the bottom
of the cavity, and maximum peak located at s<+> that is
about 22.5 (±2.5).
In a further aspect, the wavelength of the saw tooth pattern can
be about ?<+>=40, based on the size of a typical vortex
mentioned previously of s<+> being about 30. This would be
sufficient to hold a vortex between the peaks. Of course, it will
be appreciated that these dimensions are exemplary only and are
not meant to be limiting. Further, one will appreciate that the
exemplary dimensions can be scaled as desired.
Referring now to FIG. 2, an exemplary flow field through the drag
reducing roughness element 20 is illustrated. It has been
demonstrated that a series of transverse cavities 16 with
substantially constant ridge height is prone to a random
efflux/influx of fluid due to the high shear region located above
the cavities. This high shear region results in the formation of
streamwise vortices and low speed streaks above the cavities such
as found in the smooth surface case. It is likely that the peak
velocity may be larger for cavities 16 formed by a series of
transverse blades, but would more than likely still be a large
enough percentage below the freestream that streamwise vortices
would still be formed due to a high shear region above the
cavities. As shown in FIG. 2, to prevent and/or reduce the
efflux/influx process out/into the cavities, a saw tooth geometry
is defined by the respective roughness elements 20 that form the
ridges of the array of roughness elements.
In this example, the substantially transverse cavities formed
between the adjacent ridges help with the stability of the flow
field as the flow through the cavities is given a longer distance
(two cavity widths as opposed to one) by which it is exposed and
pulled along by the flow directly above. As a result of the
exemplary geometry, the estimated peak velocity achieved is in a
range between about 5 to 40 percent of the freestream flow.
Second, the jets formed through the cavities are substantially
tangent to the flow above so that very little vertical velocity
component is formed. If one were looking down onto the surface,
the formed jets would appear to be a periodic array of suction and
blowing at a smooth wall. Finally, the flow acting on the bottom
of the cavities results in a shear stress that provides thrust to
the surface. In this case the effect is such that it may act to
cancel out a large percentage of the skin friction losses due to
the momentum change in the flow over the vertical walls of the
cavities. It is contemplated that this effect is more pronounced
as higher peak velocities in the jets (and thus closer to the
bottom surface of the cavities) are achieved. Thus, in one
example, the width of the cavities 16 can be increased or
maximized (such that the stable flow field in FIG. 2 is
maintained) so as to decrease the number of spanwise channels over
a given surface area.
In this aspect, considering an averaged streamline through the
roughness element, a fluid particle that starts from the left
close to the surface would approach a transverse cavity in the
array and upon entering the cavity be captured by the cavity
vortex and travel around in a spiral motion before being passed
through another cavity just to enter the neighboring cavity and
repeat the previous motion. In this example, all fluid near the
ridge stays near the ridge and there is little or no on average
vertical velocity component away from the cavities of the array.
Given the flow model as stated, and that the cavities are
dimensionally small enough such that viscous effects dominate, it
is contemplated that the net skin friction drag over such an
exemplary surface could start to approach that of a laminar flat
plate boundary layer.
In one aspect, the formed “rough” surface can be categorized as a
series of trapezoidal channels (d-type roughness geometry) that
are orientated in the spanwise direction (transverse to the flow
of fluid across the array), but, in one exemplary aspect, with a
saw tooth geometry of alternating peaks along the ridges of the
channels giving the surface a three-dimensional, yet repeatable,
pattern. The alignment of the peaks in the streamwise direction of
the flow of fluid is proposed to increase drag, while the
alternation of the peaks in the streamwise direction will decrease
drag. In one aspect, the spacing between the ridges in the
streamwise direction can vary from 1/2 to a full value of the peak
height (or amplitude) of the ridges with respect to the bottom of
the cavities. In another aspect, the distance between adjacent
successive ridges can be in a range of between about 40 to 60% of
the peak longitudinal height or amplitude of the roughness
elements that form the respective ridges. Optionally, the distance
between adjacent successive ridges can be in a range of between
about 45 to 55% of the peak longitudinal height or amplitude of
the roughness elements that form the respective ridges
In an alternative embodiment of the invention, and referring now
to FIGS. 3-12, the micro-array 10 can comprise a plurality of
roughness elements 20 that can extend from the surface and be
positioned in spaced ridges 16 along the surface 2. In this
aspect, it is contemplated that each roughness element 20 has a
front, upstream surface 22 and an opposing rear, downstream
surface 24. Further, each roughness element has a peripheral edge
26 that has an upper portion 28 that tapers to a top 29 and a
bottom portion 30 that tapers to a base 31. As one would
appreciate, the base is configured to be connected to the
underlying surface 2 of the object. In one exemplified aspect, the
roughness elements 20 are positioned on the underlying surface 2
substantially transverse to the flow of the fluid across the
surface. In another aspect, the roughness elements extend
substantially normal to the underlying surface. For example, and
not meant to be limiting, the transverse longitudinal height of
the roughness elements can be between about 0.001 to 2.00 cm.
In one aspect, a plurality of roughness elements 20 can be
positioned transverse to the flow of fluid across the surface such
that a distance between a medial portion 32 of the peripheral
edges of adjacent and aligned roughness elements 20 is less than
the distance between the respective tops 29 of the roughness
elements and is less than the distance between the respective
bases 31 of the roughness elements. In a further aspect, adjacent
and aligned roughness elements can be connected at some selected
portion of the respective peripheral edges of the roughness
elements. In this aspect, a channel 34 is defined therebetween
portions of the bases and the bottom portions of the peripheral
edges of the adjacent and adjoined roughness elements. In one
exemplary aspect, it is contemplated that the formed channels
would extend longitudinally substantially co-axial to the flow of
the fluid across the surface. In an alternative aspect, the
adjoining roughness elements can be connected together such that
no channel is formed therebetween the respective adjoining
elements. In a further aspect, the adjoined roughness elements can
form a “saw tooth” ridge that extends substantially transverse to
the fluid flow.
In one embodiment, the roughness element 20 has a substantially
diamond cross-sectional shape, as shown in FIG. 3. Alternatively,
and as shown in FIG. 6, the roughness element 20 can have a
substantially oval shape. Of course, one skilled in the art will
appreciate that other geometric shapes are contemplated and that
the aspects illustrated are merely exemplary.
Referring now to FIGS. 6-10, in one aspect, it is contemplated
that the front, upstream surface 22 of the roughness element 20
has a curved, convex cross-sectional shape relative to the flow of
fluid across the surface 2 of the object. In another aspect, it is
contemplated that the rear, downstream surface 24 of the roughness
element has a curved, concave cross-sectional shape relative to
the flow of fluid toward the rear surface 24 to promote the
recirculation of the flow within the cavity, and to act as a
streamlining effect in both stabilizing and promoting the embedded
vortex flow field. In one aspect, this slight concavity in the
rear surface 24 of the roughness element also acts to position the
tops 29 of the roughness elements at a slight, acute angle
relative to the underlying surface such that the tops of the
roughness elements do not protrude into the fluid flow normal to
the flow direction. In one aspect, it is contemplated that the
radius of curvature of the rear surface 24 of the roughness
element is less than the radius of curvature of the front surface
22 of the roughness element.
In a further aspect of the present invention, each roughness
element 20 can have at least one riblet 40 extending outwardly
therefrom the front surface 22 of the roughness element. In one
aspect, the riblet 40 extends longitudinally from at or near the
bottom portion 30 of the roughness element, proximate the base 31,
to at or near the top 29 of the roughness element. That is, in one
aspect, the riblet extends substantially transverse to the
underlying surface. If a plurality of riblets are used, it is
contemplated that the ribs can be spaced apart substantially equal
or at varying distances. Of course, the number of riblets 40 may
vary in number, but typical values would be that from 1 to 7 per
each longer wavelength of the saw tooth pattern of the formed
ridge of the micro-array. In one aspect, the number of riblets is
1, 3, 5, or 7.
The presence of the riblets 40 formed to either the front surface
22, or, optionally, to both sides of the roughness element, act to
give a streamlining effect that is conductive to the formation and
stability of the cavity flows (or vortices) embedded within the
cavities formed between adjacent ridges or rows of the roughness
elements. In one aspect, the addition of the riblets to the
roughness elements micro-geometry help to increase drag reduction,
such as, for example, with higher speed flows. In a further
aspect, the riblets 40 act to excite counter-rotating vortices
within the outer vortex structure that when in even numbers
(formed by an odd number of riblets) promote the stability of the
vortex array in the surface.
Further, in another aspect, it is contemplated that a trough 42 is
defined therebetween adjacent riblets 40 that is recessed from the
respective tips 44 of the riblets. In one aspect, the trough may
be formed by a smooth, curved surface. Of course, it is
contemplated that the surface of each of the troughs in the
respective roughness element can have a substantially equal radius
of curvature or can vary as desired.
In another aspect, the riblets 40 have an edge surface 46 that
extends between the respective riblets that are adjacent to the
sides of the roughness element. In one aspect, the edge surface 46
can be substantially planar. Alternatively, at least a portion of
the edge surface can be curved. In the curved aspect, it is
contemplated that the radius of curvature of the edge surface can
be greater than the radius of curvature of the troughs 42 of the
roughness elements.
It is further contemplated that the geometry of the formed surface
of the present invention can be altered as a function of the
thickness of the boundary layer adjacent to the surface. For
example, in regions where the boundary layer is thicker, the tops
29 of the roughness elements 20 may also comprise an additional
saw tooth pattern of shorter wavelength superimposed on the larger
wavelength saw tooth pattern. This is of importance in regions far
downstream from the leading edge of a body where the boundary
layer is thicker, yet the flow outside the boundary layer and
above the surface is of high velocity.
In a drag reduction mode, the saw tooth pattern on the tops 29 of
the roughness elements 20 acts to inhibit the formation of the
optimal perturbations that appear due to the instability of the
shear flow (or boundary layer) above the roughness element and
inside the boundary layer. At lower speeds this wavelength is
larger. Conversely, at higher speeds this wavelength is smaller.
In one exemplary aspect, the smaller wavelength superimposed on
the larger saw tooth tops can vary from between about 1/3 to 1/7
that of the larger wavelength. The sizing is a function of the
speed of the flow outside the boundary layer adjacent to the
surface (U), the kinematic viscosity of the fluid (?) and the
maximum shear in the boundary layer ((du/dy)max). It should be
noted that as a body moves at higher speeds, the boundary layer at
a particular point on the body will reduce in thickness and the
maximum shear sustained in the boundary layer will increase. This
corresponds to a decrease in the wavelength sizing required of the
roughness element to act in drag reduction mode.
Regardless of whether a surface results in the formation of
embedded vortices within the respective roughness elements or not,
the “male protrusions” that result from the roughness elements and
their sizing may be sufficient enough to delay the transition to
turbulence in the boundary layer and thus still result in drag
reduction. However, to maximize the drag reduction characteristic
of the micro-array of roughness elements of the present invention
would include both the formation of the embedded spanwise vortex
array within the roughness element as well as the protrusion
geometry of the roughness geometry, which leads to the damping of
instabilities in the boundary layer that result in the transition
to turbulence.
In addition, and as noted above, the downstream side of the
roughness elements can, or can not, comprise a slight concavity to
the surface (see FIG. 7) as well. This thickness to the peak of
the formed ridge provides a smooth line of reattachment for the
separated shear layer over the top of the cavity from the previous
upstream roughness element and at the top of the roughness element
provides for a tangential meeting of this outer flow with the next
downstream embedded cavity vortex (again, see FIG. 7). All of the
elements listed here have to do with the effects of streamlining
the micro-geometry to promote the formation of a stable, embedded
cavity vortex within the roughness element.
Further, it is contemplated that the micro-array of roughness
elements 10 on the surface 2 can comprise a plurality of
micro-arrays of roughness elements 10 on the respective surface 2.
In this aspect, each micro-array can comprise a plurality of
roughness elements, as described above, of a predetermined height
and/or shape. Thus, it is contemplated that, the plurality of
micro-arrays could comprise arrays of varying sized or shaped
roughness elements.
In another aspect, each micro-array of roughness elements can
comprise individual roughness elements that vary in respective
scale and/or shape. For example and not meant to be limiting,
adjacent roughness elements could have different relative scaled
dimensions. Thus, a “large” roughness element can adjoin a “small”
roughness element, such that a front view would be of a line or
ridge of the adjoining roughness elements that have a staggered
saw tooth appearance.
In the arrays discussed above, the formed channel 34 between
adjoining roughness elements 20 allows for some of the reversed
flow at the bottom of the cavities between adjacent span-wise
extending ridges of lines of the roughness elements to head back
upstream to the adjacent, neighboring cavity through the channels
between the roughness elements. In operation, a cavity flow may
result such that fluid particles stay in the cavities to continue
the circulatory pattern between the two cavities, i.e., entering
the downstream cavity over the top of the valley to return back to
the upstream cavity through the gap beneath the valley as shown in
FIG. 11. The juncture of the two adjoining roughness elements acts
as a center for each individual cavity vortex and may also allow
for a secondary pair of vortices to form inside the larger cavity
vortex, which is also shown in FIG. 11. Referring to FIG. 12,
these vortices, one inside each transverse half cavity, provide a
means of interlocking all of the cavity flows together in an
almost chain-link type array of streamlines that are relatively
stable and are not subject to cavity influx/efflux of flow, which
leads to an increase in drag for the d-type surface. As noted
above, the micro-geometrical patterning of a surface in embodiment
for maximum drag reduction mode results in the formation of an
array of embedded cavity flows (or vortices) between the roughness
elements.
It is contemplated that the flow arranged by this roughness
element is a series of micro-slip walls in which the orange ovals
in FIG. 12 denote each micro-slip wall. From another standpoint,
it is contemplated that the roughness element of the present
invention alters the no slip condition which the outside flow sees
at the wall. Further, it is known that embedded cavity flow can be
used as a means of separation control due to the alteration of the
no-slip condition at the surface. It is contemplated that the
roughness element described herein can be used in applications
that would reduce the pressure drag associated with separated
flows over surfaces.
In a further aspect of the “roughness” surface, the thickness of
the boundary layer can be in a range of at least 10 to 30% of a
cavity height of each cavity such that shear layer instabilities
of cavity vortexes that form therein the plurality of cavities are
reduced. Preferably, the thickness of the boundary layer is about
at least 20% of the cavity height. Typically, cavity height would
be measured from the surface 2 of the object to the peak or
highest amplitude of the roughness elements that form the
transversely disposed ridge. In one aspect, each formed cavity
vortex can have a Re, relative to the cavity height, velocity of
the fluid over the wall surface, and the kinematic viscosity of
the fluid, in the range of between 100 and 20,000, such that the
instability of the formed cavity vortexes are suppressed.
Optionally, each formed cavity vortex can have a Re, relative to
the cavity height, velocity of the fluid over the wall surface,
and the kinematic viscosity of the fluid, in the range of between
1,000 and 5,000.
The micro-arrays of the roughness elements of the present
invention would find applicability in drag reduction modalities,
such as, for example and not meant to be limiting, on the surfaces
of aircraft, submarines, ship hulls, high speed trains and the
like. In the case of the flow over the hull of a ship, the
micro-arrays of the roughness elements can impact the boundary
layer formation over the hull and therefore affect the amount of
air ingested below the water line, thereby altering the entire
flow field of a ship's wake. It is also contemplated that the
micro-arrays can be used in pipeline walls as well, which would
result in a large reduction in the amount of energy saved to pump
fluids from one point to another.
It is also contemplated that the micro-arrays of the present
invention allows for the trapping of pockets of air inside the
cavities such that, for example, in hydrodynamic applications, the
working fluid for the micro-slip walls would consist of these air
pockets. This would also reduce the skin friction for hydrodynamic
applications and, in another aspect, can reduce cativation.
Still further, the micro-arrays of roughness element can act as a
means of controlling separation. The effect of the arrays acts to
reduce pressure drag over bluff bodies such as automobiles and
trucks. It can also minimize separation over turbine blades,
airfoils, and helicopter rotors as well as flow through serpentine
ducts, which is often a requirement for inlet geometries for
engines on an aircraft. Optionally, in a drag enhancement mode, a
surface formed with the micro-array of roughness elements of the
present invention allows for highly effective convective cooling
to the surfaces of computer board components, which could greatly
impact the performance of these devices.
It is also contemplated that the self-cleaning property of the
roughness elements should be excellent due to the high shear rates
resulting over the major portions of the surfaces of the roughness
elements. However, it is also contemplated to use hydrophobic
materials in constructing the roughness elements for hydrodynamic
applications.
It is contemplated that a surface formed with a micro-array of
roughness element as described above, could be formed for a saw
tooth wavelength that corresponds to that of the optimal
perturbation wavelength for the shear flow inside the boundary
layer. In this example, the alignment or alternation of the peaks
to achieve maximum heat transfer rates and maximum drag at a
surface is considered. In one aspect, the alternation of the peaks
forces the half-wavelength of the saw tooth amplitude to
correspond to the optimal perturbation wavelength. Thus, it is
contemplated that the formed drag reducing surface could become
drag enhancing as the flow speed is increased.
Referring now to FIGS. 15-18, in an alternative embodiment, a
method for reduction in skin friction drag comprises an array 50
of three-dimensional micro-cavities 52 that are configured to form
an array of stable, embedded cavity vortices such that a
three-dimensionally patterned partial slip condition is produced
over the surface. This complex boundary condition passively forces
the boundary layer flow and results in sub-laminar skin friction.
In another aspect, the formed boundary condition can act to delay
transition to turbulence within the boundary layer.
For background, it is well known that an open cavity will form
either a single cavity vortex or a system of cavity vortices,
depending on the aspect ratio of the cavity. A thorough review of
much of the relevant studies to date regarding rectangular cavity
flows was given by Yao et al. (2004), who also performed
simulations of the boundary layer flow over various aspect ratio
three-dimensional rectangular cavities. It was determined that,
for square cavities with a length three times the cavity depth,
for a fixed Re, that given a sufficiently thick boundary layer (at
least 20% of the cavity depth in their case) a stable cavity flow
resulted such that no fluid exchange with the outer boundary layer
flow was observed. Thinner boundary layer thicknesses, in this
case, resulted in the formation of Kelvin-Helmholtz (KH)
instabilities within the shear layer forming over the top of the
cavity combined with the development of Taylor-Gortler (TG)
vortices also forming as a secondary flow pattern within the
cavity vortex flow field. Some observations for shallower
cavities, under these unsteady conditions, also indicated the
presence of streamwise vortex structures forming downstream of the
cavity within the boundary layer flow.
Other work relating to the laminar boundary layer flow over a
single, approximately two-dimensional, transverse embedded cavity
has been performed. Early numerical results by Gatski & Grosch
(1985) looked at the drag force (both due to pressure and skin
friction) over a single embedded square cavity. The conclusion of
this work indicated that the presence of a single embedded cavity
did not appreciably alter the drag characteristics of the flow.
However, they did pose the question as to whether closely spaced
cavities could have a different result (increased drag reduction)
due to leading and trailing edge surfaces no longer sustaining the
increase in shear stress above the values associated with a flat
plate. Finally, they also reported that the flow in the vicinity
of the cavity had a smaller momentum thickness than that over the
flat plates.
The negative effect of enhanced receptivity for a two-dimensional
ribbed roughness that is typically observed could be logically
attributed to the amplification of the T-S waves by a periodic 2-D
forcing from variation in the shear stress as the flow passes over
the tops of the roughness elements. In one aspect of the present
invention, it is contemplated that a 3-D periodic forcing can be
imposed by the roughness elements. In one aspect, significant
sub-laminar drag over the surface can be achieved by minimizing
the separation distance between the cavities (with the surface
being substantially structurally sound). Further, the methodology
can act to reduce the boundary layer receptivity and delay of
transition. In one preferred aspect, the surface is specifically
patterned to facilitate interference with the growth process of
the most unstable waves.
One other conventional type of cavity, which has been widely
studied due to the beneficial effects in both heat transfer
applications and separation control (i.e., golf balls), is the
spherical recess or dimple. Numerical and experimental studies
clearly show the formation of a horseshoe vortex such that flow is
injected into the cavity and ejected at the sides of the cavity
where the trailing vortex legs are observed to form. It can be
concluded from the experimental studies that cavities with
variation in depth, such as the dimple, will produce a variation
in the size of the vortex across the cavity and the formation of a
horseshoe vortex system capable of facilitating the
injection/ejection of fluid into/out of the cavity. In other
words, the low pressure vortex center is drawn up towards the side
of the cavity where fluid is easily injected into the cavity flow
vortex from the outer free stream flow. Finally, it is well known
that dimples placed on the flat plate in a turbulent boundary
layer or channel flow result in increased heat transfer with only
a slight drag augmentation. The increase in heat transfer is
attributed to a secondary flow associated with the formation of a
horseshoe vortex pair system, similar to that previously discussed
in the laminar flow case, observed within and around the dimples
that causes fluid to be pumped into and out of the cavity. Yet
because there is no surface protrusion into the flow to increase
pressure drag, the friction over dimpled surfaces is not
dramatically increased. Additionally, transition of the boundary
layer for the dimpled surface was found to remain about the same
as a smooth plat, e.g., at a local Re of about 3×10<6>.
In a further aspect of this embodiment of the present invention,
the methodology contemplates the use of a cavity 52 having a
substantially constant depth. The constant depth cavity helps to
form and maintain a stable cavity flow, with no influx/efflux of
fluid.
Reduction in skin friction drag over a surface can be achieved by
delaying the transition of the boundary layer from the laminar to
turbulent state. This is due to the fact that a laminar boundary
layer has significantly lower shear stress at the surface than a
turbulent one, and attempts to delay transition are labeled as
laminar flow control (LFC). The typical method to maintain laminar
flow is through the use of suction. Alternatively, discrete
roughness elements (DRE) can be used. It has been found that,
through the use of small cylindrical DRE strategically located on
the surface of a plate, Tollmien-Schlichting (TS) instability
waves that are known to lead to natural transition in a flat plate
boundary layer can be suppressed. This can be achieved due to the
formation of steady, optimal low and high speed streaks across the
boundary layer of moderate amplitude, which are found to suppress
the instabilities forming on the TS waves that lead to the
formation of turbulent spots. It has also been shown that
roughness elements, spaced with spanwise wavelengths shorter than
that corresponding to the most amplified disturbance in the
boundary layer, can act as a means of delaying transition in the
case of swept wing boundary layers whereby the cross-flow
instability is suppressed.
In one aspect of the present invention, a microgeometry 60 is
formed in the surface that is exposed to the flow of fluid. In one
example, the microgeometry 60 can comprise a three-dimensional
array 50 of micro-cavities 52 such that the cavity Re remains
small (about on the order Re=2000±500) and the boundary layer
forming over the cavity is sufficiently thick. Such a formed
microgeometry insures that the centrifugal instability, leading to
the formation of Taylor-Gortler vortices, in the cavity flow as
well as any instability of the shear layer (Kelvin-Helmholtz
instability) forming over the cavity openings is prevented. The
result is a stable cavity flow, with no influx/efflux of fluid.
The resulting partial slip condition, formed at the boundary
separating the cavity flow fluid and outer flow fluid, results in
reduced momentum thickness within the boundary layer.
In one experimental example, the alteration of the momentum
thickness was confirmed and resulted in a reduction of drag
coefficient at a distance 18 cm downstream from 0.01736 for the
Blasius solution to 0.00415 sustained over the first eight
cavities (75% reduction).
Previous studies have also focused on MEMS-based flow control. It
had been found by Choi et al. that applying wall-normal opposition
flow control continuously over a surface could be made to
dramatically damp near-wall turbulent fluctuations and thus reduce
turbulent viscous drag. This study used (a) single discrete
actuators consisting of a deep, narrow, sharp-lipped cavity with a
membrane-like actuation inside and detection of normal velocity at
10y+ above the cavity, (b) a spanwise row of such
actuators/detectors, (c) arrays of 18 such actuators/detectors,
and (d) similar actuators but with different means of on-wall
detection shear stress just upstream of the respective actuators.
The study found that drag reductions occurred and that such
discrete devices could modestly control the flow.
In another aspect of the studies, the flow in a plane just above
an open cavity was examined. Even if the flow over the surface is
completely laminar, the study found, as exemplarily shown in FIG.
15, that the above flow experiences a slip-like boundary condition
over the cavity itself. Downstream of the cavity the flow speed
drops rapidly but there is an indication of a lateral interaction
region where the flow speed is elevated and the shear stress on
the solid wall would be elevated. As the flow over the cavity
speeds up, there is a slight convergence of streamlines observed.
Over the cavity the high speed region in red is evidence of a
slip-like boundary condition seen by the above flow. Over the
surrounding solid region, the contours are direct indicators of
shear stress. The pattern becomes more asymmetric as the Reynolds
number is increased. With 15% area coverage by such slots, only a
couple of percent total drag reduction was found, but it is
contemplated that a surface having a larger percentage of open
area would produce larger drag reductions.
Yet another study focused on the creation of a slip surface over a
cavity exposed to a flow of water. In this study, the cavity is
capped with a bubble. It was found that, as long as the bubble was
substantially free of contaminants, the water flow virtually slips
over the smooth surface. This methodology is described in U.S.
Pat. No. 7,044,073, which is incorporated herein in its entirety
by reference.
In various aspects, it is contemplated that the cavities 52 of the
microgeometry 60 can comprise a substantially cubic design, a
honeycomb structure, as shown in FIG. 16, and the like. These
shapes are merely exemplary and no limitation on the geometric
shape of the cavities of the surface is intended.
In another aspect, a method/system for facilitating a controlled
point of transition in the boundary layer and/or delaying
transition is provided. In one aspect, a plurality of discrete
roughness elements (DRE) can be spaced in the spanwise direction
of the surface at the optimal wavelength. This structure will
cause streamwise vortices and low-speed streaks of sufficient
amplitude (such that breakdown to turbulence will take place over
a flat plate) to be generated through the transient growth
mechanism.
In another aspect, a small spanwise slit is provided in the
surface through which, via an alternation of suction and pumping
of fluid, TS waves in the most unstable frequency range are
generated that lead to early transition. In still another aspect,
an adverse pressure gradient for the flow over the boundary layer
is set up such that early transition is promoted. This can be
exemplarily achieved by placing the flat plate surface at a small
angle of attack relative to the flow of fluid such that the flow
over the flat plate is subjected to a diverging area and
subsequently decelerates along the length of the plate.
One exemplary example of a three-dimensional array 50 of
micro-cavities 52 embedded in the surface is the corresponding
partial slip field to which the outer flow is subjected, is shown
in FIG. 18 for an offset, square patterned micro-cavity field. It
is contemplated that this complex partial slip condition pattern
can be configured, via the geometry and sizing of the cavities, to
disrupt the formation of high and low speed streaks in the near
wall layer that lead to the transition to turbulence in the
boundary layer. In one aspect, the partial slip pattern favors the
streamwise direction, and according to the computations of Min
& Kim (2005), a surface dominated by streamwise slip has the
highest potential for transition delay. Thus, the exemplary
microgeometry of the present invention disrupts the formation of
the low-speed streaks and reduces the momentum thickness of the
boundary layer. It should be noted that this higher momentum in
the flow closer to the surface is favorable also in delaying
separation of the boundary layer under adverse pressure gradient
conditions (Gad-el-Hak, 2000).
This embodiment of the present invention thus contemplates the use
of a microgeometry 60 that can comprise an array 50 of cavities 52
in which embedded cavity flows form. The array 50 of cavities 52
being configured to cause transition delay in boundary layer flows
and to reduce skin friction drag. It is contemplated that the
methodologies/systems of the present invention that use such an
embedded micro-cavity surface lead to sub-laminar boundary layer
skin friction coefficients and correspondingly smaller momentum
thickness. While two primary cavity geometries, cubic and
hexagonal have been discussed herein, it is contemplated that
these shapes are not meant to be limiting and that other geometric
shapes can be used, perhaps in combination.
In a further aspect, at least a portion of the edges 54 of
cavities 52 that are substantially aligned with the flow of fluid
over the surface can have upwardly extending ribs that are
connected to and extend outwardly from the top edges 58 of the
cavity. In another aspect, portions of the plurality of cavity
walls 56 of the cavities can extend upwardly above the generalized
plane of the surface to form wall extensions. Thus, in one aspect,
the wall extensions would protrude into the flow of fluid above
the plane of the surface only on those cavity walls 56 that were
aligned with the fluid flow direction. In various aspects, the
wall extensions could extend partially or along the substantial
length of the portion of the cavity walls that are aligned with
the fluid flow direction. Further, the height of the wall
extension above the generalized plane of the surface can be a
multiple of the depth of the cavity. It is contemplated that this
multiple can range between about 0 to about 4. It is contemplated
that the outwardly extending extensions or ribs would beneficial
inhibit cross-flow near the surface and perhaps cavity
influx/efflux.
In another embodiment of the application, it is known that
separation of the boundary layer from the body typically occurs in
vicinities where the flow is decelerating due to change in body
curvature, which results in an adverse pressure gradient. Thus,
separation typically occurs in areas that are posterior of the
maximum body thickness. Incipient separation is characterized by
regions of decreasing skin friction approaching zero, and
consequent reversal of the flow at the surface. A similar process,
known as dynamic stall, characterizes unsteady separation from a
moving surface producing lift (i.e., a pitching airfoil) or thrust
(i.e., an oscillating caudal fin). Unsteady separation is
characterized by a locality where both the shear stress (or skin
friction) and velocity approach zero as seen by an observer moving
with the separation point (known as the MRS criterion). In this
case, a separated region is most likely to occur near the point of
highest curvature (typically near the leading edge) prior to
blending with the wake near the trailing edge. If such separation
occurs in the latter case, lower propulsive efficiencies typically
result. However, if the unsteady separation process can be
controlled, such that the leading edge separation bubble remains
disconnected with the wake then an unsteady high-thrust (or
high-lift) generation mechanism can occur.
In a further embodiment, when three-dimensionality is added to the
separation flow kinematics, the boundary layer separation does not
always coincide with a point of zero shear stress at the wall. In
fact, and as shown in FIG. 19, the shear stress may vanish only at
a limited number of points along the separation line, and a
convergence of skin-friction lines onto a particular separation
line is required for separation to occur. As a result, 3D boundary
layers can be more capable of overcoming an adverse pressure
gradient without separating. Thus, in this embodiment, it is
contemplated that the respective micro-geometries of the
micro-array of roughness elements are configured in a preferential
flow direction. This configuration can prevent the required
convergence of skin friction lines and can passively act to keep
the flow attached, thereby reducing pressure drag.
As contemplated, delaying separation of the flow from a solid
boundary results not only in reduced pressure drag, but also
decreased pressure losses in ducted flows such as through
diffusers and turning elbows. Various mechanisms by which
separation can be controlled have been investigated and
successfully applied in the past. Many of these techniques require
the application of suction and/or blowing at the surface and
require energy input.
The micro-geometries of each of the roughness elements can be
configured to successfully control separation. In this aspect, the
micro-geometries act to impart momentum to the very near-wall
region of the flow, which prevents flow reversal. This can be
achieved by the formation of embedded cavity vortices as shown in
red in FIG. 20. One of the most successful passive means to date
has been the use of vortex generators, or small typically v-shaped
protrusions with profiles less than half the boundary layer
thickness. These have been shown to produce a system of streamwise
vortices, which mix high and low momentum fluid that energizes the
flow close to the surface. Vortex generators need to be placed at
a specific downstream location within a turbulent boundary layer
for maximum performance such that the streamwise vortices affect
the region where separation would normally occur.
As described above, patterned surfaces can also result in
separation control and golf ball dimples present one of the most
well-known illustrations of surface patterning resulting in
separation control and reduced drag. However, the dimples do more
than just trip the boundary layer to the turbulent state. It has
been shown that the formation of embedded cavity vortices, or
small, localized regions of separation within the surface allows
the outer boundary layer flow to skip over the dimples in the
pattered surface. Thus, the use of patterned surfaces, capable of
imposing partial-slip flow conditions at the wall due to the
formation of embedded vortices, can achieve drag reduction via
separation control.
In addition, and as contemplated herein, if a surface has a
preferred flow direction, which can exemplarily be felt by moving
one's hand over the surface. Movement in the direction of
preferred flow fit would feel smooth to the touch. But, when the
preferred direction surface is felt in the opposite direction, a
higher resistance is imposed and the surface feels rougher. Thus,
this aspect acts to enhance the boundary layer control mechanism
of the micro-geometries by providing a preferential flow direction
of the surface that is capable of locally resisting the reversal
of flow at or near the surface. Therefore, the configured surface
has the potential to disrupt the convergence of skin-friction
lines onto a particular separation line, which controls
three-dimensional separation. The contemplated micro-array of
roughness elements, with the exemplary preferred flow direction
micro-geometries can aid in separation control and or transition
delay.
Flow experiments have been conducted on an exemplary model array
surface, shown in FIGS. 21A and 21B. In this exemplary array of
roughness elements, a 16×24 array of roughness elements were
scaled up from 0.2 mm to 20 mm for the model. Similarity of the
cavity flow is achieved by matching the cavity Re ~2800 between
real application at higher velocities and model (the scale-up in
size is countered by a scale-down in velocity over the surface
from 14 m/s to 14 cm/s with negligible change in viscosity). In
one experiment, a long flat plate ( ~180 cm) with an elliptic
leading edge was used to grow the boundary layer sufficiently
thick such that shear layer instabilities over the cavity vortices
were not observed to develop. It has been shown that a vortex
forming in a square cavity remains stable at Re=10,000 as long as
the boundary layer thickness was more than roughly 20% of the
cavity depth.
Referring to FIG. 21C, the experimental results confirmed the
presence of cavity vortices within the micro-array. The results
also show that with the sufficient growth of a boundary layer
upstream of the model (local Re=2×10<5>), transition is not
tripped by the surface and the flow skips over the cavities.
Referring now to FIG. 22A-22C, a time-resolved digital particle
image velocimetry system was used to capture 2D velocity data
within and above the exemplified micro-array surface. In FIG. 22A,
the middle roughness element corresponds to a valley in the
configuration geometry, and the first and third elements to peaks.
In this exemplary aspect, the flow accelerates over the cavity
spanning the first and third denticles or roughness elements, with
the primary formation of vorticity being measured in front of the
third denticle (flow being from left to right in the figure). In
this example, and as shown in FIG. 22B, the flow accelerates as it
passes over the cavity between the denticles and reaches speeds on
the order of 5-10% of the freestream flow (U) and has an average
velocity in the y=0 plane of 0.03U. In the purely flat surface
case, the no slip condition at y=0 enforces a zero velocity
boundary condition to the boundary layer flow.
It is contemplated that the flow velocity at the streamline
separating the cavity flow from the outer boundary layer flow will
further increase concomitantly with a decrease in the boundary
layer thickness (in the current exemplary case this is about 21
mm, or roughly the same size as the cavity depth and thus a fairly
thick boundary layer is used for these results). In the case where
the boundary layer is tripped prior to the configured denticle
model this increases to an average velocity in the y=0 plane of
0.14U as a result of the higher momentum closer to the surface
from the presence of the turbulent boundary layer above the
denticle model. As shown in FIG. 22C, periodic exchange of fluid
is observed in the turbulent boundary layer case between the
cavity flow and boundary flow, but on average the flow displays
only a streamwise component above the cavity. These results are
consistent with the cavity flow exchange observed in
two-dimensional transverse ribbed surfaces. Thus, it is
contemplated that a micro-array of erect rounghness elements leads
to higher momentum in the fluid at y=0 for both laminar and
turbulent boundary layer conditions which makes such a roughness
surface a good candidate as a mechanism for separation control.
In one aspect, it is contemplated that the roughness elements
described herein can be positioned at an angle relative to the
flow of fluid across the roughness surface. The example shown in
FIG. 22A, illustrates an exemplary roughness element that is
extending substantially normal to the flow of fluid. It is
contemplated that the roughness element can be positioned at a
selected angle or angles relative to the flow such that a
preferential flow direction surface is formed.
Positioning the roughness elements at more acute angles will
result in shallower cavity areas that are conducive to embedded
vortex formation within the geometry. As the angle increases
toward normal, the inter-element cavity distance between the
roughness elements increases. FIG. 20 shows the theorized cavity
vortices, which should form between adjacent roughness elements
for angled configurations. The vortices that form may be more
shallow and oblong in nature than previously reported. Yet, even
in very shallow circular depression roughness, such as dimples on
a golf ball, the existence of a cavity vortex is found to occur
even at low Re. It is postulated that the primary mechanism by
which separation control is achieved is the partial slip over the
embedded cavity vortices. However, small-scale mixing of fluid
into and out of the cavities may also provide an additional
mechanism delaying or preventing separation for turbulent or
transitioning boundary layer conditions.
Experimentally, flow visualization and DPIV measurement can be
used to look for anisotropy in the near-wall motions with
restriction of the spanwise momentum and increase in the
streamwise momentum, alteration to the time-averaged Reynolds
stresses in the vicinity close to the surface, decrease in the
growth rate of turbulent spots, and decrease in the spatial
density of turbulent spots. All of the above are good indicators
that the microgeometry is working to delay the latter stages of
transition.
The preceding description of the invention is provided as an
enabling teaching in its best, currently known embodiment. To this
end, those skilled in the relevant art will recognize and
appreciate that many changes can be made to the various aspects of
the invention described herein, while still obtaining the
beneficial results of the present invention. It will also be
apparent that some of the desired benefits of the present
invention can be obtained by selecting some of the features of the
present invention without utilizing other features. The
corresponding structures, materials, acts, and equivalents of all
means or step plus function elements in the claims below are
intended to include any structure, material, or acts for
performing the functions in combination with other claimed
elements as specifically claimed.
Accordingly, those who work in the art will recognize that many
modifications and adaptations to the present invention are
possible and can even be desirable in certain circumstances and
are a part of the present invention. Other embodiments of the
invention will be apparent to those skilled in the art from
consideration of the specification and practice of the invention
disclosed herein. Thus, the preceding description is provided as
illustrative of the principles of the present invention and not in
limitation thereof. It is intended that the specification and
examples be considered as exemplary only, with a true scope and
spirit of the invention being indicated by the following claims.
REFERENCES
Anderson, E., McGillis, W. & Grosenbaugh, M. 2001. The
Boundary Layer of Swimming Fish. J. Exp. Biology 204:81-102
Bandyopadhyay, P. 1988 Resonant Flow in Small Cavities Submerged
in a Boundary Layer. Proc. R. Soc. Lond. A 420:219-245
Balasubramanian, A., Miller, A., Traub, L., & Rediniotis, O.
2003. Biomimetic Nanostructure Skin for Hydrodynamic Drag
Reduction. AIAA Pap. 2003-785, AIAA, Reno, Nev.
Bechert, D. W., Bartenwerfer, M. & Hoppe, G. 1986. Drag
Reduction Mechanisms Derived from the Shark Skin. ICAS Congress,
15th, London, 1044-1068
Bechert, D. W., Bruse, M., Hage, W., Van der Hoeven, J. &
Hoppe, G. 1997. Experiments on Drag-Reducing Surfaces and their
Optimization with an Adjustable Geometry. J. Fluid Mech. 338:59-87
Bechert, D. W., Bruse, M., Hage, W. & Meyer, R. 2000, Fluid
Mechanics of Biological Surfaces and their Technological
Application. Naturwissenschaften 80:157-171
Bechert, D. W., Hoppe, G. & Reif, W. E. 1985. On the Drag
Reduction of the Shark Skin. AIAA Shear Flow Control Conference,
March 12-14, Boulder, Colo., AIAA Paper 85-0546
Bechert, D. W., Hage, W., Brusek, M. 1996. Drag Reduction with the
Slip Wall. AIAA Journal 35(5):1072-1074
Bernard, P. & Wallace, J. 2002. Turbulent Flow: Analysis,
Measurement & Prediction. John Wiley & Sons, Inc.,
Hoboken, N.J.
Blake, R. 2004. Fish Functional Design and Swimming Performance.
J. of Fish Biology 65:1193-1222
Boiko, A., Grek, G., Dovgal, A. & Kozlov, V. 2002. The Origin
of Turbulence in Near-Wall Flows. Springer-Verlag, Berlin.
Boiko, A., Kozlov, V., Scherbakov, V. & Syzrantsev, V. 1997.
Transition Control by Riblets in a Swept Wing Boundary Layer with
an Embedded Streamwise Vortex. Eur. J. of Mech. B, Fluids
16(4):465-482
Brehmer, M. Conrad, L. & Funk. L. 2003. New Developments in
Soft Lithography. J. of Disp. Sci & Tech. 24(3/4):291-304
Breuer, K., Park, J., & Henoch, C. 2004. Actuation and Control
of a Turbulent Channel Flow using Lorentz Forces. Phys. of Fluids
16(4):897-907
Bruse, M., Bechert, D., van der Hoeven, J., Hage, W. & Hoppe,
G. 1993. Experiments with Conventional and with Novel Adjustable
Drag-Reducing Surfaces. Proc. of the Int. Cong. On Near-Wall
Turbulent Flows, Tempe, Ariz., 719-738
Bushnell, D. 1983 Turbulent Drag Reduction for External Flows,
AIAA Paper 83-227
Bushnell, D. & Moore, K. 1991 Drag Reduction in Nature. Ann.
Rev. Fluid Mech., 23:65-79
Chernyshov, O. & Zayets, V. 1970. Some Peculiarities of the
Structure of the Skin of Sharks. Bionika 4:77-83
Choi, H., Moin, P. & Kim, J. 1993. Direct Numerical Simulation
of Turbulent Flow over Riblets. J. Fluid Mech. 255:503-539
Choi, K. & Fujisawa, N. 1993 Possibility of Drag Reduction
using d-type Roughness. App. Sci. Res. 50:315-324
Choi, K. 2000. Europena Drag-reduction Research—Recent
Developments and Current Status. Fluid Dyn. Res. 26:325-335
Choi, J, Jeon, W. & Choi, H. 2006. Mechanism of Drag Reduction
by Dimples on a Sphere. Phys. of Fluids 18 (041702):1-4
Colgate, J. & Lynch, K. 2004. Mechanics and Control of
Swimming: A Review. IEEE J. of Ocean Eng. 29(3):660-673
Corebett, P. & Bottaro, A. 2000. Optimal Perturbations for
Boundary Layers Subject to Stream-wise Pressure Gradient. Phys. of
Fluids 12 (1):120-131
Davies, C. & Carpenter, P. 1997. Numerical Simulation of the
Evolution of Tollmien-Schlichting Waves over Finite Compliant
Panels. J. Fluid Mech. 335:361-392
Delery, J. 2001. Robert Legendre and Henri Werle: Toward the
Elucidation of Three-Dimensional Separation. Ann. Rev. Fluid Mech.
33:129-154
Djenidi, L., Anselmet, F. & Antonia, R. 1999. The Turbulent
Boundary Layer over Transverse Square Cavities. J. Fluid Mech.
395:271-294
Doligalski, T., Smith, C. & Walker, J. 1994. Vortex
Interactions with Walls. Ann. Rev. Fluid Mech. 26:573-616
Donley, J. M., Sepulveda, C. A., Konstantinidis, P., Gemballa, S.,
Shadwick, R. E. 2004. Convergent Evolution in Mechanical Design of
Lamnid Sharks and Tunas. Nature 429: 61-65
Fish, F., 1998. Imaginative Solutions by Marine Organisms for Drag
Reduction. Proceedings of the International Symposium on Seawater
Drag Reduction, 1-8.
Fish, F. 2006. The Myth and Reality of Gray's Paradox: Implication
of Dolphin Drag Reduction for Technology. Bioinsp. Biomim. 1:17-25
Fish, F. & Lauder, G. 2006. Passive and Active Flow Control by
Swimming Fishes and Mammals. Ann. Rev. Fluid Mech. 38:193-224
Fransson, J., Talamelli, A., Brandt, L. & Cossu, C. 2006.
Delaying Transition to Turbulence by a Passive Mechanism. Phys.
Rev. Letters 96(6):064501-4
Fransson, J. 2004 Leading Edge Design Process using a Commercial
Flow Solver. Exps. in Fluids 37:929-932
Fransson, J., Brandt, L., Talamelli, A. & Cossu, C. 2005
Experimental Study of the Stabilization of Tollmein-Schlichting
Waves by Finite Amplitude Streaks. Phys. of Fluids 7(5)
Fulcher, B. & Motta, P. 2006. Suction disc performance of
echeneid fishes. Cand. J. Zool. 84:42-50
Gad-el-Hak, M. 2000. Flow Control: Passive, Active and Reactive
Flow Management. Cambridge University Press, Cambridge, UK.
Gatski, T. & Grosch, C. (1985) Embedded Cavity Drag in Steady
Laminar Flow AIAA Journal 23:1028-1037
Grek, G. Kozlov, V. & Titarenko, S. 1995. The Influence of
Ribltes on a Boundary Layer with Embedded Streamwise Vortices.
Phys. Fluids 7(10): 2504-2506
Hansen, R. & Hoyt, J. 1984. Laminar-toTTurbulent Transition on
a Body of Revolution with an Extended Favorable Pressure Gradient
Forebody. ASME J. Fluids Eng 106:202-210
Hebrank, M. R. 1980. Mechanical Properties and Locomotor Functions
of Eel Skin. Biol. Bull. 158: 58-68.
Huber, D. R., Eason, T. G., Hueter, R. E., & Motta, P. J.
2005. Analysis of Bite Force and Mechanical Design of the Feeding
Mechanism of the Durophagous shark Heterodontus francisci. J. Exp.
Biol. 208: 3553-3571.
Huber, D. R. & Motta, P. J. 2004. A Comparative Analysis of
Methods for Determining Bite Force in the Spiny Dogfish, Squalus
acanthias. J. Exp. Zool. 301A:26-37.
Hess, D & Fu, T. 2003 Impact of Flow Control Technologies on
Naval Platforms AIAA paper 2003-3586
Iuso, G., Onorato, M., Spazzini, P. & Cicca, G. 2002. Wall
Turbulence Manipulation by Large-scale Streamwise Vortices. J.
Fluid Mech. 473:23-58
Jager, W. & Mikelic, A. 2003 Couette Flows over a Rough
Boundary and Drag Reduction. Commun. Math. Phys. 232:429-455
Jimenez, J. 2004. Turbulent Flows over Rough Walls. Ann. Rev.
Fluid Mech. 36:173-196
Joslin, R. (1998) Aircraft Laminar Flow Control. Ann. Rev. Fluid
Mech. 30:1-29
Jung, W. J., Mangiavacchi, N., Akhavan, R. 1992. Suppression of
Turbulence in Wall-bounded Flows by High Frequency Spanwise
Oscillations. Phys. Fluids A 4:1605-7
Karniadakis, G. E. & Choi, K. 2003. Mechanisms on Transverse
Motions in Turbulent Wall Flows. Ann. Rev. Fluid Mech. 35:45-62
Kim, C., Jeon. W. & Choi, H. 2005 Skin-friction Reduction by
Multiple Cavities. 2005 APS DFD Meeting
Lang, A., Hidalgo, P. & Westcott, M. 2006. Flow over a
Biomimetic Surface Roughness Geometry. Bulletin of the 2006 APS
Division of Fluid Dynamics Meeting, Tampa, Fla.
Lang, M., Rist, U. & Wagner, S. 2004. Investigations on
Controlled Development in a Laminar Separation Bubble by means of
LDA and PIV. Exp. In Fluids 36:43-52
Lashkov, Y. & Samoilova, N. 2002. On the Viscous Drag of a
Plate with Spherical Recesses. Fluid Dyn. 37 (2):231-236
Lee, S.-J. & Lee, S.-H. 2001. Flow Field Analysis of a
Turbulent Boundary Layer over a Riblet Surface. Exps. In Fluids
30:152-166
Leonardi, S., Orlandi, P, Smalley, R., Djenidi, L. & Antonia,
A. 2003. Channel Flow with Transverse Square Bars on One Wall. J.
Fluid Mech. 491:229-238
Lin, J. 1999. Control of Turbulent Boundary-layer Separation using
Micro-vortex Generators. AIAA paper 99-3404
Lin, J. 2002. Review of Research on Low-profile Vortex Generators
to Control Boundary-layer Separation. Prog. in Aero. Sci.
38:389-420
Lingham-Soliar, T. 2006. Dorsal Fin in the White Shark,
Carcharodon carcharias: a dynamic stabilizer for fast swimming. J.
of Morph. 263:1-11
Liu, Z-C. & Adrian, R. J. 1999. Evidence for Hairpin Packet
Structure in DNS Channel Flow. Proc. First International Symposium
on Turbulent Shear Flow Phenomena, pp. 609-614
Martin, C. & Aksay, I. 2005. Low-Cost Patterning of Ceramic
Thin Films. Springer, US
Min, T. & Kim, J. 2004. Effects of Hydrophobic Surface on
Skin-friction Drag. Phys. Fluids 16(7):55-4
Min, T. & Kim, J. 2005. Effects of Hydrophobic Surface on
Stability and Transition. Phys. Fluids 17(10):108106-4
Motta. P. 1977. Anatomy and Functional Morphology of Dermal
Collagen Fibers in Sharks. Copeia 3:454-464
Narasimha, R. & Sreenivasan, K. 1973. Relaminarization in
Highly Accelerated Turbulent Boundary Layers. J. Fluid Mech.
61:187-199
Neumann, D. & Dinkelacker, A. 1989. Drag Reduction by
Longitudinal Riblets on the Surface of a Streamwise Aligned Body
of Revolution. In Drag Reduction in Fluid Flows, Ellis Horwood.
Pavlov, V. 2006. Dolphin Skin as a Natural Anisotropic Compliant
Wall. Bioinsp. Biomim. 1:31-40
Ramanan, N. & Homsy, G. 1994. Linear Stability of Lid-driven
Cavity Flow. Phys. Fluids 6 (8):2690-2701
Raschi, W. & Musick, J. 1986. Hydrodynamic Aspects of Shark
Scales. NASA Contractor Rep. 3963
Raschi, W. & Tabit, C. 1992. Functional Aspects of Placoid
Scales: A Review and Update. Aust. J. Mar. Freshwater Res. 43:
123-147.
Reif, W. E. 1985. Morphology and Hydrodynamic Effects of the
Scales of Fast Swimming Sharks. Fortschritte der Zoologie 30:
483-485.
Reif, W. E. 1988. Evolution of High Swimming Velocities in
Sharks—a Case of Escalation? N. Jb. Geol. Palaont. Mh. 6:361-379
Reif, W. & Dinkelacker, A. 1982. Hydrodynamics of the
Squamation in Fast-Swimming Sharks. N. Jahrb. Geol. Palaontol.
164:184-187
Robey, H. 1987. On the Use of a Phased Heater Array for the
Controlled Excitation of Arbitrary Three-dimensional Perturbations
in a Laminar Boundary Layer. Exps. in Fluids 5(1):33-35
Robey, H. 1986. The Nature of Oblique Instability Waves in
Boundary Layer Transition. Ph.D. thesis at the California Inst. of
Tech.
Rohr, J., Latz, M., Fallon, S., Nauen, J. & Hendricks, E.
1998. Experimental Approaches Towards Interpreting
Dolphin-stimulated Bioluminescence. J. Exp. Bio. 201:1447-1460
Saric, W., Carpenter, A., Kluzek, C., Hunt, L., McKnight, C. 7
Schouten, S. (2005) Flight Experiments on Laminar Flow Control in
Swept-wing Boundary Layers 2005 APS DFD Meeting
Saric, W., Reed, H. & White, E. 2003. Stability and Transition
of Three-Dimensional Boundary Layers. Ann. Rev. Fluid Mech.
35:413-440
Sass, G. & Motta, P. 2002. The Effects of Satiation on Prey
Capture Kinematics in the Largemouth Bass, Micropterus Salmoides.
Env. Biol. Fish. 65: 441-454
Savill, A, 1988 A Flow Visualization Investigation of Turbulent
Boundary Layer Structure over Micro Air Bearing Surfaces including
Effect of Outer Layer Manipulation. 2nd Int/Symp. On Fluid
Control, Measurement Mech. And Flow Vis. p. 430-436
Schmid, P. & Henningson, D. 2001 Stability and Transition in
Shear Flows. Springer-Verlag, New York
Schneider, P. 1989. Effects of Controlled Three-dimensional
Perturbations on Boundary Layer Transition. Ph.D. thesis at the
California Inst. of Tech.
Schumacher, J., Carman, M., Estes, t., Feinberg, A., Wilson, L.,
Callow, M., Callow, J. Finlay, J. & Brennan, A. 2007.
Engineering Antifouling Microtopographies—Effect of Feature Size,
Geometry, and Roughness on Settlement of Zoospores of the Green
Alga Ulva. Biofouling 23(1/2):55-62
Segawa, T., Li, F., Yoshida, H., Murakami, K. & Mizunama, H.
2005 Spanwise Oscillating Excitation for Turbulence Drag Reduction
using Alternative Suction and Blowing. AIAA Pap. 2005-488, AIAA,
Reno, Nev.
Sfakiotakis, M., Lane, D. & Davies, J. 1999. Review of Fish
Swimming Modes for Aquatic Locomotion. IEEE J. of Ocean Eng.
24(2):237-252
Sirovich, L & Karlsson, S. 1997. Turbulent Drag Reduction by
Passive Mechanisms. Nature 388:753-755
Su, B., Zhang, D. & Button, T. 2002. Micropatterning of Fine
Scale Ceramic Structures. J. of Mat. Sci. 37:3123-3126
Thorburn, C. 2007. Personal Communication. Video Evidence
Available in Animal Nation: Mako Sharks available on DVD.
Tuncer, I. & Platzer, M. 1999. A Computational Study of Flow
Separation Characteristics and Wake Profiles Behind a Flapping
Airfoil. AIAA paper 99-0648
Videler, J. 1993. Fish Swimming. Chapman and Hall, London.
Videler, J. 1995. Body Surface Adaptions to Boundary-layer
Dynamics. Symp. of the Soc. for Exp. Bio. 49:1-20
Vogel, S. 2003. Comparative Biomechanics: Life's Physical World.
Princeton University Press, Princeton.
Wainwright, S. 1978. Shark Skin: A Function in Locomotion. Science
202:747-749
Walker, J. 2003. Unsteady Separation Processes at High Reynolds
Number and their Control. Flow, Turb. & Comb. 71:61-74
Wang, Z, Yeo, K. & Khoo, B. 2003 Numerical Simulation of
Laminar Channel Flow Over Dimpled Surfaces. AIAA 2003-3964
Wasserman, P. 7 Kloker, M. 2002. Mechanisms and Passive Control of
Crossflow-vortex-induced Transition in a Three-dimensional
Boundary Layer. J. Fluid Mech. 4456:49-84
Wetzel, K. & Farokhi, S. 1996. Interaction of Vortex
Generators and Riblets on an Airfoil. AIAA paper 1996-2428
Wintzer, A. & Motta, P. 2004. The Effects of Temperature on
Prey Capture Kinematics of the Bluegill Sunfish, Lepomis
macrochirus: implications for feeding studies. Cand. J. Zool.
82:794-799
Yao, H., Cooper, R. & Raghunathan, S. 2004. Numerical
Simulation of Incompressible Laminar Flow over Three-dimensional
Rectangular Cavities. J. Fluids Eng. 126:919-927
PASSIVE DRAG MODIFICATION SYSTEM
US8794574
A micro-array surface that provides for drag reduction. In one
aspect, an aerodynamic or hydrodynamic wall surface that is
configured to modify a fluid boundary layer on the surface
comprises at least one array of micro-cavities formed therein the
surface. In one example, the interaction of the micro-cavities
with the boundary layer of the fluid can delay transition of the
fluid over an identical smooth surface without the micro-cavities.
FIELD OF THE INVENTION
[0001] An improved apparatus for reducing or enhancing the skin
friction drag of an aerodynamic or hydrodynamic surface, and in
particular to an improved micro-array surface design for reducing
or enhancing the skin friction drag coefficient and/or heat
transfer rate of aerodynamic or hydrodynamic surfaces.
BACKGROUND
[0002] The promise of drag reduction over solid surfaces in high
Reynolds number flows is one that has captured the attention of
researchers for years, yet has remained illusive. In the past,
numerous approaches have used both passive and active methods to
control the flow in a turbulent boundary layer. In one exemplary
approach, it is relatively well known that the aerodynamic drag of
a surface may be reduced by applying a microscopic “texture” to
the otherwise smooth surface. Although the exact fluid dynamic
mechanism at work in this drag reduction is not well understood,
it is speculated that the reduction relates to controlling the
turbulent vortices in the boundary layer adjacent to the surface.
The microscopic texture reduces the skin friction drag of solids
moving through fluids (e.g., aircraft, ships, cars, etc.), and of
fluids moving along solids (e.g., pipe flow, etc.).
[0003] One well known geometric form for a microscopic,
friction-reducing texture is known as “riblets.” Conventionally,
riblets are positioned on a surface to form an integrated series
of groove-like peaks and valleys with V-shaped cross-sections.
Normally, the riblets are positioned to extend along the
aerodynamic surface of the object in the direction of fluid flow.
In one example, the height of the riblets and the spacing between
the riblets are usually uniform and on the order of 0.001 to 0.01
inches for most applications.
[0004] Dimensionless units, sometimes referred to as wall units,
are conventionally utilized in describing fluid flows of this
type. The wall unit h+ is the non-dimensional distance away from
the wetted surface or more precisely in the direction normal to
the surface, extending into the fluid. Thus h+ is a
non-dimensional measurement of the height of the riblets. The wall
unit s+ is the non-dimensional distance tangent to the local
surface and perpendicular to the flow direction, thus the
non-dimensional distance between the riblets. In the prior art
riblets, h+ and s+ are in the range between 10 and 20. Exemplary
riblet designs can comprise an adhesive film applied to a smooth
solid surface or alternatively, with advanced manufacturing
techniques, the same shapes may be directly formed and integrated
into the structure of the aerodynamic surface.
[0005] The interaction of riblets with the structure of the
turbulent boundary layer of the fluid reduces the skin friction
drag coefficient (Cdf) of the surface by approximately 6% compared
to an identical smooth surface without riblets. This reduction
occurs despite the significant increase in “wetted area” (the
surface area exposed to the fluid stream) of a riblet-covered
surface over a smooth surface. In attempts to further reduce the
Cdf, modifications to conventional V-shaped riblets have been
proposed. Examples include rounding of the peaks and/or valleys of
the respective riblets, as well as even smaller V-shaped notches
in the sides of the larger V-shaped riblets.
[0006] Further examples of improved riblet designs that decreases
skin friction drag with less concomitant increase in wetted area
than conventional riblets include the use of a series of parallel
riblets that extend longitudinally from a smooth surface. In this
example, the riblets have a triangular cross-section in the
transverse direction in which the apex of the cross-section
defines a continuous, undulated ridge with peaks and valleys that
causes an effective reduction in Cdf. The wetted area of this
exemplary design is increased less than with conventional riblets.
SUMMARY
[0007] Embodiments of this invention provide a surface of an
object that is configured to provide for either drag reduction or
enhancement, with the latter being beneficial in applications
where increased turbulent mixing is desired such as in heat
transfer applications. In one aspect, an aerodynamic or
hydrodynamic wall surface that is configured to modify a fluid
boundary layer on the surface comprises at least one array of
roughness elements disposed on and extending therefrom the
surface. In one example, the interaction of the roughness elements
with a boundary layer of fluid can act to delay transition to
reduce the skin friction drag coefficient of the surface over an
identical smooth surface without the roughness elements.
[0008] In a second embodiment, a method for a reduction in skin
friction drag comprises an array of three-dimensional
micro-cavities. In one aspect, an array of stable, embedded cavity
vortices within a micro-roughness surface geometry is formed that
produces a three-dimensionally patterned partial slip condition
over the surface. This complex boundary condition passively forces
the boundary layer flow and results in sub-laminar skin friction.
In another aspect, the formed boundary condition can act to delay
transition to turbulence within the boundary layer. Features of
the transition process from a laminar to a turbulent boundary
layer can occur in small scale flow structures close to the wall.
These structures can be altered by the presence of the
partial-slip boundary condition due the presence of the
micro-cavities.
[0009] Other systems, methods, features, and advantages of the
drag modification system of the present invention will be or
become apparent to one with skill in the art upon examination of
the following figures and detailed description. It is intended
that all such additional systems, methods, features, and
advantages be included within this description, be within the
scope of the passive micro-array system, and be protected by the
accompanying claims.
BRIEF DESCRIPTION OF THE DRAWINGS
[0010] The accompanying drawings, which are incorporated in and
constitute a part of this specification, illustrate certain
aspects of the instant invention and together with the
description, serve to explain, without limitation, the principles
of the invention. Like reference characters used therein indicate
like parts throughout the several drawings.
[0011] FIG. 1 shows a schematic flow model for a drag
enhancing d-type surface roughness, in which downwash is shown
between the counter-rotating vertex pair and upwash, that would
occur on either side, is shown on the front region of the
surface roughness.
[0012] FIG. 2 shows a schematic flow model for a drag
reducing d-type surface roughness, in which outflow, as depicted
by the arrows, from the upstream cavity to the adjacent
neighboring downstream cavity occurs through the valleys in the
saw tooth geometry of the formed ridges.
[0013] FIG. 3 shows a schematic front elevational view of
one embodiment of a ridge of an array of roughness elements of
the present invention. In one aspect, for drag reduction, the
elements can be aligned such that the peaks of the roughness
elements of each adjacent ridge can be staggered and can be
spaced at about half the peak height of the roughness element.
In this view, flow will encounter the ridge by moving into the
figure. In one exemplary aspect, the spacing between the peaks
of the adjoined roughness elements is on the order of about 30
viscous length scales at close to maximum velocity for the fluid
passing over the wall surface.
[0014] FIG. 4 is a side elevational schematic view of the
exemplary micro-array of roughness elements shown in FIG. 3,
showing the tops of the roughness elements of FIG. 3 and showing
the formation of counter-rotating streamwise vortices due to the
staggered alignment of adjacent rows of the roughness elements
in the drag enhancing case. The flow of fluid is directed into
the figure.
[0015] FIG. 5 is a top elevational schematic view of
exemplary vertex structures that form within the transversely
extending cavities of an exemplary micro-array of roughness
elements of FIG. 3 of the present invention, showing fluid flow
moving from the bottom to the top of the figure and showing dark
short lines correspond to the peaks of the roughness element in
FIG. 3.
[0016] FIG. 6 is a perspective view of one embodiment of a
roughness element of a micro-array of the present invention,
showing riblets formed on a front, upstream surface of the
roughness element.
[0017] FIG. 7 is a side elevational view of the roughness
element of FIG. 6.
[0018] FIG. 8 is a top elevational view of the roughness
element of FIG. 6.
[0019] FIG. 9 is front, upstream elevational view of a
plurality of adjoined roughness elements of FIG. 6 that form a
ridge, and showing a plurality of channels formed between
portions of the respective bases and the bottom portions of the
peripheral edges of the respective adjoined roughness elements.
[0020] FIG. 10 is a perspective view of a portion of a
micro-array of the present invention, showing a plurality of
staggered rows of the formed ridges of adjoined roughness
element of FIG. 8, and showing the approximate spacing between
the rows of ridges to be approximately half the height of a
roughness element.
[0021] FIG. 11 is a schematic diagram of cavity flow of
representative fluid flow between the tops of roughness elements
of FIG. 6 and across one “valley,” the roughness elements being
positioned in adjacent ridges or rows. In this diagram, fluid
flow over the surface is from left to right.
[0022] FIG. 12 is a top elevational schematic view of
exemplary vertex structures that form on an exemplary
micro-array of roughness elements of FIG. 6 of the present
invention, showing fluid flow moving from the left to the right
of the figure. The orange vortices represent the outer vortices
shown in FIG. 11 and may have small counter-rotating vortices
superimposed on the outer-vortices that make the flow field
consistent to its neighboring vortices. In the exemplified
aspect with three riblets on the front face of the roughness
element, two counter-rotating vortices would form with an
upwelling between them and a downwash to the flow at the sides.
These vortices are also known as Taylor-Gortler vortices. The
blue vortex tubes represent the vortex cores to the vortex array
that link all the individual outer cavity vortices together.
[0023] FIG. 13 is a graphical illustration of a
two-dimensional computational fluid dynamics (CFD) numerical
calculation through a line of symmetry over the peaks and
valleys of the roughness elements in drag reduction mode. The
cavity Re for this calculation is 2000, and the formation of
stable cavity vortices is observed.
[0024] FIG. 14 is a graphical illustration of the velocity
profiles in the boundary layer forming over the surface in FIG.
13 above the third and eighth cavities. These profiles are
compared to that of a flat plate boundary layer, known as the
Blasius solution. One can observe the non-zero velocity over the
surface of the cavities due to the embedded cavity vortex. One
skilled in the art will appreciate that one can obtain the
momentum thickness of the two boundary layers, which is
proportional to the total drag coefficient on the plate from the
leading edge to that corresponding downstream distance, by
integrating these velocity profiles. In one example, the
momentum thickness over the third cavity is 16.09% of the
momentum thickness of the flat plate Blasius solution, while at
the eighth cavity the percentage of the momentum thickness of
the surface with cavities with respect to the flat plate
solution is 23.91%. Thus, at the third and eighth cavity, the
drag coefficient is reduced by 84% and 76% correspondingly.
[0025] FIG. 15 illustrates isocontours of streamwise
velocity in a laminar flow just over one open cavity in a
periodic array. Upstream of the cavity the flow is uniform. Over
the cavity, the flow speeds up as there is little viscous drag.
The speed-up in fact begins about one cavity width, h, upstream
and extends laterally by a fraction of h. The isocontours of
streamwise velocity are at a height of 0.1h above cavity surface
in a laminar flow and the slot width Re=4 is based on the peak
streamwise velocity in the slot exit plane.
[0026] FIG. 16 shows a perspective view of an exemplary
honeycomb patterned micro-cavity surface.
[0027] FIG. 17 shows a partial cross-sectional view of the
exemplary honeycomb patterned micro-cavity surface of FIG. 16
taken across line 17-17. This example showing the wall of the
cavities configured with a parabolic profile such that the edges
of the cavities are minimal in size.
[0028] FIG. 18 shows an offset, cubic micro-cavity pattern
showing the partial slip pattern (in grey with a green arrow)
boundary condition created by the induced flow of the embedded
vortices. This illustrates the corresponding partial slip field
to which the outer flow is subjected to an exemplary
three-dimensional array of micro-cavities embedded in the wall
surface (the three-dimensional array of micro-cavities being
shown as exemplarily as an offset, square patterned micro-cavity
field). The complex partial slip condition pattern can be
designed, via the geometry and sizing of the cavities, to
disrupt the formation of high and low speed streaks in the near
wall layer that lead to the transition to turbulence in the
boundary layer.
[0029] FIG. 19 shows a typical convergence pattern of
skin-friction lines leading towards a three-dimensional
separation line. When three-dimensionality is added to the
separation flow kinematics, boundary layer separation does not
always coincide with a point of zero shear stress at the wall.
In fact, the shear stress may vanish only at a limited number of
points along the separation line, and a convergence of
skin-friction lines onto a particular separation line is
required for separation to occur.
[0030] FIG. 20 shows the theorized cavity vortices which
should form between adjacent roughness elements for angled
configurations. In this example of a passive micro-roughness
array with preferential flow direction, transverse triangular
roughness elements extend into the flow at an angle between 0
and 90 degrees. The figure illustrates an exemplary array of
roughness elements in which the crown of each respective
roughness element is positioned at an angle of about 40 degrees
with respect to the flow. Preferred flow direction is from left
to right in the figure and the red lines represent embedded
vortices that would form between adjacent roughness elements.
[0031] FIGS. 21A-B shows an exemplified micro-array of
roughness elements built for water testing.
[0032] FIG. 21C shows fluorescent dye visualization of
embedded vortices forming in the exemplary roughness surface
shown in FIGS. 21A and 21B.
[0033] FIGS. 22A-22C show velocity vectors of flow over the
model shown in FIG. 21A. FIG. 22A shows the laminar boundary
conditions; FIG. 22B shows the top view of the laminar boundary
layer; and FIG. 22C shows a side view of the turbulent boundary
layer.

DETAILED DESCRIPTION OF THE INVENTION
[0034] The present invention can be understood more readily by
reference to the following detailed description, examples,
drawings, and claims, and their previous and following
description. However, before the present devices, systems, and/or
methods are disclosed and described, it is to be understood that
this invention is not limited to the specific devices, systems,
and/or methods disclosed unless otherwise specified, as such can,
of course, vary. It is also to be understood that the terminology
used herein is for the purpose of describing particular aspects
only and is not intended to be limiting.
[0035] The following description of the invention is provided as
an enabling teaching of the invention in its best, currently known
embodiment. To this end, those skilled in the relevant art will
recognize and appreciate that many changes can be made to the
various aspects of the invention described herein, while still
obtaining the beneficial results of the present invention. It will
also be apparent that some of the desired benefits of the present
invention can be obtained by selecting some of the features of the
present invention without utilizing other features. Accordingly,
those who work in the art will recognize that many modifications
and adaptations to the present invention are possible and can even
be desirable in certain circumstances and are a part of the
present invention. Thus, the following description is provided as
illustrative of the principles of the present invention and not in
limitation thereof.
[0036] As used in the specification and the appended claims, the
singular forms “a,” “an” and “the” include plural referents unless
the context clearly dictates otherwise. Thus, for example,
reference to “a roughness element” includes arrays of two or more
such roughness elements, and the like.
[0037] Ranges can be expressed herein as from “about” one
particular value, and/or to “about” another particular value. When
such a range is expressed, another embodiment includes from the
one particular value and/or to the other particular value.
Similarly, when values are expressed as approximations, by use of
the antecedent “about,” it will be understood that the particular
value forms another embodiment. It will be further understood that
the endpoints of each of the ranges are significant both in
relation to the other endpoint, and independently of the other
endpoint. It is also understood that there are a number of values
disclosed herein, and that each value is also herein disclosed as
“about” that particular value in addition to the value itself. For
example, if the value “10” is disclosed, then “about 10” is also
disclosed. It is also understood that when a value is disclosed
that “less than or equal to” the value, “greater than or equal to
the value” and possible ranges between values are also disclosed,
as appropriately understood by the skilled artisan. For example,
if the value “10” is disclosed the “less than or equal to 10” as
well as “greater than or equal to 10” is also disclosed. It is
also understood that throughout the application, data is provided
in a number of different formats and that this data represents
endpoints and starting points, and ranges for any combination of
the data points. For example, if a particular data point “10” and
a particular data point 15 are disclosed, it is understood that
greater than, greater than or equal to, less than, less than or
equal to, and equal to 10 and 15 are considered disclosed as well
as between 10 and 15. It is also understood that each unit between
two particular units are also disclosed. For example, if 10 and 15
are disclosed, then 11, 12, 13, and 14 are also disclosed.
[0038] As used herein, the terms “optional” or “optionally” mean
that the subsequently described event or circumstance may or may
not occur, and that the description includes instances where said
event or circumstance occurs and instances where it does not.
[0039] The present invention may be understood more readily by
reference to the following detailed description of embodiments of
the invention and the Examples included therein and to the Figures
and their previous and following description.
[0040] Referring to FIG. 1, an array of roughness elements 10 with
the induced flow field is illustrated. As shown, spanwise or
transverse cavities 16 are defined between the ridges 12 that are
exemplarily formed from adjoined roughness elements 20 that are
positioned substantially transverse to the flow of the fluid over
the surface 2, which results in a series of cavity flows, each
containing a re-circulating flow field. In the exemplary
embodiment illustrated in FIGS. 1 and 2, roughness elements 20 are
integrally connected together to form individual ridges 12 that
are positioned on and extend from the surface 2 substantially
transverse to the flow of fluid across the surface 2. In one
aspect, the ridges 12 are spaced substantially uniform and,
optionally can be variably spaced.
[0041] In one aspect, due to the spacing of the saw tooth peaked
roughness elements 20, an on average streamwise vortex forms in
the flow above each cavity, such as found in the case of drag
enhancing riblets. In one aspect, it is contemplated that the
cavities would comprise vortices of alternating sign as this would
appear to provide the most stable flow regime. In this aspect, and
as illustrated, neighboring vortices contribute to upwashes and
downwashes in an alternating manner across the spanwise direction.
[0042] One skilled in the art will also appreciate that
alternative shapes of the roughness elements 20 are contemplated.
Exemplary alternative shapes can comprise, but are not meant to be
limited to, a blade-like thin peak, which allows the formation of
an increased number of vortices in a predetermined spanwise
dimension, a trapezoidal cross-sectional shape with a flat portion
of the ridge over which the vortices will form, and the like.
[0043] Independent of the ideal shape of the ridges 12, the
overall characteristics of the flow field remains unchanged. In
operation, and referring to FIG. 1, a fluid particle would enter
from the left at some distance above the surface 2, such as
exemplary shown as a flat plate. As the fluid particle approaches
the surface it feels the presence more of the counter-rotating
vortex pair and is pulled downward into a region of downwash. As
it enters this downwash, the fluid particle enters the cavity 16
and is spun around, in an almost slingshot type motion, and
injected back out above the surface through an upwash region of
the channels. From a heat transfer standpoint, the proposed
surface causes fluid particles far away from the surface to come
in contact (or very near) to the surface for a short period of
time and then to be pushed out again far above the surface. With
this “on average” flow field, the burst/sweep process has been
accentuated and controlled to take place in an organized manner.
Thus, in one aspect, the exemplary array of roughness elements 10
provides an efficient manner by which a turbulent boundary layer
flow can be optimized for convective heating/cooling purposes over
a solid surface.
[0044] In one exemplary aspect, in order to cause as much fluid as
possible to come in contact with the “rough” surface 2, the
spacing between the transverse cavities 16 should be minimized.
However, if the spacing became too small, the mass flow rate
pumped through the cavities would decrease due to viscous effects.
In one exemplary aspect, the average height of the ridges
(h<+>) is substantially equal to the width of the cavity
(w<+>), or is about a one to one height to width ratio
(h<+>˜w<+>). In another aspect, with respect to the
average height of the cavities, it can be greater than about half
the peak-to-peak amplitude of the saw tooth pattern along the
ridges. In an exemplary aspect, the amplitude for riblet spacing
would be about and between 10 s<+>to 20 s<+>. In
another example, the amplitude would be about 15 s<+>. In
this aspect, this would also be the average height of the ridges,
with the minimum valley point of the ridges located at an
elevation of s<+>that is about 7.5 (±2.5) above the bottom
of the cavity, and maximum peak located at s<+>that is about
22.5 (±2.5).
[0045] In a further aspect, the wavelength of the saw tooth
pattern can be about ?<+>=40, based on the size of a typical
vortex mentioned previously of s<+> being about 30. This
would be sufficient to hold a vortex between the peaks. Of course,
it will be appreciated that these dimensions are exemplary only
and are not meant to be limiting. Further, one will appreciate
that the exemplary dimensions can be scaled as desired.
[0046] Referring now to FIG. 2, an exemplary flow field through
the drag reducing roughness element 20 is illustrated. It has been
demonstrated that a series of transverse cavities 16 with
substantially constant ridge height is prone to a random
efflux/influx of fluid due to the high shear region located above
the cavities. This high shear region results in the formation of
streamwise vortices and low speed streaks above the cavities such
as found in the smooth surface case. It is likely that the peak
velocity may be larger for cavities 16 formed by a series of
transverse blades, but would more than likely still be a large
enough percentage below the freestream that streamwise vortices
would still be formed due to a high shear region above the
cavities. As shown in FIG. 2, to prevent and/or reduce the
efflux/influx process out/into the cavities, a saw tooth geometry
is defined by the respective roughness elements 20 that form the
ridges of the array of roughness elements.
[0047] In this example, the substantially transverse cavities
formed between the adjacent ridges help with the stability of the
flow field as the flow through the cavities is given a longer
distance (two cavity widths as opposed to one) by which it is
exposed and pulled along by the flow directly above. As a result
of the exemplary geometry, the estimated peak velocity achieved is
in a range between about 5 to 40 percent of the freestream flow.
Second, the jets formed through the cavities are substantially
tangent to the flow above so that very little vertical velocity
component is formed. If one were looking down onto the surface,
the formed jets would appear to be a periodic array of suction and
blowing at a smooth wall. Finally, the flow acting on the bottom
of the cavities results in a shear stress that provides thrust to
the surface. In this case the effect is such that it may act to
cancel out a large percentage of the skin friction losses due to
the momentum change in the flow over the vertical walls of the
cavities. It is contemplated that this effect is more pronounced
as higher peak velocities in the jets (and thus closer to the
bottom surface of the cavities) are achieved. Thus, in one
example, the width of the cavities 16 can be increased or
maximized (such that the stable flow field in FIG. 2 is
maintained) so as to decrease the number of spanwise channels over
a given surface area.
[0048] In this aspect, considering an averaged streamline through
the roughness element, a fluid particle that starts from the left
close to the surface would approach a transverse cavity in the
array and upon entering the cavity be captured by the cavity
vortex and travel around in a spiral motion before being passed
through another cavity just to enter the neighboring cavity and
repeat the previous motion. In this example, all fluid near the
ridge stays near the ridge and there is little or no on average
vertical velocity component away from the cavities of the array.
Given the flow model as stated, and that the cavities are
dimensionally small enough such that viscous effects dominate, it
is contemplated that the net skin friction drag over such an
exemplary surface could start to approach that of a laminar flat
plate boundary layer.
[0049] In one aspect, the formed “rough” surface can be
categorized as a series of trapezoidal channels (d-type roughness
geometry) that are orientated in the spanwise direction
(transverse to the flow of fluid across the array), but, in one
exemplary aspect, with a saw tooth geometry of alternating peaks
along the ridges of the channels giving the surface a
three-dimensional, yet repeatable, pattern. The alignment of the
peaks in the streamwise direction of the flow of fluid is proposed
to increase drag, while the alternation of the peaks in the
streamwise direction will decrease drag. In one aspect, the
spacing between the ridges in the streamwise direction can vary
from 1/2 to a full value of the peak height (or amplitude) of the
ridges with respect to the bottom of the cavities. In another
aspect, the distance between adjacent successive ridges can be in
a range of between about 40 to 60% of the peak longitudinal height
or amplitude of the roughness elements that form the respective
ridges. Optionally, the distance between adjacent successive
ridges can be in a range of between about 45 to 55% of the peak
longitudinal height or amplitude of the roughness elements that
form the respective ridges
[0050] In an alternative embodiment of the invention, and
referring now to FIGS. 3-12, the micro-array 10 can comprise a
plurality of roughness elements 20 that can extend from the
surface and be positioned in spaced ridges 16 along the surface 2.
In this aspect, it is contemplated that each roughness element 20
has a front, upstream surface 22 and an opposing rear, downstream
surface 24. Further, each roughness element has a peripheral edge
26 that has an upper portion 28 that tapers to a top 29 and a
bottom portion 30 that tapers to a base 31. As one would
appreciate, the base is configured to be connected to the
underlying surface 2 of the object. In one exemplified aspect, the
roughness elements 20 are positioned on the underlying surface 2
substantially transverse to the flow of the fluid across the
surface. In another aspect, the roughness elements extend
substantially normal to the underlying surface. For example, and
not meant to be limiting, the transverse longitudinal height of
the roughness elements can be between about 0.001 to 2.00 cm.
[0051] In one aspect, a plurality of roughness elements 20 can be
positioned transverse to the flow of fluid across the surface such
that a distance between a medial portion 32 of the peripheral
edges of adjacent and aligned roughness elements 20 is less than
the distance between the respective tops 29 of the roughness
elements and is less than the distance between the respective
bases 31 of the roughness elements. In a further aspect, adjacent
and aligned roughness elements can be connected at some selected
portion of the respective peripheral edges of the roughness
elements. In this aspect, a channel 34 is defined therebetween
portions of the bases and the bottom portions of the peripheral
edges of the adjacent and adjoined roughness elements. In one
exemplary aspect, it is contemplated that the formed channels
would extend longitudinally substantially co-axial to the flow of
the fluid across the surface. In an alternative aspect, the
adjoining roughness elements can be connected together such that
no channel is formed therebetween the respective adjoining
elements. In a further aspect, the adjoined roughness elements can
form a “saw tooth” ridge that extends substantially transverse to
the fluid flow.
[0052] In one embodiment, the roughness element 20 has a
substantially diamond cross-sectional shape, as shown in FIG. 3.
Alternatively, and as shown in FIG. 6, the roughness element 20
can have a substantially oval shape. Of course, one skilled in the
art will appreciate that other geometric shapes are contemplated
and that the aspects illustrated are merely exemplary.
[0053] Referring now to FIGS. 6-10, in one aspect, it is
contemplated that the front, upstream surface 22 of the roughness
element 20 has a curved, convex cross-sectional shape relative to
the flow of fluid across the surface 2 of the object. In another
aspect, it is contemplated that the rear, downstream surface 24 of
the roughness element has a curved, concave cross-sectional shape
relative to the flow of fluid to promote the recirculation of the
flow within the cavity, and to act as a streamlining effect in
both stabilizing and promoting the embedded vortex flow field. In
one aspect, this slight concavity in the rear surface 24 of the
roughness element also acts to position the tops 29 of the
roughness elements at a slight, acute angle relative to the
underlying surface such that the tops of the roughness elements do
not protrude into the fluid flow normal to the flow direction. In
one aspect, it is contemplated that the radius of curvature of the
rear surface 24 of the roughness element is less than the radius
of curvature of the front surface 22 of the roughness element.
[0054] In a further aspect of the present invention, each
roughness element 20 can have at least one riblet 40 extending
outwardly therefrom the front surface 22 of the roughness element.
In one aspect, the riblet 40 extends longitudinally from at or
near the bottom portion 30 of the roughness element, proximate the
base 31, to at or near the top 29 of the roughness element. That
is, in one aspect, the riblet extends substantially transverse to
the underlying surface. If a plurality of riblets are used, it is
contemplated that the ribs can be spaced apart substantially equal
or at varying distances. Of course, the number of riblets 40 may
vary in number, but typical values would be that from 1 to 7 per
each longer wavelength of the saw tooth pattern of the formed
ridge of the micro-array. In one aspect, the number of riblets is
1, 3, 5, or 7.
[0055] The presence of the riblets 40 formed to either the front
surface 22, or, optionally, to both sides of the roughness
element, act to give a streamlining effect that is conductive to
the formation and stability of the cavity flows (or vortices)
embedded within the cavities formed between adjacent ridges or
rows of the roughness elements. In one aspect, the addition of the
riblets to the roughness elements micro-geometry help to increase
drag reduction, such as, for example, with higher speed flows. In
a further aspect, the riblets 40 act to excite counter-rotating
vortices within the outer vortex structure that when in even
numbers (formed by an odd number of riblets) promote the stability
of the vortex array in the surface.
[0056] Further, in another aspect, it is contemplated that a
trough 42 is defined therebetween adjacent riblets 40 that is
recessed from the respective tips 44 of the riblets. In one
aspect, the trough may be formed by a smooth, curved surface. Of
course, it is contemplated that the surface of each of the troughs
in the respective roughness element can have a substantially equal
radius of curvature or can vary as desired.
[0057] In another aspect, the riblets 40 have an edge surface 46
that extends between the respective riblets that are adjacent to
the sides of the roughness element. In one aspect, the edge
surface 46 can be substantially planar. Alternatively, at least a
portion of the edge surface can be curved. In the curved aspect,
it is contemplated that the radius of curvature of the edge
surface can be greater than the radius of curvature of the troughs
42 of the roughness elements.
[0058] It is further contemplated that the geometry of the formed
surface of the present invention can be altered as a function of
the thickness of the boundary layer adjacent to the surface. For
example, in regions where the boundary layer is thicker, the tops
29 of the roughness elements 20 may also comprise an additional
saw tooth pattern of shorter wavelength superimposed on the larger
wavelength saw tooth pattern. This is of importance in regions far
downstream from the leading edge of a body where the boundary
layer is thicker, yet the flow outside the boundary layer and
above the surface is of high velocity.
[0059] In a drag reduction mode, the saw tooth pattern on the tops
29 of the roughness elements 20 acts to inhibit the formation of
the optimal perturbations that appear due to the instability of
the shear flow (or boundary layer) above the roughness element and
inside the boundary layer. At lower speeds this wavelength is
larger. Conversely, at higher speeds this wavelength is smaller.
In one exemplary aspect, the smaller wavelength superimposed on
the larger saw tooth tops can vary from between about 1/3 to 1/7
that of the larger wavelength. The sizing is a function of the
speed of the flow outside the boundary layer adjacent to the
surface (U), the kinematic viscosity of the fluid (v) and the
maximum shear in the boundary layer ((du/dy)max). It should be
noted that as a body moves at higher speeds, the boundary layer at
a particular point on the body will reduce in thickness and the
maximum shear sustained in the boundary layer will increase. This
corresponds to a decrease in the wavelength sizing required of the
roughness element to act in drag reduction mode.
[0060] Regardless of whether a surface results in the formation of
embedded vortices within the respective roughness elements or not,
the “male protrusions” that result from the roughness elements and
their sizing may be sufficient enough to delay the transition to
turbulence in the boundary layer and thus still result in drag
reduction. However, to maximize the drag reduction characteristic
of the micro-array of roughness elements of the present invention
would include both the formation of the embedded spanwise vortex
array within the roughness element as well as the protrusion
geometry of the roughness geometry, which leads to the damping of
instabilities in the boundary layer that result in the transition
to turbulence.
[0061] In addition, and as noted above, the downstream side of the
roughness elements can, or can not, comprise a slight concavity to
the surface (see FIG. 7) as well. This thickness to the peak of
the formed ridge provides a smooth line of reattachment for the
separated shear layer over the top of the cavity from the previous
upstream roughness element and at the top of the roughness element
provides for a tangential meeting of this outer flow with the next
downstream embedded cavity vortex (again, see FIG. 7). All of the
elements listed here have to do with the effects of streamlining
the micro-geometry to promote the formation of a stable, embedded
cavity vortex within the roughness element.
[0062] Further, it is contemplated that the micro-array of
roughness elements 10 on the surface 2 can comprise a plurality of
micro-arrays of roughness elements 10 on the respective surface 2.
In this aspect, each micro-array can comprise a plurality of
roughness elements, as described above, of a predetermined height
and/or shape. Thus, it is contemplated that, the plurality of
micro-arrays could comprise arrays of varying sized or shaped
roughness elements.
[0063] In another aspect, each micro-array of roughness elements
can comprise individual roughness elements that vary in respective
scale and/or shape. For example and not meant to be limiting,
adjacent roughness elements could have different relative scaled
dimensions. Thus, a “large” roughness element can adjoin a “small”
roughness element, such that a front view would be of a line or
ridge of the adjoining roughness elements that have a staggered
saw tooth appearance.
[0064] In the arrays discussed above, the formed channel 34
between adjoining roughness elements 20 allows for some of the
reversed flow at the bottom of the cavities between adjacent
span-wise extending ridges of lines of the roughness elements to
head back upstream to the adjacent, neighboring cavity through the
channels between the roughness elements. In operation, a cavity
flow may result such that fluid particles stay in the cavities to
continue the circulatory pattern between the two cavities, i.e.,
entering the downstream cavity over the top of the valley to
return back to the upstream cavity through the gap beneath the
valley as shown in FIG. 11. The juncture of the two adjoining
roughness elements acts as a center for each individual cavity
vortex and may also allow for a secondary pair of vortices to form
inside the larger cavity vortex, which is also shown in FIG. 11.
Referring to FIG. 12, these vortices, one inside each transverse
half cavity, provide a means of interlocking all of the cavity
flows together in an almost chain-link type array of streamlines
that are relatively stable and are not subject to cavity
influx/efflux of flow, which leads to an increase in drag for the
d-type surface. As noted above, the micro-geometrical patterning
of a surface in embodiment for maximum drag reduction mode results
in the formation of an array of embedded cavity flows (or
vortices) between the roughness elements.
[0065] It is contemplated that the flow arranged by this roughness
element is a series of micro-slip walls in which the orange ovals
in FIG. 12 denote each micro-slip wall. From another standpoint,
it is contemplated that the roughness element of the present
invention alters the no slip condition which the outside flow sees
at the wall. Further, it is known that embedded cavity flow can be
used as a means of separation control due to the alteration of the
no-slip condition at the surface. It is contemplated that the
roughness element described herein can be used in applications
that would reduce the pressure drag associated with separated
flows over surfaces.
[0066] In a further aspect of the “roughness” surface, the
thickness of the boundary layer can be in a range of at least 10
to 30% of a cavity height of each cavity such that shear layer
instabilities of cavity vortexes that form therein the plurality
of cavities are reduced. Preferably, the thickness of the boundary
layer is about at least 20% of the cavity height. Typically,
cavity height would be measured from the surface 2 of the object
to the peak or highest amplitude of the roughness elements that
form the transversely disposed ridge. In one aspect, each formed
cavity vortex can have a Re, relative to the cavity height,
velocity of the fluid over the wall surface, and the kinematic
viscosity of the fluid, in the range of between 100 and 20,000,
such that the instability of the formed cavity vortexes are
suppressed. Optionally, each formed cavity vortex can have a Re,
relative to the cavity height, velocity of the fluid over the wall
surface, and the kinematic viscosity of the fluid, in the range of
between 1,000 and 5,000.
[0067] The micro-arrays of the roughness elements of the present
invention would find applicability in drag reduction modalities,
such as, for example and not meant to be limiting, on the surfaces
of aircraft, submarines, ship hulls, high speed trains and the
like. In the case of the flow over the hull of a ship, the
micro-arrays of the roughness elements can impact the boundary
layer formation over the hull and therefore affect the amount of
air ingested below the water line, thereby altering the entire
flow field of a ship's wake. It is also contemplated that the
micro-arrays can be used in pipeline walls as well, which would
result in a large reduction in the amount of energy saved to pump
fluids from one point to another.
[0068] It is also contemplated that the micro-arrays of the
present invention allows for the trapping of pockets of air inside
the cavities such that, for example, in hydrodynamic applications,
the working fluid for the micro-slip walls would consist of these
air pockets. This would also reduce the skin friction for
hydrodynamic applications and, in another aspect, can reduce
cativation.
[0069] Still further, the micro-arrays of roughness element can
act as a means of controlling separation. The effect of the arrays
acts to reduce pressure drag over bluff bodies such as automobiles
and trucks. It can also minimize separation over turbine blades,
airfoils, and helicopter rotors as well as flow through serpentine
ducts, which is often a requirement for inlet geometries for
engines on an aircraft. Optionally, in a drag enhancement mode, a
surface formed with the micro-array of roughness elements of the
present invention allows for highly effective convective cooling
to the surfaces of computer board components, which could greatly
impact the performance of these devices.
[0070] It is also contemplated that the self-cleaning property of
the roughness elements should be excellent due to the high shear
rates resulting over the major portions of the surfaces of the
roughness elements. However, it is also contemplated to use
hydrophobic materials in constructing the roughness elements for
hydrodynamic applications.
[0071] It is contemplated that a surface formed with a micro-array
of roughness element as described above, could be formed for a saw
tooth wavelength that corresponds to that of the optimal
perturbation wavelength for the shear flow inside the boundary
layer. In this example, the alignment or alternation of the peaks
to achieve maximum heat transfer rates and maximum drag at a
surface is considered. In one aspect, the alternation of the peaks
forces the half-wavelength of the saw tooth amplitude to
correspond to the optimal perturbation wavelength. Thus, it is
contemplated that the formed drag reducing surface could become
drag enhancing as the flow speed is increased.
[0072] Referring now to FIGS. 15-18, in an alternative embodiment,
a method for reduction in skin friction drag comprises an array 50
of three-dimensional micro-cavities 52 that are configured to form
an array of stable, embedded cavity vortices such that a
three-dimensionally patterned partial slip condition is produced
over the surface. This complex boundary condition passively forces
the boundary layer flow and results in sub-laminar skin friction.
In another aspect, the formed boundary condition can act to delay
transition to turbulence within the boundary layer.
[0073] For background, it is well known that an open cavity will
form either a single cavity vortex or a system of cavity vortices,
depending on the aspect ratio of the cavity. A thorough review of
much of the relevant studies to date regarding rectangular cavity
flows was given by Yao et al. (2004), who also performed
simulations of the boundary layer flow over various aspect ratio
three-dimensional rectangular cavities. It was determined that,
for square cavities with a length three times the cavity depth,
for a fixed Re, that given a sufficiently thick boundary layer (at
least 20% of the cavity depth in their case) a stable cavity flow
resulted such that no fluid exchange with the outer boundary layer
flow was observed. Thinner boundary layer thicknesses, in this
case, resulted in the formation of Kelvin-Helmholtz (KH)
instabilities within the shear layer forming over the top of the
cavity combined with the development of Taylor-Gortler (TG)
vortices also forming as a secondary flow pattern within the
cavity vortex flow field. Some observations for shallower
cavities, under these unsteady conditions, also indicated the
presence of streamwise vortex structures forming downstream of the
cavity within the boundary layer flow.
[0074] Other work relating to the laminar boundary layer flow over
a single, approximately two-dimensional, transverse embedded
cavity has been performed. Early numerical results by Gatski &
Grosch (1985) looked at the drag force (both due to pressure and
skin friction) over a single embedded square cavity. The
conclusion of this work indicated that the presence of a single
embedded cavity did not appreciably alter the drag characteristics
of the flow. However, they did pose the question as to whether
closely spaced cavities could have a different result (increased
drag reduction) due to leading and trailing edge surfaces no
longer sustaining the increase in shear stress above the values
associated with a flat plate. Finally, they also reported that the
flow in the vicinity of the cavity had a smaller momentum
thickness than that over the flat plates.
[0075] The negative effect of enhanced receptivity for a
two-dimensional ribbed roughness that is typically observed could
be logically attributed to the amplification of the T-S waves by a
periodic 2-D forcing from variation in the shear stress as the
flow passes over the tops of the roughness elements. In one aspect
of the present invention, it is contemplated that a 3-D periodic
forcing can be imposed by the roughness elements. In one aspect,
significant sub-laminar drag over the surface can be achieved by
minimizing the separation distance between the cavities (with the
surface being substantially structurally sound). Further, the
methodology can act to reduce the boundary layer receptivity and
delay of transition. In one preferred aspect, the surface is
specifically patterned to facilitate interference with the growth
process of the most unstable waves.
[0076] One other conventional type of cavity, which has been
widely studied due to the beneficial effects in both heat transfer
applications and separation control (i e., golf balls), is the
spherical recess or dimple. Numerical and experimental studies
clearly show the formation of a horseshoe vortex such that flow is
injected into the cavity and ejected at the sides of the cavity
where the trailing vortex legs are observed to form. It can be
concluded from the experimental studies that cavities with
variation in depth, such as the dimple, will produce a variation
in the size of the vortex across the cavity and the formation of a
horseshoe vortex system capable of facilitating the
injection/ejection of fluid into/out of the cavity. In other
words, the low pressure vortex center is drawn up towards the side
of the cavity where fluid is easily injected into the cavity flow
vortex from the outer free stream flow. Finally, it is well known
that dimples placed on the flat plate in a turbulent boundary
layer or channel flow result in increased heat transfer with only
a slight drag augmentation. The increase in heat transfer is
attributed to a secondary flow associated with the formation of a
horseshoe vortex pair system, similar to that previously discussed
in the laminar flow case, observed within and around the dimples
that causes fluid to be pumped into and out of the cavity. Yet
because there is no surface protrusion into the flow to increase
pressure drag, the friction over dimpled surfaces is not
dramatically increased. Additionally, transition of the boundary
layer for the dimpled surface was found to remain about the same
as a smooth plat, e.g., at a local Re of about 3×10<6>.
[0077] In a further aspect of this embodiment of the present
invention, the methodology contemplates the use of a cavity 52
having a substantially constant depth. The constant depth cavity
helps to form and maintain a stable cavity flow, with no
influx/efflux of fluid.
[0078] Reduction in skin friction drag over a surface can be
achieved by delaying the transition of the boundary layer from the
laminar to turbulent state. This is due to the fact that a laminar
boundary layer has significantly lower shear stress at the surface
than a turbulent one, and attempts to delay transition are labeled
as laminar flow control (LFC). The typical method to maintain
laminar flow is through the use of suction. Alternatively,
discrete roughness elements (DRE) can be used. It has been found
that, through the use of small cylindrical DRE strategically
located on the surface of a plate, Tollmien-Schlichting (TS)
instability waves that are known to lead to natural transition in
a flat plate boundary layer can be suppressed. This can be
achieved due to the formation of steady, optimal low and high
speed streaks across the boundary layer of moderate amplitude,
which are found to suppress the instabilities forming on the TS
waves that lead to the formation of turbulent spots. It has also
been shown that roughness elements, spaced with spanwise
wavelengths shorter than that corresponding to the most amplified
disturbance in the boundary layer, can act as a means of delaying
transition in the case of swept wing boundary layers whereby the
cross-flow instability is suppressed.
[0079] In one aspect of the present invention, a microgeometry 60
is formed in the surface that is exposed to the flow of fluid. In
one example, the microgeometry 60 can comprise a three-dimensional
array 50 of micro-cavities 52 such that the cavity Re remains
small (about on the order Re=2000±500) and the boundary layer
forming over the cavity is sufficiently thick. Such a formed
microgeometry insures that the centrifugal instability, leading to
the formation of Taylor-Gortler vortices, in the cavity flow as
well as any instability of the shear layer (Kelvin-Helmholtz
instability) forming over the cavity openings is prevented. The
result is a stable cavity flow, with no influx/efflux of fluid.
The resulting partial slip condition, formed at the boundary
separating the cavity flow fluid and outer flow fluid, results in
reduced momentum thickness within the boundary layer.
[0080] In one experimental example, the alteration of the momentum
thickness was confirmed and resulted in a reduction of drag
coefficient at a distance 18 cm downstream from 0.01736 for the
Blasius solution to 0.00415 sustained over the first eight
cavities (75% reduction).
[0081] Previous studies have also focused on MEMS-based flow
control. It had been found by Choi et al. that applying
wall-normal opposition flow control continuously over a surface
could be made to dramatically damp near-wall turbulent
fluctuations and thus reduce turbulent viscous drag. This study
used (a) single discrete actuators consisting of a deep, narrow,
sharp-lipped cavity with a membrane-like actuation inside and
detection of normal velocity at 10y+ above the cavity, (b) a
spanwise row of such actuators/detectors, (c) arrays of 18 such
actuators/detectors, and (d) similar actuators but with different
means of on-wall detection shear stress just upstream of the
respective actuators. The study found that drag reductions
occurred and that such discrete devices could modestly control the
flow.
[0082] In another aspect of the studies, the flow in a plane just
above an open cavity was examined. Even if the flow over the
surface is completely laminar, the study found, as exemplarily
shown in FIG. 15, that the above flow experiences a slip-like
boundary condition over the cavity itself. Downstream of the
cavity the flow speed drops rapidly but there is an indication of
a lateral interaction region where the flow speed is elevated and
the shear stress on the solid wall would be elevated. As the flow
over the cavity speeds up, there is a slight convergence of
streamlines observed. Over the cavity the high speed region in red
is evidence of a slip-like boundary condition seen by the above
flow. Over the surrounding solid region, the contours are direct
indicators of shear stress. The pattern becomes more asymmetric as
the Reynolds number is increased. With 15% area coverage by such
slots, only a couple of percent total drag reduction was found,
but it is contemplated that a surface having a larger percentage
of open area would produce larger drag reductions.
[0083] Yet another study focused on the creation of a slip surface
over a cavity exposed to a flow of water. In this study, the
cavity is capped with a bubble. It was found that, as long as the
bubble was substantially free of contaminants, the water flow
virtually slips over the smooth surface. This methodology is
described in U.S. Pat. No. 7,044,073, which is incorporated herein
in its entirety by reference.
[0084] In various aspects, it is contemplated that the cavities 52
of the microgeometry 60 can comprise a substantially cubic design,
a honeycomb structure, as shown in FIG. 16, and the like. These
shapes are merely exemplary and no limitation on the geometric
shape of the cavities of the surface is intended.
[0085] In another aspect, a method/system for facilitating a
controlled point of transition in the boundary layer and/or
delaying transition is provided. In one aspect, a plurality of
discrete roughness elements (DRE) can be spaced in the spanwise
direction of the surface at the optimal wavelength. This structure
will cause streamwise vortices and low-speed streaks of sufficient
amplitude (such that breakdown to turbulence will take place over
a flat plate) to be generated through the transient growth
mechanism.
[0086] In another aspect, a small spanwise slit is provided in the
surface through which, via an alternation of suction and pumping
of fluid, TS waves in the most unstable frequency range are
generated that lead to early transition. In still another aspect,
an adverse pressure gradient for the flow over the boundary layer
is set up such that early transition is promoted. This can be
exemplarily achieved by placing the flat plate surface at a small
angle of attack relative to the flow of fluid such that the flow
over the flat plate is subjected to a diverging area and
subsequently decelerates along the length of the plate.
[0087] One exemplary example of a three-dimensional array 50 of
micro-cavities 52 embedded in the surface is the corresponding
partial slip field to which the outer flow is subjected, is shown
in FIG. 18 for an offset, square patterned micro-cavity field. It
is contemplated that this complex partial slip condition pattern
can be configured, via the geometry and sizing of the cavities, to
disrupt the formation of high and low speed streaks in the near
wall layer that lead to the transition to turbulence in the
boundary layer. In one aspect, the partial slip pattern favors the
streamwise direction, and according to the computations of Min
& Kim (2005), a surface dominated by streamwise slip has the
highest potential for transition delay. Thus, the exemplary
microgeometry of the present invention disrupts the formation of
the low-speed streaks and reduces the momentum thickness of the
boundary layer. It should be noted that this higher momentum in
the flow closer to the surface is favorable also in delaying
separation of the boundary layer under adverse pressure gradient
conditions (Gad-el-Hak, 2000).
[0088] This embodiment of the present invention thus contemplates
the use of a microgeometry 60 that can comprise an array 50 of
cavities 52 in which embedded cavity flows form. The array 50 of
cavities 52 being configured to cause transition delay in boundary
layer flows and to reduce skin friction drag. It is contemplated
that the methodologies/systems of the present invention that use
such an embedded micro-cavity surface lead to sub-laminar boundary
layer skin friction coefficients and correspondingly smaller
momentum thickness. While two primary cavity geometries, cubic and
hexagonal have been discussed herein, it is contemplated that
these shapes are not meant to be limiting and that other geometric
shapes can be used, perhaps in combination.
[0089] In a further aspect, at least a portion of the edges 54 of
cavities 52 that are substantially aligned with the flow of fluid
over the surface can have upwardly extending ribs that are
connected to and extend outwardly from the top edges 58 of the
cavity. In another aspect, portions of the plurality of cavity
walls 56 of the cavities can extend upwardly above the generalized
plane of the surface to form wall extensions. Thus, in one aspect,
the wall extensions would protrude into the flow of fluid above
the plane of the surface only on those cavity walls 56 that were
aligned with the fluid flow direction. In various aspects, the
wall extensions could extend partially or along the substantial
length of the portion of the cavity walls that are aligned with
the fluid flow direction. Further, the height of the wall
extension above the generalized plane of the surface can be a
multiple of the depth of the cavity. It is contemplated that this
multiple can range between about 0 to about 4. It is contemplated
that the outwardly extending extensions or ribs would beneficial
inhibit cross-flow near the surface and perhaps cavity
influx/efflux.
[0090] In another embodiment of the application, it is known that
separation of the boundary layer from the body typically occurs in
vicinities where the flow is decelerating due to change in body
curvature, which results in an adverse pressure gradient. Thus,
separation typically occurs in areas that are posterior of the
maximum body thickness. Incipient separation is characterized by
regions of decreasing skin friction approaching zero, and
consequent reversal of the flow at the surface. A similar process,
known as dynamic stall, characterizes unsteady separation from a
moving surface producing lift (i.e., a pitching airfoil) or thrust
(i.e., an oscillating caudal fin). Unsteady separation is
characterized by a locality where both the shear stress (or skin
friction) and velocity approach zero as seen by an observer moving
with the separation point (known as the MRS criterion). In this
case, a separated region is most likely to occur near the point of
highest curvature (typically near the leading edge) prior to
blending with the wake near the trailing edge. If such separation
occurs in the latter case, lower propulsive efficiencies typically
result. However, if the unsteady separation process can be
controlled, such that the leading edge separation bubble remains
disconnected with the wake then an unsteady high-thrust (or
high-lift) generation mechanism can occur.
[0091] In a further embodiment, when three-dimensionality is added
to the separation flow kinematics, the boundary layer separation
does not always coincide with a point of zero shear stress at the
wall. In fact, and as shown in FIG. 19, the shear stress may
vanish only at a limited number of points along the separation
line, and a convergence of skin-friction lines onto a particular
separation line is required for separation to occur. As a result,
3D boundary layers can be more capable of overcoming an adverse
pressure gradient without separating. Thus, in this embodiment, it
is contemplated that the respective micro-geometries of the
micro-array of roughness elements are configured in a preferential
flow direction. This configuration can prevent the required
convergence of skin friction lines and can passively act to keep
the flow attached, thereby reducing pressure drag.
[0092] As contemplated, delaying separation of the flow from a
solid boundary results not only in reduced pressure drag, but also
decreased pressure losses in ducted flows such as through
diffusers and turning elbows. Various mechanisms by which
separation can be controlled have been investigated and
successfully applied in the past. Many of these techniques require
the application of suction and/or blowing at the surface and
require energy input.
[0093] The micro-geometries of each of the roughness elements can
be configured to successfully control separation. In this aspect,
the micro-geometries act to impart momentum to the very near-wall
region of the flow, which prevents flow reversal. This can be
achieved by the formation of embedded cavity vortices as shown in
red in FIG. 20. One of the most successful passive means to date
has been the use of vortex generators, or small typically v-shaped
protrusions with profiles less than half the boundary layer
thickness. These have been shown to produce a system of streamwise
vortices, which mix high and low momentum fluid that energizes the
flow close to the surface. Vortex generators need to be placed at
a specific downstream location within a turbulent boundary layer
for maximum performance such that the streamwise vortices affect
the region where separation would normally occur.
[0094] As described above, patterned surfaces can also result in
separation control and golf ball dimples present one of the most
well-known illustrations of surface patterning resulting in
separation control and reduced drag. However, the dimples do more
than just trip the boundary layer to the turbulent state. It has
been shown that the formation of embedded cavity vortices, or
small, localized regions of separation within the surface allows
the outer boundary layer flow to skip over the dimples in the
pattered surface. Thus, the use of patterned surfaces, capable of
imposing partial-slip flow conditions at the wall due to the
formation of embedded vortices, can achieve drag reduction via
separation control.
[0095] In addition, and as contemplated herein, if a surface has a
preferred flow direction, which can exemplarily be felt by moving
one's hand over the surface. Movement in the direction of
preferred flow fit would feel smooth to the touch. But, when the
preferred direction surface is felt in the opposite direction, a
higher resistance is imposed and the surface feels rougher. Thus,
this aspect acts to enhance the boundary layer control mechanism
of the micro-geometries by providing a preferential flow direction
of the surface that is capable of locally resisting the reversal
of flow at or near the surface. Therefore, the configured surface
has the potential to disrupt the convergence of skin-friction
lines onto a particular separation line, which controls
three-dimensional separation. The contemplated micro-array of
roughness elements, with the exemplary preferred flow direction
micro-geometries can aid in separation control and or transition
delay.
[0096] Flow experiments have been conducted on an exemplary model
array surface, shown in FIGS. 21A and 21B. In this exemplary array
of roughness elements, a 16×24 array of roughness elements were
scaled up from 0.2 mm to 20 mm for the model. Similarity of the
cavity flow is achieved by matching the cavity Re ~2800 between
real application at higher velocities and model (the scale-up in
size is countered by a scale-down in velocity over the surface
from 14 m/s to 14 cm/s with negligible change in viscosity). In
one experiment, a long flat plate ( ~180 cm) with an elliptic
leading edge was used to grow the boundary layer sufficiently
thick such that shear layer instabilities over the cavity vortices
were not observed to develop. It has been shown that a vortex
forming in a square cavity remains stable at Re=10,000 as long as
the boundary layer thickness was more than roughly 20% of the
cavity depth.
[0097] Referring to FIG. 21C, the experimental results confirmed
the presence of cavity vortices within the micro-array. The
results also show that with the sufficient growth of a boundary
layer upstream of the model (local Re=2×10<5>), transition
is not tripped by the surface and the flow skips over the
cavities. Referring now to FIG. 22A-22C, a time-resolved digital
particle image velocimetry system was used to capture 2D velocity
data within and above the exemplified micro-array surface. In FIG.
22A, the middle roughness element corresponds to a valley in the
configuration geometry, and the first and third elements to peaks.
In this exemplary aspect, the flow accelerates over the cavity
spanning the first and third denticles or roughness elements, with
the primary formation of vorticity being measured in front of the
third denticle (flow being from left to right in the figure). In
this example, and as shown in FIG. 22B, the flow accelerates as it
passes over the cavity between the denticles and reaches speeds on
the order of 5-10% of the freestream flow (U) and has an average
velocity in the y=0 plane of 0.03U. In the purely flat surface
case, the no slip condition at y=0 enforces a zero velocity
boundary condition to the boundary layer flow.
[0098] It is contemplated that the flow velocity at the streamline
separating the cavity flow from the outer boundary layer flow will
further increase concomitantly with a decrease in the boundary
layer thickness (in the current exemplary case this is about 21
mm, or roughly the same size as the cavity depth and thus a fairly
thick boundary layer is used for these results). In the case where
the boundary layer is tripped prior to the configured denticle
model this increases to an average velocity in the y=0 plane of
0.14U as a result of the higher momentum closer to the surface
from the presence of the turbulent boundary layer above the
denticle model. As shown in FIG. 22C, periodic exchange of fluid
is observed in the turbulent boundary layer case between the
cavity flow and boundary flow, but on average the flow displays
only a streamwise component above the cavity. These results are
consistent with the cavity flow exchange observed in
two-dimensional transverse ribbed surfaces. Thus, it is
contemplated that a micro-array of erect rounghness elements leads
to higher momentum in the fluid at y=0 for both laminar and
turbulent boundary layer conditions which makes such a roughness
surface a good candidate as a mechanism for separation control.
[0099] In one aspect, it is contemplated that the roughness
elements described herein can be positioned at an angle relative
to the flow of fluid across the roughness surface. The example
shown in FIG. 22A, illustrates an exemplary roughness element that
is extending substantially normal to the flow of fluid. It is
contemplated that the roughness element can be positioned at a
selected angle or angles relative to the flow such that a
preferential flow direction surface is formed.
[0100] Positioning the roughness elements at more acute angles
will result in shallower cavity areas that are conducive to
embedded vortex formation within the geometry. As the angle
increases toward normal, the inter-element cavity distance between
the roughness elements increases. FIG. 20 shows the theorized
cavity vortices, which should form between adjacent roughness
elements for angled configurations. The vortices that form may be
more shallow and oblong in nature than previously reported. Yet,
even in very shallow circular depression roughness, such as
dimples on a golf ball, the existence of a cavity vortex is found
to occur even at low Re. It is postulated that the primary
mechanism by which separation control is achieved is the partial
slip over the embedded cavity vortices. However, small-scale
mixing of fluid into and out of the cavities may also provide an
additional mechanism delaying or preventing separation for
turbulent or transitioning boundary layer conditions.
[0101] Experimentally, flow visualization and DPIV measurement can
be used to look for anisotropy in the near-wall motions with
restriction of the spanwise momentum and increase in the
streamwise momentum, alteration to the time-averaged Reynolds
stresses in the vicinity close to the surface, decrease in the
growth rate of turbulent spots, and decrease in the spatial
density of turbulent spots. All of the above are good indicators
that the microgeometry is working to delay the latter stages of
transition.
[0102] The preceding description of the invention is provided as
an enabling teaching in its best, currently known embodiment. To
this end, those skilled in the relevant art will recognize and
appreciate that many changes can be made to the various aspects of
the invention described herein, while still obtaining the
beneficial results of the present invention. It will also be
apparent that some of the desired benefits of the present
invention can be obtained by selecting some of the features of the
present invention without utilizing other features. The
corresponding structures, materials, acts, and equivalents of all
means or step plus function elements in the claims below are
intended to include any structure, material, or acts for
performing the functions in combination with other claimed
elements as specifically claimed.
[0103] Accordingly, those who work in the art will recognize that
many modifications and adaptations to the present invention are
possible and can even be desirable in certain circumstances and
are a part of the present invention. Other embodiments of the
invention will be apparent to those skilled in the art from
consideration of the specification and practice of the invention
disclosed herein. Thus, the preceding description is provided as
illustrative of the principles of the present invention and not in
limitation thereof It is intended that the specification and
examples be considered as exemplary only, with a true scope and
spirit of the invention being indicated by the following claims.
REFERENCES
[0104] Anderson, E., McGillis, W. & Grosenbaugh, M. 2001. The
Boundary Layer of Swimming Fish. J. Exp. Biology 204:81-102
[0105] Bandyopadhyay, P. 1988 Resonant Flow in Small Cavities
Submerged in a Boundary Layer. Proc. R. Soc. Lond. A 420:219-245
[0106] Balasubramanian, A., Miller, A., Traub, L., &
Rediniotis, O. 2003. Biomimetic Nanostructure Skin for
Hydrodynamic Drag Reduction. AIAA Pap. 2003-785, AIAA, Reno, Nev.
[0107] Bechert, D. W., Bartenwerfer, M. & Hoppe, G. 1986. Drag
Reduction Mechanisms Derived from the Shark Skin. ICAS Congress,
15th, London, 1044-1068
[0108] Bechert, D. W., Bruse, M., Hage, W., Van der Hoeven, J.
& Hoppe, G. 1997. Experiments on Drag-Reducing Surfaces and
their Optimization with an Adjustable Geometry. J. Fluid Mech.
338:59-87
[0109] Bechert, D. W., Bruse, M., Hage, W. & Meyer, R. 2000,
Fluid Mechanics of Biological Surfaces and their Technological
Application. Naturwissenschaften 80:157-171
[0110] Bechert, D. W., Hoppe, G. & Reif, W. E. 1985. On the
Drag Reduction of the Shark Skin. AIAA Shear Flow Control
Conference, March 12-14, Boulder, Colo., AIAA Paper 85-0546
[0111] Bechert, D. W., Hage, W., Brusek, M. 1996. Drag Reduction
with the Slip Wall. AIAA Journal 35(5):1072-1074
[0112] Bernard, P. & Wallace, J. 2002. Turbulent Flow:
Analysis, Measurement & Prediction. John Wiley & Sons,
Inc., Hoboken, N.J.
[0113] Blake, R. 2004. Fish Functional Design and Swimming
Performance. J. of Fish Biology 65:1193-1222
[0114] Boiko, A., Grek, G., Dovgal, A. & Kozlov, V. 2002. The
Origin of Turbulence in Near-Wall Flows. Springer-Verlag, Berlin.
[0115] Boiko, A., Kozlov, V., Scherbakov, V. & Syzrantsev, V.
1997. Transition Control by Riblets in a Swept Wing Boundary Layer
with an Embedded Streamwise Vortex. Eur. J. of Mech. B, Fluids
16(4):465-482
[0116] Brehmer, M. Conrad, L. & Funk. L. 2003. New
Developments in Soft Lithography. J. of Disp. Sci & Tech.
24(3/4):291-304
[0117] Breuer, K., Park, J., & Henoch, C. 2004. Actuation and
Control of a Turbulent Channel Flow using Lorentz Forces. Phys. of
Fluids 16(4):897-907
[0118] Bruse, M., Bechert, D., van der Hoeven, J., Hage, W. &
Hoppe, G. 1993. Experiments with Conventional and with Novel
Adjustable Drag-Reducing Surfaces. Proc. of the Int. Cong. On
Near-Wall Turbulent Flows, Tempe, Ariz., 719-738
[0119] Bushnell, D. 1983 Turbulent Drag Reduction for External
Flows, AIAA Paper 83-227
[0120] Bushnell, D. & Moore, K. 1991 Drag Reduction in Nature.
Ann. Rev. Fluid Mech., 23:65-79
[0121] Chernyshov, O. & Zayets, V. 1970. Some Peculiarities of
the Structure of the Skin of Sharks. Bionika 4:77-83
[0122] Choi, H., Moin, P. & Kim, J. 1993. Direct Numerical
Simulation of Turbulent Flow over Riblets. J. Fluid Mech.
255:503-539
[0123] Choi, K. & Fujisawa, N. 1993 Possibility of Drag
Reduction using d-type Roughness. App. Sci. Res. 50:315-324
[0124] Choi, K. 2000. Europena Drag-reduction Research—Recent
Developments and Current Status. Fluid Dyn. Res. 26:325-335
[0125] Choi, J, Jeon, W. & Choi, H. 2006. Mechanism of Drag
Reduction by Dimples on a Sphere. Phys. of Fluids 18 (041702):1-4
[0126] Colgate, J. & Lynch, K. 2004. Mechanics and Control of
Swimming: A Review. IEEE J. of Ocean Eng. 29(3):660-673
[0127] Corebett, P. & Bottaro, A. 2000. Optimal Perturbations
for Boundary Layers Subject to Stream-wise Pressure Gradient.
Phys. of Fluids 12 (1):120-131
[0128] Davies, C. & Carpenter, P. 1997. Numerical Simulation
of the Evolution of Tollmien-Schlichting Waves over Finite
Compliant Panels. J. Fluid Mech. 335:361-392
[0129] Delery, J. 2001. Robert Legendre and Henri Werle: Toward
the Elucidation of Three-Dimensional Separation. Ann. Rev. Fluid
Mech. 33:129-154
[0130] Djenidi, L., Anselmet, F. & Antonia, R. 1999. The
Turbulent Boundary Layer over Transverse Square Cavities. J. Fluid
Mech. 395:271-294
[0131] Doligalski, T., Smith, C. & Walker, J. 1994. Vortex
Interactions with Walls. Ann. Rev. Fluid Mech. 26:573-616
[0132] Donley, J. M., Sepulveda, C. A., Konstantinidis, P.,
Gemballa, S., Shadwick, R. E. 2004. Convergent Evolution in
Mechanical Design of Lamnid Sharks and Tunas. Nature 429: 61-65
[0133] Fish, F., 1998. Imaginative Solutions by Marine Organisms
for Drag Reduction. Proceedings of the International Symposium on
Seawater Drag Reduction, 1-8.
[0134] Fish, F. 2006. The Myth and Reality of Gray's Paradox:
Implication of Dolphin Drag Reduction for Technology. Bioinsp.
Biomim. 1:17-25
[0135] Fish, F. & Lauder, G. 2006. Passive and Active Flow
Control by Swimming Fishes and Mammals. Ann. Rev. Fluid Mech.
38:193-224
[0136] Fransson, J., Talamelli, A., Brandt, L. & Cossu, C.
2006. Delaying Transition to Turbulence by a Passive Mechanism.
Phys. Rev. Letters 96(6):064501-4
[0137] Fransson, J. 2004 Leading Edge Design Process using a
Commercial Flow Solver. Exps. in Fluids 37:929-932
[0138] Fransson, J., Brandt, L., Talamelli, A. & Cossu, C.
2005 Experimental Study of the Stabilization of
Tollmein-Schlichting Waves by Finite Amplitude Streaks. Phys. of
Fluids 7(5)
[0139] Fulcher, B. & Motta, P. 2006. Suction disc performance
of echeneid fishes. Cand. J. Zool. 84:42-50
[0140] Gad-el-Hak, M. 2000. Flow Control: Passive, Active and
Reactive Flow Management. Cambridge University Press, Cambridge,
UK.
[0141] Gatski, T. & Grosch, C. (1985) Embedded Cavity Drag in
Steady Laminar Flow AIAA Journal 23:1028-1037
[0142] Grek, G. Kozlov, V. & Titarenko, S. 1995. The Influence
of Ribltes on a Boundary Layer with Embedded Streamwise Vortices.
Phys. Fluids 7(10): 2504-2506
[0143] Hansen, R. & Hoyt, J. 1984. Laminar-toTTurbulent
Transition on a Body of Revolution with an Extended Favorable
Pressure Gradient Forebody. ASME J. Fluids Eng 106:202-210
[0144] Hebrank, M. R. 1980. Mechanical Properties and Locomotor
Functions of Eel Skin. Biol. Bull. 158: 58-68.
[0145] Huber, D. R., Eason, T. G., Hueter, R. E., & Motta, P.
J. 2005. Analysis of Bite Force and Mechanical Design of the
Feeding Mechanism of the Durophagous shark Heterodontus francisci.
J. Exp. Biol. 208: 3553-3571.
[0146] Huber, D. R. & Motta, P. J. 2004. A Comparative
Analysis of Methods for Determining Bite Force in the Spiny
Dogfish, Squalus acanthias. J. Exp. Zool. 301A:26-37.
[0147] Hess, D & Fu, T. 2003 Impact of Flow Control
Technologies on Naval Platforms AIAA paper 2003-3586
[0148] Iuso, G., Onorato, M., Spazzini, P. & Cicca, G. 2002.
Wall Turbulence Manipulation by Large-scale Streamwise Vortices.
J. Fluid Mech. 473:23-58
[0149] Jager, W. & Mikelic, A. 2003 Couette Flows over a Rough
Boundary and Drag Reduction. Commun. Math. Phys. 232:429-455
[0150] Jimenez, J. 2004. Turbulent Flows over Rough Walls. Ann.
Rev. Fluid Mech. 36:173-196
[0151] Joslin, R. (1998) Aircraft Laminar Flow Control. Ann. Rev.
Fluid Mech. 30:1-29
[0152] Jung, W. J., Mangiavacchi, N., Akhavan, R. 1992.
Suppression of Turbulence in Wall-bounded Flows by High Frequency
Spanwise Oscillations. Phys. Fluids A 4:1605-7
[0153] Karniadakis, G. E. & Choi, K. 2003. Mechanisms on
Transverse Motions in Turbulent Wall Flows. Ann. Rev. Fluid Mech.
35:45-62
[0154] Kim, C., Jeon. W. & Choi, H. 2005 Skin-friction
Reduction by Multiple Cavities. 2005 APS DFD Meeting
[0155] Lang, A., Hidalgo, P. & Westcott, M. 2006. Flow over a
Biomimetic Surface Roughness Geometry. Bulletin of the 2006 APS
Division of Fluid Dynamics Meeting, Tampa, Fla.
[0156] Lang, M., Rist, U. & Wagner, S. 2004. Investigations on
Controlled Development in a Laminar Separation Bubble by means of
LDA and PIV. Exp. In Fluids 36:43-52
[0157] Lashkov, Y. & Samoilova, N. 2002. On the Viscous Drag
of a Plate with Spherical Recesses. Fluid Dyn. 37 (2):231-236
[0158] Lee, S.-J. & Lee, S.-H. 2001. Flow Field Analysis of a
Turbulent Boundary Layer over a Riblet Surface. Exps. In Fluids
30:152-166
[0159] Leonardi, S., Orlandi, P, Smalley, R., Djenidi, L. &
Antonia, A. 2003. Channel Flow with Transverse Square Bars on One
Wall. J. Fluid Mech. 491:229-238
[0160] Lin, J. 1999. Control of Turbulent Boundary-layer
Separation using Micro-vortex Generators. AIAA paper 99-3404
[0161] Lin, J. 2002. Review of Research on Low-profile Vortex
Generators to Control Boundary-layer Separation. Prog. in Aero.
Sci. 38:389-420
[0162] Lingham-Soliar, T. 2006. Dorsal Fin in the White Shark,
Carcharodon carcharias: a dynamic stabilizer for fast swimming. J.
of Morph. 263:1-11
[0163] Liu, Z-C. & Adrian, R. J. 1999. Evidence for Hairpin
Packet Structure in DNS Channel Flow. Proc. First International
Symposium on Turbulent Shear Flow Phenomena, pp. 609-614
[0164] Martin, C. & Aksay, I. 2005. Low-Cost Patterning of
Ceramic Thin Films. Springer, US
[0165] Min, T. & Kim, J. 2004. Effects of Hydrophobic Surface
on Skin-friction Drag. Phys. Fluids 16(7):55-4
[0166] Min, T. & Kim, J. 2005. Effects of Hydrophobic Surface
on Stability and Transition. Phys. Fluids 17(10):108106-4
[0167] Motta. P. 1977. Anatomy and Functional Morphology of Dermal
Collagen Fibers in Sharks. Copeia 3:454-464
[0168] Narasimha, R. & Sreenivasan, K. 1973. Relaminarization
in Highly Accelerated Turbulent Boundary Layers. J. Fluid Mech.
61:187-199
[0169] Neumann, D. & Dinkelacker, A. 1989. Drag Reduction by
Longitudinal Riblets on the Surface of a Streamwise Aligned Body
of Revolution. In Drag Reduction in Fluid Flows, Ellis Horwood.
[0170] Pavlov, V. 2006. Dolphin Skin as a Natural Anisotropic
Compliant Wall. Bioinsp. Biomim. 1:31-40
[0171] Ramanan, N. & Homsy, G. 1994. Linear Stability of
Lid-driven Cavity Flow. Phys. Fluids 6 (8):2690-2701
[0172] Raschi, W. & Musick, J. 1986. Hydrodynamic Aspects of
Shark Scales. NASA Contractor Rep. 3963
[0173] Raschi, W. & Tabit, C. 1992. Functional Aspects of
Placoid Scales: A Review and Update. Aust. J. Mar. Freshwater Res.
43: 123-147.
[0174] Reif, W. E. 1985. Morphology and Hydrodynamic Effects of
the Scales of Fast Swimming Sharks. Fortschritte der Zoologie 30:
483-485.
[0175] Reif, W. E. 1988. Evolution of High Swimming Velocities in
Sharks—a Case of Escalation? N. Jb. Geol. Palaont. Mh. 6:361-379
[0176] Reif, W. & Dinkelacker, A. 1982. Hydrodynamics of the
Squamation in Fast-Swimming Sharks. N. Jahrb. Geol. Palaontol.
164:184-187
[0177] Robey, H. 1987. On the Use of a Phased Heater Array for the
Controlled Excitation of Arbitrary Three-dimensional Perturbations
in a Laminar Boundary Layer. Exps. in Fluids 5(1):33-35
[0178] Robey, H. 1986. The Nature of Oblique Instability Waves in
Boundary Layer Transition. Ph.D. thesis at the California Inst. of
Tech.
[0179] Rohr, J., Latz, M., Fallon, S., Nauen, J. & Hendricks,
E. 1998. Experimental Approaches Towards Interpreting
Dolphin-stimulated Bioluminescence. J. Exp. Bio. 201:1447-1460
[0180] Saric, W., Carpenter, A., Kluzek, C., Hunt, L., McKnight,
C. 7 Schouten, S. (2005) Flight Experiments on Laminar Flow
Control in Swept-wing Boundary Layers 2005 APS DFD Meeting
[0181] Saric, W., Reed, H. & White, E. 2003. Stability and
Transition of Three-Dimensional Boundary Layers. Ann. Rev. Fluid
Mech. 35:413-440
[0182] Sass, G. & Motta, P. 2002. The Effects of Satiation on
Prey Capture Kinematics in the Largemouth Bass, Micropterus
Salmoides. Env. Biol. Fish. 65: 441-454
[0183] Savill, A, 1988 A Flow Visualization Investigation of
Turbulent Boundary Layer Structure over Micro Air Bearing Surfaces
including Effect of Outer Layer Manipulation. 2nd Int/Symp. On
Fluid Control, Measurement Mech. And Flow Vis. p. 430-436
[0184] Schmid, P. & Henningson, D. 2001 Stability and
Transition in Shear Flows. Springer-Verlag, New York
[0185] Schneider, P. 1989. Effects of Controlled Three-dimensional
Perturbations on Boundary Layer Transition. Ph.D. thesis at the
California Inst. of Tech.
[0186] Schumacher, J., Carman, M., Estes, t., Feinberg, A.,
Wilson, L., Callow, M., Callow, J. Finlay, J. & Brennan, A.
2007. Engineering Antifouling Microtopographies—Effect of Feature
Size, Geometry, and Roughness on Settlement of Zoospores of the
Green Alga Ulva. Biofouling 23(1/2):55-62
[0187] Segawa, T., Li, F., Yoshida, H., Murakami, K. &
Mizunama, H. 2005 Spanwise Oscillating Excitation for Turbulence
Drag Reduction using Alternative Suction and Blowing. AIAA Pap.
2005-488, AIAA, Reno, Nev.
[0188] Sfakiotakis, M., Lane, D. & Davies, J. 1999. Review of
Fish Swimming Modes for Aquatic Locomotion. IEEE J. of Ocean Eng.
24(2):237-252
[0189] Sirovich, L & Karlsson, S. 1997. Turbulent Drag
Reduction by Passive Mechanisms. Nature 388:753-755
[0190] Su, B., Zhang, D. & Button, T. 2002. Micropatterning of
Fine Scale Ceramic Structures. J. of Mat. Sci. 37:3123-3126
[0191] Thorburn, C. 2007. Personal Communication. Video Evidence
Available in Animal Nation: Mako Sharks available on DVD.
[0192] Tuncer, I. & Platzer, M. 1999. A Computational Study of
Flow Separation Characteristics and Wake Profiles Behind a
Flapping Airfoil. AIAA paper 99-0648
[0193] Videler, J. 1993. Fish Swimming. Chapman and Hall, London.
[0194] Videler, J. 1995. Body Surface Adaptions to Boundary-layer
Dynamics. Symp. of the Soc. for Exp. Bio. 49:1-20
[0195] Vogel, S. 2003. Comparative Biomechanics: Life's Physical
World. Princeton University Press, Princeton.
[0196] Wainwright, S. 1978. Shark Skin: A Function in Locomotion.
Science 202:747-749
[0197] Walker, J. 2003. Unsteady Separation Processes at High
Reynolds Number and their Control. Flow, Turb. & Comb.
71:61-74
[0198] Wang, Z, Yeo, K. & Khoo, B. 2003 Numerical Simulation
of Laminar Channel Flow Over Dimpled Surfaces. AIAA 2003-3964
[0199] Wasserman, P. 7 Kloker, M. 2002. Mechanisms and Passive
Control of Crossflow-vortex-induced Transition in a
Three-dimensional Boundary Layer. J. Fluid Mech. 4456:49-84
[0200] Wetzel, K. & Farokhi, S. 1996. Interaction of Vortex
Generators and Riblets on an Airfoil. AIAA paper 1996-2428
[0201] Wintzer, A. & Motta, P. 2004. The Effects of
Temperature on Prey Capture Kinematics of the Bluegill Sunfish,
Lepomis macrochirus: implications for feeding studies. Cand. J.
Zool. 82:794-799
[0202] Yao, H., Cooper, R. & Raghunathan, S. 2004. Numerical
Simulation of Incompressible Laminar Flow over Three-dimensional
Rectangular Cavities. J. Fluids Eng. 126:919-927
Passive micro-roughness array for drag
modification
US8113469
The present invention is directed to a micro-array surface that
provides for either drag reduction or enhancement. In one aspect,
an aerodynamic or hydrodynamic wall surface that is configured to
modify a fluid boundary layer on the surface comprises at least
one array of roughness elements disposed on and extending
therefrom the surface. In one example, the interaction of the
roughness elements with a turbulent boundary layer of the fluid
reduces the skin friction drag coefficient of the surface over an
identical smooth surface without the roughness elements.
FIELD OF THE INVENTION
[0002] The present invention relates in general to an improved
apparatus for reducing or enhancing the skin friction drag of an
aerodynamic or hydrodynamic surface, and in particular to an
improved micro-array surface design for reducing or enhancing the
skin friction drag coefficient and/or heat transfer rate of
aerodynamic or hydrodynamic surfaces.
BACKGROUND
[0003] The promise of drag reduction over solid surfaces in high
Reynolds number flows is one that has captured the attention of
researchers for years, yet has remained illusive. In the past,
numerous approaches have used both passive and active methods to
control the flow in a turbulent boundary layer. In one exemplary
approach, it is relatively well known that the aerodynamic drag of
a surface may be reduced by applying a microscopic "texture" to
the otherwise smooth surface. Although the exact fluid dynamic
mechanism at work in this drag reduction is not well understood,
it is speculated that the reduction relates to controlling the
turbulent vortices in the boundary layer adjacent to the surface.
The microscopic texture reduces the skin friction drag of solids
moving through fluids (e.g., aircraft, ships, cars, etc.), and of
fluids moving along solids (e.g., pipe flow, etc.).
[0004] One well known geometric form for a microscopic,
friction-reducing texture is known as "riblets." Conventionally,
riblets are positioned on a surface to form an integrated series
of groove-like peaks and valleys with V-shaped cross-sections.
Normally, the riblets are positioned to extend along the
aerodynamic surface of the object in the direction of fluid flow.
In one example, the height of the riblets and the spacing between
the riblets are usually uniform and on the order of 0.001 to 0.01
inches for most applications.
[0005] Dimensionless units, sometimes referred to as wall units,
are conventionally utilized in describing fluid flows of this
type. The wall unit h+ is the non-dimensional distance away from
the wetted surface or more precisely in the direction normal to
the surface, extending into the fluid. Thus h+ is a
non-dimensional measurement of the height of the riblets. The wall
unit s+ is the non-dimensional distance tangent to the local
surface and perpendicular to the flow direction, thus the
non-dimensional distance between the riblets. In the prior art
riblets, h+ and s+ are in the range between 10 and 20. Exemplary
riblet designs can comprise an adhesive film applied to a smooth
solid surface or alternatively, with advanced manufacturing
techniques, the same shapes may be directly formed and integrated
into the structure of the aerodynamic surface.
[0006] The interaction of riblets with the structure of the
turbulent boundary layer of the fluid reduces the skin friction
drag coefficient (Cdf) of the surface by approximately 6% compared
to an identical smooth surface without riblets. This reduction
occurs despite the significant increase in "wetted area" (the
surface area exposed to the fluid stream) of a riblet-covered
surface over a smooth surface. In attempts to further reduce the
Cdf, modifications to conventional V-shaped riblets have been
proposed. Examples include rounding of the peaks and/or valleys of
the respective riblets, as well as even smaller V-shaped notches
in the sides of the larger V-shaped riblets.
[0007] Further examples of improved riblet designs that decreases
skin friction drag with less concomitant increase in wetted area
than conventional riblets include the use of a series of parallel
riblets that extend longitudinally from a smooth surface. In this
example, the riblets have a triangular cross-section in the
transverse direction in which the apex of the cross-section
defines a continuous, undulated ridge with peaks and valleys that
causes an effective reduction in Cdf. The wetted area of this
exemplary design is increased less than with conventional riblets.
SUMMARY
[0008] Embodiments of this invention provide a surface of an
object that is configured to provide for either drag reduction or
enhancement, with the latter being beneficial in applications
where increased turbulent mixing is desired such as in heat
transfer applications. In one aspect, an aerodynamic or
hydrodynamic wall surface that is configured to modify a fluid
boundary layer on the surface comprises at least one array of
roughness elements disposed on and extending therefrom the
surface. In one example, the interaction of the roughness elements
with a boundary layer of fluid can act to delay transition to
reduce the skin friction drag coefficient of the surface over an
identical smooth surface without the roughness elements.
[0009] Other systems, methods, features, and advantages of the
passive micro-array system will be or become apparent to one with
skill in the art upon examination of the following figures and
detailed description. It is intended that all such additional
systems, methods, features, and advantages be included within this
description, be within the scope of the passive micro-array
system, and be protected by the accompanying claims.
BRIEF DESCRIPTION OF THE DRAWINGS
[0010] The accompanying drawings, which are incorporated in and
constitute a part of this specification, illustrate certain
aspects of the instant invention and together with the
description, serve to explain, without limitation, the principles
of the invention. Like reference characters used therein indicate
like parts throughout the several drawings.
[0011] FIG. 1 shows a schematic flow model for a drag enhancing
d-type surface roughness, in which downwash is shown between the
counter-rotating vertex pair and upwash, that would occur on
either side, is shown on the front region of the surface
roughness.
[0012] FIG. 2 shows a schematic flow model for a drag
reducing d-type surface roughness, in which outflow, as depicted
by the arrows, from the upstream cavity to the adjacent
neighboring downstream cavity occurs through the valleys in the
saw tooth geometry of the formed ridges.
[0013] FIG. 3 shows a schematic front elevational view of
one embodiment of a ridge of an array of roughness elements of
the present invention. In one aspect, for drag reduction, the
elements can be aligned such that the peaks of the roughness
elements of each adjacent ridge can be staggered and can be
spaced at about half the peak height of the roughness element.
In this view, flow will encounter the ridge by moving into the
figure. In one exemplary aspect, the spacing between the peaks
of the adjoined roughness elements is on the order of about 30
viscous length scales at close to maximum velocity for the fluid
passing over the wall surface.
[0014] FIG. 4 is a side elevational schematic view of the
exemplary micro-array of roughness elements shown in FIG. 3,
showing the tops of the roughness elements of FIG. 3 and showing
the formation of counter-rotating streamwise vortices due to the
staggered alignment of adjacent rows of the roughness elements
in the drag enhancing case. The flow of fluid is directed into
the figure.
[0015] FIG. 5 is a top elevational schematic view of
exemplary vertex structures that form within the transversely
extending cavities of an exemplary micro-array of roughness
elements of FIG. 3 of the present invention, showing fluid flow
moving from the bottom to the top of the figure and showing dark
short lines correspond to the peaks of the roughness element in
FIG. 3.
[0016] FIG. 6 is a perspective view of one embodiment of a
roughness element of a micro-array of the present invention,
showing riblets formed on a front, upstream surface of the
roughness element.
[0017] FIG. 7 is a side elevational view of the roughness
element of FIG. 6.
[0018] FIG. 8 is a top elevational view of the roughness
element of FIG. 6.
[0019] FIG. 9 is front, upstream elevational view of a
plurality of adjoined roughness elements of FIG. 6 that form a
ridge, and showing a plurality of channels formed between
portions of the respective bases and the bottom portions of the
peripheral edges of the respective adjoined roughness elements.
[0020] FIG. 10 is a perspective view of a portion of a
micro-array of the present invention, showing a plurality of
staggered rows of the formed ridges of adjoined roughness
element of FIG. 8, and showing the approximate spacing between
the rows of ridges to be approximately half the height of a
roughness element.
[0021] FIG. 11 is a schematic diagram of cavity flow of
representative fluid flow between the tops of roughness elements
of FIG. 6 and across one "valley," the roughness elements being
positioned in adjacent ridges or rows. In this diagram, fluid
flow over the surface is from left to right.
[0022] FIG. 12 is a top elevational schematic view of
exemplary vertex structures that form on an exemplary
micro-array of roughness elements of FIG. 6 of the present
invention, showing fluid flow moving from the left to the right
of the figure. The orange vortices represent the outer vortices
shown in FIG. 11 and may have small counter-rotating vortices
superimposed on the outer-vortices that make the flow field
consistent to its neighboring vortices. In the exemplified
aspect with three riblets on the front face of the roughness
element, two counter-rotating vortices would form with an
upwelling between them and a downwash to the flow at the sides.
These vortices are also known as Taylor-Gortler vortices. The
blue vortex tubes represent the vortex cores to the vortex array
that link all the individual outer cavity vortices together.
[0023] FIG. 13 is a graphical illustration of a
two-dimensional computational fluid dynamics (CFD) numerical
calculation through a line of symmetry over the peaks and
valleys; of the roughness elements in drag reduction mode. The
cavity Re for this calculation is 2000, and the formation of
stable cavity vortices is observed.
[0024] FIG. 14 is a graphical illustration of the velocity
profiles in the boundary layer forming over the surface in FIG.
13 above the third and eighth cavities. These profiles are
compared to that of a flat plate boundary layer, known as the
Blasius solution. One can observe the non-zero velocity over the
surface of the cavities due to the embedded cavity vortex. One
skilled in the art will appreciate that one can obtain the
momentum thickness of the two boundary layers, which is
proportional to the total drag coefficient on the plate from the
leading edge to that corresponding downstream distance, by
integrating these velocity profiles. In one example, the
momentum thickness over the third cavity is 16.09% of the
momentum thickness of the flat plate Blasius solution, while at
the eighth cavity the percentage of the momentum thickness of
the surface with cavities with respect to the flat plate
solution is 23.91%. Thus, at the third and eighth cavity, the
drag coefficient is reduced by 84% and 76% correspondingly.

DETAILED DESCRIPTION OF THE INVENTION
[0025] The present invention can be understood more readily by
reference to the following detailed description, examples,
drawings, and claims, and their previous and following
description. However, before the present devices, systems, and/or
methods are disclosed and described, it is to be understood that
this invention is not limited to the specific devices, systems,
and/or methods disclosed unless otherwise specified, as such can,
of course, vary. It is also to be understood that the terminology
used herein is for the purpose of describing particular aspects
only and is not intended to be limiting.
[0026] The following description of the invention is provided as
an enabling teaching of the invention in its best, currently known
embodiment. To this end, those skilled in the relevant art will
recognize and appreciate that many changes can be made to the
various aspects of the invention described herein, while still
obtaining the beneficial results of the present invention. It will
also be apparent that some of the desired benefits of the present
invention can be obtained by selecting some of the features of the
present invention without utilizing other features. Accordingly,
those who work in the art will recognize that many modifications
and adaptations to the present invention are possible and can even
be desirable in certain circumstances and are a part of the
present invention. Thus, the following description is provided as
illustrative of the principles of the present invention and not in
limitation thereof.
[0027] As used in the specification and the appended claims, the
singular forms "a," "an" and "the" include plural referents unless
the context clearly dictates otherwise. Thus, for example,
reference to "a roughness element" includes arrays of two or more
such roughness elements, and the like.
[0028] Ranges can be expressed herein as from "about" one
particular value, and/or to "about" another particular value. When
such a range is expressed, another embodiment includes from the
one particular value and/or to the other particular value.
Similarly, when values are expressed as approximations, by use of
the antecedent "about," it will be understood that the particular
value forms another embodiment. It will be further understood that
the endpoints of each of the ranges are significant both in
relation to the other endpoint, and independently of the other
endpoint. It is also understood that there are a number of values
disclosed herein, and that each value is also herein disclosed as
"about" that particular value in addition to the value itself. For
example, if the value "10" is disclosed, then "about 10" is also
disclosed. It is also understood that when a value is disclosed
that "less than or equal to" the value, "greater than or equal to
the value" and possible ranges between values are also disclosed,
as appropriately understood by the skilled artisan. For example,
if the value "10" is disclosed the "less than or equal to 10" as
well as "greater than or equal to 10" is also disclosed. It is
also understood that throughout the application, data is provided
in a number of different formats and that this data represents
endpoints and starting points, and ranges for any combination of
the data points. For example, if a particular data point "10" and
a particular data point 15 are disclosed, it is understood that
greater than, greater than or equal to, less than, less than or
equal to, and equal to 10 and 15 are considered disclosed as well
as between 10 and 15. It is also understood that each unit between
two particular units are also disclosed. For example, if 10 and 15
are disclosed, then 11, 12, 13, and 14 are also disclosed.
[0029] As used herein, the terms "optional" or "optionally" mean
that the subsequently described event or circumstance may or may
not occur, and that the description includes instances where said
event or circumstance occurs and instances where it does not.
[0030] The present invention may be understood more readily by
reference to the following detailed description of embodiments of
the invention and the Examples included therein and to the Figures
and their previous and following description.
[0031] Referring to FIG. 1, an array of roughness elements 10 with
the induced flow field is illustrated. As shown, spanwise or
transverse cavities 16 defined between the ridges 12 that are
exemplarily formed from adjoined roughness elements 20 that are
positioned substantially transverse to the flow of the fluid over
the surface 2, which results in a series of cavity flows, each
containing a re-circulating flow field. In the exemplary
embodiment illustrated in FIGS. 1 and 2, roughness elements 20 are
integrally connected together to form individual ridges 16 that
are positioned on and extend from the surface 2 substantially
transverse to the flow of fluid across the surface 2. In one
aspect, the ridges 16 are spaced substantially uniform and,
optionally can be variably spaced.
[0032] In one aspect, due to the spacing of the saw tooth peaked
roughness elements 20, an on average streamwise vortex forms in
the flow above each cavity, such as found in the case of drag
enhancing riblets. In one aspect, it is contemplated that the
cavities would comprise vortices of alternating sign as this would
appear to provide the most stable flow regime. In this aspect, and
as illustrated, neighboring vortices contribute to upwashes and
downwashes in an alternating manner across the spanwise direction.
[0033] One skilled in the art will also appreciate that
alternative shapes of the roughness elements 20 are contemplated.
Exemplary alternative shapes can comprise, but are not meant to be
limited to, a blade-like thin peak, which allows the formation of
an increased number of vortices in a predetermined spanwise
dimension, a trapezoidal cross-sectional shape with a flat portion
of the ridge over which the vortices will form, and the like.
[0034] Independent of the ideal shape of the ridges 12, the
overall characteristics of the flow field remains unchanged. In
operation, and referring to FIG. 1, a fluid particle would enter
from the left at some distance above the surface 2, such as
exemplary shown as a flat plate. As the fluid particle approaches
the surface it feels the presence more of the counter-rotating
vortex pair and is pulled downward into a region of downwash. As
it enters this downwash, the fluid particle enters' the cavity 16
and is spun around, in an almost slingshot type motion, and
injected back out above the surface through an upwash region of
the channels. From a heat transfer standpoint, the proposed
surface causes fluid particles far away from the surface to come
in contact (or very near) to the surface for a short period of
time and then to be pushed out again far above the surface. With
this "on average" flow field, the burst/sweep process has been
accentuated and controlled to take place in an organized manner.
Thus, in one aspect, the exemplary array of roughness elements 10
provides an efficient manner by which a turbulent boundary layer
flow can be optimized for convective heating/cooling purposes over
a solid surface.
[0035] In one aspect of the invention, in order to cause as much
fluid as possible to come in contact with the "rough" surface 2,
the spacing between the transverse cavities 16 should be
minimized. However, if the spacing became too small, the mass flow
rate pumped through the cavities would decrease due to viscous
effects. In one exemplary aspect, the average height of the ridges
(h<+> ) is substantially equal to the width of the cavity
(w<+> ), or is about a one to one height to width ratio
(h<+> ˜w<+> ). In another aspect, with respect to the
average height of the cavities, it can be greater than about half
the peak-to-peak amplitude of the saw tooth pattern along the
ridges. In an exemplary aspect, the amplitude for riblet spacing
would be about and between 10s<+> to 20s<+> . In
another example, the amplitude would be about 15s<+> . In
this aspect, this would also be the average height of the ridges,
with the minimum valley point of the ridges located at an
elevation of s<+> that is about 7.5 (±2.5) above the bottom
of the cavity, and maximum peak located at s<+> that is
about 22.5 (±2.5).
[0036] In a further aspect, the wavelength of the saw tooth
pattern can be about [lambda]<+> =40, based on the size of a
typical vortex mentioned previously of s<+> being about 30.
This would be sufficient to hold a vortex between the peaks. Of
course, it will be appreciated that these dimensions are exemplary
only and are not meant to be limiting. Further, one will
appreciate that the exemplary dimensions can be scaled as desired.
[0037] Referring now to FIG. 2, an exemplary flow field through
the drag reducing roughness element 20 is illustrated. It has been
demonstrated that a series of transverse cavities 16 with
substantially constant ridge height is prone to a random
efflux/influx of fluid due to the high shear region located above
the cavities. This high shear region results in the formation of
streamwise vortices and low speed streaks above the cavities such
as found in the smooth surface case. It is likely that the peak
velocity may be larger for cavities 16 formed by a series of
transverse blades, but would more than likely still be a large
enough percentage below the freestream that streamwise vortices
would still be formed due to a high shear region above the
cavities. As shown in FIG. 2, to prevent and/or reduce the
efflux/influx process out/into the cavities, a saw tooth geometry
is defined by the respective roughness elements 20 that form the
ridges of the array of roughness elements.
[0038] In this example, the substantially transverse cavities
formed between the adjacent ridges help with the stability of the
flow field as the flow through the cavities is given a longer
distance (two cavity widths as opposed to one) by which it is
exposed and pulled along by the flow directly above. As a result
of the exemplary geometry, the estimated peak velocity achieved is
in a range between about 5 to 40 percent of the freestream flow.
Second, the jets formed through the cavities are substantially
tangent to the flow above so that very little vertical velocity
component is formed. If one were looking down onto the surface,
the formed jets would appear to be a periodic array of suction and
blowing at a smooth wall. Finally, the flow acting on the bottom
of the cavities results in a shear stress that provides thrust to
the surface. In this case the effect is such that it may act to
cancel out a large percentage of the skin friction losses due to
the momentum change in the flow over the vertical walls of the
cavities. It is contemplated that this effect is more pronounced
as higher peak velocities in the jets (and thus closer to the
bottom surface of the cavities) are achieved. Thus, in one
example, the width of the cavities 16 can be increased or
maximized (such that the stable flow field in FIG. 2 is
maintained) so as to decrease the number of spanwise channels over
a given surface area.
[0039] In this aspect, considering an averaged streamline through
the roughness element, a fluid particle that starts from the left
close to the surface would approach a transverse cavity in the
array and upon entering the cavity be captured by the cavity
vortex and travel around in a spiral motion before being passed
through another cavity just to enter the neighboring cavity and
repeat the previous motion. In this example, all fluid near the
ridge stays near the ridge and there is little or no on average
vertical velocity component away from the cavities of the array.
Given the flow model as stated, and that the cavities are
dimensionally small enough such that viscous effects dominate, it
is contemplated that the net skin friction drag over such an
exemplary surface could start to approach that of a laminar flat
plate boundary layer.
[0040] In one aspect, the formed "rough" surface can be
categorized as a series of trapezoidal channels (d-type roughness
geometry) that are orientated in the spanwise direction
(transverse to the flow of fluid across the array), but, in one
exemplary aspect, with a saw tooth geometry of alternating peaks
along the ridges of the channels giving the surface a
three-dimensional, yet repeatable, pattern. The alignment of the
peaks in the streamwise direction of the flow of fluid is proposed
to increase drag, while the alternation of the peaks in the
streamwise direction will decrease drag. In one aspect, the
spacing between the ridges in the streamwise direction can vary
from [1/2] to a full value of the peak height (or amplitude) of
the ridges with respect to the bottom of the cavities. In another
aspect, the distance between adjacent successive ridges can be in
a range of between about 40 to 60% of the peak longitudinal height
or amplitude of the roughness elements that form the respective
ridges. Optionally, the distance between adjacent successive
ridges can be in a range of between about 45 to 55% of the peak
longitudinal height or amplitude of the roughness elements that
form the respective ridges
[0041] In an alternative embodiment of the invention, and
referring now to FIGS. 3-12, the micro-array 10 can comprise a
plurality of roughness elements 20 that can extend from the
surface and be positioned in spaced ridges 16 along the surface 2.
In this aspect, it is contemplated that each roughness element 20
has a front, upstream surface 22 and an opposing rear, downstream
surface 24. Further, each roughness element has a peripheral edge
26 that has an upper portion 28 that tapers to a top 29 and a
bottom portion 30 that tapers to a base 31. As one would
appreciate, the base is configured to be connected to the
underling surface 2 of the object. In one exemplified aspect, the
roughness elements 20 are positioned on the underlying surface 2
substantially transverse to the flow of the fluid across the
surface. In another aspect, the roughness elements extend
substantially normal to the underlying surface. For example, and
not meant to be limiting, the transverse longitudinal height of
the roughness elements can be between about 0.001 to 2.00 cm.
[0042] In one aspect of the invention, a plurality of roughness
elements 20 can be positioned transverse to the flow of fluid
across the surface such that a distance between a medial portion
32 of the peripheral edges of adjacent and aligned roughness
elements 20 is less than the distance between the respective tops
29 of the roughness elements and is less than the distance between
the respective bases 31 of the roughness elements. In a further
aspect of the inventions, adjacent and aligned roughness elements
can be connected at some selected portion of the respective
peripheral edges of the roughness elements. In this aspect, a
channel 34 is defined therebetween portions of the bases and the
bottom portions of the peripheral edges of the adjacent and
adjoined roughness elements. In one exemplary aspect, it is
contemplated that the formed channels would extend longitudinally
substantially co-axial to the flow of the fluid across the
surface. In an alternative aspect of the invention, the adjoining
roughness elements can be connected together such that no channel
is formed therebetween the respective adjoining elements. In a
further aspect, the adjoined roughness elements can form a "saw
tooth" ridge that extends substantially transverse to the fluid
flow.
[0043] In one embodiment, the roughness element 20 has a
substantially diamond cross-sectional shape, as shown in FIG. 3.
Alternatively, and as shown in FIG. 6, the roughness element 20
can have a substantially oval shape. Of course, one skilled in the
art will appreciate that other geometric shapes are contemplated
and that the aspects illustrated are merely exemplary.
[0044] Referring now to FIGS. 6-10, in one aspect, it is
contemplated that the front, upstream surface 22 of the roughness
element 20 has a curved, convex cross-sectional shape relative to
the flow of fluid across the surface 2 of the object. In another
aspect, it is contemplated that the rear, downstream surface 24 of
the roughness element has a curved, concave cross-sectional shape
relative to the flow of fluid to promote the recirculation of the
flow within the cavity, and to act as a streamlining effect in
both stabilizing and promoting the embedded vortex flow field. In
one aspect, this slight concavity in the rear surface 24 of the
roughness element also acts to position the tops 29 of the
roughness elements at a slight, acute angle relative to the
underlying surface such that the tops of the roughness elements do
not protrude into the fluid flow normal to the flow direction. In
one aspect, it is contemplated that the radius of curvature of the
rear surface 24 of the roughness element is less than the radius
of curvature of the front surface 22 of the roughness element.
[0045] In a further aspect of the present invention, each
roughness element 20 can have at least one riblet 40 extending
outwardly therefrom the front surface 22 of the roughness element.
In one aspect, the riblet 40 extends longitudinally from at or
near the bottom portion 30 of the roughness element, proximate the
base 31, to at or near the top 29 of the roughness element. That
is, in one aspect, the riblet extends substantially transverse to
the underlying surface. If a plurality of riblets are used, it is
contemplated that the ribs can be spaced apart substantially equal
or at varying distances. Of course, the number of riblets 40 may
vary in number, but typical values would be that from 1 to 7 per
each longer wavelength of the saw tooth pattern of the formed
ridge of the micro-array. In one aspect, the number of riblets is
1, 3, 5, or 7.
[0046] The presence of the riblets 40 formed to either the front
surface 22, or, optionally, to both sides of the roughness
element, act to give a streamlining effect that is conductive to
the formation and stability of the cavity flows (or vortices)
embedded within the cavities formed between adjacent ridges or
rows of the roughness elements. In one aspect, the addition of the
riblets to the roughness elements micro-geometry help to increase
drag reduction, such as, for example, with higher speed flows. In
a further aspect, the riblets 40 act to excite counter-rotating
vortices within the outer vortex structure that when in even
numbers (formed by an odd number of riblets) promote the stability
of the vortex array in the surface.
[0047] Further, in another aspect, it is contemplated that a
trough 42is defined therebetween adjacent riblets 40 that is
recessed from the respective tips 44 of the riblets. In one
aspect, the trough may be formed by a smooth, curved surface. Of
course, it is contemplated that the surface of each of the troughs
in the respective roughness element can have a substantially equal
radius of curvature or can vary as desired.
[0048] In another aspect, the riblets 40 have an edge surface 46
that extends between the respective riblets that are adjacent to
the sides of the roughness element. In one aspect, the edge
surface 46 can be substantially planar. Alternatively, at least a
portion of the edge surface can be curved. In the curved aspect,
it is contemplated that the radius of curvature of the edge
surface can be greater than the radius of curvature of the troughs
42 of the roughness elements.
[0049] It is further contemplated that the geometry of the formed
surface of the present invention can be altered as a function of
the thickness of the boundary layer adjacent to the surface. For
example, in regions where the boundary layer is thicker, the tops
29 of the roughness elements 20 may also comprise an additional
saw tooth pattern of shorter wavelength superimposed on the larger
wavelength saw tooth pattern. This is of importance in regions far
downstream from the leading edge of a body where the boundary
layer is thicker, yet the flow outside the boundary layer and
above the surface is of high velocity.
[0050] In a drag reduction mode, the saw tooth pattern on the tops
29 of the roughness elements 20 acts to inhibit the formation of
the optimal perturbations that appear due to the instability of
the shear flow (or boundary layer) above the roughness element and
inside the boundary layer. At lower speeds this wavelength is
larger. Conversely, at higher speeds this wavelength is smaller.
In one exemplary aspect, the smaller wavelength superimposed on
the larger saw tooth tops can vary from between about [1/3] to 1/7
that of the larger wavelength. The sizing is a function of the
speed of the flow outside the boundary layer adjacent to the
surface (U), the kinematic viscosity of the fluid ([nu]) and the
maximum shear in the boundary layer ((du/dy)max). It should be
noted that as a body moves at higher speeds, the boundary layer at
a particular point on the body will reduce in thickness and the
maximum shear sustained in the boundary layer will increase. This
corresponds to a decrease in the wavelength sizing required of the
roughness element to act in drag reduction mode.
[0051] Regardless of whether a surface results in the formation of
embedded vortices within the respective roughness elements or not,
the "male protrusions" that result from the roughness elements and
their sizing may be sufficient enough to delay the transition to
turbulence in the boundary layer and thus still result in drag
reduction. However, to maximize the drag reduction characteristic
of the micro-array of roughness elements of the present invention
would include both the formation of the embedded spanwise vortex
array within the roughness element as well as the protrusion
geometry of the roughness geometry, which leads to the damping of
instabilities in the boundary layer that result in the transition
to turbulence.
[0052] In addition, and as noted above, the downstream side of the
roughness elements can, or can not, comprise a slightly concavity
to the surface (see FIG. 7) as well. This thickness to the peak of
the formed ridge provides a smooth line of reattachment for the
separated shear layer over the top of the cavity from the previous
upstream roughness element and at the top of the roughness element
provides for a tangential meeting of this outer flow with the next
downstream embedded cavity vortex (again, see FIG. 7). All of the
elements listed here have to do with the effects of streamlining
the micro-geometry to promote the formation of a stable, embedded
cavity vortex within the roughness element.
[0053] Further, it is contemplated that the micro-array of
roughness elements 10 on the surface 2 can comprise a plurality of
micro-arrays of roughness elements 10 on the respective surface 2.
In this aspect, each micro-array can comprise a plurality of
roughness elements, as described above, of a predetermined height
and/or shape. Thus, it is contemplated that, the plurality of
micro-arrays could comprise arrays of varying sized or shaped
roughness elements.
[0054] In another aspect, each micro-array of roughness elements
can comprises individual roughness elements that vary in
respective scale and/or shape. For example and not meant to be
limiting, adjacent roughness element could have different relative
scaled dimensions. Thus, a "large" roughness element can adjoin a
"small" roughness element, such that a front view would be of a
line or ridge of the adjoining roughness elements that have a
staggered saw tooth appearance.
[0055] In the arrays discussed above, the formed channel 34
between adjoining roughness elements 20 allows for some of the
reversed flow at the bottom of the cavities between adjacent
span-wise extending ridges of lines of the roughness elements to
head back upstream to the adjacent, neighboring cavity through the
channels between the roughness elements. In operation, a cavity
flow may result such that fluid particles stay in the cavities to
continue the circulatory pattern between the two cavities, i.e.,
entering the downstream cavity over the top of the valley to
return back to the upstream cavity through the gap beneath the
valley as shown in FIG. 11. The juncture of the two adjoining
roughness elements acts as a center for each individual cavity
vortex and may also allow for a secondary pair of vortices to form
inside the larger cavity vortex, which is also shown in FIG. 11.
Referring to FIG. 12, these vortices, one inside each transverse
half cavity, provides a means of interlocking all of the cavity
flows together in an almost chain-link type array of streamlines
that are relatively stable and are not subject to cavity
influx/efflux of flow, which leads to an increase in drag for the
d-type surface. As noted above, the micro-geometrical patterning
of a surface in this invention for maximum drag reduction mode
results in the formation of an array of embedded cavity flows (or
vortices) between the roughness elements.
[0056] It is contemplated that the flow arranged by this roughness
element is a series of micro-slip walls in which the orange ovals
in FIG. 12 denote each micro-slip wall. From another standpoint,
it is contemplated that the roughness element of the present
invention alters the no slip condition which the outside flow sees
at the wall. Further, it is known that embedded cavity flow can be
used as a means of separation control due to the alteration of the
no-slip condition at the surface. It is contemplated that the
roughness element described herein can be used in applications
that would reduce the pressure drag associated with separated
flows over surfaces.
[0057] In a further aspect of the "roughness" surface, the
thickness of the boundary layer can be in a range of at least 10
to 30% of a cavity height of each cavity such that shear layer
instabilities of cavity vortexes that form therein the plurality
of cavities are reduced. Preferably, about at least 20% of the
cavity height. Typically, cavity height would be measured from the
surface 2 of the object to the peak or highest amplitude of the
roughness elements that form the transversely disposed ridge. In
one aspect, each formed cavity vortex can have a Re, relative to
the cavity height, velocity of the fluid over the wall surface,
and the kinematic viscosity of the fluid, in the range of between
100 and 20,000, such that the instability of the formed cavity
vortexes are suppressed. Optionally, each formed cavity vortex can
have a Re, relative to the cavity height, velocity of the fluid
over the wall surface, and the kinematic viscosity of the fluid,
in the range of between 1,000 and 5,000.
[0058] The micro-arrays of the roughness elements of the present
invention would find applicability in drag reduction modalities,
such as, for example and not meant to be limiting, on the surfaces
of aircraft, submarines, ship hulls, high speed trains and the
like. In the case of the flow over the hull of a ship, the
micro-arrays of the roughness elements can impact the boundary
layer formation over the hull and therefore affect the amount of
air ingested below the water line, thereby altering the entire
flow field of a ship's wake. It is also contemplated than the
micro-arrays can be used in pipeline walls as well, which would
result in a large reduction in the amount of energy saved to pump
fluids from one point to another.
[0059] It is also contemplated that the micro-arrays of the
present invention allows for the trapping of pockets of air inside
the cavities such that, for example, in hydrodynamic applications,
the working fluid for the micro-slip walls would consist of these
air pockets. This would also reduce the skin friction for
hydrodynamic applications and, in another aspect, can reduce
cativation.
[0060] Still further, the micro-arrays of roughness element can
act as a means of controlling separation. The effect of the arrays
acts to reduce pressure drag over bluff bodies such as automobiles
and trucks. It can also minimize separation over turbine blades,
airfoils, and helicopter rotors as well as flow through serpentine
ducts, which is often a requirement for inlet geometries for
engines on an aircraft. Optionally, in a drag enhancement mode, a
surface formed with the micro-array of roughness elements of the
present invention allows for highly effective convective cooling
to the surfaces of computer board components, which could greatly
impact the performance of these devices.
[0061] It is also contemplated that the self-cleaning property of
the roughness elements should be excellent due to the high shear
rates resulting over the major portions of the surfaces of the
roughness elements. However, it is also contemplated to use
hydrophobic materials in constructing the roughness elements for
hydrodynamic applications.
[0062] It is contemplated that a surface formed with a micro-array
of roughness element as described above, could be formed for a saw
tooth wavelength that corresponds to that of the optimal
perturbation wavelength for the shear flow inside the boundary
layer. In this example, the alignment or alternation of the peaks
to achieve maximum heat transfer rates and maximum drag at a
surface is considered. In one aspect, the alternation of the peaks
forces the half-wavelength of the saw tooth amplitude to
correspond to the optimal perturbation wavelength. Thus, it is
contemplated that the formed drag reducing surface could become
drag enhancing as the flow speed is increased.
[0063] The preceding description of the invention is provided as
an enabling teaching of the invention in its best, currently known
embodiment. To this end, those skilled in the relevant art will
recognize and appreciate that many changes can be made to the
various aspects of the invention described herein, while still
obtaining the beneficial results of the present invention. It will
also be apparent that some of the desired benefits of the present
invention can be obtained by selecting some of the features of the
present invention without utilizing other features. The
corresponding structures, materials, acts, and equivalents of all
means or step plus function elements in the claims below are
intended to include any structure, material, or acts for
performing the functions in combination with other claimed
elements as specifically claimed.
[0064] Accordingly, those who work in the art will recognize that
many modifications and adaptations to the present invention are
possible and can even be desirable in certain circumstances and
are a part of the present invention. Other embodiments of the
invention will be apparent to those skilled in the art from
consideration of the specification and practice of the invention
disclosed herein. Thus, the preceding description is provided as
illustrative of the principles of the present invention and not in
limitation thereof. It is intended that the specification and
examples be considered as exemplary only, with a true scope and
spirit of the invention being indicated by the following claims.
REFERENCES
Bandyopadhyay, P. 1988 Resonant flow in small cavities
submerged in a boundary layer. Proc. R. Soc. Lond. A 420:219-245
Balasubramanian, A., Miller, A., Traub, L., & Rediniotis, O.
2003. Biomimetic nanostructure skin for hydrodynamic drag
reduction. AIAA Pap. 2003-785, AIAA, Reno, Nev.
Bechert, D. W., Bruse, M., Hage, W., Van der Hoeven, J. &
Hoppe, G. 1997. Experiments on drag-reducing surfaces and their
optimization with an adjustable geometry. J. Fluid Mech. 338:59-87
Bechert, D. W., Hage, W., Brusek, M. 1996. Drag reduction with the
slip wall. AIAA Journal 35(5):1072-1074
Bernard, P. & Wallace, J. 2002. Turbulent Flow: Analysis,
Measurement & Prediction. John Wiley & Sons, Inc.,
Hoboken, N.J.
Breuer, K., Park, J., & Henoch, C. 2004. Actuation and control
of a turbulent channel flow using Lorentz forces. Phys. of Fluids
16(4):897-907
Choi, H., Moin, P. & Kim, J. 1993. Direct numerical simulation
of turbulent flow over riblets. J. Fluid Mech. 255:503-539
Choi, K. & Fujisawa, N. 1993 Possibility of drag reduction
using d-type roughness. App. Sci. Res. 50:315-324
Djenidi, L., Anselmet, F. & Antonia, R. 1999. The turbulent
boundary layer over transverse square cavities. J. Fluid Mech.
395:271-294
Fransson, J., Brandt, L., Talamelli, A. & Cossu, C. 2005
Experimental study of the stabilization of Tollmein-Schlichting
waves by finite amplitude streaks. Phys. of Fluids 17(5)
Gad-el-Hak, M. (2000) Flow Control Cambridge University Press, New
York, N.Y. p. 170
Gatski, T. & Grosch, C. (1985) Embedded cavity drag in steady
laminar flow AIAA Journal 23:1028-1037
Iuso, G., Onorato, M., Spazzini, P. & Cicca, G. 2002. Wall
turbulence manipulation by large-scale streamwise vortices. J.
Fluid Mech. 473:23-58
Jager, W. & Mikelic, A. 2003 Couette flows over a rough
boundary and drag reduction. Commun. Math. Phys. 232:429-455
Jimenez, J. 2004. Turbulent flows over rough walls. Ann. Rev.
Fluid Mech. 36:173-196
Joslin, R. (1998) Aircraft laminar flow control. Ann. Rev. Fluid
Mech. 30:1-29
Jung, W. J., Mangiavacchi, N., Akhavan, R. 1992. Suppression of
turbulence in wall-bounded flows by high frequency spanwise
oscillations. Phys. Fluids A 4:1605-7
Kamiadakis, G. E. & Choi, K. 2003. Mechanisms on transverse
motions in turbulent wall flows. Ann. Rev. Fluid Mech. 35:45-62
Kim, C., Jeon. W. & Choi, H. 2005 Skin-friction reduction by
multiple cavities. 2005 APS DFD Meeting
Lee, S.-J. & Lee, S.-H. 2001. Flow field analysis of a
turbulent boundary layer over a riblet surface. Exps. In Fluids
30:152-166
Leonardi, S., Orlandi, P, Smalley, R., Djenidi, L. & Antonia,
A. 2003. Channel flow with transverse square bars on one wall. J.
Fluid Mech. 491:229-238
Liu, Z-C. & Adrian, R. J. 1999. Evidence for hairpin packet
structure in DNS channel flow. Proc. First International Symposium
on Turbulent Shear Flow Phenomena, pp. 609-614
Lashkov, Y. & Samoilova, N. 2002. On the viscous drag of a
plate with spherical recesses. Fluid Dyn. 37 (2):231-236
Ramanan, N. & Homsy, G. 1994. Linear stability of lid-driven
cavity flow. Phys. Fluids 6 (8):2690-2701
Saric,. W., Carpenter, A., Kluzek, C., Hunt, L., McKnight, C. 7
Schouten, S. (2005) Flight experiments on laminar flow control in
swept-wing boundary layers 2005 APS DFD Meeting
Savill, A, 1988 A flow visualization investigation of turbulent
boundary layer structure over micro air bearing surfaces including
effect of outer layer manipulation. 2nd Intl Symp. On Fluid
Control, Measurement Mech. And Flow Vis. p. 430-436
Segawa, T., Li, F., Yoshida, H., Murakami, K. & Mizunama, H.
2005 Spanwise oscillating excitation for turbulence drag reduction
using alternative suction and blowing. AIAA Pap. 2005-488, AIAA,
Reno, Nev.
Sirovich, L & Karlsson, S. 1997. Turbulent drag reduction by
passive mechanisms. Nature 388:753-755