rexresearch.com


Shinichi TAKAO, et al.
Mitsubishi Air Lubrication System


Layer of air bubbles reduces frictional resistance between ship & water, reduces CO2 emissions up to 35%. See also : NeverWet Hydrophobic Surface

http://www.gizmag.com/mitsubishi-air-lubrication-system/21196/
January 23, 2012

Mitsubishi reduces friction on ship hulls by blowing bubbles
by Darren Quick



In February last year, Mitsubishi Heavy Industries (MHI) and transport company Nippon Yusen Kaisha (NYK) announced plans to investigate the effectiveness of a system intended to reduce the frictional resistance between a vessel's bottom and the seawater using a layer of air bubbles. Now MHI has coupled the Mitsubishi Air Lubrication System (MALS) with a high-efficiency ship hull in the conceptual design for a container ship that the company claims would offer a reduction in CO2 emissions of 35 percent compared to conventional container carrier designs.

To verify the CO2 reduction efficiency of MALS, MHI has installed it on the "YAMATAI," a module carrier operated by an NYK subsidiary. A module carrier was chosen as the first permanent installation of the system because they have a shallow-draft hull that generates relatively low water pressure, which minimizes the amount of electricity required by an air blower to supply air to the vessel's bottom. Additionally, the flat, wide bottom is able to better retain the supplied air under the vessel's bottom.

With MHI expecting to see a reduction in CO2 emissions of around 10 percent on the YAMATAI thanks to MALS, the company is already looking ahead to the second application of the technology with the completion of the conceptual design of the "MALS-14000CS," a New Panamax size 14,000 TEU (twenty-foot equivalent) container vessel. New Panamax refers to the size limit of ships that will be able to travel through the Panama Canal after the completion of its planned expansion in 2014 - specifically, ships with an overall length of 366 m (1,200 ft), width of 48.8 m (160 ft) and tropical freshwater draft of 15.2 m (49.8 ft).

Other environmentally friendly features include a Sox scrubber to remove sulfur oxide from flue gas, and a ballast water treatment system.

This isn't the first time a layer of air has been proposed as a way to reduce the friction between a ship's hull and the water. While MALS creates a layer of air bubbles by pumping air to the vessel's bottom, researchers are also looking at developing superhydrophobic surfaces modeled on the water fern salvinia molesta, which is able to remain completely dry when submerged by trapping a layer of air on the surface of its leaves using tiny hairs. Combining MALS with such a surface would mean the air wouldn't need to be pumped continually to the bottom of the vessel.

In the meantime, Wired has reported that grain conglomerate Archer Daniels Midland has ordered three dry bulk carriers that will be built with MALS.




Mitsubishi Air Lubrication System (MALS)

Mitsubishi Air Lubrication System (MALS) is our original system which saves energy and reduces CO2 emissions.

By covering the ship's bottom like a carpet, with fine bubbles blown from the ship's bottom using a blower, the system reduces frictional resistance between the ship hull and seawater as the ship cruises.

With its energy-saving benefit for heavy cargo ships already verified, MALS is scheduled for installation on grain carriers and passenger ships. MHI will further boost its efficiency by applying our original highly-efficient blower, positioning an efficient airblowing outlet, calculated based on a leading-edge fluid dynamics simulation, and optimizing the blowing air volume.



CFD Predictions of Bubbly Flow around an Energy-Saving Ship with Mitsubishi Air Lubrication System

M. Kawabuchi, et al

[
PDF ]

Conclusion

The air bubble distribution on the hull surface of a ship with the Mitsubishi Air Lubrication System (MALS) and the amount of air bubbles flowing into the propeller were roughly predicted using a model-scale analysis. The results confirmed that the air bubble distribution on the ship bottom surface varied little in response to changes in the air bubble diameter. The experimental results were qualitatively similar to the air bubble distribution predicted by CFD. We confirmed that changes in the bubble diameter did not affect the peak position of the void fraction on the propeller disk area, while the void fraction of air bubbles flowing into the propeller increased as the air bubble diameter decreased. Comparison of the calculated and experimental results confirmed that the loss of propulsive efficiency due to air bubbles was negligible because the air bubbles flowed along the ship bottom toward the area above the propeller.

However, the resistance reduction mechanism of the air lubrication method have not yet been thoroughly examined, including the causes and effects of changes in fluid density and the turbulence modulation effects of air bubbles inside the boundary layer. CFD will play an important role in determining these causes by providing a detailed understanding of the physical phenomena.



http://www.marineinsight.com/marine/marine-news/headline/how-air-lubrication-system-for-ships-work/
January 24, 2013

How Air Lubrication System for Ships Works?

by Raunek


When Mitsubishi came out with their Air Lubrication System, it was just one of the several energy saving techniques for ships. The Mitsubishi Air Lubrication System

(MALS) was the first system of its kind which promised energy saving and emission reduction from ships using the innovative technology of Air Lubrication.

However, the shipping industry soon realized the potential of the technology, and soon, big players such as NYK Group of Companies and Damen Shipyards Group introduced their own research and experiments on the same.

According to DNV, one of the world’s leading classification societies, Air Bubble Lubrication System is one of the promising technologies which will help ships to improve their efficiency and reduce energy losses.

What is Air Lubrication System for Ships?

Air Lubrication System is a method to reduce the resistance between the ship’s hull and seawater using air bubbles.  The air bubble distribution across the hull surface reduces the resistance working on the ship’s hull, creating energy-saving effects. With the right ship hull design, the air lubrication system is expected to achieve up to 10-15% reduction of CO2 emissions, along with significant savings of fuel.

How does Air Lubrication System works?

The Air Lubrication System works on the simple principle of trapping a layer of air bubbles beneath the ship’s hull. An air blower or a dedicated system is used to generate air bubbles to pass them continuously beneath the ship’s surface. Air bubble outlets are created at different locations along the bottom of the hull, symmetrically on both the sides of the ship’s center line.

The air is blown at a constant rate to form a layer of bubbles, which reduces the drag and resistance between the ship and the seawater to continuously replenish the lost air bubbles ensures that a uniform layer of air bubbles is maintained beneath the ship and the desired effect is produced.

Concerns about Air Lubrication System

Though a promising technology, the Air Lubrication System has a few concerns regarding its implementation and performance on ships. Some of the main ones are:

The Air Lubrication System (ALS) until now can only be used for certain types of ships having flat bottoms. Ships having V-shaped hulls, such as certain warships or recreational vessels might not be able to reap the benefits of the air lubrication system.

To trap the layer of bubbles beneath the ship’s hull is a challenging task. Though solution such as protruding ridges at the edges of the hull can help in trapping the blanket of bubbles, the sucking effect of propeller on the bubbles is difficult to defy. Another solution is to design the ship’s stern or hull in such a way that it traps the air bubbles beneath the hull. However, this would substantially increase the building cost of the ship.

It is also feared that the air cavities made for trapping the air bubbles would affect the handling and stability of the ship at the sea. If true this can cause difficulty to the ship and the crew especially in rough seas.

The air bubbles leaving the hull surface flow into the ship’s propeller. This can influence the efficiency, noise, and vibration of the propeller. Though according to the experiments conducted by Mitsubishi there were negligible effects of air bubbles on the propeller, rough seas and changes in fluid density can produce unfavorable results.

In order to obtain the desired effect, it is important that air bubbles are of uniform size and are evenly distributed beneath the hull surface. Moreover, a change in air bubble diameter would drastically affect the air bubble distribution beneath the hull. An arrangement is therefore necessary to ensure that the bubbles are of the same diameter (if possible) and are well distributed beneath the ship’s hull.

Bulk Carrier With MALSAs far as the MALS is concerned, the company claims that along with a high-efficiency ship hull, a container ship fitted with their air lubrication system can offer reduction in CO2 emission of up to 35% as compared with conventional container ships. Recent findings has also supported the claim that substantial fuel savings and reduction in carbon emissions is possible through Air lubrication system when combined with other promising green ship technologies.

Air Lubrication System is now a technology which is well proved to provide benefits such as reduced carbon emissions and substantial fuel savings. With rising fuel prices and increasing pressure to make ships greener, shipping companies are now implementing promising technologies that would help them reduce carbon emissions and improve ship inefficiency. According to reports, companies such as AIDA Cruise ships along with few other shipping companies have already confirmed of plans to implement Air Lubrication Systems on their ships.



https://www.youtube.com/watch?v=1RZ0UOIITMk
MALS(Mitsubishi Air Lubrication System) - green ship technology for energy saving by air carpet

http://vimeo.com/84548561
Mitsubishi Air Lubrication System = Clean Ocean Transit on ...



US2013098285
AIR LUBRICATION SYSTEM FOR SHIPS

Also published as: WO2012042948// JP2012071633// EP2623411//  CN102958792

It is desired to provide an air lubrication system of an outer installation type with a good efficiency. An air recovering device includes a recovery side chamber provided on a bottom of a ship on a stern side from an air ejecting device which supplies air bubbles to the ship bottom, and comprising air intake holes formed in a portion of the recovery side chamber opposite to the ship bottom through a gap; and a recovering section recovering air inside a recovery side chamber. The air bubbles acquired from the air intake holes are once accumulated inside the recovery side chamber to generate pushing pressure occurs so that air can be smoothly recovered from the recovering section.


TECHNICAL FIELD

[0001] The present invention relates to a technique of supplying air bubbles to reduce a resistance between a ship and water. This application claims a priority based on Japanese Patent Application No. JP 2010-216137 filed on Sep. 27, 2010 and the disclosure therein is incorporated herein by reference.

BACKGROUND ART

[0002] As a technique of improving an efficiency of navigation of a ship, an air lubrication system is known. The air lubrication system is a technique for supplying air bubbles to an outer plate of the ship below a water line to reduce the friction between the ship and water and further improving the efficiency of the navigation. The technique described in JP 2009-248831A is its one example.

CITATION LIST

[0000]
[Patent Literature 1] JP 2009-248831A

SUMMARY OF THE INVENTION

[0004] The inventor of the present invention is developing a technique of modifying an existing ship to install the air lubrication system externally to improve the efficiency of the navigation. In such a technique, it is demanded that the modification is easy and the reduction of frictional resistance is effective.

[0005] In a view of the present invention, an air recovering device includes a recovery side chamber provided on a bottom of a ship on a stern side from an air ejecting device which supplies air bubbles to the ship bottom, and having air intake holes formed in a portion of the recovery side chamber opposite to the ship bottom; and a recovering section recovering air inside the recovery side chamber.

[0006] In another view of the present invention, the recovering section is arranged in a different position from the air intake holes in a longitudinal direction of said ship.

[0007] In another view of the present invention, the recovering section recovers the air inside the recovery side chamber through an air recovery hole formed in the ship bottom on the stern side from the air intake holes. The recovery side chamber includes an air accumulating section extending in the longitudinal direction to accumulate the air acquired from the air intake holes such that the accumulated air is recovered through the air recovery hole.

[0008] In another view of the present invention, the air intake holes are distributed in a wider area in a width direction of the ship than said air recovery hole.

[0009] In a view of the present invention, a ship includes: an air recovering device installed in the ship bottom on the stern side from the air ejecting device; and the air ejecting device.

[0010] In a view of the present invention, a method of modifying a ship which includes an air ejecting device to supply air bubbles to a bottom of the ship, includes: installing recovery side chambers in the ship bottom on a stern side from the air ejecting device, wherein each of the recovery side chambers includes air intake holes in a portion of the recovery side chamber opposite to the ship bottom; and forming a recovering section which recovers air inside the recovery side chamber.

[0011] According to the present invention, an air recovering device, an air lubrication system and a method of modifying a ship in which the reduction of frictional resistance is effective.

[0012] Moreover, according to the present invention, in the air lubrication system that an existing ship is modified to install the air lubrication system externally, an air recovering device, an air lubrication system and a method of modifying a ship are provided.

BRIEF DESCRIPTION OF THE DRAWINGS

[0013] The above-mentioned objects, other objects, effects and features of the present invention will be clarified by the descriptions of the embodiments in linkage with the attached drawings.

[0014] FIG. 1 is a side view of a ship;

[0015] FIG. 2 is a bottom view of the ship;

[0016] FIG. 3 schematically shows an operation of an air lubrication system;

[0017] FIG. 4 shows another structural example of an ejecting side chamber;

[0018] FIG. 5 is a bottom view of the ejecting side chamber;

[0019] FIG. 6 is a sectional side view of the ejecting side chamber;

[0020] FIG. 7 is a bottom view of a recovery side chamber;

[0021] FIG. 8 is a sectional side view of the recovery side chamber;

[0022] FIG. 9 is a bottom view of the recovery side chamber containing a narrowing section; and

[0023] FIG. 10 is a sectional side view of the recovery side chamber containing the narrowing section.

DESCRIPTION OF EMBODIMENTS

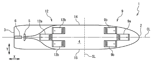
[0024] Hereinafter, embodiments of the present invention will be described in detail with reference to the attached drawings. FIG. 1 is a side view of a ship to which an air recovering apparatus, an air lubrication system and a ship modifying method according to an embodiment of the present invention are applied. FIG. 2 is a bottom view when the ship is viewed from a ship bottom side. A bow 2 of a hull 1 is drawn on a right side, and a stern 3 is drawn on a left side. A propeller 5 and a helm 6 are arranged below a water line on the side of the stern 3. An air ejecting device 7 is arranged on a side closer to the bow 2 in a ship bottom 4. An air recovering device 8 is arranged on a side closer to the stern 3 of the ship bottom 4.

[0025] The air ejecting device 7 contains ejecting side chambers 9 arranged on the ship bottom 4, a pipe system 10 and a compressor 11. A blower may be used instead of the compressor 11. The compressor 11 ejects the air inside the pipe 10 to the direction of the ship bottom 4. One end of the pipe 10 is connected to an air supply hole (that will be described later) formed in an outer plate of the ship bottom 4. The ejecting side chamber 9 is attached to the ship bottom 4 in a position in which the air supply hole is formed, by welding or tightening bolts. The air inside the pipe 10 is supplied to the ejecting side chamber 9 by the compressor 11.

[0026] The air recovering device 8 contains recovery side chambers 12 and a pipe 13. One end of the pipe 13 is connected to an air recovery hole (that will be described later) formed in the outer plate of the ship bottom 4. The recovery side chamber 12 is attached to the ship bottom 4 in a position in which the air recovery hole is formed, by welding or tightening bolts. The air inside the recovery side chamber 12 is discharged through the pipe 13 to the outside or again supplied to the pipe 10 on the side of the air ejecting device 7.

[0027] In examples of FIGS. 1 and 2, a plurality of (three) ejecting side chambers 9 are attached. An ejecting side chamber 9a on a front side is attached on a central line CL of the hull 1, to be line-symmetry with respect to the central line CL. One of ejecting side chambers 9b on a rear side is attached to a position shifted on the starboard side 14 in parallel with the ejecting side chamber 9a on the front side. The other is attached to a position shifted to the port side 15 in parallel with the ejecting side chamber 9a on the front side. Accordingly, the ejecting side chambers 9b on the rear side are formed symmetrically with respect to the central line CL.

[0028] In examples of FIGS. 1 and 2, a plurality of recovery side chambers 12 are attached in correspondence to the ejecting side chambers 9. The recovery side chambers 12a and 12b on the rear side and the front side are attached in correspondence to the ejecting side chambers 9a and 9b on the front side and the rear side. Each of the recovery side chambers 12 has a shape similar to the ejecting side chamber 9 and is provided to have an orientation opposite to a direction of the hull 1. As a result, the ejecting side chambers 9 and the recovery side chambers 12 are line-symmetrical with respect to a lateral reference line SL extending in a lateral direction of the hull 1.

[0029] FIG. 3 schematically shows the operation of the air lubrication system. The air is supplied from the pipe 10 to the ejecting side chamber 9. The ejecting side chamber 9 ejects the air as air bubbles 40 to external water. The air bubbles 40 flow to the stern 3 while covering the ship bottom 4. Since the ship bottom 4 is covered with the air bubbles 40, friction between the hull 1 and the water is reduced. The air bubbles 40 are captured in the recovery side chamber 12 and recovered from the pipe 13. The air bubbles 40 are recovered on the side of the bow 2 from the propeller 5. Thus, it is possible to avoid the drop in a propulsion efficiency of the propeller 5 due to the air bubbles 40.

[0030] FIG. 4 shows another configuration example of the ejecting side chambers 9. In the configuration shown in FIG. 2, the air bubbles 40 that substantially cover the width of the ship bottom 4 are provided by the three ejecting side chambers 9. On the contrary, in FIG. 4, in addition to a group of three ejecting side chambers 12-1 that substantially covers the width of the ship bottom 4, a group of three ejecting side chambers 12-2 that has the similar configuration is further placed in a position away in a length direction of the hull 1. In this configuration example, a larger number of the air bubbles 40 can be supplied to the ship bottom 4. Or, when the air bubbles 40 easily escape from the left and right sides of the ship bottom 4, so that the air bubbles 40 supplied from the ejecting side chambers 12-1 come short on the side of the stern 3, the air bubbles 40 can be supplemented from the ejecting side chambers 12-2 of a next stage. In such a case, the air bubbles 40 can be recovered by placing a plurality of groups of recovering side chambers on the side of the stern 3 line-symmetrically with a plurality of groups of ejecting side chambers 12-1, 12-2 and a group of recovery side chambers with respect to the predetermined reference line SL.

[0031] The configuration of the ejecting side chamber 9 will be described below. FIG. 5 is a bottom view of the ejecting side chamber 9. FIG. 6 is a sectional view when the ejecting side chamber 9 is viewed from the side thereof. The right side in each of FIGS. 5 and 6 indicates the side of the bow 2. The ejecting side chamber 9 contains a flat portion 21, a front end 22, a rear end 23, a side plate 21-1 and a side plate 21-2. The flat portion 21 is a plate-shaped member provided on the lower side of the ship bottom 4. The flat portion 21 is arranged in parallel to the ship bottom 4 or at a state almost parallel to the ship bottom 4.

[0032] The front end 22 is a plate-shaped member for connecting the ship bottom 4 and the end of the flat portion 21 on the bow 2 side. The front end 22 has a slope that approaches the ship bottom 4 toward the side of the bow 2, in order to decrease the resistance of water flow when the hull 1 navigates forwardly. The rear end 23 is a plate-shaped member for connecting the ship bottom 4 and the end of the flat portion 21 on the side of the stern 3. The rear end 23 has a slope that approaches the ship bottom 4 toward the side of the stern 3, in order to suppress the generation of eddy that serves as resistance when the hull 1 navigates forwardly and further smoothly guide the air bubbles to the ship bottom 4. The side plate 21-1 closes an opening formed from the ship bottom 4, and the portside portion of each of the flat portion 21, the front end 22 and the rear end 23. The side plate 21-2 closes an opening formed from the ship bottom 4 and the starboard side portion of each of the flat portion 21, the front end 22 and the rear end 23. An air bubble chamber 28 is formed by the flat portion 21, the front end 22, the rear end 23, the side plates 21-1 and 21-2 and the ship bottom 4 covered with them. The space of the air bubble chamber 28 communicates with the water under the ship through air ejecting holes 26 and also communicates with a pipe 10 through an air supply hole 27. The space of the air bubble chamber 28 other than the air ejecting holes 26 and the air supply hole 27 is closed.

[0033] In the design of the ejecting side chamber 9, the air bubble chamber 28 is divided into an air scattering section 24 as a region on the side of the bow 2, and an air ejecting section 25 as a region on the side of the stern 3, as shown by a dotted line on the flat portion 21 of FIG. 5. A plurality of the air ejecting holes 26 are formed in the air ejecting section 25. These air ejecting holes 26 are arranged in the width direction of the hull 1. In an example of FIG. 5, two lines of the air ejecting holes 26 are shifted to each other in a zigzag arrangement in the width direction of the hull 1.

[0034] The air supply hole 27 is formed at that position of the ship bottom 4 opposite to the air scattering section 24 which is differing from the air ejecting holes 26 (a position on the side of the bow 2 in FIGS. 5 and 6). One end of the pipe 10 is connected to the air supply hole 27. By the air scattering section 24, a predetermined distance is provided between the air supply hole 27 and the air ejecting holes 26 in the longitudinal direction of the hull 1. The existence of this distance enables the air that is supplied from the air supply hole 27 to the air bubble chamber 28 is scattered and consequently enables the air bubbles of a substantially uniform quantity to be ejected into the water from the plurality of air ejecting holes 26 arranged in the width direction of the hull 1. In order to attain the effect of the air scattering section 24, for example, a distance between a center of the air supply hole 27 and a center of the air ejecting hole 26 is desired to be set longer than the width of the air bubble chamber 28.

[0035] The air, which is supplied from the air supply hole 27 to the air bubble chamber 28, is impinged on the upper surface (inner wall surface) of the flat portion 21 due to a pressure given by the compressor 11. The supplied air is changed into the fine air bubbles due to the pressure of this impingement, and the width of a distribution is easily widen. While the air bubbles are pushed toward a downstream side inside the air scattering section 24, its distribution is expanded in a width direction.

[0036] Since the air scattering section 24 is provided, the width of the air supply hole 27 can be made smaller than the width of the air ejecting holes 26 in the width direction of the hull. In other words, by providing the air scattering section 24, the air ejecting holes 26 can be formed to be distributed in the width direction of the hull 1, even when the number of air supply holes 27 is small (one in an example of FIG. 5). Thus, the air bubbles 40 can be ejected to have a substantially uniform distribution in the width direction. Accordingly, when the ship is modified to install the air lubrication system later, the work may be reduced when the air supply hole 27 and the pipe 10 are attached to the hull 1.

[0037] A diffusion member can be further added to the ejecting side chamber 9 to diffuse the air bubbles. For example, a porous plate is provided between the air supply hole 27 and the air ejecting holes 26 to partition the air bubble chamber 28 in the longitudinal direction of the hull 1. Consequently, the finer air bubbles can be supplied to the air ejecting holes 26.

[0038] When a certain quantity of air bubbles are accumulated inside the air bubble chamber 28, the air bubbles 40 are ejected into the water under the ship bottom 4 from the air ejecting holes 26. When the ship sails, the hull 1 moves in the forward direction against the water. The water flow has a main direction from the front end 22 of the ejecting side chamber 9 to the rear end 23 on the ship bottom 4. On the contrary, since the inner space of the ejecting side chamber 9 is relatively closed, the flows of the water and air in the air bubble chamber 28 are slow, as compared with the external water flow. For this reason, when the air is ejected from the air bubble chamber 28 through the air ejecting holes 26, the air is sheared into the finer air bubbles 40 by shearing force of the external water flow and sent to the downstream side. Since a time period for which the air bubbles 40 stay on the ship bottom 4 is long, the high air lubrication effect is attained. In this way, without being supplied in its original state to the ship bottom 4, via the rear end 23 and the like, the air from the air supply hole 27 once stay in the air bubble chamber 28, and then the air is supplied to the outside so that the shearing force acts against the air. Thus, the air bubbles 40 suitable for the air lubrication are obtained.

[0039] Through the design of the shape of the air ejecting hole 26, the air bubbles 40 can be ejected more smoothly from the air bubble chamber 28 into water flows whose speeds are different in the longitudinal direction of the hull 1. In an example of FIG. 5, each of the air ejecting holes 26 has an oval shape long in the main direction of the flow, namely, in the longitudinal direction of the hull 1. The air bubbles 40 ejected from the air ejecting holes 26 rise along the rear end 23 and flow to the side of the stern 3 while covering the ship bottom 4, and then arrives at the recovery side chamber 12.

[0040] The structure of the recovery side chamber 12 will be described below. FIG. 7 is a bottom view of the recovery side chamber 12. FIG. 8 is a sectional side view of the recovery side chamber 12. The right side of each of FIGS. 7 and 8 is the side of the bow 2. The recovery side chamber 9 has the structure similar to the ejecting side chamber 9, and this is attached to the ship bottom 4 in an opposite orientation in the longitudinal direction of the hull 1. The recovery side chamber 12 contains a flat portion 31, a front end 32, a rear end 33 and side plates 31-1 and 31-2. The flat portion 31 is a plate-shaped member provided under the lower side of the ship bottom 4 and is provided in parallel to the ship bottom 4 to have a gap.

[0041] The front end 32 is a plate-shaped member to connect the ship bottom 4 and the end of the flat portion 31 on the side of the bow 2. The front end 32 has a slope that approaches the ship bottom 4 toward the side of the bow 2, in order to decrease the resistance of the water flow when the ship sails. The rear end 33 is a plate-shaped member to connect the ship bottom 4 and the end of the flat portion 31 on the side of the stern 3. The rear end 33 has a slope that approaches the ship bottom 4 toward the side of the stern 3, in order to suppress the generation of the eddy that serves as the resistance when the hull 1 sails. The side plates 31-1 and 31-2 close side openings by the right and left sides of the recovery side chamber 12, similarly to the side plates 21-1 and 21-2 of the ejecting side chamber, and thus, the air bubble chamber 38 is formed. The air bubble chamber 38 has a space which communicates with the water under the water surface when the ship floats, through air intake holes 36 and also communicates with the pipe 13 through an air recovery hole 37, and a portion of the air bubble chamber 38 other than them is closed. The recovery side chamber 12 having such a structure can be attained by providing the ejecting side chamber 9 on the ship bottom 4 in an opposite orientation in the longitudinal direction of the hull 1.

[0042] In the design of the recovery side chamber 12, the flat portion 31 is divided into an air intake section 34 as a region on the side of the bow 2, and a pushing pressure generating section 35 as a region on the side of the stern 3, as shown by a dotted line on the flat portion 31 of FIG. 7. A plurality of the air intake holes 36 are formed in the air intake section 34, similarly to the air ejecting holes 26 of the ejecting side chamber 9.

[0043] The air recovery hole 37 is formed on at a position of the ship bottom 4 opposite to the pushing pressure generating section 35. One end of the pipe 13 is connected to the air recovery hole 37. By the pushing pressure generating section 35, the air bubble chamber 38 can be provided to have a certain degree of a volume. The air bubbles acquired from the air intake holes 36 stay in the air bubble chamber 38. Since the air bubbles once stay in the pushing pressure generating section 35, the air of some quantity is accumulated in the air bubble chamber 38. As a result, the air bubbles can be smoothly recovered from the air recovery hole 37.

[0044] In order to suppress the resistance of the water, the thickness of the recovery side chamber 12 is desired to be thin. When the length of the pushing pressure generating section 35 is set long, the sufficient volume of the air bubble chamber 38 can be attained even if the recovery side chamber 12 is thin. For this reason, for example, similarly to the ejecting side chamber 9, a distance between the center of the air intake hole 36 and the center of the air recovery hole 37 is desired to be set longer than the width of the air bubble chamber 38.

[0045] By providing a guide plate 39 in the recovery side chamber 12, it is possible to smoothly acquire the air bubbles 40. The guide plate 39 is provided inside the recovery side chamber 12 to overlap with the air intake holes 36 when viewing from the lower side. The guide plate 39 is provided to approach the ship bottom 4 in a direction from the side of the bow 2 to the side of the stern 3 in an inclined state. By the guide plate 39, the air bubbles 40 acquired from the air intake holes 36 are smoothly sent to the pushing pressure generating section 35.

[0046] FIGS. 9 and 10 are a bottom view and a sectional view which show the recovery side chamber in a modification example of the present embodiment. In the modification example, the recovery side chamber 12 contains a narrowing section 41 at the end thereof on its downstream side. In the narrowing unit 41, the width of the recovery side chamber 12 is narrowed to be gradually reduced toward the downstream side. More preferably, the narrowing section 41 is structured by a plate material which approaches the ship bottom 4 toward the downstream side, similarly to the rear end 33 in FIG. 8. The air recovery hole 37 is provided at an upper portion above the narrowing section 41 in the vertical direction. By such a structure, the air bubbles recovered in the air bubble chamber 38 are easily collected in the narrowing section 41, and the air bubbles can be recovered more efficiently from the air recovery hole 37.

[0047] When the existing ship is modified to install the air lubrication system in the present embodiment, the air supply hole 27 and the air recovery hole 37 are formed in the ship bottom 4. The pipe 10, the pipe 13 and the compressor 11 are provided within the ship. The ejecting side chambers 9 and the recovery side chambers 12 are provided in the ship bottom 4. In this way, it is possible to improve the efficiency of the navigation of the existing ship. Even when the air lubrication system in the present embodiment is installed for a ship to be newly manufactured, the air lubrication system can be installed under few design changes, in accordance with the similar procedure.

[0048] The structure of the air lubrication system in the present embodiment is effective in case of using only the air recovering device 8. For example, similarly to the newly-manufactured ship that contains the air lubrication system, an inner installation type ship is employed in which the chamber for ejecting the air bubbles is formed inside the hull 1 and the recovery side chamber 12 is attached from the outside. Even in this case, the same effect as the present embodiment can be attained in the air recovering device 8.



JP5524294
SHIP WITH REDUCED FRICTIONAL RESISTANCE

PROBLEM TO BE SOLVED: To provide an air lubrication system for ships that prevents deterioration of a coating film, and a method of manufacturing a ship with reduced frictional resistance. ; SOLUTION: The air lubrication system 1 for ships includes an air supply device 11, air blowing parts 100A and 100B, and an air cooler 12. The air blowing parts 100A and 100B blow the air supplied from the air supply device 11 into the water. The air supply device 11 pressurizes the air to blow the air against water pressure. The temperature of the air at the outlet of the air supply device is high. If the high-temperature air is blown into the water without cooling it, deterioration of the coating film on the surface of the ship body may be accelerated. The air cooler 12 cools the air using seawater. ;



JP5216122
SHIP WITH REDUCED FRICTIONAL RESISTANCE, AND MANUFACTURING METHOD THEREOF


PROBLEM TO BE SOLVED: To provide an air lubrication system for ships that prevents deterioration of a coating film, and a method of manufacturing a ship with reduced frictional resistance. ; SOLUTION: The air lubrication system 1 for ships includes an air supply device 11, air blowing parts 100A and 100B, and an air cooler 12. The air blowing parts 100A and 100B blow the air supplied from the air supply device 11 into the water. The air cooler 12 cools the air with seawater to prevent deterioration of a coating film. A seawater inlet 20 is also provided for receiving seawater. The air blowing parts and the seawater inlet are arranged at the bottom 80a of the bow. The seawater inlet is arranged closer to the bow than the air blowing parts.



JP5087158
AIR LUBRICATION SYSTEM FOR SHIP, SHIP WITH REDUCED FRICTIONAL RESISTANCE, AND MANUFACTURING METHOD THEREOF


PROBLEM TO BE SOLVED: To provide an air lubrication system for ships that reduces the manufacturing period of a ship with reduced frictional resistance, and the ship with reduced frictional resistance and a manufacturing method thereof. ; SOLUTION: The air lubrication stem for ships includes an air supply device and an air blowing part that blows the air supplied from the air supply device into the water from the bottom. The air blowing part includes a chamber 230A having an air blowing hole 232A. The chamber 230A is detachable, thereby enabling easy manufacturing of the air blowing part. The manufacturing period of the ship with reduced frictional resistance can be reduced. The chamber can be detached for maintenance of the air blowing part.