rexresearch.com

Francisco PACHECO

Hydrogen Generator


http://www.mothersalert.org/pacheco.html
http://www.freerepublic.com/focus/f-chat/1806428/posts

The Pacheco Generator Story

This article was first published in The Messenger (June 1989). The Pacheco Story was subsequently presented to the United Nations Environmental Forum in a speech given by the author Karin Westdyk. Later that year, Francisco was invited to demonstrate his generator at the Green Energy Conference in Canada, and in 1990 he was invited to participate in the International Hydrogen Energy Conference in Hawaii where his invention was the only prototype producing hydrogen fuel on demand. A chapter was devoted to the Pacheco Generator in Suppressed Energy Inventions, published by the Aukland Institute of Technology in 1994, and his story is included in The Coming Energy Revolution, by Jeane Manning (1996).
 

Fifty years ago in his native Bolivia, Francisco Pacheco became interested in electrical phenomena and especially in primary batteries. While in his early twenties he had heard a story about a Bolivian priest who had invented a battery that would give 3 volts instead of the normal 1.5 volts. The battery was called the Pila Bolivia but when Francisco tried to track it down and the priest, he was told that the priest had gone to Germany and neither he nor the battery was ever heard from again.

In the mountains of Bolivia, there are many minerals (tin, titanium, etc) most of which are mined and exported. It was believed that the priest used one of the rivers near a mine where the minerals were washed by women workers. But no one seemed to know which stream, from which mine, or which minerals created the electrolyte water that was used to make the Pila Bolivia.

Francisco`s dream was to reproduce the ?super battery? and he experimented with many metals until he finally came close to 2 volts from the battery. One evening, while working alone in his laboratory with his array of glass jars and electrodes, he noticed bubbles of gas forming. Because pressure was building in one of the glass vessels, he vented the jar. But, it wasn“t until he lit a cigarette that he knew that the bubbles that were emerging from the water were filled with hydrogen gas. There was an explosion which dented the ceiling. After that, Francisco dropped his battery experiments and concentrated on improving the efficiency of the process he had discovered; that of extracting the hydrogen from salt water to use as fuel on demand. His first experiment involved a small unit which produced enough fuel to boil water. From there, he took his hydrogen fuel generator and used it to run a motorcycle.

In 1942, U.S. Vice President, Henry Wallace, while on a Good Will Tour of South America, saw the Pacheco generator run an automobile engine and shortly thereafter, the president of Bolivia, General Enrique Penaranda, observed the same phenomena. Both men encouraged Francisco to bring his invention to the United States.

In 1943, Francisco arrived in the U.S. with a letter addressed to the Chief Military Intelligence Service of the United States War Department from Colonel Clarence Barnett, the military attache to the American Embassy, introducing Francisco and requesting an audience to see his invention. At that time, it was believed that the hydrogen generator might be helpful to the U.S. war efforts. In April of that year, Mr. Pacheco successfully demonstrated his generator to the Bureau of Standards in Washington DC and applied for a U.S. patent. But, because there was a war going on, all U.S. patents had to be sealed for one year. After the year was up, Pacheco received a letter from the patent office stating that because of the high cost of aluminum and magnesium (the two metals used in his invention) that his patent was impractical. His patent attorney, after several letters to the patent office, also advised him to ?shelve? his patent until a later date, as petroleum was still believed plentiful and cheap.

Pacheco took his lawyers advice and set aside his dream of giving his adopted country the technology that would provide an inexhaustible supply of fuel and would burn clean. He went home to Bolivia but shortly thereafter returned to the United States with his wife and infant daughter knowing that one day, the time would be right for his invention. Fancisco worked in defense plants during the war and later, until retirement , as an oil burner service mechanic in New York City. In1967, he moved his family to Upper Greenwood Lake, New Jersey. In his basement laboratory, he continued to perfect his invention.

In the 1970 “s, when air pollution and oil shortage became a problem, Francisco "unshelved" his generator believing that the time was finally right. He secured a U.S. patent and a few years later, he received patents from Germany, Brazil and Japan. In February of 1974, with the hopes of acquiring government backing and support, Pacheco demonstrated his pollution free hydrogen fuel cell to Congressman Robert Roe. With no outside power source, the self taught chemical engineer connected the fuel cell to a Homelite alternator unit with a 3 horse power 1000 watt generator with a 4 stroke engine. The demonstration was successful. Mr. Roe seemed impressed and said that he would bring it to the attention of Washington officials. Upon leaving, Mr. Pacheco invited the congressman to another demonstration he had planned later that year at Point Pleasant, New Jersey.Congressman Roe was invited to take part in a history making voyage; the first power boat ride fueled by seawater?. Many newspapers were invited as well.

Congressman Roe did not show up and neither did many newspapers. Mr. Pacheco never heard from the Congressman again about his invention or the promise to bring it to the attention of appropriate Washington officials, but his voyage was a success. History was made on July 17th, 1974 when a 26 foot power boat ran for nine hours using the Pacheco generator and seawater for fuel, putting back into the oceans its waste, only clean water.

To good to be true?? Jules Verne, in his futuristic tale, Twenty-thousands Leagues Under The Sea, fueled the famous Nautilus with hydrogen fuel. Today, it is the fuel that sends rockets into space. The source for hydrogen fuel is virtually inexhaustible and it burns clean. It is a perfect energy source which puts back into the environment something that is necessary to life and becoming scarce? clean water.

In an effort to overcome the skepticism he was facing and the PhD he could not add to his name, Francisco had his invention analyzed by independent experts. The Pacheco generator passed all tests at the New Jersey Gollob Analytical Service Corporation Labs in September of 1973, and in 1979. Nan Waters, a consulting chemist with the Aesop Institute analyzed the generator and wrote the following report.

I have read the literature relating to Pacheco“s hydrogen generator. In my opinion, there is no reason why it ought not work as described. Basically, he has combined in one device three very simple chemical principles; a) The use of active metals to produce hydrogen from water, b) The differing electrical potential of two metals to produce an electrical current, c) The use of electrical current to produce hydrogen from water by electrolysis. All the ideas are well known; they simply havn“t been put together this way before. It is so simple as to be elegant.

When Francisco tried to interest the automobile industry in his invention, he was again confronted with skepticism or ignored. He contacted energy companies and one such company, Consolidated Edison, sent a research chemist to see the generator in action. The chemist was enthusiastic about the invention but when he took it back to his company, he told Mr. Pacheco later, his company had no interest. He sent details of his invention to all the major oil companies. The response was either cool or nonexistent. One oil company returned all papers to him in an unmarked envelope and then after a two hour meeting with him, a representative told him, ?We are in the oil business. Your invention, if we were to develop it, would be against our interests.?

Because he was getting nowhere with government and industry, in an effort to bring the generator to the attention of the public, Francisco contacted Geraldo Rivera, who he had meet after his power boat demonstration. Mr. Rivera was excited about the invention and promised to help, but apparently the TV station nixed the idea of doing a show.

In 1977, Mr. Pacheco adapted his generator to provide a complete energy system for his neighbor“s new home. A demonstration of the home generator was witnessed by the New Jersey Commissioner of Energy and staff, but again nothing happened.

In 1979, for 5 consecutive days, the generator was demonstrated for the public generating on demand hydrogen, electric and thermal energy as its output at the International Inventors Exposition. He received at this time, a plaque and award presented by a Commissioner of the Patent Department. At the Massachusetts headquarters of the Inventor“s Club of America, he received 2 consecutive Hall of Fame Awards for 1978 and 1979.

In 1980 the CBS program 60 Minutes contacted Francisco and told him they wanted to do an entire show on his invention. At last he believed on demand hydrogen would be recognized as a viable alternative energy source. Relieved and happy, he prepared for the show.

A 60 Minutes crew arrived to film his demonstration which took place in a friends barn. The demonstration included showing a hydrogen fueled burner, running an electric motor, blowing up a balloon with the gas, cutting a number 2 from a ¾" thick steel plate with a torch using the hydrogen and running a 3hp lawnmower engine. All demonstrations worked perfectly except for the lawnmower engine. Because he was going to be on national TV, Francisco went out and bought a new lawnmower for the presentation and did not have time to test it. Unfortunately, the engine choked due to the excessive amount of fuel being produced. The 60 Minutes crew reassured Francisco and told him not to worry. They said they had enough footage of the successful demonstrations to complete a program.

When the show was aired, however, it had quite a different focus. The only part of the demonstration that was shown was the failure of the lawnmower to work and was used to point out an example of an independent inventors non-working invention. Although Francisco was advised to sue the program for misrepresenting his work, he discovered that the cost to do so would be more than he could bear having already mortgaged his home to put the needed dollars into prototypes and demonstration models.

At first devastated by this betrayal, his belief system that motivated his research for 50 years, despite the obstacles and frustrations experienced along the way, kept him focused. In 1986, he wrote to the Department of Energy about his generator. He received a form letter in response from an "Information Specialist" which included brief information describing the virtues and drawbacks of hydrogen as fuel.

Although the DoE will not deny the advantages of this fuel, comparatively little research or dollars have been spent on developing hydrogen as a viable source for generating energy. Our huge dollar commitment to the nuclear industry and to the fossil fuel cartels, who are also heavily involved in nuclear processes, have blinded them to all practical alternatives. The powers that be, seem to wish to remain and will do so until people demand they move over and make way for some real solutions.

Francisco wrote back to the DoE, addressing each of their points with technical data on his system, showing them that the system he developed would overcome the obstacles they described. His detailed response was ignored.

For 46 years, Francisco tried to give his technology to America, his adopted country. He believed there were solutions to the serious environmental and health problems caused by the use of fossil and nuclear fuels. The evidence as to the negative effects of these energy choices is strong and growing stronger. Our concerns about the destruction of the ozone layer, acid rain, the greenhouse effect, air and water pollution, and oil spills that destroy marine life, and the nightmares created by our pursuit of an incomplete nuclear technology are now costing the public a great deal more than dollars. Perhaps, since it is ?we? the public who ultimately pay, it is time ?we? begin to pay closer attention and stop looking to a government, which has been part of the problem, for the solutions we need to find.

It has been a long time since Francisco Pacheco first came to the United States. After a lifetime of efforts to gain recognition for his work, which he offers to America as a tribute to liberty and as an instrument of peace, he remains firm in his convictions. He humbly but strongly believes in the words of an old wise man who once told him, ?SON, God put on your shoulders something very big. Do not ask yourself, why me? Think why not me.?

Francisco died in 1992. His grandson Edmundo holds the patent rights to the Pacheco Generator. His wife and daughter returned to Bolivia where Francisco's ashes were spread throughout the mountains of his beloved homeland and the source of his inspiration.


GOOGLE SEARCH RESULTS

 
http://www.mothersalert.org/pacheco.html

http://www.atlantisrising.com/issue4/ar4topten.html

http://www.franciscopacheco.org

http://merlib.org/taxonomy/term/429,2990

http://www.freerepublic.com/focus/f-chat/1806428/posts

http://www.freerepublic.com/focus/keyword?k=hydrogen

http://www.spiritofmaat.com/archive/feb2/bird.htm

http://www.padrak.com/ine/EREVBOOK.html

http://www.youtube.com/watch?v=8Zz-q8LesD4

http://www.zpenergy.com/modules.php?name=News&file=article&sid=392

http://www.komikalem.org/video_izle_Hydrogen_17.htm

http://waterpoweredcar.com/inventors.html 

http://metta-spencer.blogspot.com/2007/09/hydrogen-and-all-that-ive-just-finished.htm

http://www.forumdl.com/arama.php?kelime=hho

http://befreetech.com/top_ten_inventions.htm

http://www.himacresearch.com/docs/energy.html

http://www.tr01.com/arsiv-baslik5655.0.html

http://merlib.org/taxonomy/term/429,2990

http://www.freerepublic.com/focus/f-chat/1806428/posts

http://www.freerepublic.com/focus/keyword?k=hydrogen

http://www.spiritofmaat.com/archive/feb2/bird.htm

http://www.padrak.com/ine/EREVBOOK.html

http://www.youtube.com/watch?v=8Zz-q8LesD4

http://www.zpenergy.com/modules.php?name=News&file=article&sid=392

http://www.komikalem.org/video_izle_Hydrogen_17.html

http://rigorousintuition.ca/board/viewtopic.php?t=1480&sid=bc1c57b9ad71e433ba83774c7dfa2bad

http://waterpoweredcar.com/inventors.html

http://www.geocities.com/waterfuel111/hystory_patents_electrolysis.html

http://www.wasserauto.de/html/more_cars_.html 

http://www.paginadeinicio.com.mx/videotube/viewvideo.php?id=8Zz-q8LesD4

http://www.goldenplanetforum.com/viewtopic.php?t=227

www.youtube.com/watch?v=8Zz-q8LesD4&mode=related&search=water%20fuel

http://blog.360.yahoo.com/blog-ooVnzrU3eqXHKSdB2TQ.j3cMn.tCeQ--?cq=1&p=5784 

http://video.aol.com/video-detail/water-as-fuel-via-zpe/3949895579

http://talkaboutprofessions.com/group/alt.astronomy/messages/280520.html -

http://www.chemtrailcentral.com/forum/msg55822.html

http://www.smf.mx/Catalogo04/MEXICO/UNAM/fc.html

http://www.huffingtonpost.com/users/profile/Mikie - 146k

http://www.lib.bioinfo.pl/pmid:8575358

http://groups.google.kg/group/alt.astronomy/msg/4269fdccccd0c98f 


US Patent  # 5,089,107
( February 18, 1992 )

Bi-Polar Auto Electrolytic Hydrogen Generator

Francisco Pacheco

Abstract

An autoelectrolytic hydrogen generator system constituted by one or a plurality of similar cells wherein a galvanic arrangement of magnesium and aluminum plates of sacrificial elements as anode; stainless steel as cathode and sea water as electrolyte, by its very nature is made to develop a voltage when connected in short circuit causing a current to flow within the system and hydrogen production of hydrogen in situ and on demand by the electrolytic action at one pole, the cathode, and additional hydrogen by the electrochemical reaction at the other pole, the anode. Surplus electric energy of the system applied to a optional electrolyzer will also be made to produce additional hydrogen at its two sacrificial aluminum electrodes.
Inventors:  Pacheco; Francisco (Hewitt, NJ)  

References Cited: U.S. Patent Documents

3256504  June 1966  Fidelman
3892653  July 1975  Pacheco
3942511  March 1976  Black et al.
4325798  April 1982  Mack

BACKGROUND OF THE INVENTION

This invention relates in general to the production of electrolytic hydrogen from a suitable electrolyte: sea water, tap water sodium chloride solution or brine, particularly as a prime object to a technique that evolves hydrogen 99.98% pure at both electrodes of an electrolysis cell in which the arrangement and function of such electrodes are integrant parts of the invention.

In the electrolysis of brine or sea water, chlorine is produced at the anode, hydrogen together with sodium hydroxides at the cathode, i.e. "Dow cell".

Increasingly large amounts of hydrogen are used in industrial processes and actually as propeller fuel for space vehicles and in recent years is being recognized as the ideal one for automotive and other engines as well as utility fuel, inasmuch as its combustion with oxygen produces pure steam instead of pollutants, and with air minimal controllable emission of nitrogen oxides. While the proposed use of hydrogen for the above purposes is subject of many technical papers, actually, besides the NASA program there is not widespread commercial use of the concept, experimental work in projects to power automobiles fueled by hydrogen were and are actually performed in this Country, Europe and Japan, while every one demonstrated the excellence of the gas as energy carrier and its superior performance, in all cases hydrogen was and is supplied by the following methods:

1--PRESSURIZED

2--LIQUEFIED

3--STORED IN METALLIC HYDRIDES

The major factor that actually precludes the use of the gas hydrogen as automobile fuel or for that matter as utility fuel is that beside the problems of storage an delivery, the cost of production with the known techniques in amounts equivalent in terms of BTU's of energy, exceeds greatly the cost of conventional fossil fuels, even considering the fact that weight by weight, hydrogen is three times more powerful than gasoline.

The invention's disclosure will lead to the evidence that the cost of hydrogen will be appreciably reduced inasmuch as it is evolved at both electrodes, cathode and anode of the generator. The invention represents the solution of storage and delivery problems since the gas is produced in situ and on demand as described further, also represents a radical departure from the conventional electrolysis of sea water or brine and its results.

The electrolysis cell described in drawing (1) consists of: 1--CATHODE, the stainless steel lining of the plastic vessel and its permanently connected twin stainless steel plates between the anode banks. 2--ANODE BANKS, consisting of an arrangement of magnesium plates (key element of the system), permeable separators and aluminum plates. 4--The sea water as the electrolyte.

By its nature the cell as described above, is also a galvanic arrangement of elements that makes of it a source of electricity with a nominal 1.5 volts as difference of potential in open circuit at its plus and minus terminals and a negligible chemical reaction between magnesium and the electrolyte.

Referring to a single cell; when a variable load closes the circuit, an electric current flows trough the system, current that is inversely related to the load resistance and directly to the surface of the electrodes. The electric energy causes the magnesium anode to produce chlorine, the chemical reaction of the magnesium with the electrolyte produces hydrogen that is liberated at this electrode (anode). Hydrogen and sodium hydroxides are produced by electrolysis at the stainless steel cathode, the hydrogen is liberated at this electrode (cathode); the aluminum component of the anode slowly at first, reacts also chemically with the sodium hydroxides produced, and the resultant hydrogen increases the total output. It is not well understood, other than by speculative theory (time element?), the action of the permeable separator between the metals magnesium and aluminum, however and being incontrovertible the fact that it causes to be produced an excess of hydrogen above the predictable quantities produced by electrochemical reactions, this fact is disclosed and incorporated as principal and very important part of the invention.

The system produces analytically tested, hydrogen of 99.98 percent purity being evolved at the two electrodes with no traces detected of chlorine. Also as byproducts the cell produces magnesium and aluminum hydroxides that when recuperated from the system, represent the stock material industrially obtained from sea water and bauxite as first step in the industrial production of the mentioned elements, magnesium and aluminum.

SUMMARY OF THE INVENTION

In view of the foregoing it is the main object of this invention to provide an autoelectrolytic hydrogen generator making use of 30% of the total electric energy employed to industrially produce the elements magnesium and aluminum from sea water and bauxite, the invention makes use of such elements as an ideal and fully charged electric storage system.

More particularly it is an object of this invention to provide a hydrogen generator of the above identified type wherein the electric energy obtained by the arrangement of magnesium and aluminum as sacrificial metals is exploited to evolve electrolytic hydrogen at one electrode and electrochemical reactions to produce also hydrogen at the other electrode.

Also an object of the invention is to provide a system eliminating the problem of hydrogen storage inasmuch as the so far disclosed arrangement of the metals will produce hydrogen directly from sea water, its natural storage as electrolyte, only on demand and in situ thus effectively eliminating consequent expenses and hazards that are related to hydrogen stored under pressure or in liquid form.

Still another object of the invention is to provide a system in which the voltage generated in one or more cells wherein hydrogen is being produced electrochemically also serves to effect electrolysis in these cells and in a optional electrolyzer to increase the total volume of hydrogen output.

Briefly stated, these objects are attained in one basic embodiment of the invention wherein a voltaic sell constituted by magnesium-aluminum sacrificial anode, a stainless steel cathode and sea water as electrolyte is provided with an external flow loop and a pump powered by the cell surplus electric energy to: 1--circulate the electrolyte. 2--filter the same to separate it from the metal hydroxides. 3--to utilize the thermal output of the system in an independent heath exchange coil.

In another embodiment of the invention, to a plurality system of said basic cells an optional, conventional electrolyzer is attached at, wherein the surplus electric energy of the system is applied and additional electrolytic hydrogen produced also at both electrodes made of aluminum.

OUTLINE OF THE DRAWING

For a better understanding of the invention as well as other objects and further features thereof, reference is made to the detailed description and read in conjunction with the included drawing wherein:

FIG. 1 is a schematic diagram of the basic embodiment of the invention, and

FIG. 2 is a schematic diagram of a preferred embodiment of the invention.

DESCRIPTION OF THE INVENTION

First embodiment

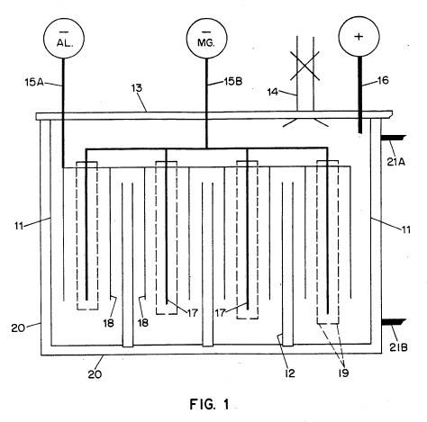
Referring now to FIG. 1, there is shown a basic hydrogen generating cell in accordance with the invention in which sea water as electrolyte is contained in a tank 10 fabricated of a high strength non-reactive plastic material, the internally stainless steel tank lining 11 and the permanently connected twin plates 12 of the same metal constitutes the cathode. The cover 13 of the tank 10 includes a gas outlet 14 and the terminals 15A, 15B (-) and 16 (+).

Immersed in the electrolyte and supported within the tank 10 are the plates of magnesium 17 and aluminum 18 together with the separator 19, an arrangement that constitutes the anode. External terminals of magnesium and aluminum to be connected when operating the cell. Since the cell generates the electric energy for the electrolysis, the cell operates as an auto-electrolysis device requiring no external energy source.

Second embodiment

The arrangement in FIG. 2, shows a group of hydrogen generator cells 1, 2, 3, and 4. identical in every detail as described in the first embodiment that are located within a plastic tank 20 with three partitions 21, 22, and 23 and provided with electrolyte circulating ports such as 21A and 21B.

In closing the circuit onto itself, the cells 1, 2, 3, and 4, connected in series, will develop about four times the voltage of a single cell.

An external flow loop 24 may be coupled to the tank 21 including a strainer 25 and a pump 26 that powered by the voltage derived from the system will separate the insoluble hydroxides from the electrolyte.

As disclosed, the four cells electric energy output may be utilized to operate as an integrant part of this embodiment an optional electrolyzer cell 27 that will evolve additional hydrogen also at both electrodes 28 and 29, being these electrodes made of aluminum. A manifold 30 is provided to discharge the total volume of hydrogen produced by the system.

While there has been shown preferred embodiments of the invention, it will be appreciated that many modifications and changes may be made without, however, departing from the essential spirit of the invention. For example, utilizing the electric energy developed by the system, the nature of the electrolyte and elements of the electrodes 28 and 29, of the electrolyzer cell 27. proper and known changes can be achieved.