rexresearch.com

Angelo Di PIETRO

Compressed Air Rotary Engine


Nearly 100% efficient... Weight: 29 lbs... 6 expansion chambers and pivoting dividers move a single rotary piston... Can be fitted directly to a wheel... Produces no exhaust.


http://www.abc.net.au/science/news/stories/s1183531.htm

Green Buggy Runs on Hot Air

by Heather Catchpole

This garden buggy runs on a tank of air, not petrol
(Image: CityWide)

A garden buggy is the first commercially operated vehicle in Australia to use air as a fuel instead of petrol. But a critic says the air motor would be no use in cars.

The vehicle, which is used to pick up garden material, will maintain the lawns of Melbourne's Fiztroy Gardens after its launch today.

The vehicle runs on compressed air from a cylinder. The air is blown through a rotor, which then drives the motor.

The engine's designer, Angelo Di Pietro from Melbourne company Engineair, said the motor has very low friction making it more efficient to run than other air-powered motors.

Tests of the vehicle in the workshop showed it could reach speeds of 40 to 50 kilometres per hour on a flat surface but would run for only one hour before it needed to be recharged with more compressed air.

But Di Pietro said this was still better than the similar sized battery-powered golf buggies, which take around eight hours for the battery to charge and create waste from old batteries.

He added that there were also no emissions from compressed air vehicles like there were from petrol-driven vehicles.

But Australian researcher and engineer specialising in motor research, Dr Andrei Lozzi from the University of Sydney, said air-powered motors were not anywhere near as efficient as motors that used fuel.

"The problem with an air motor is the heat from compression escapes so you get less energy than you put into compressing the air," he said.

"Somewhere down the line there is a fuel-driven mechanism that compresses the air," said Lozzi.

The energy that went into this may be more than what was available from the motor, he said.

A lot of hot air?

The air-powered motor was also less efficient than motors that run on gas because energy is lost as heat as soon as compressed air is injected into the cylinder, he said. This meant it couldn't use the maximum energy available in the system.

He said the air-powered vehicle could be convenient for short distances and may be more efficient than battery-powered vehicles, but it would be "no use" for passenger cars.

Di Pietro agreed energy was lost as heat when compressed air cooled but said that his company had developed a system that could regain this heat. This system was not used in the new vehicle but could be used to make air-powered motors more efficient for passenger cars, he said.

The system uses the energy in compressed air to take in heat from the atmosphere as well as air. This atmospheric air is then compressed to generate more heat, which in turn is used to drive the engine.

Di Pietro said he could not go into any more detail because of commercial reasons.

In response to the criticism that compressed air required more energy to make than it generated, Di Pietro said that energy also goes into the production of petrol, from searching and drilling for oil, to transport and delivery.

"Petrol goes halfway around the world," he said.

He added there was no reason the air could not be compressed with wind power or solar power if the technology was available.

"The same way people now fill up with gas you could refill with compressed air," he said. But he said cars that ran on air would need a cylinder that could contain double the amount of compressed air cylinders currently held, and this would increase the price.


http://www.abc.net.au/newinventors/txt/s1072065.htm

Rotary Piston Engine

by

Angelo Di Pietro

The Rotary Piston Engine is an engine which uses compressed air instead of petrol for its power source.

Angelo believes his engine is the first of its type in the world. The engine has various applications including for both moving vehicles and stationary machines.

The engine has been tested in a moving vehicle where it reached speeds of between 50kph and 60kph uphill. It has a range of 16km on a 100 litre cylinder but takes only a couple of minutes to refuel. As far as cost is concerned, 15 cents of air will get you 3.2km.

Although yet to be tested, Angelo believes his engine may have greater application in powering stationary machines like industrial pumps in the petrochemical and mining industries where internal combustion engines can’t be used because of the risk of explosion.
Inspiration

The inventor Angelo Di Pietro says he's been working on improved engine designs 'on and off' throughout his career as a mechanical engineer. His motivating force is a combination of altruism, professional satisfaction and material benefit for himself and his family. He admits he would 'like to make some money out of it' but, at the same time, he is equally motivated by a desire to help 'every individual take care of the environment'.
How does it work?

The motor concept is based on a rotary piston. Different from existing rotary engines, Angelo's motor uses a simple cylindrical rotary piston (shaft driver), which rolls, without any friction, inside the cylindrical stator. The space between stator and rotor is divided in six expansion chambers by pivoting dividers. These dividers follow the motion of the shaft driver as it rolls around the stator wall. The cylindrical shaft driver, forced by the air pressure on its outer wall, moves eccentrically, thereby driving the motor shaft by means of two rolling elements mounted on bearings on the shaft. The rolling motion of the shaft driver inside the stator is cushioned by a thin air film. Timing and duration of the air inlet and exhaust is governed by a slotted timer which is mounted on the output shaft and rotates with the same speed as the motor.
Further information

Variation of performance parameters of the motor is easily achieved by varying the time during which the air is allowed to enter the chamber: A longer air inlet period allows more air to flow into the chamber at high pressure and therefore results in more torque. A shorter inlet period will limit the air supply and allows the air in the chamber to perform expansion work at a much higher efficiency. In this way compressed air (energy) consumption can be exchanged for higher torque and power output depending on the requirements of the application.

Motor speed and torque are simply controlled by throttling the amount or pressure of air into the motor. Angelo’s motor gives instant torque at zero RPM and can be precisely controlled to give soft start and acceleration control.


Angelo Di Pietro


http://www.gizmag.com/go/3185/

Significant New Rotary Engine Design Runs on Compressed Air

September 15, 2004 --- There is no other motor as efficient as the Di Pietro Rotary Air Engine. It is 100% more efficient than any other air powered engine built to date and its high torque makes it the first air engine suitable for mobile applications. The invention has the capacity to revolutionise transportation, plus offer a multitude of energy-saving benefits in stationary applications.

The engine has no emissions, is very quiet, has constant high torque, a low parts count, no vibration and is very efficient - only 1 PSI of pressure is needed to overcome the friction to enable movement.

The engine has no emissions, is very quiet, has constant high torque, a low parts count, no vibration and is very efficient - only 1 PSI of pressure is needed to overcome the friction to enable movement.

Former Mercedes Benz experimental engineer Angelo di Pietro conceived the Rotary Air Engine while working in his Melbourne-based Engineering business over many years.

"I started work on this project many years ago in my head," said Pietro, "and I have seen the need for such an engine many times. As my engineering business was doing okay, I was able to spend more time on the idea and with each new prototype the design has been refined."

In 1999 he made a major design breakthrough and the first prototype was constructed. Since then, six prototypes have been built, each more efficient, more powerful and lighter than the previous one.

It's not surprising that Di Pietro's design should be a rotary engine. Angelo Di Pietro, (1950, Avellino, Italy) qualified as Congegniatore Meccanico in Avellino moved to Stuttgart, Germany to work on the Wankel rotary engine at the Mercedes Benz research laboratories 1969 and 1970. In 1971 he migrated to Australia where he established a construction engineering company.

From his early experience with Wankel rotary engines, Angelo became interested in developing a more efficient engine than the traditional reciprocating internal combustion engine, and he has worked on various alternative concepts intermittently over the last 30 years.

Recognising the potential of his invention Di Pietro decided to fully focus on the development of the new motor concept. The principle worked with the first prototype and, although not built to fine engineering tolerances, its performance far exceeded expectations.

Engineair Pty Ltd (http://www.engineair.com.au/) was established in September 2000, with the objective to perform research and development on the innovative air motor design. In the first 2 years the company focused on developing prototype models to test the concept and understand the performance characteristics. Current development status shows performance and efficiency to be superior over state of the art air motor technology.

Engineair is now entering the commercialisation of its technology and is working on several fronts to prove the engine's capability. One of the first commercial applications will see the Engineair Rotary Air Engine applied in a commercial and outdoor environment by Melbourne-based CityWide which has replaced the petrol driven engine in one of its ParkCare garden maintenance vehicles (known as a 'gator').

The vehicle will be used on the company's City of Melbourne parks and garden maintenance contract. The project will run over 2004-05 enabling CityWide to test the vehicle under different environmental conditions.

Engineair has already successfully tested the powerplant in a roadgoing passenger car, a go-kart, a boat and as the power source for a utility vehicle for use in the Melbourne Fruit and Vegetable market, the latter project in conjunction with the Melbourne Market Authority.

The Di Pietro motor concept is based on a rotary piston. Different from existing rotary engines, the Di Pietro motor uses a simple cylindrical rotary piston (shaft driver) which rolls, without any friction, inside the cylindrical stator.

The space between stator and rotor is divided into six expansion chambers by pivoting dividers. These dividers follow the motion of the shaft driver as it rolls around the stator wall.

The cylindrical shaft driver, forced by the air pressure on its outer wall, moves eccentrically, thereby driving the motor shaft by means of two rolling elements mounted on bearings on the shaft.

The rolling motion of the shaft driver inside the stator is cushioned by a thin air film. Timing and duration of the air inlet and exhaust is governed by a slotted timer which is mounted on the output shaft and rotates with the same speed as the motor.

Variation of performance parameters of the motor is easily achieved by varying the time during which the air is allowed to enter the chamber: A longer air inlet period allows more air to flow into the chamber at high pressure and therefore results in more torque.

A shorter inlet period will limit the air supply and allows the air in the chamber to perform expansion work at a much higher efficiency. In this way compressed air (energy) consumption can be exchanged for higher torque and power output depending on the requirements of the application.

Motor speed and torque are simply controlled by throttling the amount or pressure of air into the motor. The Di Pietro motor gives instant torque at zero RPM and can be precisely controlled to give soft start and acceleration control.


http://www.engineair.com.au/

Engineair Pty Ltd, based in Melbourne, Australia is a company focusing on the development of air motor technology based on a unique rotary piston concept. Different from conventional air motors, the Engineair motor, invented by Mr Angelo Di Pietro, has virtually eliminated internal wear and friction and offers superior performance at a wide variety of application requirements.

We invite you to browse and familiarise yourself with the innovative technology and it applications and opportunities

Engineair Pty Ltd
5 Export Drive
Brooklyn Vic 3012 Australia
Telephone 61 3 9318 0011
Facsimile 61 3 9318 0088


http://www.engineair.com.au/airmotor.htm

The Di Pietro Motor (Rotary Air Engine)

The Di Pietro motor concept is based on a rotary piston. Different from existing rotary engines, the Di Pietro motor uses a simple cylindrical rotary piston (shaft driver) which rolls, without any friction, inside the cylindrical stator. The space between stator and rotor is divided in 6 expansion chambers by pivoting dividers. These dividers follow the motion of the shaft driver as it rolls around the stator wall. The motor shown is effectively a 6 cylinder expansion motor.

The cylindrical shaft driver, forced by the air pressure on its outer wall, moves eccentrically, thereby driving the motor shaft by means of two rolling elements (not shown) mounted on bearings on the shaft. The rolling motion of the shaft driver inside the stator is cushioned by a thin air film. Timing and duration of the air inlet and exhaust is governed by a slotted timer which is mounted on the output shaft and rotates with the same speed as the motor.

Variation of performance parameters of the motor is easily achieved by varying the time during which the air is allowed to enter the chamber: A longer air inlet period allows more air to flow into the chamber and therefore results in more torque. A shorter inlet period will limit the air supply and allows the air in the chamber to perform expansion work at a much higher efficiency. In this way compressed air (energy) consumption can be exchanged for higher torque and power output depending on the requirements of the application.

Motor speed and torque are simply controlled by throttling the amount or pressure of air into the motor. The Di Pietro motor gives instant torque at zero RPM and can be precisely controlled to give soft start and acceleration control.

Angelo Di Pietro Director of R & D said:

"There is no other motor as good as ours, years of research and analysing other motors around the world gave me the confidence and obligation to say so. Obligation in the sense that people have been waiting for ages in relation to efficiency in order to take care of our environmental situation.

100% more efficiency than our competitor is a very serious claim and should not be confused with some kind of publicity stunt were the interest is purely to try and make money out of some ridiculous claim."

The invention has a long list of important improvements over other motors.

The concept has the capability to change the method we use for transportation, apart from the benefits of energy saving in stationary applications.

We have verification of its performance
We have patents issued
It has outstanding efficiency
It has constant high torque
It has low parts count
It has low number of moving parts
It is compact and light
It has virtually no friction
It has virtually no vibration
It has smooth speed control characteristics
Only 1 PSI of pressure is needed to overcome the friction


US Patent # 6,868,822

[ PDF Format ]

Rotary Piston Engine

( 3-22-2005 )

Di Pietro, Angelo

Applicant: ENGINEAIR PTY LTD (AU)
Classification: - international: F01C1/46; F01C1/00; (IPC1-7): F02B53/04; F02B53/06; - european: F01C1/46
Also published as: WO0106093 // EP1204809 // CA2378960

Abstract:  A non-reciprocating engine comprising a hollow cylindrical shaft driver (13) located in a cylindrical stator cavity (14) of a stator. A number of expansion chambers (43) form between the outer wall of the shaft driver, the stator wall and movable dividers (25) which extend from the stator to bear on the shaft driver. The expansion chambers expand and contract during operation of the engine. An output shaft passes centrally through the stator cavity and shaft driver and has offset bearings (34) which bear on the inside surface of the shaft driver. Inlet ports in a removable inlet end plate of the stator allow pressurised air or air/fuel mixture, for example, to be introduced into the expansion chambers. Sequential expansion and contraction of the chambers around the circumference of the shaft driver causes a combination of orbital and rotational movement of the shaft driver and consequential rotation of the output shaft. The shaft driver rotates at only a fraction of the speed of rotation of the output shaft (in the order of {fraction (1/10<th>-{fraction (1/20<th >the speed of rotation of the output shaft). One orbit of the shaft driver is equivalent to one rotation of the output shaft.

Description

The present invention relates to motors or engines and more particularly to a crankless engine which may be in the form of an internal combustion engine, a fluid driven motor such as an air motor, or a steam driven engine.

The term "crankless" refers to the fact that the motor does not have a conventional crankshaft and is not subject to reciprocating motion. The output shaft of the engine is in fact a straight shaft which is caused to rotate by offset bearings located in a drive member which may be termed a shaft driver, although in the strict sense, the motion of the so-called shaft driver is more an orbital motion with slow rotation relative to the speed of rotation of the output shaft.

Many different forms of rotary and orbital engines as well as other forms of engines have been proposed in the past with varying degrees of success but overall there has been no serious challenge to the reciprocating internal combustion engine at least insofar as automobiles are concerned. This fact is primarily due to the high wear rate in rotary engines and possibly the fact that the improvements in efficiency of rotary engines over reciprocating engines has not been sufficient to justify a major change in direction for engine manufacturers.

It is an object of this invention to provide an alternative form of a non-reciprocating type motor or engine which overcomes one or more of the shortcomings of prior art engines.

Accordingly the invention provides an engine comprising a hollow cylindrical shaft driver located in a stator cavity of the engine and surrounded by expansion chambers defined between the cylindrical wall of the shaft driver and the wall of the stator cavity, said expansion chambers being separated by movable dividers mounted in said stator and bearing on said shaft driver, an output shaft rotatably supported in said stator and passing centrally through said stator cavity and through said shaft driver, said shaft having bearing means to one side of said shaft which bear on the inside surface of said shaft driver whereby a combination of orbital and rotational movement of said shaft driver causes rotation of said shaft at a rotational speed much greater than the rotational speed of said shaft driver.

In order that the invention may be more readily understood one particular embodiment will now be described with reference to the accompanying drawings which show an air driven engine. In the drawings:

FIG. 1 is a perspective view from the inner side of an inlet end plate and inlet manifold of the engine;

FIG. 2 is a perspective view, from the outside, of a stator of the engine and shows, in exploded view, a shaft driver and movable dividers of the engine;

FIG. 3 is a perspective view of an output shaft assembly of the engine;

FIG. 4 is an end view of the engine from the inlet manifold end;

FIG. 5 is a view similar to FIG. 4 with inlet end plate and output shaft removed;

FIG. 6 is an end view of the output shaft assembly;

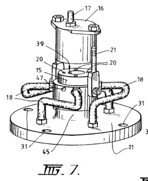
FIG. 7 is a perspective view (partly exploded view) from the outer side of the inlet end plate and inlet manifold;

FIG. 8 is a perspective view, from the inside, of the stator, shaft driver, and movable dividers, in an exploded view;

FIG. 9 is a further perspective view (from the opposite end to FIG. 3) of the output shaft assembly;

FIG. 10 is similar to FIG. 4 with end cap removed;

FIG. 11 is an end view of the engine from the output end with output shaft removed;

FIG. 12 is an end view of the engine end plate with inlet manifold and end cap removed;

FIG. 13 is an enlarged perspective view of a timing member located at the inner end of the output shaft; and

FIGS. 14(i)-(iv) show a cycle of the shaft driver within the stator cavity to produce a single revolution of the output shaft.

In the drawings, the engine is shown to comprise essentially a stator 10, an inlet end plate 11 and a output shaft 12. A shaft driver 13 is a hollow cylindrical ring which, when the engine is assembled, is located in a cylindrical stator cavity 14 of the stator 10.

The inlet end plate 11 has an inlet manifold 15 mounted centrally on the outer end thereof and a removable end cap 16 provides an air intake 17 to the inlet manifold 15. The inlet manifold 15 (see FIG. 7) fits over a cylindrical boss 45 of the end plate 11 and is locked onto the boss 45 by grub screws (not shown). The rotational position of the manifold 15 relative to the boss 45 may be adjusted to vary the timing of the engine. As is evident flexible pressure hoses 18 extend from the inlet manifold to inlet ports 19 in the end plate 11. The interior of the end cap 16 communicates with ports 20 (see FIG. 7), each of which communicates with one of the pressure hoses 18 to distribute inlet air at air intake 17 to the respective inlet ports 19 via the pressure hoses 18. The ports 20 are opened or closed by a timing member 36 locked to the inner end of output shaft 12 as will be described hereinafter. The end cap 16 is fixed to the inlet manifold 15 by bolts 21 which extend axially and enable the end cap 16 to be clamped firmly to the inlet manifold 15 in an airtight arrangement. A roller bearing 22 is located in the end plate 11 to support the output shaft 12.

As is more evidence in FIGS. 5 and 8, the stator 10 has a cylindrical stator 14 which is larger in diameter than the diameter of the shaft driver 13. The wall 23 of the stator 10 has part cylindrical grooves 24 which extend arcuately from a point in the stator cavity through the wall 23 and back to the stator cavity at a circumferentially displaced location. These grooves 24 accommodate respective movable dividers 25 which are able to move in the respective grooves 24 whereby an edge of a moveable divider 25 bears on the outer surface of the shaft driver 13. As is evident in FIG. 8 for example, the movable dividers 25 are part cylindrical dividers with a end portion 26 which supports an axial shaft 27 on which the divider pivots. The axial shaft 27 extends through a hole 46 in the stator 10 and passes out the end of the stator. As can be seen more clearly in FIG. 11, a spiral spring 28 locates in a slot in the end of each axial shaft 27 and is fixed to the stator 10 in order to bias pivotal movement of the respective moveable divider in a manner whereby an edge of the divider bears on the shaft driver 13. A further roller bearing 29 is located in the stator to support the output shaft 12. As is apparent in the drawings, holes 30 in the stator 10 and corresponding holes 31 in the end plate 11 enable the two parts to be bolted together in sealing engagement by bolts (not shown).

As is evident in FIGS. 5 and 11, exhaust ports 32 extend from the cylindrical stator cavity 14 through the fixed end of the stator 10 to allow exhaust air to dissipate to atmosphere. In addition to these exhaust ports 32, which allow primary exhaust air to dissipate at the opposite end of the stator 10 to the inlet manifold 15, a further or secondary exhaust route is provided via the inlet ports 19 and the inlet manifold 15. The secondary exhaust route follows the inlet air path back to the start of the ports 20 and a timing member or disc member 36. (FIG. 13) which bears on the outer surface 39 (FIG. 10) of the inlet manifold 15. A recessed portion 37 of the timing or disc member 36 allows one of the ports 20 to communicate with the bore of the timing disc 36. The bore of the timing or disc member 36 is a clearance fit over output shaft 12 (creating space 40) and thus any exhaust air forced back via the inlet manifold to timing or disc member 36 is captured within the recessed portion 37 and forced into space 40. As radial hole 47 in the inlet manifold extend to the space 40 and provides an exhaust outlet for this secondary exhaust air.

The output shaft 12 consists essentially of a straight shaft that is mounted in the roller bearings 22 and 29 of the inlet end plate 11 and stator 10, respectively. A driven plate 33 is mounted on the shaft and in the assembled engine locates within the shaft driver 13. The driven plate 33 has mounted thereon a pair of roller bearings 34 which are closely adjacent to each other and to one side of the shaft. The roller bearings 34 bear on the inside wall of the shaft driver 13 and are driven around the inner perimeter of the shaft driver 13 as will become apparent hereinbelow. The driven plate 33 is arranged to be rotationally balanced with the roller bearings 34. At the inner end of the shaft 12 a nut 35 retains the timing disc 36 on the shaft. The timing or disc member 36 has recessed portion 37 in a surface 38 of the timing or disc member 36 which bears on the outer surface 39 of the inlet manifold 15. As is evident in FIG. 10, the manifold 15 fits over the output shaft 12 and a space 40 exists therebetween. The recessed portion 37 as it moves around on the outer surface 39 exposes the ports 20 to the space between the inlet manifold and the shaft. The previously described radial hole 47 in the inlet manifold communicates with the space 40 and enables further exhausting of air in an expansion chamber of the engine as will become apparent hereinbelow.

A cut-out portion 42 in the circumference of the timing or disc member 36 exposes the ports 20 to inlet air pressure from the air intake 17. The timing or disc member 36 is therefore responsible for timing functions related to inlet air pressure and secondary exhaust air from the expansion chambers.

As will be evident in FIG. 5 and FIG. 14, expansion chambers 43 of the engine are formed between the outer surface of the shaft driver 13, the surface of the stator cavity 14 and between the dividers 25 where they contact the surface of the shaft driver 13. These expansion chambers 43 take varying shapes as the shaft driver 13 moves within the stator cavity 14. In order to better understand this movement, reference should now be made to FIG. 14 which shows a cycle of the engine resulting in a complete revolution of the output shaft 12. The engine is driven in this embodiment by compressed air and air under pressure is therefore connected to air intake 17 on the end cap 16. A suitable valve (not shown) is provided in order to open the supply of compressed air.

In FIG. 14, the four expansion chambers are labelled (a), (b), (c) and (d) for convenience in explaining a cycle of operation. Referring to FIG. 14(i), the expansion chamber 43(a) is receiving pressurised air because the timing member 36 is positioned on the end of the inlet manifold so as to expose the relevant port 20 to the pressurised air. Pressure in expansion chamber 43(a) creates a force against the side of the shaft driver 13 causing it to move in a direction whereby its contact with the surface of stator cavity 14 moves in an anti-clockwise direction. In other words, the shaft driver 13 does not specifically rotate but moves in a type of motion whereby the point or surface contact between it and the stator cavity 14 moves around the circumference of the stator cavity 14. Further expansion of the chamber 43(a) causes the shaft driver 13 to assume a position as shown in FIG. 14(ii) and at this point in time, the shaft has rotated through 90.degree. as shown by the position of the roller bearings 34 which are forced to remain in a space available internally in the shaft driver 13 by virtue of its offset position relative to the axes of the output shaft 12. This rotation of the output shaft 12 through 90.degree. causes the timing member 36 to expose the next relevant port 20 to high pressure air which then enters the expansion chamber 43(b) further pushing the shaft driver 13 around within the stator cavity 14.

It should be mentioned at this time that whilst the movable dividers are spring biased so that an edge thereof remains in contact with the outer surface of the shaft driver 13, pressure in an expansion chamber also acts via arcuate grooves 24 on the edge of the divider 25 not in contact with the shaft driver 13, to thereby assist in applying pressure between the divider and shaft driver.

Referring now to FIG. 14(iii), it can be seen that the cycle continues and in the position shown in FIG. 14(iii), the shaft has rotated 180.degree.. In this position, compressed air is being received in expansion chamber 43(c) whilst chambers 43(a) and 43(b) have been fully expanded. It should be noted that movement of the shaft driver 13 has exposed exhaust port 32 in chamber 43(a) whereby subsequent contraction of the chamber 43(a) by further movement of the shaft driver allows some of the air in chamber 43(a) to exhaust via the exhaust port 32.

As shown in FIG. 14(iv), the shaft driver 13 has moved to a new position whereby the output shaft 12 has rotated through 270.degree. from the initial position. In this position, the exhaust port 32 shown in FIG. 14(iii) has been closed by the movement of the shaft driver 13 but the chamber 43(a) is still contracting. This contraction of chamber 43(a) would compress air in that chamber if there was no other means for the air to escape. Such means is provided by the previously described secondary exhaust route. This enables air to return via the appropriate inlet port 20, into the recessed portion 37 of the timing member 36 and then into the space 40 between the inlet manifold and output shaft to eventually exit via exhaust port or radial hole 47. This means that the expansion chamber 43(a) can continue to contract in size as is evident in FIGS. 14(iii) and 14(iv) without compressing air in that chamber and resisting such movement. Similar events occur as the other chambers contract. In the next step of the cycle the components resume the position shown in FIG. 14(i).

As will be evident from the above description, the shaft driver 13 moves in the stator cavity 14 whereby contact between the outer circumference of the shaft driver 13 and the surface of stator cavity 14 moves around the cavity 14 as each expansion chamber receives compressed air. This movement may be considered as a type of orbital movement and whilst the shaft driver 13 does not rotate at the same speed as the output shaft 12, there is some rotation of the shaft driver 13. The speed of rotation of the shaft driver 13 depends upon the difference in circumference between the shaft driver and the stator cavity 14. Generally speaking, the shaft driver 13 rotates at a speed of about 1/12.sup.th to 1/20.sup.th of the speed of rotation of the output shaft 12. This provides a distinct advantage in that there is minimal wear between the surface of the movable dividers 25 where they contact the shaft driver 13 and the surface of the shaft driver 13. This is because there is little rotation of the shaft driver 13 relative to the output shaft 12. As will also be evident, rotation of the output shaft 12 is caused by the roller bearings 34 moving, or remaining, in the space provided for them within the shaft driver 13.

The direction of rotation of the output shaft 12 is simply reversed by rotating the manifold 15 on the cylindrical boss 45. The rotation of the manifold will expose next port 20 to the cut-out portion 42 in the circumference of the timing member 36 to communicate the interior of the end cap 16 with chamber 43(b) instead of chamber 43(a) as per FIG. 14(i).

Whilst the embodiment described above relates to an engine driven by compressed air, clearly other types of engines may be readily constructed. For example, by providing spark plugs in the stator cavity 14 for each expansion chamber and introducing a fuel/air mixture into the engine, an internal combustion engine may be provided. Also, the engine could be driven by steam or by other fluid means. It is also conceivable that an internal combustion engine embodiment of the invention could drive a vehicle as well as an air compressor in the vehicle whereby during certain times, the fuel air mixture could be turned off and the engine could run from compressed air provided by the compressor. This would have advantages where fuel is not available or where pollution by internal combustion engine exhaust is a sensitive issue. For example, within certain city limits internal combustion engines may be prevented from use in the future and an engine of the type described herein could be run on compressed air for periods of time whilst in these areas.

It should be apparent that the engine according to the present invention offers many advantages over existing engines. For example, the engine is non-reciprocating and therefore is essentially vibration free. There are fewer moving parts and minimum friction resulting in a much more efficient engine with minimum wear. The output shaft of the engine is a straight shaft and therefore avoids many of the inherent balancing and vibration problems of existing reciprocating engines. In order to increase the output power of the engine according to this invention, it is merely necessary to provide additional stator assemblies on the same output shaft. The engine is compact and lighter than existing engines and this results in improved efficiency.

Whilst one particular embodiment has been described in detail, it should be evident to persons skilled in the art that variations may be readily effected without departing from the spirit and scope of the invention. Clearly additional parts can be added to provide a production version of the engine. For example, it would be necessary to provide an outlet manifold covering the exhaust ports 32 in order to direct the exhaust air to a single exhaust outlet point. Also, a fly-wheel (not shown) would be provided in order to contribute to the smoother running of the engine.