rexresearch.com

Robert L. SCRAGG

Solar Reactor Engine



 "A Law of Physics Repealed?"
"Fantasy Or Real: Cars, Planes That Run On Light?"
"Found: Virtually Unlimited Energy"
US Patent # 3,988,205 ~ Solar Reactor Steam Generator Method & Apparatus
US Patent # 4,024,715 ~ Solar Reactor Engine
US Patent # 4,026,112 ~ Solar Reactor Engine
US Patent # 4,070,861 ~ Solar Reactor Combustion Chamber
US Patent # 4,175,381 ~ Electromagnetic Reactor Engine System ~ Apparatus &  Method
US Patent # 4,426,354 ~ Power Generator System For HCl Reaction
US Patent # 4,374,288 ~ Electromagnetic Process and Apparatus for Making Methanol
US Patent # 6,000,214 ~ Detonation Cycle Gas Turbine Engine System Having Intermittent Fuel and Air Delivery


Spotlight (April 18, 1979)
"A Law of Physics Repealed?"

Reported in the Washington Star recently was the astounding news that the Solar Reactor Corp. of Miami has solved just about all of man's energy problems forever through a process even the inventor doesn't understand. The company says any amount of energy can be produced at virtually no cost and with no environmental problems. Although company spokesmen say they don't like the term, what they described at a recent news conference in Washington is a perpetual motion machine that produces more energy than it consumes, a process that seems to violate the generally accepted laws of physics. Apparently, hydrogen and chlorine are pumped into a container where, in the presence of oxygen, they are exposed to some source of energy -- perhaps artificial light, the sun, or low-level radiation from nuclear waste. The result is an ionized hydrochloric gas containing great amounts of energy which can then be recovered for use through a turbine or other means. it is kinetic energy, not heat energy, so the process is cool and easy to use. The tests have used artificial light because sunlight is too powerful and the people involved are scared about what might happen if it were used. The process was invented by Robert L. Scragg of West Virginia, and the company said it would not accept money from the public but is looking for private backers to raise the $5 million needed to create an operational prototype. They expect to be in production within two or three years.

Tribune (7-1-79)
"Fantasy Or Real: Cars, Planes That Run On Light?"

UPI ~ Ships, locomotives and airliners that carry no fuel. An automobile uses only a small supply of hydrochloric acid as a power medium -- over and over again. A power plant generates electricity without consuming coal, petroleum or uranium.

Fantasy or real possibilities?

A Miami engineering firm has several small internal combustion engines already being run in this manner on ultraviolet light without requiring any real fuel.

A California engineer says he is preparing to use an ultraviolet laser to extract hydrogen from water continually to power an automobile.

No firm answer can yet be given to the question of whether either process is the key to solving the world's energy problems. But the leading article in the may Scientific American by Prof. Avigdor N. Ronn of Brooklyn College, entitled "Laser Chemistry", makes it clear that chemists around the world are working busily trying to use the energy of light as opposed to heat, the source of all energy up to now.

If it turns out as chemists are starting to believe, that light can trigger controlled chemical reactions to produce enormously more energy than any thermal reaction from fossil fuel, then man indeed could be on the threshold of a truly unlimited source of energy. We could stop using coal or petroleum for fuel and reserve it all for chemical feedstocks, particularly for fertilizer chemicals to produce food.

The bitter issue over nuclear power would subside for nuclear power simply no longer would be needed. Uranium, henceforth, would be useful only for making weapons.

The supply of light in nature is unlimited, and artificial light in the small amounts needed to set off chemical reactions to produce large amounts of energy can be obtained easily and cheaply from an ordinary automobile generator and storage battery.

The Miami firm that is running small engines on ultraviolet light is Solar Reactor Corp., headed by Robin Parker. It is working on a reaction discovered partly by accident by Robert Scragg, an inventor. Scragg learned that ultraviolet light can set off a reaction between hydrogen and chlorine producing many times as much mechanical energy in a small engine as gasoline or diesel fuel.

Further, the reaction can be produced in a closed loop with the small amount of hydrochloric acid used over and over again like the vapor medium in a Rankine cycle steam engine.

The actual energy used in the reaction comes from small ultraviolet light plugs resembling spark plugs made for Solar Reactor by Champion Spark Plug Co.

It looks like the nearest thing to perpetual motion yet achieved although it isn't really that. Parker and Scragg have no yet built the closed loop but they say it can be built out of off-the-shelf hardware available from several chemical equipment manufacturers.

So far they have operated a Honda 4-cycle motorcycle engine, two small Tecumseh appliance engines, and a tiny turbine engine they built themselves by the method.

Parker says they are planning to build a closed loop light engine for an automobile, one for a boat, and one for a stationary motor-generator set. Ordinary 4-cycle engines will be used. They have to be modified because no compression stroke is needed, but the valves are needed. The engines will fire like a 2-cycle engine, thus doubling the mechanical energy output.

All this will take time and money, which must be raised. Parker, who is an architect by profession, says the 10 owners of Solar Reactor are willing to license the process free to any company who will proceed to put it to work, but they will not license it to anyone who wants to delay action.

Scragg made his discovery after realizing that all solar energy research up to now has been concerned with thermal energy, or the infrared end of the electromagnetic spectrum whereas light contains more energy. It is light, not heat, that makes plants grow. Light has the energy to move itself at a speed of 186,000 miles a second. This led him to think about the laser, a device for utilizing light energy invented some 20 years ago. But the laser is a very expensive device and has never lived up to original expectations. [This was written in 1979]

Then one day he ran across a report published in the 1920s by a graduate student saying that, in the presence of ordinary ultraviolet light, hydrogen and chlorine react with extreme violence to produce vast amounts of energy. Scragg was staggered.

Scragg experimented successfully, then sought backers. Hydrochloric acid is easily made from seawater, is easily broken down into hydrogen and chlorine, and easily put back together. It takes as much energy to extract it from water as the energy it contains, but what difference does that make of you can use it over and over again more or less indefinitely?

Brooklyn College's Dr. Ronn said he knows Scragg and has discussed his discovery with him. Ronn said it may have all the potential Scragg believes, but it will take a lot of time and money to prove it.

The closed loop is essential to prolonged operation of the light engine, not only to avoid consuming the hydrogen and chlorine but to prevent an exhaust. An exhaust from such an engine would be quite toxic and corrosive.

Scragg and Parker estimate that an automobile powered by a light engine would carry one to three gallons of hydrochloric acid in its closed loop system. The acid would pass through a converter to be broken down into hydrogen and chlorine and the separate gases then would be fed into the engine's cylinders and would react together as the ultraviolet plugs emitted light, creating an expansion to drive the pistons. Acceleration and deceleration would be controlled by a rheostat varying the timing of the light plugs, not by varying the flow of the gases.

Even though the reaction is induced by light instead of heat, the temperature in the center of the cylinder reaches 1,000 degrees Fahrenheit. The thermal energy thus created without combustion is at least four times that of a gasoline engine and the mechanical energy appears to be up to 14 times as high as a gasoline engine of the same size.

At 1,000 F., gaseous hydrochloric acid is not corrosive to metals, but as the gas leaves the cylinders it goes through a scrubber to return it to liquid hydrochloric acid to renew the cycle.

Scragg and Parker concede that they do not fully understand what happens inside one of their engines when they are running, and that the action appears to violate some of the accepted laws of thermodynamics. That is one reason so much work must be done.


"Found: Virtually Unlimited Energy"

by
Burch B. Stewart, Ph. D.

On March, 1979, an exciting discovery regarding the use of hydrogen as a fuel was made by a Miami-based firm called Solar Reactor Corporation. The basic process was first discovered in 1975 by Robert Scragg, a Miami inventor. The basic process and other aspects are now covered by seven US patents including coverage in 20 countries.

More Energetic Than Gasoline

How much energy can one expect to obtain by exploding hydrogen instead of gasoline? On an equal weight basis the normal hydrogen explosion produces approximately three times a much energy as gasoline. What does the new hydrogen process (involving hydrogen, chlorine and radiation) produce? Based on numerous recent careful tests made by two independent laboratories (one was H.P. White Laboratory, Belair, MD) the new process produces almost five times more kinetic (motion) energy than the explosion of hydrogen with oxygen. On the basis of an equal weight of fuel, the new hydrogen process produces 14 times more motion energy than gasoline. This is the highest energy output of any known process (other than nuclear reactions such as fusion or fission)

How Tests Were Made

A series of precise side-by-side experiments were carefully carried out to determine the kinetic energies resulting when a projectile (wooden ball) was given a high impulse thrust out of a mortar using controlled explosions of hydrogen. Hydrogen-0xygen-arc radiation produced a normal explosion which propelled the wooden ball with predictable kinetic energy. A side-by side test using hydrogen-chlorine-arc radiation, identical in every way except for the substitution of oxygen, gave an impressive result: almost five times greater kinetic energy was obtained using hydrogen-chlorine-arc. The energies were determined from precise velocity measurements using standard ballistics techniques and electrical equipment. The overall test set-up is shown in the first photograph. Close-ups of the mortar, reactor, and projectile are shown in the other photographs. [Not included here]

Significance Of Findings

(1) Virtually unlimited energy can be obtained by proper utilization of the process. Since hydrogen and chlorine are readily available from sea water, there is no shortage of fuel and oxidant.

(2) Since the product of the explosion is primarily hydrochloric acid, the hydrogen and chlorine needed for the second cycle can be obtained from the product, suing known or improved electrolysis technology. In other words, the fuel can be recycled.

Future Possibilities

(1) Since the yield of kinetic energy is extremely high, very efficient lightweight kinetic engines can be used with this process. Thus the process can be applied to internal combustion engines, rotary engines, rockets, and gas turbines.

(2) Since plasma (mixture of ions and electrons) is produced in the explosion, the process can be used to obtain byproduct electrical current (for example, using a magnetohydrodynamic generator).

(3) Since the kinetic energy is extremely high, electricity can be generated on a small scale (50 kilowatts) as well as on a large scale (1,000 megawatts).


US Patent # 3,988,205
(December 21, 1976 )

Solar Reactor Steam Generator Method & Apparatus

Robert L. Scragg

Abstract -- A solar reactor steam generator is disclosed which includes a concrete housing with reactor chamber, tubular heat exchanger, solar sight glass, and solar intensifier. In one embodiment, the reactor chamber is cylindrical. Inside the chamber is a heat exchanger which consists of a single pass helical tube stack which absorbs and conducts convective, conductive, and radiated heats of reactions to liquids or vapors inside the tube. A solar intensifier, such as a parabolic reflector, is mounted on top of the reactor housing. It collects and intensifies solar rays, then guides them down through a solar sight glass, mounted in top of the housing, into the reactor chamber, onto a reflector cone which disperses solar rays throughout the chamber. Hydrogen, chlorine, and atmospheric oxygen are piped into the reactor chamber via tubing. The hydrogen and chlorine react with controlled explosive violence when exposed to the solar rays. It should be understood that high intensity lamps can be used in the absence of solar rays. In another embodiment of this invention, carbonaceous blocks with single pass tube configurations are used in a rectangular reactor chamber.

Inventors:  Scragg; Robert L. (2937 SW. 27th Ave., Miami, FL 33133); Parker; Alfred B. (2937 SW. 27th Ave., Miami, FL 33133)
Appl. No.:  564087  ~ Filed:  April 1, 1975

Current U.S. Class: 126/609; 60/641.15; 126/686
Intern'l Class:  F24J 003/02
Field of Search:  126/270,271 237/1 A 290/2 60/641 62/2 136/89

References Cited [Referenced By]

U.S. Patent Documents
3070703 Dec., 1962 Podolny 126/270.

Description
Background of the Invention:

This invention relates to reactors and boilers and more specifically to solar reactors and boilers utilizing tungsten carbide tubing and silicon carbide blocks with tube configurations as mediums for absorbing conductive, convective, and compression heats, and infrared radiation; and utilizes gaseous or liquid hydrogen and chlorine as reactants.

In the process of generating steam for power turbines or for other processes, two basic methods are used to produce heat for generating steam. One is external or atmospheric combustion of fossil fuels which conducts and convects heats of combustion around or through fire or water tube boilers. A second method is the internal reaction of nuclear radiation which radiates, conducts, and convects radiated heat into exchange mediums that conduct and convect the heats to water tube or vessel boilers. Both of these systems have several factors in common when used as primary heat sources in large utility power generation, i.e., they can't be turned on and off, cooled or heated on a cyclic basis to meet consumer load demands placed on utilities. Therefore, they generate a surplus of power during low demand periods, i.e., from 10:00 P.M. to 6:00 A.M., and do not generate enough power during high demand periods such as from 6:00 A.M. to 10:00 P.M. Both of these systems are restricted to utilizing only conducted and convected heats directly to the heated tube or vessel exchange mediums. In addition, both of these systems are hazardous to the environment and are limited in efficiency due to the heat exchange mediums available sources of combustion and radiation known in the art.

It therefore is an object of this invention to provide a method for generating steam for power turbines during daylight high load demand periods.

It is another object of this invention to provide a method of utilizing fuels and reactants which can be produced by electrolysis cells during nighttime low load demand periods.

It is another object of this invention to provide a method for utilizing conductive, convective, radiated, and compressive heats directly as heat exchange mediums.

It is another object of this invention to provide a method of generating steam that is non-hazardous to the environment.

It is another object of this invention to provide a method of generating steam more efficiently.

It is another object of this invention to provide a method of converting electrical power into fuels and/or reactants and then storing same.

It is another object of this invention to provide a method of utilizing stored fuels and/or reactants to generate steam when load demands are high.

Short Statement of Invention

Accordingly, this invention relates to a solar reactor steam generator method and apparatus and its application in the electrical power generating process and includes a method of producing fuels and/or reactants for the solar reactor. An electrical power generator provides AC power to a power rectifier which thereby produces direct current. The direct current powers a chlorine-sodium hydroxide electrolysis cell. Hydrogen produced by the cell is compressed and stored until needed. Chlorine produced by the cell is compressed and also stored until needed. Sodium hydroxide and sodium chloride produced by the cell are used for suitable processes as desired. During daylight hours, solar rays are received by a parabolic reflector or other suitable focusing means which is controlled by an automated azimuth tracker. The parabolic reflector concentrates the solar rays into an intense focal point reflector whih reflects the intense solar beam via a series of reflectors, through a solar sight glass into the reactor chamber, and onto the surface of a conical reflector at the base of the chamber which disperses the solar rays throughout the chamber. Hydrogen and chlorine from the storage tanks are fed into the solar reactor chamber, which is cylindrical and contains a helical tube stack pressed against the chamber wall. Water is fed into the base port of the tube stack. The hydrogen and chlorine react with controlled explosive violence when exposed to intensified solar rays thereby producing intense heat within the chamber. The heat vaporizes the water in the tube stack, producing steam at the top tube port. The steam is fed to the power turbine where it is used in the power generating process.

In another embodiment of this invention, a rectangular reactor chamber is provided with carbonaceous blocks containing a fluid conducting tube therein. In this embodiment a pyramid reflector at the base of the chamber is utilized.

Brief Description of the Drawings

Other objects, features and advantages of the invention will become more fully understood from the following detailed description of the preferred embodiment, the appended claims and the accompanying drawings in which:

FIG. 1 is a section view taken in elevation of one embodiment of the solar reactor steam generator;

FIG. 2 is a section view taken in elevation of another embodiment of the solar reactor steam generator;

FIG. 3 is a block diagram of the solar reactor steam generator illustrating the reactant producing process.

Detailed Description of the Embodiments

Throughout the detailed description of the embodiments of the present invention, like numerals will correspond to like elements in the figures.

Refer now to FIG. 1 where there is disclosed a section view of the one embodiment of the solar reactor steam generator. Fuel and/or reactants are fed into the solar reactor chamber 32 via tubes 21 and 22. In the preferred embodiment chlorine is fed into the reactor via tube 22 and hydrogen via tube 21 at controlled rates. Atmospheric oxygen is fed into the cylindrical chamber 32 via tube 23 under the base of conical reflector 24. Water is fed into the exchanger tubing 25 via tube 26. Solar rays are concentrated and intensified by an azimuth tracking parabolic reflector system such as is well known in the art. Solar radiation is received by a parabolic reflector 35 which tracks the sun by means of a conventional azimuth tracker 37. The parabolic reflector concentrates the solar rays into a focal point reflector 39 which reflects the intense solar beam via reflector 41 through the solar sight glass 27. The intensified solar rays are directed downward through solar sight glass 27, which is encased within the reactor chamber wall 28, and onto the surface of conical reflector 24, which disperses the intense solar rays onto the surface of the exchanger tubing 25. Hydrogen and chlorine gas emitted into the chamber 32 via tubes 21 and 22, respectively, react with controlled explosive violence creating intense heat and pressure within the chamber 32. Pressure relief valve 29, shown schematically, release excessive pressure in chamber 32. Heat in the chamber 32 is transferred and absorbed in exchanger tube 25 by conductive, convective, compressive, and infrared radiation, thereby vaporizing the water in the tube 25. The vaporized water is exhausted into tube 30 for utilization in a manner to be described more fully hereinbelow.

Refer now to FIG. 2 where there is disclosed an alternate embodiment of the solar reactor steam generator. In this embodiment, exchanger tubes 25 are enclosed in silicon carbide blocks 31 which are mounted flush to the walls of rectangular chamber 32. The use of silicon carbide to generate steam is more fully disclosed in copending U.S. patent application Ser. No. 534,588, filed Dec. 19, 1974 by the same inventors herewith. The subject of that application is hereby incorporated herein.

Refer now to FIG. 3 where there is disclosed block diagram of fuel source 11, a power generator 12, a distribution system 19, a utilization means 20, a method of generating fuel and/or reactants via a power rectifier circuit 13, a chlorine-sodium hydroxide electrolysis cell 14, a chlorine compressor storage tank 15, a hydrogen compressor storage tank 16, a sodium hydroxide and sodium chloride process and storage tank 17, and the solar reactor steam generator 32 illustrated in FIGS. 1 and 2.

In operation a supply voltage from the alternating current power source 12 is fed to the power rectifier circuit 13. The power rectifier circuit 13 includes a step down transformer which converts the high voltage output of the generator 12 to a relatively low voltage. This voltage is then rectified to provide a direct current which preferably is in the range of, e.g., 3.6-3.75 volts, which is the typical operating range of the electrolysis cell 14. In the event the supply voltage is direct current, the power rectifier 13 is by-passed, and the DC voltage stepped down to the desired voltage range by suitable means known in the art.

It should be understood that a low voltage high current generator, such as, for example, a homopolar generator, could be appropriately driven by a steam turbine to provide current to the electrolysis cell 14. The desired voltage, i.e., 3.6-3.75 volts at the desired current level, depending on the size of the cell 14, is fed to the chlorine-sodium hydroxide electrolysis cell 14. At the same time saline water, or brine, is pumped into the cell. Electrolysis then takes place and chlorine is formed at the cell anode while hydrogen is released at the cell cathode, leaving a 10-15% sodium hydroxide solution and a 10-15% sodium chloride solution in the cell liquor. Accordingly, 70 to 80% of the saline water is converted to hydrogen and chlorine. The chlorine is compressed into storage tank 15. The hydrogen is compressed into storage tank 16. The hydrogen and chlorine are then fed to the solar reactor 32 at a controlled rate by suitable means known in the art. The sodium hydroxide and sodium chloride are fed into process storage tank 17, then used in other processes as desired. The hydrogen is fed into the solar reactor chamber 32 via tube 21. The chlorine is fed into the solar reactor chamber 32 via tube 22. Atmospheric oxygen is fed into the solar reactor chamber 32 from storage tank 33 via tube 23. Water is fed from chlorine treated water storage tank 34 via tube 26 into the heat exchanger tubes 25. Intensified solar rays are directed through sight glass 27, illustrated in FIGS. 1 and 2, into the reactor chamber 32 onto the conical reflector 24 which disperses the solar rays onto the surface of the exchanger tubes 25. The solar rays bring about a reaction of controlled explosive violence between the hydrogen and chlorine, emitting conductive, convective, compressive, and infrared heat. The heat is absorbed by the exchanger tubes 25, vaporizing the water and discharging steam via tube 30 which is then fed to power generator 12 to drive power turbines. Pressure relief valve 29 provides a means for releasing excessive pressures that build up in the reactor chamber 32. The hydrogen chloride exhausted by valve 29 is channeled to an appropriate mechanism for converting the hydrogen chloride to acid or other appropriate compounds as desired.

While the preferred embodiment of applicant's invention has been disclosed, it would be appreciated that there may be other alternate embodiments of applicants' invention which fall within the spirit and scope of the invention as defined by the appended claims.

Claims ~ [Not included here]



US Patent # 4,024,715
(May 24, 1977 )

Solar Reactor Engine

Robert L. Scragg

Abstract  -- A solar reactor engine is disclosed which includes a concrete or other suitable housing having a reactor chamber therein. In one embodiment, the reactor chamber is cylindrical. A solar intensifier, such as a parabolic reflector, is mounted on top of the reactor housing. The parabolic reflector collects and intensifies solar rays and guides them down through a solar sight glass, mounted on top of the housing, into the reactor chamber. The concentrated beam of light is directed onto a reflector cone within the reactor chamber which disperses solar rays throughout the chamber. Hydrogen and chlorine are conducted into the reactor chamber and react with controlled explosive violence when exposed to the solar rays. Oxygen is used as a control medium to regulate the energy given off by the reaction of the hydrogen and chlorine in the presence of solar energy. The heat and pressure thus formed are utilized to drive a turbine, the output of which is utilized to drive a suitable utilization device. In another embodiment of the invention, the solar reactor engine is housed in a metal or other suitable housing so that the reactor engine can be utilized for propulsion or mobile applications.
 

Current U.S. Class: 60/641.15; 60/508; 60/509; 60/673


Intern'l Class:  F03G 007/02; F01K 025/08; F01K 011/00
Field of Search:  126/400,263,270,271 60/649,673,641,508-515

References Cited: U.S. Patent Documents
3302401 (Feb., 1967) Rockenfeller (60/649).

Background of the Invention

This invention is a continuation-in-part of copending application Ser. No. 564,087, filed Apr. 1, 1975, and titled Solar Reactor Steam Generator Method and Apparatus.

Description

This invention relates to reactors and turbines and more particularly is related to solar reactors and gas turbines which utilize the controlled energies developed by the combination of hydrogen and chlorine in the presence of solar energy to convert this photo-chemical energy into mechanical and/or electrical power.

In the process of converting energy into mechanical and electrical power, many forms of primary movers, i.e. energy converters, have been utilized. The most widely used converters are gasoline and diesel engines, jet engines and gas turbine engines. All of these engines convert fossil fuel into kinetic energy which is then converted directly to mechanical power. Another example of a common converter commonly used in the art is the steam boiler. The steam boiler converts fossil energy into kinetic energy which is then converted to mechanical power by means of steam turbines. It is a characteristic of all of the above-identified energy converters that their efficiency does not exceed 40%. Thus, only 40% of the input BTUs in fuel is converted to output horsepower. Further, each of the aforementioned engines operates with detrimental environmental effects; and all are dependent upon fossil fuels or refined fossil fuels which require tremendous capital investments for recovery, refining and distribution.

It therefore is an object of this invention to provide a method for converting photo-chemical energy to mechanical and/or electrical power in sufficient quantity for direct or supplemental utility operation.

It is another object of this invention to provide a method of utilizing fuels and reactants, which can be produced by electrolysis cells and stored wherever electrical power is available, whether it be in stored or generated capacity.

It is yet another object of this invention to provide a method of utilizing the explosive energies of reactant gases such as hydrogen and chlorine to drive a gas turbine.

It is another object of this invention to provide a method of evacuating exhaust gases to thereby reduce the back pressure of a gas turbine engine thereby resulting in higher efficiencies for the engine.

It is yet another object of this invention to provide a method of generating power in the form of a prime mover or electrical generator which generates no harmful emissions.

It is yet another object of this invention to provide a method of generating power in the form of a prime mover or electrical generator which is more efficient than existing energy converters.

Another object of this invention is to provide a method of generating power in the form of a prime mover or electrical generator that does not utilize fossil or nuclear fuels which may potentially pollute or otherwise harm the environment about the generator.

Short Statement of the Invention

Accordingly the present invention is related to a solar reactor engine which includes a solar reactor chamber having means for controllably coupling chlorine and hydrogen thereto. A parabolic reflector or other suitable focusing means is positioned with respect to the reactor chamber and is controlled by an automated azimuth tracker. The parabolic reflector concentrates the solar rays into an intense focal point reflector which reflects the solar beam via a series of reflectors through a solar sight glass and into the reactor chamber. The beam of light passes through the reactor chamber and onto the surface of a conical reflector at the base of the chamber which disperses the solar rays throughout the chamber. The hydrogen and chlorine coupled to the reactor chamber exothermicly react to generate hydrogen chloride at a high temperature and pressure level. A turbine is positioned on at least a portion of at least one wall of the reactor chamber with the pressurized hydrogen chloride driving the turbine. An exhaust chamber is positioned on the opposite side of the turbine from the reactor chamber wherein the hydrogen chloride is converted to hydrochloric acid to thereby form a partial vacuum in the exhaust chamber. The partial vacuum has the effect of creating an increased pressure differential across the turbine to thereby increase the efficiency of operation of the turbine. The hydrochloric acid is conveyed away from the exhaust chamber.

In another aspect of the invention, batteries are provided for generating an electrical current which is coupled to a chlorine-sodium hydroxide electrolysis cell. The electrical current coupled to the electrolysis cell causes the generation of chlorine and hydrogen therein which is coupled to the solar reactor. At the output of the exhaust chamber of the reactor engine the hydrogen chloride is reacted with sodium hydroxide to thereby produce water and sodium chloride. The water and sodium chloride are coupled back to the chlorine and sodium hydroxide electrolysis cell so that the cycle is continuously repeated.

Brief Description of the Invention

Other objects, features and advantages of the invention will become more fully understood from the following detailed description of the preferred embodiment, the appended claims and the accompanying drawings in which:

FIG. 1 is a simplified section view taken in elevation of a preferred embodiment of the solar reactor engine of the present invention;

FIG. 2 is a simplified section view taken in elevation of another embodiment of the solar reactor engine of the present invention;

FIG. 3 is a simplified section view taken in elevation which illustrates another embodiment of the solar reactor engine of the present invention;

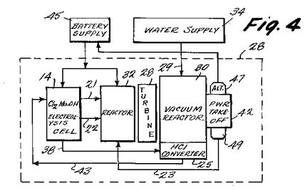
FIG. 4 is a block diagram of the solar reactor engine illustrating the reactant producing process and power generating process in an existing utility power system.

Detailed Description of the Embodiments

Throughout the detailed description of the embodiments of the present invention, like numeral will correspond to like elements in the Figures.

Refer now to FIG. 1 where there is disclosed a simplified section view of one embodiment of the solar reactor engine of the present invention. Fuel and/or reactants are fed into a solar reactor chamber 32 via tubes 21 and 22. In the preferred embodiment chlorine is fed into the reactor via tube 22 and hydrogen via tube 21 at controlled rates. Oxygen is fed into chamber 32 via tube 23 under the base of a conical reflector 24.

Solar rays are concentrated and intensified by an azimuth tracking parabolic reflector system such as is well known in the art. Solar radiation is received by a parabolic reflector 35 which tracks the sun by means of a conventional azimuth tracker 37. The parabolic reflector concentrates the solar rays into a focal point reflector 39 which reflects the intense solar beam via reflector 41 through a solar sight glass 27. The intensified solar rays are directed downward through solar sight glass 27, which is encased within the reactor chamber wall 28, and onto the surface of conical reflector 24, which disperses the intense solar rays onto the surface of the reactor walls. Hydrogen and chlorine gas emitted into the chamber 32 via tubes 21 and 22, respectively, react with controlled explosive violence creating hydrogen chloride gas and intense heat and pressure within chamber 32. The explosive pressures and heat thus generated are exhausted from chamber 32 into a vacuum reactor chamber 30 via gas turbine assembly 26. The gas turbine assembly may be of any suitable type known in the art depending of course on the power levels generated. As the hydrogen chloride gas enters the vacuum reactor chamber 30, tubes 29 generate water jets which spray into the chamber. Five hundred volumes of hydrogen chloride combine instantly with one volume of water and form hydrochloric acid. The reaction evacuates the chamber instantly, leaving hydrochloric acid in the base of the chamber. The hydrochloric acid drops via ports 40 into a sodium hydroxide-hydrochloric acid reactor 25. The sodium hydroxide is fed into reactor 25 via tube 38 from a chlorine-sodium hydroxide cell. The hydrochloric acid is mixed with the sodium hydroxide, producing water and sodium chloride. The water and sodium chloride are fed from reactor 25 to a chlorine-sodium hydroxide cell, via tube 43. The water and sodium chloride are converted into fuel and/or reactants, hydrogen and chlorine, and sodium hydroxide. The process is continuously repeated.

The heat and pressure from reactor chamber 32 provide explosive energies to drive turbine assembly 26, which in turn drives a power generator via power take off 42. The evacuation chamber 30 converts the exhaust gas, hydrogen chloride, into hydrochloric acid, creating a vacuum exhaust, increasing the efficiency of turbine assembly 26, and eliminates the necessity of atmospheric exhaust.

Refer now to FIG. 2 where there is disclosed an alternative embodiment of the solar reactor engine of the present invention. In this embodiment the housing 28 is formed of a metallic material such as in a standard gas turbine engine wherein the engine is designed for propulsion or other mobile applications. The reactants such as hydrogen and chlorine are supplied by means of storage containers or can be generated on a continuous basis. In this embodiment rather than utilizing solar energy for sustained reaction in the reaction chamber 32, the light is generated by, for example, carbon arc ignitors 44 or other high intensity light sources. As before, the light generated by the high intensity light source 44 is directed into the chamber 32 and against the conical reflector 24. The light is thus dispersed against the walls of the reaction chamber 32 to thereby sustain the combination of chlorine and hydrogen to form hydrogen chloride. The hydrogen chloride thus formed is at a high temperature and pressure level and is thereby forced through turbine blades 26 into the exhaust chamber 30. The turbine blades 26 are thereby rapidly driven with the mechanical energy thus generated coupled to a power take off 42 which may drive a mechanical means for moving a vehicle and in addition a portion of the mechanical power may be utilized to drive a generator 47. In the exhaust chamber 30, water is dispersed through tubes 29 to combine with the hydrogen chloride to form hydrochloric acid. This acid is conveyed away from the exhaust chamber 30 into a container 25. By combining the HCl with water a partial vacuum is created in the exhaust chamber 30 which assists in driving the turbine 26 because of the increased pressure differential thereacross.

Refer now to FIG. 3 which is an alternate embodiment of the solar reactor engine of the present invention. As illustrated in this embodiment more than one reactor chamber is provided with each of the reactor chambers having hydrogen and chlorine coupled thereto together with oxygen for control purposes via select valves 51 which are sequentially operated. Each of the reaction chambers 32 has light energy coupled thereto from arc ignitors 44 or from concentrated solar energy. The combustion gases hydrogen coupled through line 21 and chlorine coupled through line 22 expand through check valves 53 into an expansion chamber 52. In this arrangement initial combustion is sequentially provided by each of the reactor chambers 32, the output of which is coupled to the expansion chamber 52 thereby increasing the pressure in expansion chamber 52. As in the previous embodiments, the high pressure hydrogen chloride thus formed drives the turbine 26, which in turn powers a take off unit 42 and a generator 47.

Refer now to FIG. 4 where there is disclosed a block diagram of the solar reactor engine of the present invention wherein the solar reactor engine is formed as a part of an electrical utility power generation and storage system. The generation system is fully explained in copending U.S. patent application Ser. No. 564,087, filed Apr. 1, 1975 by the same inventors herewith. The subject matter of this application is incorporated herewith by reference. As illustrated in FIG. 4, a surplus electrical power generated during off peak demand periods is stored in a battery supply 45. This electrical energy is coupled to the chlorine sodium hydroxide electrolysis cell 14 to thereby generate chlorine and hydrogen which is coupled to the reactor chamber 32 via lines 21 and 22. As aforementioned, the output of the reactor chamber drives a turbine which in turn drives a power take off unit 42. The power take off unit 42 powers a generator 47 which generates electrical power during peak load demand periods so that in effect the electrical energy generated during off peak demand periods is recovered and utilized to provide peak load demands during periods of high power use in the utility system. In addition, the power take off unit 42 drives an oxygen compressor unit 49 which supplys oxygen to the reactor 32 via line 23 to thereby control the reaction of the hydrogen and chlorine within the reactor in a known manner. As illustrated water is coupled to the exhaust chamber 30 via line 29 with the output of the exhaust chamber being coupled to the hydrogen chloride converter unit 25. Coupled to the hydrogen chloride converter unit is sodium hydroxide from the electrolysis cell 14 via line 30a so that in the converter 25 water and NaCl is formed which is coupled back to the chlorine-sodium hydroxide electrolysis unit.

In another embodiment of the invention, the energy stored in the battery supply 45 may be provided by a portable battery unit rather than, for example, the rectified output of a utility power generator in such a circumstance if the reactor engine were made small enough and encased for example in metal such as a standard propulsion turbine engine, the system of FIG. 4 could be mounted for propulsion purposes in an aircraft, ship or in land vehicles.

While the present invention has been disclosed in connection with a preferred embodiment thereof, it should be understood that there may be other variations of the invention which fall within the spirit and scope thereof as defined by the appended claims.

Claims -- [Claims not included here]




US Patent # 4,026,112
(May 31, 1977 )

Solar Reactor Engine

Robert L. Scragg

Abstract -- A solar reactor engine is disclosed which includes a concrete or other suitable housing having a reactor chamber therein. In one embodiment, the reactor chamber is cylindrical. A solar intensifier, such as a parabolic reflector, is mounted on top of the reactor housing. The parabolic reflector collects and intensifies solar rays and guides them down through a solar sight glass, mounted on top of the housing, into the reactor chamber. The concentrated beam of light is directed onto a reflector cone within the reactor chamber which disperses solar rays throughout the chamber. Hydrogen and chlorine are conducted into the reactor chamber and react with controlled explosive violence when exposed to the solar rays. Atmospheric oxygen is used as a control medium to regulate the energy given off by the reaction of the hydrogen and chlorine in the presence of solar energy. The heat and pressure thus formed are utilized to drive a turbine, the output of which is utilized to drive a suitable utilization device. In another embodiment of the invention, the solar reactor engine is housed in a metal or other suitable housing so that the reactor engine can be utilized for propulsion or mobile applications.

Current U.S. Class: 60/641.8; 60/673; 126/263.01 Intern'l Class:  F03G 007/02
Field of Search:  60/641,673 126/270,271,263

Background of the Invention

This invention is a continuation-in-part of copending application Ser. No. 588,888, filed June 20, 1975, which in turn is a continuation-in-part of copending application Ser. No. 564,087, filed Apr. 1, 1975, and titled Solar Reactor Steam Generator Method and Apparatus. The subject matter of these applications is incorporated herein by reference thereto.

Description

This invention relates to reactors and turbines and more particularly is related to solar reactors and gas turbines which utilize the controlled energy developed by the combination of hydrogen and chlorine in the presence of solar energy to convert this photo-chemical energy into mechanical and/or electrical power.

In the process of converting energy into mechanical and electrical power, many forms of primary movers, i.e. energy converters, have been utilized. The most widely used converters are gasoline and diesel engines, jet engines and gas turbine engines. All of these engines convert fossil fuel into kinetic energy which is then converted directly to mechanical power. Another example of a common converter commonly used in the art is the steam boiler. The steam boiler converts fossil energy into kinetic energy which is then converted to mechanical power by means of steam turbines. It is a characteristic of all of the above-identified energy converters that their efficiency does not exceed 40%. Thus, only 40% of the input BTUs in fuel is converted to output horsepower. Further, each of the aforementioned engines operates with detrimental environmental effects; and all are dependent upon fossil fuels or refined fossil fuels which require tremendous capital investments for recovery, refining and distribution.

It therefore is an object of this invention to provide a method for converting photo-chemical energy to mechanical and/or electrical power in sufficient quantity for direct or supplemental utility operation.

It is another object of this invention to provide a method of utilizing fuels and reactants, which can be produced by electrolysis cells and stored wherever electrical power is available, whether it be in stored or generated capacity.

It is yet another object of this invention to provide a method of utilizing the explosive energies of reactant gases such as hydrogen and chlorine to drive a gas turbine or any engine that requires explosive gases for expansion of pistons or rotors.

It is another object of this invention to provide a method of evacuating or scrubbing exhaust gases to thereby reduce the heat and back pressure of an internal combustion engine resulting in higher efficiencies for the engine.

It is yet another object of this invention to provide a method of generating power in the form of a prime mover or electrical generator which generates no harmful emissions.

It is yet another object of this invention to provide a method of generating power in the form of a prime mover or electrical generator which is more efficient than existing energy converters.

Another object of this invention is to provide a method of generating power in the form of a prime mover or electrical generator that does not utilize fossil or nuclear fuels which may potentially pollute or otherwise harm the environment about the generator.

Short Statement of the Invention

Accordingly the present invention is related to a solar reactor engine which includes a solar reactor chamber having means for controllably coupling chlorine and hydrogen thereto. A parabolic reflector or other suitable focusing means is positioned with respect to the reactor chamber and is controlled by an automated azimuth tracker. The parabolic reflector concentrates the solar rays into an intense focal point reflector which reflects the solar beam via a series of reflectors through a solar sight glass and into the reactor chamber. The beam of light passes through the reactor chamber and onto the surface of a conical reflector at the base of the chamber which disperses the solar rays throughout the chamber. The hydrogen and chlorine coupled to the reactor chamber exothermicly react to generate hydrogen chloride at high temperature and pressure level. Atmospheric oxygen is used as a control mechanism to regulate the energy given off by the reaction of the hydrogen chloride in the presence of solar energy. A turbine is positioned on at least a portion of at least one wall of the reactor chamber with the pressurized hydrogen chloride driving the turbine. An exhaust chamber is positioned on the opposite side of the turbine from the reactor chamber wherein the hydrogen chloride is converted to hydrochloric acid to thereby form a partial vacuum in the exhaust chamber. The partial vacuum has the effect of creating an increased pressure differential across the turbine to thereby increase the efficiency of operation of the turbine. The hydrochloric acid is conveyed away from the exhaust chamber.

In another aspect of the invention, batteries are provided for generating an electrical current which is coupled to a chlorine-sodium hydroxide electrolysis cell. The electrical current coupled to the electrolysis cell causes the generation of chlorine and hydrogen therein which is coupled to the solar reactor. At the output of the exhaust chamber of the reactor engine the hydrochloric acid is reacted with sodium hydroxide to thereby produce water and sodium chloride. The water and sodium chloride are coupled back to the chlorine and sodium hydroxide electrolysis cell so that the cycle is continuously repeated.

Brief Description of the Drawings

Other objects, features and advantages of the invention will become more fully understood from the following detailed description of the preferred embodiment, the appended claims and the accompanying drawings in which:

FIG. 1 is a simplified section view taken in elevation of a preferred embodiment of the solar reactor engine of the present invention;

FIG. 2 is a simplified section view taken in elevation of another embodiment of the solar reactor engine of the present invention;

FIG. 3 is a simplified section view taken in elevation which illustrates another embodiment of the solar reactor engine of the present invention;

FIG. 4 is a block diagram of the solar reactor engine illustrating the reactant producing process and power producing process capable of operation in a mobile or stationary configuration using storage batteries and water; and

FIG. 5 is a block diagram of an alternate embodiment of the solar reactor engine of the present invention.

Detailed Description of the Embodiments

Throughout the detailed description of the embodiments of the present invention, like numerals will correspond to like elements in the Figures.

Refer now to FIG. 1 where there is disclosed a simplified section view of one embodiment of the solar reactor engine of the present invention. Fuel and/or reactants are fed into a solar reactor chamber 32 via tubes 21 and 22. In the preferred embodiment chlorine is fed into the reactor via tube 22 and hydrogen via tube 21 at controlled rates. Atmospheric oxygen is fed into chamber 32 via tube 23 under the base of a conical reflector 24.

Solar rays are concentrated and intensified by an azimuth tracking parabolic reflector system such as is well known in the art. Solar radiation is received by a parabolic reflector 35 which tracks the sun by means of a conventional azimuth tracker 37. The parabolic reflector concentrates the solar rays into a focal point reflector 39 which reflects the intense solar beam via reflector 41 through a solar sight glass 27 which may, for example, be of the convex or double convex lens type. The intensified solar rays are directed downward through solar sight glass 27, which is encased within the reactor chamber wall 28, and onto the surface of conical reflector 24, which disperses the intense solar rays onto the surface of the reactor walls. It should also be understood that reflector 24 can have a flat or convex shape if desired. Hydrogen and chlorine gas emitted into the chamber 32 via tubes 21 and 22, respectively, react with controlled explosive violence creating hydrogen chloride gas and intense heat and pressure within chamber 32. The explosive pressures and heat thus generated are exhausted from chamber 32 into a vacuum reactor chamber 30 via gas turbine assembly 26. The atmospheric oxygen coupled to the chamber via line 20 serves as a control medium to regulate the energy given off by the reaction of the hydrogen and chloride in the presence of the solar energy. The gas turbine assembly may be of any suitable type known in the art depending of course on the power levels generated. As the hydrogen chloride gas enters the vacuum reactor chamber 30, tubes 29 generate water jets which spray into the chamber. Five hundred volumes of hydrogen chloride combine instantly with one volume of water and form hydrochloric acid. The reaction evacuates the chamber instantly, leaving hydrochloric acid in the base of the chamber. The hydrochloric acid drops via ports 40 into a sodium hydroxide-hydrochloric acid reactor 25. The sodium hydroxide is fed into reactor 25 via tube 38 from a chlorine-sodium hydroxide cell. The hydrochloric acid is mixed with the sodium hydroxide, producing water and sodium chloride. The water and sodium chloride are fed from reactor 25 to a chlorine-sodium hydroxide cell, via tube 43. The water and sodium chloride are converted into fuel and/or reactants, hydrogen and chlorine, and sodium hydroxide. The process is continuously repeated.

The heat and pressure from reactor chamber 32 provide explosive energies to drive turbine assembly 26, which in turn drives a power generator via power take off 42. The evacuation chamber 30 converts the exhaust gas, hydrogen chloride, into hydrochloric acid, creating a vacuum exhaust, increasing the efficiency of turbine assembly 26, and eliminates the necessity of atmospheric exhaust.

Refer now to FIG. 2 where there is disclosed an alternative embodiment of the solar reactor engine of the present invention. In this embodiment the housing 28 is formed of a metallic material such as in a standard gas turbine engine wherein the engine is designed for propulsion or other mobile applications. The reactants such as hydrogen and chlorine are supplied by means of storage containers or can be generated on a continuous basis. In this embodiment rather than utilizing solar energy for sustained reaction in the reaction chamber 32, the light is generated by, for example, carbon arc ignitors 44 and other high intensity light sources. As before, the light generated by the high intensity light source 44 is directed into the chamber 32 and against the conical reflector 24. The light is thus dispersed against the walls of the reaction chamber 32 to thereby sustain the combination of chlorine and hydrogen to form hydrogen chloride. The hydrogen chloride thus formed is at a high temperature and pressure level and is thereby forced through turbine blades 26 into the exhaust chamber 30. The turbine blades 26 are thereby rapidly driven with the mechanical energy thus generated coupled to a power take off 42 which may drive a mechanical means for moving a vehicle and in addition a portion of the mechanical power may be utilized to drive a generator 47. In the exhaust chamber 30, water is dispersed through tubes 29 to combine with the hydrogen chloride to form hydrochloric acid. This acid is conveyed away from the exhaust chamber 30 into a container 25. By combining the HCl with water a partial vaccum is created in the exhaust chamber 30 which assists in driving the turbine 26 because of the increased pressure differential thereacross.

Refer now to FIG. 3 which is an alternate embodiment of the solar reactor engine of the present invention. As illustrated in this embodiment more than one reactor chamber is provided with each of the reactor chambers having hydrogen and chlorine coupled thereto together with atmospheric oxygen for control purposes via select valves 51 which are sequentially operated. Each of the reaction chambers 32 has light energy coupled thereto from arc ignitors 44 or from concentrated solar energy. The combustion gases, hydrogen coupled through line 21 and chlorine coupled through line 22, expand through check valves 53 into an expansion chamber 52. In this arrangement initial combustion is sequentially provided by each of the reactor chambers 32, the output of which is coupled to the expansion chamber 52 thereby increasing the volume in expansion chamber 52. As in the previous embodiments, the high pressure hydrogen chloride thus formed drives the turbine 26, which in turn powers a take off unit 42 and a generator 47.

Refer now to FIG. 4 where there is disclosed a block diagram of the solar reactor engine of the present invention wherein the solar reactor engine is formed as a part of an electrical utility power generation and storage system. The generation system is fully explained in copending U.S. patent application Ser. No. 564,087, filed Apr. 1, 1975 by the same inventors herewith. The subject matter of that application is incorporated herewith by reference. As illustrated in FIG. 4, surplus electrical power generated during off peak demand periods is coupled to the chlorine-sodium hydroxide electrolysis cell 14 to therey generate chlorine and hydrogen which is stored, then coupled to the reactor chamber 32 via lines 21 and 22 during peak demand periods. As aforementioned, the output of the reactor chamber drives a turbine which in turn drives a power take off unit 42. The power take off unit 42 powers a generator 47 which generates electrical power during peak load demand periods so that in effect the electrical energy generated during off peak demand periods is recovered and utilized to provide peak load demands during periods of high power use in the utility system. In addition, the power take off unit 42 drives an atmospheric compressor unit 49 which supplies atmospheric oxygen to the reactor 32 via line 23 to thereby control the reaction of the hydrogen and chlorine within the reactor in a known manner. As illustrated water is coupled to the exhaust chamber 30 via line 29 with the output of the exhaust chamber being coupled to the hydrochloric acid converter unit 25. Coupled to the hydrochloric acid converter unit is sodium hydroxide from the electrolysis cell 14 via line 30a so that in the converter 25 water and NaCl is formed which is coupled back to the chlorine-sodium hydroxide electrolysis unit.

In another embodiment of the invention, the energy stored in the battery supply 45 may be provided by a portable battery unit rather than, for example, the rectified output of a utility power generator. In such a circumstance, if the reactor engine was made small enough and encased for example in metal such as a standard propulsion turbine engine, the system of FIG. 4 could be mounted for propulsion purposes in an aircraft, ship or in land vehicles.

Refer now to FIG. 5 where there is disclosed a block diagram of an alternate embodiment of the solar reactor engine of the present invention. As illustrated in this embodiment, the atmospheric compressor 49 is an integral component of a gas turbine engine. The compressor 49 compresses a large volume of air which is heated in the compression process. The heated air (atmospheric oxygen) is injected into the solar reactor chamber where it is further heated and expanded by the exothermic reaction between the hydrogen and chlorine when exposed to intense light. The expanded air along with the hydrogen chloride, which is generated with explosive pressures and heats, is exhausted from chamber 32 into a vacuum reactor scrubber 30 via gas turbine assembly 26. The gas turbine assembly may be of any suitable type known in the art. As the hydrogen chloride gas enters the vacuum reactor scrubber 30, tubes 29 convey water to water jets (not shown) which spray water into the chamber. The hydrogen chloride combines instantly with the water and forms hydrochloric acid. The atmospheric gases are partially cooled by the water. The reaction partially evacuates the chamber, leaving hydrochloric acid in the base of the chamber and passing cooled atmospheric gases into the atmosphere via flue exhaust chamber 53. The hydrochloric acid drops via ports into a sodium hydroxide-hydrochloric acid reactor 25. The sodium hydroxide is fed into reactor 25 via tube 38 from a chlorine-sodium hydroxide cell. The hydrochloric acid is mixed with the sodium hydroxide, producing water and sodium chloride. The water and sodium chloride are fed from reactor 25 to a chlorine-sodium hydroxide cell, via tube 43. The water and sodium chloride are converted into fuel and/or reactants, hydrogen and chlorine, and sodium hydroxide. The process is continuously repeated.

The heated air and pressure from compressor 49 and reactor chamber 32 provide explosive energies to drive turbine assembly 26, which in turn drives a power generator via power take off 42. The evacuation scrubber chamber 30 cools the exhaust air (atmospheric gases) and converts the hydrogen chloride into hydrochloric acid, creating a partial vacuum exhaust and increasing the efficiency of turbine assembly 26.

While the present invention has been disclosed in connection with a preferred embodiment thereof, it should be understood that there may be other variations of the invention which fall within the spirit and scope thereof as defined by the appended claims.

Claims ~ [Not included here]


US Patent # 4,070,861
(January 31, 1978 )

Solar Reactor Combustion Chamber

Robert L. Scragg

Abstract --- A solar reactor combustion chamber is disclosed which includes a concrete or other suitable housing having a reactor chamber and a combustion chamber therein. A solar intensifier, such as a parabolic reflector, is mounted on top of the reactor housing. The parabolic reflector collects and intensifies solar rays and guides them through a solar sight glass, mounted on top of the housing, into the reactor chamber. The concentrated beam of light is directed onto a light disperser within the reactor chamber which disperses solar rays throughout the chamber. Molecular hydrogen and chlorine is conducted into the reactor chamber wherein in the presence of light the chlorine molecules expand into atomic chlorine. The chlorine and hydrogen molecules are forced into the combustion chamber together with oxygen wherein the chlorine and hydrogen react with controlled explosive violence to form HCl. The heat and pressure thus formed are utilized to heat or drive suitable utilization devices, such as turbines or pistons.
 

Inventors:  Scragg; Robert L. (Miami, FL); Parker; Alfred B. (Miami, FL)

Current U.S. Class: 60/641.8; 60/39.12; 60/39.465; 60/649; 126/263.01; 126/681; 126/690; 422/186

Intern'l Class:  F03G 007/02

Background of the Invention

This application is a continuation-in-part of copending application Ser. No. 657,383 filed Feb. 10, 1976, titled SOLAR REACTOR ENGINE now U.S. Pat. No. 4,026,112, which, in turn, is a continuation-in-part of copending application Ser. No. 588,888, filed June 20, 1975, and titled SOLAR REACTOR ENGINE now U.S. Pat. No. 4,024,715, which, in turn, is a continuation-in-part of copending application Ser. No. 564,087, filed Apr. 1, 1975, now U.S. Pat. No. 3,998,205 entitled SOLAR REACTOR STEAM GENERATOR METHOD AND APPARATUS. Each of these applications are incorporated herein by reference thereto.

Description

This invention relates to reactors and combustion chambers and, more particularly, is related to solar reactors and combustion chambers which utilize molecular hydrogen and chlorine gases in the presence of solar or artificial light energy to produce atomic hydrogen and chlorine which are exothermically combined in the presence of atmospheric oxygen to produce heat energy which is converted into chemical or mechanical energy for propulsion and/or for the generation of electrical power.

In the process of converting fossil fuels into mechanical or chemical energy for the purpose of generating mechanical or electrical power, two types of combustion processes are known, i.e., external and internal combustion. External combustion is generally accomplished by burning a fuel in an open combustion chamber resulting in a flame which is typically supported by atmospheric oxygen. Internal combustion is typically accomplished by introducing a fuel and a fixed amount of oxygen or other suitable oxidizing agent within an enclosed combustion chamber. The fuel and oxidizing agent are ignited which results in a rapid burning or explosion within the chamber. Both the internal and external combustion properties are generally sustained by an open flame or an electrical arc. Both the internal and external combustion processes result in a typically low efficiency conversion of energy. Further, both methods produce harmful exhaust emissions and pollutants and all methods of converting fossil fuels into energy are dependent upon a limited and increasingly expensive supply of such fuels.

It, therefore, is an object of this invention to provide a method and apparatus for generating energy by means of a non-fossil fuel.

It is another object of this invention to provide an energy-generation system wherein products of combustion formed therein can be totally cleansed of emissions and pollutants which are harmful to the atmosphere and the environment.

It is yet another object of this invention to provide a reactor combustion chamber wherein an exothermic reaction is supported by solar and/or artificial light.

It is still another object of this invention to provide an energy-generation system wherein the products of combustion are recycled to continuously support an exothermic reaction therein.

Short Statement of the Invention

Accordingly, the present invention relates to a solar reactor combustion system which includes a solar reactor chamber having means for controllably coupling molecular chlorine and hydrogen thereto and a combustion chamber having means for controllably coupling atomic chlorine, hydrogen, and atmospheric oxygen thereto. A parabolic reflector, or other suitable focusing means, is positioned with respect to the reactor chamber and is controlled to follow the sun by means of an automated azimuth tracker. The parabolic reflector concentrates solar rays onto a focal point reflector which reflects the solar beam via a series of reflectors through a solar sight glass and into the reactor chamber. The beam of light passes through the reactor chamber and onto the surface of a light dispersal means such as a conical reflector valve at the base of the reactor chamber. Thus, the solar rays are dispersed throughout the reactor chamber. The chlorine gas molecules, coupled to the reactor chamber, are split into ionized chlorine atoms by the solar rays. The resulting hydrogen and chlorine cause an increase in the pressure of the reactor chamber, thereby forcing the chlorine atoms and hydrogen into the combustion chamber. In the combustion chamber, the chlorine and hydrogen react in the presence of atmospheric oxygen with controlled explosive violence. The hot gases formed from the explosion can be utilized to provide mechanical and/or electrical power. As an example, the hot gases can be utilized to heat a boiler, compress a piston, or drive a turbine.

Brief Description of the Drawings

Other objects, features and advantages of the invention will become more fully apparent from the following detailed description of the preferred embodiment, the appended claims and the accompanying drawings in which:

FIG. 1 is a section view taken in elevation of one embodiment of the solar reactor combustion chamber;

FIG. 2 is a section view taken in elevation of another embodiment of the solar reactor combustion chamber;

FIG. 3 is a section view taken in elevation of the solar reactor combustion chamber utilized as a steam generator;

FIG. 4 is a section view taken in elevation of a solar reactor combustion chamber utilized as a turbine drive means;

FIG. 5 is a schematic illustration of an alternate embodiment of the solar reactor combustion chamber utilized as a turbine drive means;

FIG. 6 is a section view taken in elevation of a solar reactor combustion chamber utilized as a piston engine drive means;

FIG. 7 is a simplified section view taken in elevation of the solar reactor combustion chamber utilized to drive a single cycle piston engine.

Detailed Description of the Preferred Embodiments

Throughout the detailed description of the embodiments of the present invention, like numerals will correspond to like elements in the figures.

Refer now to FIG. 1 where there is disclosed a simplified section view of one embodiment of the solar reactor combustion chamber of the present invention. The solar reactor combustion chamber includes a housing 11 which may, for example, be formed of reinforced concrete or other materials capable of withstanding very high pressure levels. The housing is divided into a reaction chamber 13 and a combustion chamber 15, by means of a wall 17. Fuel or reactants are fed into the reactor chamber 13, via tubes 19 and 21, respectively. In the preferred embodiment, chlorine is fed into the reactor via tube 19 and hydrogen is fed into the reactor chamber via tube 21 at controlled rates.

In one embodiment of the invention, solar rays are concentrated and intensified by an azimuth tracking parabolic reflector system of the type well known in the art. Solar radiation is directed by parabolic reflector 23 which tracks the sun by means of the azimuth tracker 25. The parabolic  reflector concentrates the solar rays onto a focal point reflector 27 which reflects the intense solar beam via reflector 29 through a solar sight glass 31. The intensified solar rays are directed downwardly through the solar sight glass 31 which is encased within the walls of the housing 11 and onto the surface of a conical reflector valve 33, which disperses the intense solar rays onto the surface of the reactor walls. It should be understood that the reflector 33 can have a flat or convex shape, if desired. Of primary importance, however, is the fact that the solar rays must be dispersed throughout the reaction chamber 13 in order to provide for the most efficient operation of the method and apparatus of the present invention.

As mentioned above, molecular chlorine and hydrogen gas is emitted into the chamber 13 via tubes 19 and 21, respectively. When the chlorine becomes exposed to the solar radiation within the chamber, the chlorine expands to form ionic atomic chlorine within the chamber. The chlorine and hydrogen are at least partially combined in chamber 13 to form HCl and a large amount of heat energy. Accordingly, the pressure level within the chamber 13 is substantially increased. The hydrogen, chlorine and HCl are forced through valve port 35 defined by the conical reflector 13 and the wall 17. The gas is passed into the combustion chamber 15. Also, coupled to the combustion chamber 15 is atmospheric oxygen via a plurality of openings 37. The hydrogen and chlorine combine in the presence of the atmospheric oxygen, with controlled explosive violence, to thereby create hydrogen chloride gas and intense heat and pressure within the chamber 15. The explosive pressures and heat thus generated are utilized to perform work by generating steam, driving a turbine and/or driving a piston, as will become more fully apparent hereinbelow. The high pressure gases generated within the chamber 15 are conducted from the chamber 15 by means of ports 39, or may be conducted from the chamber in a particular manner, as set out more fully in connection with discussion of FIGS. 4 and 5.

As will become apparent from FIG. 1, the conical reflector 33 is fixedly secured to a reciprocating support member 41 and is spring-biased to close the port 35. However, when the pressure within chamber 13 increases, at a predetermined level, the port 35 is opened by forcing the concical reflector 33 downwardly. Subsequently, upon the occurrence of a controlled explosion in the combustion chamber 15, the conical reflector is driven upwardly to close the port 35. This pulsating expansion and combustion process occurs repeatedly as the chlorine and hydrogen molecules are split into atomic hydrogen and chlorine and, subsequently, are combined to form HCl in the combustion chamber 15.

As an alternative, the conical reflector 33 can be fixedly positioned to provide a continuously open port 35 or it can be controlled by a cam to open the port 35 at preselected time intervals.

Refer now to FIG. 2 where there is disclosed an alternative embodiment of the solar reactor combustion chamber of the present invention. In this embodiment, the housing 11 is formed of a metallic material such as in a standard internal combustion engine wherein the engine is designed for propelling a vehicle or for other similar applications. In order to minimize corrosion, the internal walls of the housing may be formed of an impervious carbonaceous material such as "KT" Silicon Carbide which has excellent thermal shock characteristics. In this embodiment, rather than utilizing solar energy for splitting the molecular chlorine into atomic chlorine, as in the embodiment of FIG. 1, light is generated by, for example, a photographic projection lamp 44, or other suitable high-intensity light source. The light source is housed in a chamber 45, preferably having reflector walls therein so that substantially all the light generated by the source 44 is eventually directed downwardly through the solar sight glass 31 into the reaction chamber 13. The structure of the solar reactor combustion chamber is otherwise similar to that of FIG. 1 and is for the purpose of providing a means for efficiently and economically generating energy.

Refer now to FIG. 3 where there is disclosed an embodiment of the solar reactor combustion chamber utilized for the purpose of generating steam. The solar reactor combustion chamber is similar to that illustrated in FIG. 1. However, carbonaceous blocks 51 are positioned along at least two internal walls of the combustion chamber 15. The carbonaceous blocks, preferably consisting of "KT" Silicon Carbide, manufactured by the Carborundum Corporation, have relatively large side surface areas 53 and a relatively small or narrow depth dimension, with each of the blocks being fixedly positioned against the side walls of the housing 11 of the combustion chamber 15. A carbonaceous block may be formed of any suitable low permeability impervious graphite or carbon material but, as aforementioned, in a preferred embodiment is formed of "KT" Silicon Carbide. Such a block can operate at working temperatures of up to 3,000.degree. F. in an oxidizing atmosphere and has a thermal conductivity in excess of 700 BTU 1 hr./sq.ft./.degree. F./in. In addition, "KT" Silicon Carbide is impermeable, has excellent thermal shock characteristics, and can contain liquid or gas at pressures in excess of 2000 psig.

As illustrated, channel 30 is formed in each of the blocks 51, with the channel 30 having a grid structure so that the fluid or gas passing through the channel is exposed to a maximum of the heat energy absorbed by the carbanaceous block.

In operation, a liquid or vapor such as water or steam is fed into the channel 30 at the input 55 thereto. The fluid passes upwardly through the blocks 51 and out of the ports 57. In the meantime, heat from the combustion chamber 15 is transferred to the carbanaceous blocks 51 by conduction, convection and radiation. The energy is efficiently absorbed by the carbanaceous block and is converted into heat energy. This heat energy is, in turn, transferred to the fluid passing through the channels 30. As the fluid heats up, it begins to expand, rise in temperature, and increase in velocity. As the fluid travels upward in the channels 30, the fluid absorbs more of the latent heat absorbed by the carbonaceous block and continues its expansion until it reaches a desired heat and pressure level and is exhausted through the outlet ports 57. The resulting high temperature fluid can be utilized to drive turbines or power other suitable mechanisms. In the meantime, the exhaust gases from the combustion chamber 13 are exhausted via outlet port 39.

Refer now to FIG. 4 where there is disclosed an alternate embodiment of the solar reactor combustion chamber of the present invention utilized to drive a turbine. In this embodiment, at least one reactor-combustion housing 11 is fixedly secured to a turbine 61 which includes a plenum chamber 63, a turbine rotor 65, mounted on a shaft 67, and a turbine housing 69 which defines therein a torus ring assembly 71, which guides the hot exhaust gases from the combustion chamber 15 into the turbine blades 65 of turbine 61. Thus, in operation atmospheric oxygen enters plenum chamber 65 via an annular port 73. The oxygen passes into the combustion chamber 15 of the reactor combustion system 11 to thereby control the formation of hydrogen chloride therein. The hot expanding exhaust products are forced outwardly through the bottom of chamber 15 into the torus ring 71 defined by the turbine housing 69. The hot gases are then forced radially inwardly toward the turbine rotor 65 to cause the turbine rotor to rapidly rotate in response thereto. The exhuast gases are then forced from the turbine out through port 75 into a scrubber chamber 30. The scrubber chamber receives water into which the HCl dissolves to form hydrochloric acid which falls to the bottom of the scrubber chamber and into container 24. The remaining gases are exhausted to the atmosphere. Sodium hydroxide is coupled to the container 24 via line 38 to thereby convert the sodium hydroxide to water and sodium chloride. The water and sodium chloride are fed to the chlorine-sodium hydroxide electrolysis cell 50. The output of the electrolysis cell in the form of chlorine and hydrogen is supplied to chamber 13 via lines 19 and 21, respectively. Thus, the sodium and chlorine are continuously recycled to thereby substantially reduce the cost of fuel over that required in conventional fossil fuel powered turbine generators. Furthermore, the emission products exhausted to atmosphere are primarily water and the elements found in the atmosphere. Accordingly, a clean burning, efficient turbine engine is provided which is relatively inexpensive to operate. While in the embodiment illustrated in FIG. 4, only one reaction combustion chamber is illustrated, it should be understood that a plurality of such reaction combustion chambers can be positioned about the outside periphery of the turbine housing 69 to provide a more uniform distribution of the high velocity exhaust gases generated in the reaction chamber 15.

Refer now to FIG. 5 where there is disclosed in schematic form an alternative embodiment of the solar reactor engine of the present invention. In this embodiment the housing 11 is formed of a metallic material such as in a standard gas turbine engine wherein the engine is designed for propulsion or other mobile applications. In order to reduce corrosion the inner walls of the reactor may be lined with an impervious carbonaceous material. The reactants, hydrogen and chlorine, are supplied to the reactor housing 11 by means of lines 21 and 19, respectively. The hydrogen and chlorine can be provided by means of storage containers (not shown) or can be generated on a continuous basis. Oxygen, preferably in atmospheric form, is supplied to chamber 15 by means of line 38 for the purpose of controlling the reaction of the hydrogen with the chlorine. In this embodiment rather than utilizing solar energy for sustaining reaction in the reaction chamber 13, the light is generated by a high intensity light source 44. As before, the light generated by the high intensity light source 44 is directed into the chamber 13 and against the conical reflector 33. The light is thus dispersed against the walls of the reaction chamber 13 to thereby generate atomic chlorine. The chlorine and hydrogen are combined in chamber 15 to form hydrogen chloride. The hydrogen chloride thus formed is at a high temperature and pressure level and is thereby forced through the turbine blades of turbine 61 into the exhaust chamber 30. The turbine blades of turbine 61 are thereby rapidly driven with the mechanical energy thus generated coupled to a power take-off 42 which may drive a mechanical means for moving a vehicle and in addition a portion of the mechanical power may be utilized to drive a generator 48. The output of the generator 48 is utilized to recharge battery 50 which in turn provides DC current for energizing electrolysis cell 14. In the exhaust chamber 30, water is dispersed through tubes 28 to combine with the hydrogen chloride to form hydrochloric acid. This acid is conveyed away from the exhaust chamber 30 into a container 24. By combining the HCl with water a partial vacuum is created in the exhaust chamber 30 which assists in driving the turbine because of the increased pressure differential thereacross.

In the preferred embodiment sodium hydroxide from a chlorine-sodium hydroxide electrolysis cell 14 is supplied to the container 24 via line 38. The hydrochloric acid is mixed with the sodium hydroxide to produce water and sodium chloride. The water and sodium chloride are fed from the container 24 to the chlorine-sodium hydroxide cell via line 46. The water and sodium chloride are converted into fuel and/or reactants, hydrogen and chlorine and sodium hydroxide. This process is continuously repeated. The output from the alternator 48 is utilized to sustain electrolysis in the chlorine-sodium hydroxide electrolysis cell.

Refer now to FIG. 6 where there is disclosed an alternate embodiment of the solar reactor combustion chamber of the present invention utilized to drive a piston in a piston engine. In this embodiment, the housing 11 of the reactor combustion chamber is fixedly secured to the engine housing 81 with the exhaust port 39 from the combustion chamber 15 leading into a chamber 83 defined by the engine block 85, piston 87 and header block 88. Atmospheric oxygen is conducted into the chamber 83 via manifold 89 and intake valve 91. This oxygen mixes with the atomic chlorine and hydrogen, passing downwardly into the chamber 15 and into the chamber 83 to create a substantial expansion thereof via a controlled explosive reaction. The resulting combustion products are exhausted from the chamber 83 via exhaust valve 93 and exhaust manifold 95. Each time oxygen is permitted into the chamber 83, an explosion occurs which drives the piston 87 downwardly. Upon the return upward stroke, a conical reflector valve 33 is driven upwardly to close the port 35. At the same time, exhaust valve 93 is lowered, causing the exhaust products to pass out to exhaust manifold 95. Subsequently, the piston 87 is again moved downwardly, permitting the conical reflector valve 33 to open up to permit atomic chlorine and hydrogen to pass downwardly into the combustion chamber 15 and the chamber 83. At the same time, oxygen is coupled to the chamber 83 via intake valve 91 to control the exothermic combination of the hydrogen and chlorine. The piston is then driven downwardly to complete the cycle.

Refer now to FIG. 7 which is a simplified schematic illustration of a single cycle internal combustion engine. In this embodiment a piston 80 defines a combustion chamber 13 into which a measured amount of chlorine and hydrogen and atmospheric oxygen is supplied via lines 19, 21 and 37, respectively. The resulting controlled explosion drives the piston 80 downwardly until the top surface 82 of the piston passes the exhaust port 84 of the cylinder defined by the housing 11. The reaction gas, hydrogen chloride, as well as air egress through the port into a scrubber chamber (not shown) of similar degree to that illustrated in FIG. 6. The piston is then returned to a top dead-center position. Before the piston reaches the top dead-center position, the chlorine and hydrogen are supplied to the chamber 13. When the piston reaches top dead-center, the light source 44 is energized synchronously with movement of the piston 80 to cause the hydrogen and chlorine to combine exothermically to thereby force the piston 80 downwardly.

It should be understood the solar reactor of the present invention can be used to drive a rotary engine such as a Wankel engine as well as two and four cycle piston engines. The embodiments of FIGS. 6 and 7 merely illustrate the application of the solar reactor engine to piston engines for efficiently and economically driving these engines.

While the present invention has been disclosed in connection with a preferred embodiment thereof, it should be understood that there may be other variations of the invention which fall within the spirit and scope thereof, as defined by the appended claims.

Claims ~ [Claims not included here]




US Patent # 4,175,381
(November 27, 1979 )

Electromagnetic Reactor Engine System ~ Apparatus &  Method

Robert L. Scragg

Abstract -- An electromagnetic reactor engine system is disclosed wherein hydrogen and chlorine are conducted into a reactor and are combined with controlled explosive violence when exposed to electromagnetic radiation. Atmospheric oxygen is used as a control medium to regulate the energy given off by the reaction. The gases thus formed drive a turbine assembly, the output of which powers a suitable utilization device. The spent gas, hydrogen chloride, is converted to hydrochloric acid in a gas-water reactor when exhausted by the turbine. The hydrochloric acid is fed to a hydrochloric acid electrolysis cell for recycling to hydrogen and chlorine. Various means are provided for supplying the initial quantities of hydrogen and chlorine to the reactor to begin the cycle.  

Current U.S. Class: 60/39.12; 60/641.13; 60/649 Intern'l Class:  F02B 043/00
Field of Search:  60/39.12,39.46 R,39.46 G,203,641,651,649,671,673 123/1 A,DIG. 12,119 E

Background of the Invention

This invention is a continuation-in-part of copending application Ser. No. 692,495, filed June 3, 1976 now U.S. Pat. No. 4,070,861, entitled SOLAR REACTOR COMBUSTION CHAMBER, which, in turn, was a continuation-in-part of application Ser. No. 657,383, filed Feb. 10, 1976, entitled SOLAR REACTOR ENGINE, issued as U.S. Pat. No. 4,026,112, which, in turn, was a continuation-in-part of application Ser. No. 588,888, filed June 20, 1975, entitled SOLAR REACTOR ENGINE, issued as U.S. Pat. No. 4,024,715, which, in turn, was a continuation-in-part of application Ser. No. 564,087, filed Apr. 1, 1975, entitled SOLAR REACTOR STEAM GENERATOR METHOD AND APPARATUS, issued as U.S. Pat. No. 3,998,205. Each of these applications or patents is incorporated herein by reference thereto.

Description

This invention relates to reactors and turbine engine systems and more particularly relates to electromagnetic reactors and gas turbine engine systems which utilize the controlled energies developed by the combination of hydrogen and chlorine when exposed to electromagnetic energy. The methods of electrolyzing hydrogen and chlorine from sea water or brine, or from hydrochloric acid using less energy, and the methods and sources of obtaining the reactant gases, hydrogen and chlorine, without electrolysis are well known in the art.

In the process of converting energy into mechanical and electrical power, many forms of energy converters have been utilized. The most widely used converters are gasoline and diesel engines, jet engines and gas turbine engines. All of these engines convert fossil fuel into kinetic energy which is then converted directly to mechanical power. Another example of a converter commonly used in the art is the steam boiler. The steam boiler converts fossil energy into kinetic energy which is then converted to mechanical power by means of a steam turbine. It is a characteristic of all of the above-identified energy converters that their efficiency does not exceed 40%. Thus, only 40% of the input BTUs in fuel is converted to output horsepower. Further, each of the aforementioned engines operates with detrimental environmental effects; and all are dependent upon fossil fuels or refined fossil fuels which require tremendous capital investments for recovery, refining and distribution and none of these fuels are recyclable. Therefore, the total energy of the fuel plus the recovery and refining energy are totally consumed in one reaction.

It therefore is an object of this invention to provide a method for producing electromagnetic-chemical energy that is convertible to mechanical and/or electrical power.

It is another object of this invention to provide a method of utilizing recyclable fuels and reactants, which can be produced by electrolysis cells and stored.

It is yet another object of this invention to provide a method of utilizing reactant gases such as hydrogen chloride or hydrogen and chlorine which can be derived from natural sources.

It is another object of this invention to provide a method of converting exhaust gases back to fuel and reactants thereby resulting in higher efficiencies for the engine.

It is yet another object of this invention to provide a method of fueling a gas turbine engine system which generates no harmful emissions.

It is yet another object of this invention to provide a method of fueling a gas turbine engine system which is more efficient than existing energy converters.

Another object of this invention is to provide a method of fueling a gas turbine engine system that does not utilize fossil or nuclear fuels which may potentially pollute or otherwise harm the environment about the generator.

Short Statement of the Invention

Accordingly, the present invention is an electromagnetic reactor engine system including an electromagnetic reactor having means for controllably coupling quantities of chlorine and hydrogen thereto. The gases are initially derived either from the electrolysis of sea water or brine or from natural sources. The hydrogen and chlorine in the reactor react exothermically when exposed to electromagnetic radiation to generate hydrogen chloride at a high temperature and pressure. A turbine is positioned on at least a portion of at least one wall of the reactor so that the pressurized hydrogen chloride drives a turbine. A gas-water reactor scrubber is positioned on the opposite side of the turbine from the reactor wherein the hydrogen chloride is converted to hydrochloric acid then dropped into a receiver tank below the scrubber. The hydrochloric acid is fed to an electrolyzer which converts the hydrochloric acid to hydrogen and chlorine, thereby increasing the efficiency of the system since less energy is needed for the electrolysis of hydrochloric acid than sea water or brine.

In another aspect of the invention, batteries provide an electrical current to power the hydrochloric acid electrolysis cell. Alternatively, solar energy powers the cell.

In another aspect of the invention, bottled hydrogen and chlorine are connected directly to the solar reactor. The hydrochloric acid produced in the gas-water reactor may be either fed back to the hydrochloric acid electrolysis cell so that the cycle is continuously repeated, or stored and fed to the electrolyzer at a later time.

In another aspect of the invention, hydrogen chloride or hydrogen and chlorine from volcanic sources are connected directly to the reactor. The hydrochloric acid formed in the gas-water reactor is recycled through the electrolyzer and the resulting gases, hydrogen and chlorine, are either stored, used as supplementary reactants, or removed as by-products of the system.

Brief Description of the Drawings

Other objects, features and advantages of the invention will become more apparent and fully appreciated from the following detailed description of the various embodiments, taken in conjunction with the accompanying drawings in which:

FIG. 1 is a block diagram of the first embodiment of the electromagnetic reactor engine system;

FIG. 2 is a block diagram of the second embodiment of the electromagnetic reactor engine system;

FIG. 3 is a block diagram of the third embodiment of the electromagnetic reactor engine system;

FIG. 4 is a block diagram of the fourth embodiment of the electromagnetic reactor engine system;

FIG. 5 is a block diagram of the fifth embodiment of the electromagnetic reactor engine system.

Detailed Description

Throughout the detailed description of the embodiments of the present invention, like numerals will correspond to like elements in the figures.

The primary generation system for this invention is fully explained in U.S. Pat. Nos. 3,998,205, 4,024,715 and 4,026,112, held by the inventors of this invention. The subject matter of these patents is incorporated herewith by reference thereto. As illustrated in FIG. 1, the first embodiment of the invention includes a chlorine-sodium hydroxide electrolysis 14 cell which is powered by battery 45. The cell 14 produces hydrogen and chlorine as the initial supply of reactants, which are conveyed to the reactor 32 via lines 21 and 22 respectively. The reactor 32 is powered by solar or artificial light source 50 which contains electromagnetic energy from infrared, through the visible, to the near and middle ultraviolet frequencies as provided by the sun. Higher frequencies may be utilized, such as upper ultraviolet, gamma, and x-ray radiation. If solar energy is being used, copending application Ser. No. 692,495 discloses a method of collecting and intensifying such light. The hydrogen and chlorine exothermically react when energized by the electromagnetic radiation in the presence of atmospheric oxygen, supplied to the reactor 32 by compressor 49 and line 23. The reactor produces hydrogen chloride at a high temperature and pressure which is used to turn the rotor of turbine 26, which in turn powers compressor 49, power take off 42, and alternator 47 which charges battery 45. The spent gases are exhausted from the turbine 26 into the gas-water reactor scrubber 30 where they are scrubbed by water from water supply 34. The hydrogen chloride gas combines with water to form hydrochloric acid which drops into tank 25. The remaining gases escape through exhaust 53 into the atmosphere. The hydrochloric acid from tank 25 is fed to hydrochloric acid electrolysis cell 38 via line 43. The chlorine-sodium hydroxide cell 14 may then be shut down since hydrogen and chlorine may be conveyed to reactor 32 through lines 19 and 20 from the hydrochloric acid electrolysis cell 38. Cell 38 requires less than half the energy required by the chlorine-sodium hydroxide cell 14, thereby leaving more energy for other work.

FIG. 2 is a block diagram of the second embodiment of the invention. The initial quantity of reactants for reactor 32 are produced in hydrochloric acid electrolysis cell 38 from hydrochloric acid in supply 48. The remainder of the system is identical to that of the first embodiment illustrated in FIG. 1. The second embodiment requires less than half the energy for start-up than the first embodiment since the hydrochloric acid cell 38 requires less energy than the chlorine-sodium hydroxide cell 14 of FIG. 1.

The third embodiment of the present invention is illustrated in FIG. 3. Again, this invention differs from the previous embodiments only in the method of providing the initial quantity of reactants for reactor 32. In this embodiment, the initial reactants are supplied from containers 51 and 52 containing hydrogen and chlorine respectively. The reactants are conveyed from containers 51 and 52 through lines 27 and 28 to the reactor 32. After the initial start-up period, hydrochloric acid electrolysis cell 38 is used to both supply reactor 32 with reactants and to recharge containers 51 and 52. This embodiment requires no start-up energy as required by chlorine-sodium hydroxide cell 14 in FIG. 1 or the hydrochloric acid cell 38 in FIG. 2.

The fourth embodiment as illustrated in FIG. 4 shows yet another method of providing the initial supply of reactants to reactor 32. In this embodiment, hydrogen chloride from a volcanic source 55 is conveyed directly to reactor 32 via line 29. This embodiment requires the use of a two-stage reactor as is disclosed in copending application Ser. No. 692,495 by the inventors of the present invention. The hydrogen chloride from source 55 is introduced into the oxygen-free combustion chamber 32a. There, the energy from electromagnetic source 50 is used to ionize the hydrogen chloride. The energy imparted by electromagnetic source 50 heats and expands the ionized gas and forces the gas through valve port 32c into combustion chamber 32b. In chamber 32b, in the presence of oxygen supplied by line 23, the ionized gases recombine to form hydrogen chloride in an exothermic reaction. The source of volcanic hydrogen chloride 55 may either be a volcano directly or a container of gases from a volcano. This embodiment requires no external start-up energy as required by the previous embodiments. The hydrochloric acid produced in the gas-water reactor scrubber 30 may either be conveyed back to hydrochloric acid electrolysis cell 38 via line 43, or stored for stand-by use, or removed from the engine system as a by-product.

The fifth embodiment of this invention as illustrated in FIG. 5 demonstrates that the electrolysis cells in any of the previous embodiments may be alternatively powered by solar source 57. The use of solar energy to power electrolysis cells is well known in the art, as discussed in the article entitled "Fueling the Future with Water", Science News, Vol. 10, p. 152, Sept. 4, 1976.

In addition to the embodiments described in detail above, those skilled in the art will readily appreciate that many other modifications are possible in the embodiments without materially departing from the novel teachings and advantages of this invention. Accordingly, all such modifications are intended to be included within the scope of this invention as defined by the following claims.

Claims ~ [Claims not included here]



US Patent # 4,426,354
(January 17, 1984 )

Power Generator System For HCl Reaction

style="margin: 0in 0.5in 0.0001pt;">Abstract -- A power generation system includes a nuclear reactor having a core which in addition to generating heat generates a high frequency electromagnetic radiation. An electromagnetic radiation chamber is positioned to receive at least a portion of the radiation generated by the reactor core. Hydrogen and chlorine are connected into the electromagnetic reactor chamber and react with controlled explosive violence when exposed to the radiation from the nuclear reactor. Oxygen is fed into the reactor chamber as a control medium. The resulting gases under high pressure and temperature are utilized to drive a gas turbine generators. In an alternative embodiment the highly ionized gases, hydogen and chlorine are utilized as a fluid medium for use in magnetohydrodynamic generators which are attached to the electromagnetic reactor chambers.


Inventors:  Scragg; Robert L. (Miami, FL); Parker; Alfred B. (Miami, FL)

Current U.S. Class: 376/320; 376/323; 976/DIG317
Intern'l Class:  G21D 007/04
Other References:
Allen: Chemical Effects of Ionizing Radiation on Simple Inorganic Compounds & Aqueous Solutions, Tech. Inf. Div., Oak Ridge Operations.
Background of the Invention
This application is related to copending U.S. patent application Ser. No. 857,895 filed Dec. 6, 1977, which in turn is a continuation-in-part of U.S. patent application Ser. No. 692,495 now U.S. Pat. No. 4,070,861, which in turn is a continuation-in-part of U.S. patent application Ser. No. 657,383 now U.S. Pat. No. 4,026,112, which in turn is a continuation-in-part of U.S. patent application Ser. No. 588,888 now U.S. Pat. No. 4,024,715, which in turn is a continuation-in-part of U.S. patent application Ser. No. 564,087 now U.S. Pat. No. 3,998,205.
This invention relates to a system for converting electromagnetic energy to mechanical energy.
As disclosed in the aforementioned U.S. patents, it is known to convey controlled amounts of hydrogen and chlorine to a chamber which is exposed to high frequency electromagnetic radiation such as derived from the sun or from an artificial light source. The chlorine molecules are broken up into atomic chlorine with some chlorine being ionized. The atomized chlorine combines with hydrogen atoms to form hydrogen chloride. The hydrogen chloride is formed in an exothermic reaction which results in the temperature of the hydrogen chloride being substantially higher than that of the chlorine or hydrogen molecules conveyed to the reactor chamber. The resulting high temperature, high pressure gas is utilized to drive an output device such as a turbine.

Such a system requires a substantial amount of high energy electromagnetic radiation. This is not available from the sun unless a concentrator is utilized. Further, even with a concentrator, the sunlight is not continuously available and the level of sunlight changes with the seasons and with the weather.

Thus there is a need in the art to provide an improved source of high energy electromagnetic radiation.

It is also known in the art to provide a nuclear reactor for converting nuclear into mechanical or electrical energy. A number of different types of reactors are available, however, all reactors generate high frequency radiation including gamma rays. This radiation which is harmful to humans is dissipated through a shield. This energy is thus lost during the nuclear power generation process.

There, accordingly, is a need in the art to provide an improved means for utilizing the high energy radiation generated in nuclear reactors.

Short Statement of the Invention

Accordingly, this invention relates to an energy conversion system which includes an electromagnetic reactor chamber having inputs for controllably coupling chlorine and hydrogen thereto. The chamber is positioned with respect to a nuclear reactor such that high energy radiation from the reactor is conveyed from the nuclear reactor to the electromagnetic reactor chamber. The radiation from the nuclear reactor is, therefore, utilized to convert the hydrogen and chlorine to hydrogen chloride and other highly charged particles at high temperature and pressure levels. Thus a continuous source of high energy radiation is provided while at the same time a means is provided for eliminating the danger of harmful radiation leaking from the nuclear reactor.

Brief Description of the Drawings

Other objects, features and advantages of the present invention will become more fully apparent from the following detailed description of the preferred embodiment, the appended claims and the accompanying drawings in which:

FIG. 1 is a schematic block diagram of the preferred embodiment of the present invention;

FIG. 2 is a simplified section view of the preferred embodiment of the present invention;

FIG. 3 is a simplified schematic block diagram of the power generation system of the present invention wherein the output of the reactor drives a magnetohydrodynamic generator;

FIG. 4 is a simplified schematic diagram of a magnetohydrodynamic generator .

Detailed Description of the Preferred Embodiment

Refer now to FIG. 1 which is a simplified schematic illustration of the preferred embodiment of the present invention. An electromagnetic reactor chamber 11 of the type illustrated and described in U.S. Pat. Nos. 4,070,861; 4,026,112; 4,024,715 and 3,998,205 each of which are assigned to the common assignee herewith, is shown having its output connected to a turbine 13. As will be explained more fully hereinbelow the reactor generates high temperature, high pressure hydrogen chloride and highly ionized hydrogen and chlorine. These gases are coupled to a turbine 13 which is designed to withstand the highly corrosive hydrogen chloride and which converts the high energy molecules and particles from reactor 11 to mechanical energy. The output of the turbine drives a suitable power output device such as an electrical generator 14. The gases from the turbine which include hydrogen chloride are coupled to an electroylsis cell 15 which through a process of electrolysis commonly known in the art generates molecular hydrogen and chlorine. The molecular hydrogen and chlorine are controllably coupled back to the reactor 11 to form the reactants therein.

As an important part of the present invention, a nuclear reactor 17 of conventional design has a nuclear reactor core therein, together with nuclear fuel rods, moderator rods and control rod piles, each of which are contained in a pressure vessel. The pressure vessel has at least one sight glass in the vessel wall in close proximity to the reactor 11. The nuclear reactor produces thermal and radiant energy as nuclear transition and degradation occurs within the reactor 17. Gamma rays from the reactor are directed into the reactor chamber 11 and absorbed by the chlorine and hydrogen molecules in the presence of oxygen. The resulting highly energized gases generate light, heat and pressure in the reactor 11. The high pressure gases in turn drive the turbine 13. The gases and gamma radiation are quantitatively controlled to bring about the desired reaction between the reactants for the purpose of obtaining the desired energy levels for the turbine 13.

The thermal energy from the nuclear reactor 17 may be utilized to drive the same power output device as driven by the reactor 11 or may be used for any other suitable purpose.

Refer now to FIG. 2 which is a simplified section view of the referred embodiment of the present invention.

As illustrated in FIG. 2, a nuclear reactor power system is illustrated in simplified plan view and includes a reactor housing 21 which is formed of reinforced concrete or other materials capable of retaining high frequency radiation. The housing 21 contains a nuclear reactor core which is positioned within a pressure vessel 23. The pressure vessel has, in the preferred embodiment, a plurality of sight glasses 25-28 which are supported and fixed in the pressure vessel at appropriate intervals about the wall. The sight glasses must be strong enough to support the pressure generated by the nuclear reactor core while at the same time be transparent to the high frequency electromagnetic radiation generated therein.

A plurality of electromagnetic reactor chambers 11 are each positioned proximate a sight glass for receiving the high frequency electromagnetic radiation generated in the core. The electromagnetic reactor chambers, as aforementioned, are of the type disclosed in the aforementioned U.S. patents, the subject matter of which is incorporated herein by reference thereto. The reactor chambers are each secured to a corresponding sight glass by suitable mechanical means to render the chambers pressure tight at the junction of the sight glass and the reactor. Secured to the other end of the reactors are turbines 29-32. Preferably the turbines 29-32 are secured to and supported by the nuclear reactor housing 21 turbines as illustrated. The turbines may be of any suitable degree known in the art. However, the turbine must be capable of withstanding the corrosive effects of hydrogen chloride and highly ionized gases. The turbines are each connected directly to an electric power generator 33-36. The output of the power generators can be utilized for any suitable purpose.

A chlorine conduit 37, an oxygen conduit 39 and a hydrogen conduit 41 are coupled to each of the reactor chambers with the hydrogen and chlorine providing the reactants in the electromagnetic reactor chambers and the oxygen being utilized as a control medium. In addition, as is known in the art, coolant conductors 43 are coupled to the nuclear reactor core to carry away therefrom the heat energy generated in the core.

In operation, in the preferred embodiment, a coolant is circulated through the pipes 43 for the purpose of removing heat from the reactor core with the heat from the core being utilized to generate steam directly or via a suitable heat exchanger for the purpose of providing a means for driving steam turbine generators. In addition, the nuclear reactor produces thermal and electromagnetic energy during the nuclear transition and degradation within the core. As nuclear transformation and degradation occur, gamma radiation is reduced and alpha radiation increased. At least in part of this electromagnetic radiation is conducted through the sight glasses into each of the electromagnetic reactor chambers. At the same time hydrogen and chlorine gas are controllably fed into the reactor chambers together with oxygen. The high energy electromagnetic radiation is absorbed by the chlorine and hydrogen molecules in the presence of the oxygen. The resulting highly energized gases form hydrogen chloride as well as highly ionized chlorine and hydrogen. These highly energized gases generate heat and pressure in each of the reactors which energy is utilized to drive the respective turbines. By controlling the input of hydrogen and chlorine as well as oxygen or by controlling the amount of high energy radiation coupled to the reactor chamber, the desired energy levels can be achieved for driving the respective turbines.

Refer now to FIGS. 3 and 4 which are simplified schematic block diagrams of the power generation system of the present invention wherein the output of the electromagnetic reactor drives a magnetohydrodynamic generator. In this embodiment of the invention of the chlorine and hydrogen gases in the electromagnetic reactor chamber are highly ionized and the resulting charged particles are utilized as a medium for the magnetohydrodynamic (MHD) generators 51 that may be positioned in place of the gas turbines of FIG. 2, or in the alternative may be positioned at the output of the gas turbines to receive whatever ionized gases are passed through the turbine. As is known in the art the ionized hydrogen and chlorine atoms resulting from the absorption of gamma and alpha radiation by the chlorine and hydrogen are expanded into a reactor duct 55 which is in the middle of a magnetic field produced by electromagnets 57 and 59. Electrodes 61 and 63 positioned inside and insulated from the wall of the reactor duct 55 receive the charged particles as they are deflected to the respective electrodes by the electromagnetic field generated by the magnets. Thus a positive potential is generated at one electrode and a negative potential at the other electrode thereby causing the generation of current. The output from the reactor duct may then be utilized by coupling the gases to a suitable storage or conversion units for converting the gases to molecular hydrogen chlorine for feeding back to the reactor chamber in the manner described in connection with FIG. 1.

It should be understood by those skilled in the art that while a preferred embodiment has been disclosed in connection with the present invention there may be other embodiments which fall within the spirit and scope of the invention as defined by the appended claims.

Claims  ~ [ Claims not included here ]



US Patent # 4,374,288

Electromagnetic Process and Apparatus for Making Methanol

US Cl. 568/910 ~ Feb. 15, 1983

Robert L. Scragg

Abstract ~ An electromagnetic methanol reactor system which includes an enclosed reactor chamber having a pair of electrodes positioned in the chamber and spaced from the walls thereof. An electromagnetic field is generated across the electrodes wherein the field has sufficient strength to atomize oxygen. Methane is continuously supplied to the chamber and oxygen is supplied to the chamber between the electrodes so that the oxygen is atomized. The oxygen combines with the methane to form methanol.

References
U.S. Patent Documents: 2462301 // 2801260 // 2824131 // 2922809 // 3067115 // 3092667 // 3205162 // 3445191 // 3745193 // 3993672 // 4101394 // 4214962 // 4243613
Foreign Patents: DE 1302390 // DE 1302391

Description

BACKGROUND OF THE INVENTION

The present invention relates to a system of producing methanol.

The most recent technique for methanol synthesis involves a low pressure process by which synthesis gas is prepared. This synthesis gas is prepared by the steam reforming or partial oxidation of a liquid or gaseous hydrocarbon feedstock or by direct combination of carbon dioxide with purified hydrogen rich gases. Typically, naphtha or natural gas feedstock is desulfurized, preheated, mixed with a superheated steam and then reacted over a conventional catalyst in a multi-tubular reformer. After cooling, the synthesis gas is compressed to the required synthesis pressure. The synthesis gas is passed into a hot-wall convertor over a low pressure methanol synthesis catalyst at a temperature range of 250.degree. to 270.degree. C. The crude methanol thus formed is condensed and separated from the uncondensed gases which are recycled with makeup synthesis gas and fed back to the converter. See, for example, page 733 of the "Chemical and Process Technology Encyclopedia".

In the aforementioned process and in other processes of producing methanol by techniques known today, it is necessary to provide production facilities where a large amount of hydrogen and carbon monoxide are produced by environmentally dangerous processes, by methane cracking and coking. These facilities are environmentally limited to certain heavy industrial areas of the world and necessitate long-range and expensive transport of the finished methanol. The transportation expense offsets the economic production of methanol in the volume heretofore contemplated.

Merthanol, wood alcohol, has been and still is a key chemical used in the production of many industrial and consumer products and is now being sought after as a fuel. Thus, as petroleum products become less available and more expensive, the Government and consumers are seeking ways and techniques for reducing existing fuel shortages and the cost of new fuels. For example, see "Gasohol, A Technical Memorandum", September 1979; Congress of the United States, Office of Technology Assessment (OTA), Washington, D.C. 20510, page 60. In the introduction, this Memorandun states "In fiscal year 1979, OTA estimated that federal expenditures of between $13 and $17 million directly supported the development of alcohol fuels from biomass. In fiscal year 1980 the Administration's research activities are expected to be funded at a level between $18 and $25 million. Additional subsidies include $40 million in loan guarantees, exemption of the federal excise tax on gasohol (for domestic production and imports), eligibility of alcohol fuels for entitlement awards and an investment tax credit of 20% on alcohol fuels facilities." The most promising fuel to alleviate current and anticipated shortages is methanol. Methanol is produced from carbon feedstocks such as natural gas (methane) and coal which are in plentiful supply and are not dependent on grain as is ethanol. Methanol can be mixed with gasoline to form gasohol or even used independently as a fuel. Methanol, as a fuel, has a research octane rating of 106-115 and a motor octane rating of 88-92. When 9 parts gasoline are mixed with 1 part methanol, the research octane rating of the mix is increased from 91.1 to 95.5 octane, and the motor octane rating from 82.5 to 84.5 octane. See, for example, pages 4-45, "Energy Technology Handbook", Douglas M. Considine, McGraw-Hill, Inc.

Methanol is also a competitive way of tranporting natural gas from the wellhead to the consumer. Wellhead gas, which is currently being burned off into the atmosphere in many major oil fields outside the United States, is a potentially cheap fuel when converted to methanol and shipped to the marketplace. Other natural gas producing fields that are not accessible to gas pipelines are compressing the gas to liquid natural gas (LNG) and shipping the compressed gas to gasification plants that have access to gas pipelines. The conversion and shipping of methanol to gasification plants is a simpler, safer and more economical way of transporting natural gas. See pages 2-124, "Energy Technology Handbook", Douglas M. Considine, copyrighted 1977, McGraw-Hill, Inc.

It therefore is an object of this invention to provide a method and apparatus for producing methanol by environmentally acceptable techniques.

It is another object of this invention to provide a method and apparatus for producing efficiently and economically both small and large quantities of methanol.

It is another object of this invention to provide a method and apparatus for producing methanol to be used as a fuel or fuel additive from pipeline or wellhead natural gas.

It is another object of this invention to provide a method and apparatus for producing methanol as a transport medium of natural gas from a wellhead to gasification plant.

SHORT STATEMENT OF THE INVENTION

Accordingly, the present invention relates to a method and apparatus for forming methanol. By the method, methane is conveyed to an electromagnetic combustion and condensing reactor. Oxygen is also conveyed into the reactor where it passes through an electromagnetic field and is atomized prior to convergence and combustion with the methane. The atomized oxygen combines stoichiometrically with the methane in an exothermic reaction to generate methanol gas which is condensed in the reactor to form liquid methanol.

BRIEF DESCRIPTION OF THE DRAWINGS

Other objects, features, and advantages of the present invention will now become more fully apparent from the following detailed description of the preferred embodiment, the appended claims, and the accompanying drawings in which:

FIGURE 1 is a simplified cut-away view of the electromagnetic methanol reactor of the present invention; and

FIGURE 2 is a simplified cut-away view of an alternate embodiment of the electromagnetic reactor of the present invention.

DETAILED DESCRIPTION OF THE PREFERRED EMBODIMENT

As illustrated in FIG. 1, an electromagnetic methanol reactor 11 receives a supply of methane gas from a natural gas supply line 13. The methane is derived from a natural gas supply that has been scrubbed of nitrogen, hydrogen and carbon monoxide trace gases and is typically 96.5% pure methane. Molecular oxygen is fed to the electromagnetic reactor 11 via an oxygen supply line 15. The oxygen is derived from an electrolyzer plant or an air reduction plant and is typically 99.5% pure. The two gases, methane and oxygen, are fed into the reactor 11 at low pressure, under 75 psig, and low velocity. The molecular oxygen is passed between electrostatic plates 17 and 19 which form a gap therebetween. A high voltage transformer 23 is powered by an alternating current supply line 21. The output of transformer 23 is variable and can be adjusted to provide between 1,000 and 10,000 volts on the secondary winding. The spacing of the electrostatic plates 17 and 19 is adjusted to prevent arcing between the plates 17 and 19 depending on the density of the flow volume of the oxygen and the dielectric characteristics of the oxygen. The electrostatic field between the plates 17 and 19 generates heat by hysteresis action sufficient to weaken and break the bond between the oxygen atoms prior to their combination with the methane molecules. The reaction is observed, visibly and spectroscopically, via sight glass 14. The combustion temperature should be in the neighborhood of 1200.degree. C. The oxidation and reduction of the methane molecules by the oxygen atoms forms methyl molecules CH3 and hydroxy molecules OH that combine to form the methanol molecules, i.e., methanol gas, by the following reaction:

CH4 +O.fwdarw.CH3OH

The methanol gas thus formed in the reactor chamber 11 rises in the reactor column encountering vortex baffle plates 28 in the center of the reactor column to decrease the velocity of the methanol gas and direct the gas to the walls of the water cooled helical coils 12 and to the air cooled wall 27 of the reactor column. The reactor column wall 27 is air cooled or water cooled to 64.degree. C. or lower which is below the boiling point of methanol liquid. The cooling water passed through the helical coils 12 is conveyed with respect to the coils 12 via lines 22 and 24 and reduces the temperature of the methanol gas inside the reactor 11 below the critical temperature of 240.degree. C. and the critical pressure of 78.7 atmospheres to a temperature of less than 112.degree. C. and to a pressure of less than 5 atmospheres. The methanol gas cools as its velocity is slowed during its rise up the reactor column 11 and as it is repeatedly directed to the walls of the water cooled helical coils 12 and the cool wall 27 of the reactor column 11. The methanol gas is cooled and pressurized to form liquid methanol prior to reaching the top of the reactor 11 column because it condenses on the walls of the water cooled helical coils 12 and the reactor wall 27. To increase the rate of reaction, methanol liquid is taken from line 31 via line 18 and pumped via pump 16 into spray nozzles 35 along the reactor column wall 27. The liquid methanol is atomized by the spray nozzles 35 and vaporized on contact with the hot methanol gas producing methanol vapor. The methanol vapor produced by the reaction condenses rapidly on contact with the cool reactor column wall 27 and helical coils 12. Any methanol gas not condensed prior to reaching the top of the reactor column 11 is vented via line 26 to an additional condensing stage. As the condensed methanol vapors accumulate on the walls of the helical coils 12 and the wall 27 of the reactor column 11, the liquid condensate, i.e., methanol liquid, gravitates down the wall 27 to the bottom of the reactor 11 and down through line 31 via port 29 to a storage reservoir. Port 29 and line 31 are designed to retain liquid methanol to a desired level in the bottom of the reactor 11. Light trace gases, primarily, nitrogen, accumulate in the reactor dome and build up pressure in the reactor which increases the rate of condensation of the methanol gas at the top end of the reactor column 11. The pressure is maintained at or below a predetermined level in the reactor column 11 to prevent back pressure on the burner at the bottom of the reactor 11 thereby sustaining the desired stoichiometric combination of oxygen and methane, and is vented by a pressure loaded check valve 32. The dimensions of the reactor 11 are directly proportional to the desired volume of the reactants, the cooling medium and pressure levels of the reactor.

Refer now to FIG. 2 where there is illustrated an alternate embodiment of the electromagnetic reactor of the present invention. As illustrated in FIG. 2, an electromagnetic methanol reactor 11 receives a supply of natural gas via supply line 13. The natural gas being typically composed of 96.5% methane, 3% nitrogen, 0.5% hydrogen and a trace of carbon monoxide when furnished from a natural gas supplier or after treatment of wellhead gas. Molecular oxygen is fed to the electromagnetic reactor 11 via supply line 15. The oxygen is derived from an electrolyzer plant, an air reduction plant or from air. The oxygen derived from ambient air is typically 75% nitrogen, 24% oxygen and 1% trace gases, e.g., helium, hydrogen, neon, argon, etc. The gases, natural gas and atmospheric oxygen, are fed into the reactor 11 at low pressure, e.g., under 75 psig, and at a low velocity. The molecular oxygen and/or air is passed between electrostatic plates 17 and 19 which form a gap therebetween. A high voltage transformer 23 is energized from an alternating current supply line 21. The output of transformer 23 is variable between 1,000 and 10,000 volts depending upon the input voltage and, of course, the transformer ratio. The spacing of the electrostatic plates 17 and 19 is adjusted to prevent arcing between the plates 17 and 19 depending on the density of the flow of the atmospheric oxygen and the dielectric characteristics thereof. The electrostatic field between the plates 17 and 19 weakens and breaks the bond between the oxygen atoms prior to their combustion with the methane molecules in the natural gas. Other molecules mixed with the oxygen when it is derived from air, such as nitrogen, are not atomized. The electrostatic plates are adjusted to break oxygen molecular bonds with a heat of atomization of 59.5 Kcal per g-atom. Nitrogen requires 113 Kcal per g-atom. The oxidation of the methane molecules by the oxygen atoms forms methanol molecules, i.e., methanol gas, with a weight of 32 grams per mole. The nitrogen in the reactor 11 does not chemically react and form other molecular bonds due to the low heat of the methaneoxygen burn. The methanol gas which is formed by the process is cooled and condensed by the same method described in connection with FIG. 1. Nitrogen at 28 grams per mole, trace hydrogen at 2 grams per mole, which are not reacted with atomic oxygen, and trace carbon monoxide at 28 grams per mole are vented out of the reactor via port 33 through stack line 34. The size of port 33 and stack line 34 are designed to hold a predetermined back pressure on the chamber to accelerate the rate of condensation of the methanol gas.

While the present invention has been disclosed in connection with the preferred embodiment thereof, other design configurations of gas reacting and condensing columns with other types of cooling systems may be utilized to react methane and atomic oxygen to form methanol gas and to condense said gas to methanol liquid and it should be understood that other embodiments of the invention may be used in accordance with the spirit and scope of the invention as defined by the appended claims.

[ Claims not included here ]


US Patent # 6,000,214
Detonation Cycle Gas Turbine Engine System Having Intermittent Fuel and Air Delivery
Cl. 60/39.38 ~ Dec. 14, 1999

Robert L. Scragg
( PO Box 9083, Daytona Beach, FL 32120-9483 )

Abstract -- A detonation cycle gas turbine engine includes a turbine rotor contained within a housing. Exhaust ports of respective valveless combustion chambers on opposite sides of the rotor direct combustion gases toward the turbine. The chambers are connected by a valveless manifold fed with fuel and oxidizer. When combustible gases are detonated by an igniter in one of the combustion chambers, the back pressure from the detonation shuts off the fuel and oxidizer flow to that chamber and redirects the fuel and oxidizer to the opposite chamber, where detonation occurs, the process repeats cyclically. Power is taken off the rotor shaft mechanically or electrically.

References
U.S. Patent Documents
1174439 ~Mar., 1916 ~Pelley ~60/39
2608058 ~Aug., 1952 ~Geeraert ~60/39
4254617 ~Mar., 1981 ~Papsdorf ~60/39
4374288 ~Feb., 1983 ~ Scragg ~568/910
4589398 ~May., 1986 ~Pate et al. ~123/596
4807440 ~Feb., 1989 ~Salem ~60/39

Other References

Pratt, G. L., "Experimental Methods", Gas Kinetics, Chapter Two, John Wiley & Sons Ltd., pp. 50-59
Primary Examiner: Kim; Ted
Attorney, Agent or Firm: Shoemaker and Mattare, Ltd.

Description

BACKGROUND OF THE INVENTION

The invention described hereinafter is directed to the field of detonation cycle gas turbines and to the methods and apparatus constituting said turbine system.

In the field of gas turbines and piston engines, there are different methods and apparatus which are utilized to convert the kinetic and thermal energy of gas reactions in combustion chambers to extract useful work. The design of the combustion chambers, the expanders, the type of fuel, the fuel-air ratio, the pressure of the fuel-air mixture prior to ignition, and the type of ignition, all determine the rate of oxidation. The rate of oxidation determines and defines whether the fuel and the oxidizer produce a constant propagating flame, a deflagrating explosion and accelerated flame front, or a detonation and high velocity shock waves. In either case, the oxidizer must be activated or raised to a higher energy level by some means to initiate the oxidation reaction. The manner of the activation will vary the rate of the reaction and produce the variation in result from a flame, to a deflagrating explosion, to a detonation.

The methods and apparatus utilized in an Otto cycle spark ignition gasoline piston engines are variable volume--constant pressure--combustion chambers, that induce and compress air and fuel mixtures to 6 or more atmospheres reducing the atmospheric ignition temperature from 1,000 degree F to 500 degree F, then ignite the mixture with an electric spark producing low power photolytic and radiolytic radiation, typically 80 millijoules, that activates and disassociates oxygen and hydrocarbon molecules in the immediate proximity of the electric spark, resulting in a deflagrating explosion with an accelerated flame front. The thermal energy of the flame front propagates throughout the mixture, thermally activating and chemically combining remaining reactants in a "chain burn" with typical mean pressures of 90 pounds per square inch gauge over a time period of 8 to 16 milliseconds while expanding the pistons down the chambers. The methods and apparatus utilized in Otto cycle engines are not useable with Diesel cycle engines, Brayton cycle or Detonation cycle turbines. Otto cycle engines in the 200 horsepower range typically utilize 9 pounds of air and 0.6 pounds of fuel per horsepower hour while producing 9.6 pounds of exhaust gas per horsepower hour.

The methods and apparatus utilized in Diesel cycle compression ignition diesel fuel piston engines are variable volume--constant pressure--combustion chambers, that induce and compress air to 15 or more atmospheres, and injects compressed fuel in the top of the chamber at the top of the compression stroke. Molecules of oxygen and hydrocarbons disassociate when compressed against the hot head of the combustion chambers resulting in free radicals that chemically combine exothermally in a deflagrating explosion with an accelerated flame front. The thermal energy of the flame front probagates throughout the mixture, thermally activating and chemically combining remaining reactants in a "chain burn" with mean pressures typically in excess of 90 pounds per square inch gauge over a time period of 12 to 24 milliseconds while expanding the pistons down the chambers. The methods and apparatus utilized in in Diesel cycle engines, are not useable with Otto cycle engines, Brayton cycle or Detonation cycle turbines. Diesel cycle piston engines in the 200 horsepower range typically utilize 11 pounds of air and 0.55 pounds of fuel per horsepower hour while producing 11.55 pounds of exhaust gas per horsepower hour.

The methods and apparatus utilized in Brayton cycle compression ignition turbine fuel gas turbines are constant volume--constant flow--constant pressure combustion chambers; a compressor that compresses air from 3 to 6 atmospheres; a pump that compresses fuel up to 40 atmospheres; and an axial flow or radial inflow turbine expander. Compressed air is fed into the combustion chamber and combined with the hot compressed fuel. An Infrared glow plug is often utilized to increase the thermal activation of the oxygen and hydrocarbon molecules, at the surface of the plug, to bring the mixture to the ignition temperature. Ignition occurs as a very low pressure deflagrating explosion with a constant pressure flame front. The thermal energy produced by the flame front radiates thermal waves with sufficient energy to continuously ignite the constant flowing high pressure fuel-air mixture and expand the surplus air in the burn plennum to drive the turbine while maintaining a constant pressure. Maintaining constant pressure is critical. Variation of pressures in the combustion chambers will cause flame out. Over pressure in the plennum will stall the compressor. The methods and apparatus utilized in a Brayton cycle turbine are not useable with Otto cycle or Diesel cycle engines, nor Detonation cycle turbines. Brayton cycle gas turbines In the 200 horsepower range, operated in an open cycle configuration at sea level, typically utilize 40 pounds of air and 1.2 pounds of fuel per horsepower hour, while producing 41.2 pounds of exhaust gas per horsepower hour.

SUMMARY OF THE INVENTION

The methods and apparatus utilized in this invention, a Detonation Cycle Gas Turbine, are two constant volume -- cyclic flow -- combustion chambers connected by a common manifold; a blower that produces and supplies low pressure air to the manifold; a fuel pump that supplies low pressure gaseous fuel to the combustion chambers; and a constant visible arc ignition; and a positive displacement turbine. The blower supplies air to the combustion chambers via the manifold. Fuel is Injected into venturis in the manifold next to the combustion chambers. The high power, 300 joule, arc ignitions, producing photolytic and radiolytic particles and waves disassociates oxygen and hydrocarbon molecules throughout the combustion chambers, producing complete detonation and high velocity shock waves that kinetically compress the remaining inert gases in the combustion chambers. Detonation pressures exceed 80 atmospheres and produce mean chamber pressures of 20 atmospheres to drive the turbine. The methods and apparatus utilized in Detonation cycle gas turbine are not useable with Brayton cycle gas turbines, nor Otto cycle and Diesel cycle engines. The Detonation cycle gas turbine, operated in an open cycle configuration at sea level in the 200 horsepower range, typically utilizes 5.2 pounds of air and 0.3 pounds of fuel per horsepower hour while producing 5.5 pounds of exhaust gas per horsepower hour.

This invention utilizes a modified Pelton Water Wheel, as the turbine wheel, with blades that are positively displaced through a blade race by kinetic impact and expansion of gases exiting from combustion chambers via nozzles, rather than pistons, axial flow, or radial inflow expanders.

This invention utilizes a turbine housing with a turbine wheel chamber that directs expanding gases through a positive displacement blade race tangentially followed by an expanded blade race to an exhaust port.

This invention utilizes a blower, rather than a compressor, to supply less air per horsepower hour than required by existing gas turbines or piston engines, thereby producing less exhaust gas per horsepower hour.

This invention utilizes a blower, rather than a compressor, to supply low pressure air, less than 2 atmospheres, via a single manifold to two combustion chambers simultaneously.

This invention utilizes a blower, rather than a compressor, to supply less air at lower pressure; thereby consuming less work to complete a detonation cycle, resulting in higher thermomechanical efficiencies than gas turbines or piston engines.

This invention utilizes manifolds, combustion chambers and ignition systems that have the capability of cyclically detonating fuel-air mixtures without utilizing valves.

This invention utilizes fuel pumps and vaporizers to gasify wet fuels prior to mixing with combustion air to produce more complete combustion of fuel-air mixtures in the detonation process.

This invention utilizes venturis in the manifolds to uniformly mix gaseous fuels with combustion air prior to injection in the combustion chambers to produce complete combustion of fuel-air mixtures in the detonation process.

This invention utilizes a plasma arc ignition, a visibly constant illuminating plasma flame between two electrodes, to detonate fuel air mixtures and does not require critical Ignition timing.

This invention utilizes low pressure air and fuel mixtures that are detonated instanteously, in less than one millisecond, producing high velocity shock waves that kinetically compress inert gases resulting in higher working pressures than the pressures produced in constant pressure heating utilized in Brayton cycle turbines, Otto and Diesel cycle piston engines.

This invention utilizes a detonation cycle that utilizes less working fluid and produces significantly less exhaust gas per horsepower hour than Brayton cycle turbines, Otto or Diesel cycle piston engines.

At least one turbine is provided in driving relation to a shaft supported in bearings mounted in opposite end walls of a housing for the turbine. The side walls of the housing are ported to accommodate combustion chambers, expansion chambers and exhaust ports. The combustion chambers are secured to the housing over each respective port, with the firewall end of the chamber facing the periphery of the turbine. Expansion chambers and exhaust ports are positioned downstream from the combustion chambers. Nozzles are ported in the firewalls of the combustion chambers, extend and are directed to the periphery of the turbine. High-voltage electrodes are positioned in the wall of each combustion chamber and are continuously fired by high frequency high-voltage transformer and capacitor networks. A low static pressure rotary blower is driven by the turbine shaft to supply air as an oxidizer via a common manifold feeding two combustion chambers. Fuel gas, injected into venturi turbes on the downstream end of the manifold, mixes with the oxidizer and is fed into the combustion chambers at low static pressure. Both radiolytic and photolytic radiation produced by the high voltage-high frequency plasma arcs in the combustion chambers atomizes and ionizes oxygen molecules initiating instantaneous oxidization and detonation producing high-pressure shock waves that kinetically compress Inert gas molecules in the chambers. The resulting high-pressure compressed gases are directed from the combustion chambers to the periphery of the turbine via nozzles. The high pressure compressed gases, when exhausted from the nozzles, kinetically impact positive displacement blades on the periphery of the turbine, imparting momentum to the turbine. As the turbine rotates, the compressed gases expand across the periphery of the turbine blades into an expansion chamber further accelerating the turbine. The compressed gases continue to expand via the respective exhaust ports. The torque produced by the acceleration of the turbine and shaft is converted to work or power by conventional mechanical or electrical means. Acceleration, torque, and resulting power output can be increased or decreased by the volumes of combustion chambers, the number of combustion chambers and turbines, the radius of the turbines, and the amount of air and fuel utilized.

The principles of the invention will be further discussed with reference to the drawings wherein preferred embodiments are shown. The specifics illustrated in the drawings are intended to exemplify, rather than limit, aspects of the Invention.

BRIEF DESCRIPTION OF THE DRAWINGS

In the Drawings:

FIGURE 1 is a block diagram of the turbine engine system;

FIGURE 2 is a cross-sectional view of the turbine engine, rotary blower, manifolds and combustion chambers of the system shown in FIG. 1;

FIGURE 3 is a block diagram of an acceleration testing system for a high inertia turbine engine system of the present invention utilized as a fluidic dynamometer;

FIGURE 4 is a graph of total temperature drop across turbines versus working fluid horsepower for the turbine engine system of FIG. 3;

FIGURE 5 is a graph of acceleration and torque versus RPM and shaft horsepower for the turbine engine system of FIG. 3;

FIGURE 6 is a graph of nozzle inlet and exhaust outlet acceleration gas temperatures versus RPM and shaft horsepower for the turbine engine system of FIGURE 3;

FIGURE 7 is a graph of working fluid horsepower versus shaft horsepower and the resulting heat loss in horsepower across high-inertia turbines.

DETAILED DESCRIPTION OF THE PREFERRED EMBODIMENTS

In the illustrated preferred embodiment, the Detonation Cycle Gas Turbine is illustrated in FIGS. 1 and 2. Referring to FIGS. 1 and 2, the turbine system includes a straight drive shaft 12 on which are mounted for rotation with the drive shaft, a positive displacement turbine wheel 11, a conventional rotary blower 48, a conventional flywheel 49 and a conventional power take-off unit 35 operatively connected to a conventional alternator 37.

The turbine engine further includes a block 30 (FIG. 1) having end walls in which the drive shaft 12 is journalled for rotation. The block 30 has an internal cavity in which the turbine 11 is housed, this cavity includes two axially opposite end walls and an outer peripheral wall. The block 30 is suitably air, water or chemical cooled.

The turbine wheel 11 (FIG. 2) has a plurality of blades mounted on the radially outer periphery thereof at a plurality of equiangularly spaced sites. The individual blades extend axially from end wall to end wall of the internal cavity, and from the outer peripheral wall of the turbine wheel to the outer peripheral wall of the internal cavity. Suitable slide bearing surface are provided between the turbine blades and cavity walls. Accordingly, a succession of chambers is defined in a series about the turbine wheel 11 between angularly successive turbine blades.

The turbine engine has two combustion chambers, chambers 14 and 15 having respective firewalls 24, 25, provided at the inner end walls thereof. Fuel-oxidizer manifold ports are provided through the outer end walls thereof. A common inlet manifold 47 for low-pressure oxidizer gas, is intersected at inlet venturi throats 20, 21 by fuel inlet orifices 18, 19.

In accordance with principles of the invention, the combustion chambers are intersected between the inlet and firewall thereof by electrodes 22, 23, the inner ends of which are disposed within the combustion chambers, for providing a visible plasma arc therein during operation of the turbine engine. Through each firewall, directional nozzles 16, 17 communicate through the radially outer peripheral wall of the internal cavity of the block 30.

Generally, one-eighth of the way around the internal cavity of the block 30 from where nozzles 16, 17 intersects the outer peripheral wall of the internal cavity, the internal cavity is provided with expansion chambers 26, 27 leading outward to exhaust ports 32, 33.

The turbine, block, combustion chambers, inlets and outlets may be made of materials and using constructional techniques that are utterly conventional in the manufacture of piston and turbine engines.

The fuel supply (FIG. 1) for the turbine engine includes two fuel tanks. Fuel tank 42 is for gaseous fuels and fuel tank 43 for wet fuels. Both are connected by a fuel line to both orifices 18,19, via a throttle regulator valve 44. Fuel tank 43 has a motor 54 that drives a wet fuel pump 52 and sprays fuel into a fuel vaporizer 53 that converts the wet fuel to gas which is fed to throttle regulator valve 44.

The oxidizer supply for the turbine engine includes a manifold 47 connecting both venturi inlets 20, 21 with the output side of the rotary blower 48. At an upstream end of the manifold 47, a check valve 45 is provided for preventing compressed oxidizer backflow towards the blower.

The electrical system for the turbine engine system includes a battery 36, a starter motor 34, a voltage rectifer 31, a voltage regulator 28, an alternator 37, a power switch 46, and two high voltage ignition transformers 40,41. In operation, the power switch 46 is turned on to actuate the system, and engages the starter motor 34 with the battery 36. The starter motor 34 engages the flywheel 49 thus turning the drive shaft 12, power take off 35, alternator 37, and the air blower 48. The air blower 48, driven by the drive shaft 12, produces low pressure air that is fed via the check valve 45 and manifold 47 to the inlet venturis 20,21. Fuel gas from fuel tank 42 or 43 is throttled via regulator valve 44 into the low pressure air stream via orifices 18,19 and into the chambers 14,15, via the venturis 20,21. The alternator 37 provides electrical power to high voltage transformers 40,41, that supply high voltage to arc electrodes 22,23.

According to the preferred design, the low pressure air manifold piping to the combustion chamber 14 is shorter in length than that to the combustion chamber 15. Accordingly, the fuel-air detonation occurs in combustion chamber 14, closely followed by one in combustion chamber 15 and so, in alternation. The cyclic detonations in combustion chambers 14 and 15 produce high pressure gases that expand, and via the respective nozzles 16, 17, kinetically impact and expand across respective ones of the blades of the turbine wheel 11, thereby turning the drive shaft 12 to provide rotary output to the power take-off unit 35. The power take-off unit 35 turns the alternator 37 that generates DC power via the voltage rectifier 31 and voltage regulator 28 to maintain a full charge on the battery 36, and provides continuous AC power to the high voltage transformers 44,41. The air blower 48 rotation is sustained by the drive shaft 12.

By preference, the rotary blower 48, produces static air pressure in the range of 3.5 to 15 pounds per square inch gauge, at the output side of the blower.

The gaseous fuel contained in the fuel tank 42 preferably comprises propane. However, other gaseous fuels such as hydrogen, acetylene, butane, compressed natural gas can be utilized. The liquid (wet) fuels contained in fuel tank 43 preferably comprises gasoline, however, other wet fuels such as diesel fuel, methanol, ethanol, or liquid natural gas can be utilized. The fuel delivery pressure (obtained by pressurizing the fuel tank and/or by using a wet fuel pump 52 and fuel vaporizer 53 for boosting fuel pressure in the fuel delivery line to the orifices 18,19) is preferably in the range of 7.5 to 20 pounds per square inch gauge, and at least slightly higher than the aforementioned air oxidizer pressure.

The high voltage transformers 40,41 preferably includes a 60 to 400 cycle, 120 volts AC, primary winding with a 15,000 volt AC center-tapped secondary winding with capacitors in parallel across each winding, creating an electrical tank circuit that oscillates at high frequency and supplies electrical power to the arc electrodes 22 and 23. Each 7,500 volt secondary transformer winding and capacitor network oscillates at 100,000 cycles per second at 40 milliamperes, delivering 300 joule to each of the arc electrodes 22,23.

Each arc electrode 22,23 produces electromagnetic radiation, both photolytic and radiolytic, from the high frequency plasma arc gaps. The density and power of the radiated photons and charged radiolytic particles produced by the arcs at electrodes 22 and 23 scatter throughout the chamber and the low pressure air fuel mixture, kinetically impact and split oxygen molecules. The oxygen atoms, oxidize the fuel molecules instantaneously throughout the chamber producing a detonation and high velocity shock waves through the chamber.

The pressure of the shock waves resulting from the detonations compress remaining inert gases in the chambers into high pressure masses. At the time of each detonation, the overpressure momentarily shuts off the air and fuel flow at respective orifice 18, 19 and venturi turbe 21,22. The compressed gases that exhaust via the respective directional nozzle 16,17 disposed in the firewall section 24,25 of respective combustion chamber 14,15 kinetically impact the elliptical blades in the peripheral cavities 13 on the outer radial surface of the turbine wheel 11. The turbine wheel 11 rotates on and turns the drive shaft 12 in the direction of the impact of the pressurized gas masses. The expanding gases expand over the tops of the turbine blades which are positioned on the radial surface of the turbine at intervals that permit impulse and expansion of the compressed gases into the expansion chamber 27, further accelerating the turbine. During the cut off period of orifice 18 and venturi 21, the blower air or other oxidizer is redirected via the manifold 47 to combustion chamber 15 via venturi 20 and fuel orifice 19 where the detonation process is repeated.

The blower 48 volume, manifold 47 volume, combustion chambers 14, 15 volumes and nozzles 16, 17 volumes are preferably balanced to produce an average displacement that results in fifteen detonations per second per chamber.

The mean inlet temperature at the outlets of nozzles 16 and 17 are the average temperatures of the compressed gases impacting the turbine 11 and elliptical bladed cavities 13 and are controlled by the number of detonations per second per chamber. The temperature drop across the turbine 11 is equal to the inlet temperature at the outlet of nozzle 16 less the outlet temperature at exhaust port 32, plus the inlet temperature at the outlet of nozzle 17, less the outlet temperature at exhaust port 33.

The speed of rotation of the turbine 11 during operation can be regulated by changing the fuel flow input into the combustion chamber 14 and 15 via orifices 18 and 19 with fuel valve 44. As the fuel is leaned, the detonations become less powerful, therefore slowing the turbine 11 and blower 48. As the fuel is enriched, the detonations become more powerful and the turbine 11 and blower 48 increases speed. The greater the range of the flammability of the fuel, the greater the range of control over the speed of the turbine 11 rotation.

Typical input requirements, at mean operating power, for the preferred embodiment of the system are as follows:

Fuel 0.3 pound propane per horsepower hour.

Air 5.3 pounds per horsepower hour.

This is about one-half the air and fuel needed per horsepower of output for Otto cycle and Diesel cycle piston engines, and about one-eighth that required for the same output by Brayton cycle turbine engines.

Operation of the Detonation cycle turbine is terminated by closing fuel regulator valve 44 and disengaging switch 46.

It is within the contemplation of the invention that a plurality of the turbines, all in the same block, or in a succession of blocks be constructed and jointly operated in the same manner to drive the same drive shaft 12.

Reiterating the cyclic operation, and the methods and apparatus utilized in the invention; the switch is engaged connecting the starter to the battery; the starter engages the flywheel and rotates the shaft, the power take-off, the air blower, and the alternator. Air is fed into the common manifold connecting the two combustion chambers. Gaseous fuel is injected into the venturis and mixed with air. The fuel-air mixture is injected into both chambers. Photolytic and radiolytic radiation produced by the plasma arcs across the high voltage electrodes in the chambers atomizes the oxidizer and produces a detonation in one of the combustion chambers. The overpressure of the first detonation, in the respective combustion chamber, momentarily shuts off the fuel and oxidizer flow at the combustion chamber input orifice and venturi tube and the fluid flow reverts to the opposing combustion chamber, via the manifold, where the second detonation occurs. The overpressure mass, compressed gases, products of the cyclic deonations, are cyclically exhausted via nozzles into elliptical bladed cavities on the peripheral surface of the turbine. After each detonation, the pressure in the respective combustion chamber and manifold drops below the air and fuel injection pressure on completion of exhausting the combusted gases via the nozzle, and a new charge of air and fuel is injected by the manifold and respective venturi tube, into the respective combustion chamber, and the detonation repeats. The impulse of the high-pressure high-velocity mass kinetically impacts the elliptical blades of the turbine forcing it to rotate. As the turbine rotates the compressed gases expand out of the cavity and across the periphery of the elliptical blades into the expansion chamber and out the exhaust pushing the turbine into faster rotation. The torque produced by the acceleration of the turbine and shaft is converted mechanically and/or electrically. Acceleration and torque are determined by various volumes of fuel-oxidizer mixes, volumes of combustion chambers and nozzles, number of combustion chambers and number and radius of turbines.

The invention may be further understood with reference to the concrete example, a prototype engine test, that is illustrated and graphically presented in FIGS. 3-7.

In FIG. 3, there is shown a turbine engine system of FIGS. 1 and 2, incorporated in an acceleration testing system, results of the operation of which are described below in relation to the charts shown in FIGS. 4-7.

The engine and test system used in the system of FIG. 3 had the following configuration:

BLOCK: Made of machined aircraft aluminum. Measured 14".times.14".times.14".

TURBINE ASSEMBLY: Two 6.7" diameter turbines, 3" wide, weight 19.35 lbs., each mounted on 2".times.26"- 10-lb. shaft supported by ball bearings. Total weight of turbines 38.7 lbs. Total weight of turbine assembly--48.7 lbs.

COMBUSTOR ASSEMBLY: Four 140 ci combustors connected by two crossover manifolds. Each combustor was fired by a single electrode powered by the electrical device described herein. Each had an exhaust nozzle orifice measuring 563/1000", with a cross-sectional area of 0.248378 square inches, a total of 0.9935 square inches for four nozzle orifices.

ENGINE ASSEMBLY TOTAL WEIGHT: Total weight: 262 lbs.

AIR SUPPLY ASSEMBLY: A Roots blower, driven by a 10 HP electric motor turning 1760 RPM, produces 17.5 lbs. of air/min., 231 SCFM.

FUEL SUPPLY ASSEMBLY: Two 30-lb. propane tanks with pressure regulators and control valves supply fuel to each combustor via an intake port on each manifold. For safety, only two combustors were fuel by each tank by separate fuel lines. Mean combustion heat of the propane was 20,500 BTU/lb.

TEST EQUIPMENT: A standard pounds scale was used for weighing propane tanks. A Photo-Tachometer was used to measure motor and Roots blower RPM and shaft RPM of the engine. A stop watch was used for timing acceleration run time. A pyrometer was used for measuring inlet gas temperatures at nozzles and outlet temperatures at exhaust.

COMBUSTION OVERPRESSURE ACCELERATION OF TURBINE ASSEMBLY FROM 0 RPM

Atm Temperature: 88.degree. F. Aim Pressure: 14.7 psia

Fuel tanks were weighed.
Fuel tank #1 weight: 51 lbs., 2 oz.
Fuel tank #2 weight: 51 lbs., 4 oz.
Both fuel tanks were then connected to their respective fuel lines.

The power switch was engaged, activating the air supply assembly, producing 17.5 lbs. of air/min., 231 SCFM, at a velocity of 558 fps at 1.2 Atms.

Simultaneously, the ignition switch was engaged; the fuel valves on both tanks were opened; and the stop watch was started. The engine shaft acceleration was measured by the photo-tachometer at 30, 60 and 90 second intervals. At an elapsed time of 90 seconds, the shaft RPM was recorded at 12,587 RPM. The fuel valves were closed. The ignition switch was turned off. The air supply assembly continued to operate for 3 minutes, cooling the engine. The air supply assembly was switched-off and the turbines wound down to stop.

Engine Shaft 0-8,270 RPM 0-11,237 RPM 0-12,587 RPM Acceleration

Acceleration Time 30 sec. 60 sec. 90 sec.
The fuel lines were disconnected and the fuel tanks weighed.
Fuel tank #1 weight: 50 lbs., 6 oz.
Fuel tank #2 weight: 50 lbs., 12 oz.
Total Fuel Consumed in 30 Seconds: 0.50 lbs.=0.01666 lb./sec.
Total Fuel Consumed in 103 Seconds: 1 lb., 4 oz.
Nozzle Inlet Temperatures initial 1792.degree. F. Final 1544.degree. F.
Exhaust Outlet Temperatures initial 360.degree. F. Final 842.degree. F.

MEASURED ACCELERATION TEMPERATURE DROP IN WORKING FLUID ACROSS TURBINES

Nozzle inlet Temperatures:

Initial Temperature=1792.degree. F.
Final Temperature=1544.degree. F.

Exhaust Outlet Temperatures:

Initial Temperature = 360.degree. F.
Final Temperature = 842.degree. F.
Total Temp. Drop Across Turbines -- 4 Nozzles to 4 Exhaust
Initial Drop = 5728.degree. F. Final Drop=2808.degree. F.
Average Total Temp. Drop Across Turbines -- 4 Nozzles to 4 Exhaust
Average Drop = 4268.degree. F.

THERMAL--THERMOKINETIC--HORSEPOWER EQUIVALENTS TO TOTAL TEMPERATURE DROP IN WORKING FLUID ACROSS TURBINES

Thermal Equivalent (TE)

Temp. .degree.F..times.Working Fluid lbs./sec..times.Working Fluid Sp.

Heat in BTU/lb/.degree.F.

TE = 4268.degree. F..times.0.30832 lbs./sec..times.0.2095 BTU/pound/.degree.F.=275.68 BTU/sec.

Thermokinetic Equivalent (TKE)

BTU/sec..times.lbft/BTU

TKE = 275.68 BTU/sec..times.778 lbft/BTU = 214,479 lbft/sec.

Horsepower Equivalent (HP)

Thermokinetic lbft/sec..div.lbft/sec./Horsepower ##EQU1## See FIG. 4.

MEASURED ENGINE SHAFT ACCELERATION PRODUCED BY WORKING FLUID OVERPRESSURE DRIVING TURBINES

Angular Acceleration (a)
a = Angular Speed w.div.Acceleration Time t

1) w=8,270 RPM.times.6.283 Radians/Rev=51,960 Radians/min.
a = w/t = ##EQU2## =1732 Radians/sec/sec

2) w =11,237 RPM.times.6.283 Radians/Rev = 70,602 Radians/min.
a = w/ = ##EQU3## = 1177 Radians/sec/sec

3) w =12,587 RPM.times.6.283 Radians/Rev = 79,084 Radians/min.
a = w/t ##EQU4## = 879 Radians/sec/sec See FIG. 5.

ACCELERATION TORQUE AND SHAFT HORSEPOWER PRODUCED BY WORKING FLUID OVERPRESSURE DRIVING TURBINES:

TORQUE (T)

T = Turbine mass (m).times.Turbine Radius Squared (r.sup.2).times.Shaft Accel (a)

1) T = mr.sup.2 a=1.209 lbsec.sup.2 /ft.times.0.279 ft.sup.2 /Rad.times.1732 Rads/sec/sec
T = 163 lbft

2) T = mr.sup.2 a = 1.209 lbsec.sup.2 /ft.times.0.279 ft.sup.2 /Rad'1177 Rads/sec/sec
T = 111 lbft

3) T = mr.sup.2 a = 1.209 lbsec.sup.2/ft.times. 0.279 ft.sup.2 /Rad.times.879 Rads/sec /sec
T = 83 lbft ##EQU5##