rexresearch.com

Solar Furnace / Concentrator Patents


http://blog.modernmechanix.com/2007/07/14/suns-rays-are-harnessed-in-solar-furnace
Popular Mechanics Magazine
, May, 1924

SUN’S RAYS ARE HARNESSED IN SOLAR FURNACE

ARCHIMEDES, famous mathematician, is said to have set fire to the fleet of the Roman emperor, Marcellus, by the use of a series of concave mirrors concentrating the sun’s rays upon the fleet. John Ericsson, the designer of the Monitor, of civil war fame, constructed several engines having boilers provided with mechanical devices for effecting the necessary concentration of solar rays which, when collected from 100 square feet of surface, effected the evaporation of 489 cubic inches of water per hour, more than equivalent to one horsepower. This is, however, but a small proportion of the potential energy actually developed by solar heat hourly received upon an area of this size. Ericsson estimated it to be equivalent to that caused by the combustion of 200 tons of coal in the same time. To harness this energy, a solar furnace, with which it is claimed it is possible to attain much higher temperatures than that given by the electric furnace, has been built. The apparatus is composed of about twenty-five lenses and mirrors, the mirrors forming the walls of a cone and the lenses arranged to form a dome near the base of the cone. By adjustments the sun’s rays are concentrated within an area of about one-quarter of an inch, which is the working part of the furnace. It is claimed that by simply increasing the number of lenses and mirrors increased temperatures may be attained. In tests made with this furnace, the more common metals immediately melted and passed off in gaseous form. Even substances like graphite are unable to withstand the intense heat. The working part of the furnace is, of course, extremely small and can handle samples of not over two grams in weight. One of the advantages claimed for this . apparatus is that substances can be melted or evaporated in a vacuum, as they may be inclosed in a glass vessel. It is believed that a furnace of this sort can reach temperatures sufficiently high to melt substances that up to the present have been considered infusible.

Solar Furnace
Marcel MOREAU
USP # 1,479,923
( 1924-01-08 )


Solar Furnace Heating System
Inventor: WILSON MELVIN
US4061129
1977-12-06

Abstract --- A solar furnace heating system is disclosed which is characterized by the provision of novel rotary vane-type heat collector elements arranged in a heat collecting chamber beneath the generally vertical transparent wall of a housing. The fluid to be heated is conveyed across the heat collecting chamber in heat-transfer relationship with the rotary heat collector elements, and then to a heat storage chamber contained in the bottom portion of the housing. After the temperature of the fluid in the heat storage chamber reaches a given value, heated fluid from the heat storage chamber may be conveyed, upon demand, to the enclosure to be heated. In one embodiment, the heat collector elements are mounted for free rotation in the housing by the fluid that is conveyed through the heat collecting chamber. In a second embodiment, means are provided for rotatably driving the heat collector elements in synchronism.


Solar Furnace
Inventor: PAULY LOU ALLEN
US4000733
1977-01-04

Abstract --- A solar furnace receiving reflected solar energy from a battery of remote, positionable mirrors with the furnace having primary and secondary reflectors directing concentrated radiant energy toward a Fresnel lens. The focal point of the lens is located within a furnace chamber into which is advanced a carbon conduit, the advancing end of which is vaporized by focal point temperatures. The vaporized carbon serves as a catalyst for the production of hydrogen. The furnace chamber is in upstream communication with means for separating hydrogen and carbon dioxide.


Method of Constructing Solar Furnace
Inventor: PAULY LOU
US3993528
1976-11-23

Abstract --- A solar furnace of dish-shaped configuration for the reflection of solar rays toward a heat exchanger through which passes a heated medium. The reflective surface of the furnace comprises a multitude of mirror elements incorporated into a fiber glass reinforced plastic structure with each of the mirror elements located so as to reflect rays toward a common focus. A wire grid spaces each of the mirror elements during furnace construction. Each of said mirror elements is temporarily supported on a loosely woven fiber glass cloth permitting each element to individually adapt to the curvature of a convex mold. Subsequent application of fiber glass and resin to the thickness desired results in a rigid dish-shaped structure within which may incorporate support components. A method of furnace construction is additionally set forth.


Solar Furnace
Inventor: BARD ROBERT
US3985118
1976-10-12

Abstract --- A solar furnace wherein multiple Fresnel lenses focus light rays upon heat conductors associated with each of the lenses. Each heat conductor has an exposed arcuate portion which serves to mount lens supporting means permitting pivotal movement of said supporting means about the conductor to maintain the lens focus in common with a portion of the conductor. Fluid passing through the vessels is heated to the extent that same may be used for powering a steam turbine associated with an electrical generator. To provide a self-contained, transportable generating system the solar furnace may be incorporated into a structure mounting additional components providing for condensation of the steam and recirculation to the solar furnace vessels.


Internal Vaporization Engine
Inventor: SPALDING WESLEY
US4149383
1979-04-17

Abstract --- An engine powered by the internal vaporization of a low boiling point liquid such as Freon which is changed into the gaseous state by a suitable heat source applied to the engine. The engine control system further includes a closed Freon well for condensation of the Freon gas after vaporization in the engine. The vaporization of the Freon within the engine is provided by heat collected by a solar furnace and passed from a oil heat jacket surrounding the engine piston acting as a heat source.


Low Temperature Solar Furnace and Method
Inventor: KELLER ROBERT
US4353353
1982-10-12

Abstract --- This disclosure generally relates to a technique and apparatus for solar heating which may be adapted for heating residential, commercial or industrial buildings, and in which the functions of solar energy collection, storage and heat-exchange are combined in the same passive structure generally consisting of a plurality of cylindrical tubes preferably fabricated of glass-fiber reinforced polyester resin which are filled with a stationary heat absorbing medium, such as water, with their surfaces preferably coated with a high absorbtance material on to which solar rays are directed through a solar "transmittor" or window, and which surfaces serve as heat-exchange elements from which heat may be extracted in a variety of ways, including passage of air and thermal siphoning, and with the tubes enclosed within an appropriate insulated chamber. Cooperative action with domestic or similar hot water systems may also be achieved.


Solar Furnace
Inventor: JARDIN ALBERT
US4326501
1982-04-27

Abstract --- The invention comprises a single unit which serves as the solar collector, heat storage area, and the heat exchanger. A generally rectangular tank is provided with suitably heavy insulated walls at the bottom, ends and rear. One side, facing the sun is open and the opening extends into a portion of the top. The top is provided with a thickly insulated cover. The open side is provided with a corrugated surface, the preferred angle being the latitude plus 10 DEG . The water is carried through suitable tubing which enters the tank through one end wall. The tubing is reentrantly bent in the tank to provide a plurality of lengths (4 shown) and then out through the same end wall but below the entrance. The tank is then filled with a suitable material having good heat storage and heat exchange properties. The best material is an eutectic salt having extremely high heat absorption and storage ability in direct contact with the container wall, which is designed to absorb heat radiation, and in direct contact with the tubing to transfer the heat to the water passing through. Other substances, such as concrete, can also be used. The corrugated side is covered with an insulating glass or transparent plastic twin-walled sheet mounted at the front. The unit is attached to the water supply through the tubing extending at one side, the conventional water supply pressure being sufficient to operate the unit. The unit is placed on the ground adjacent the building. The unit is modular and the effects can be increased by adding units in line and hooking them up in series or parallel as desired. The system lends itself to the use of much smaller units hooked together in banks for easier handling.


Solar Furnace
Inventor: CLAVIER PHILIPPE
US4508099
1985-04-02

Abstract --- The solar furnace is constructed of evacuated glass block solar elements that include an interior face, or surface, of zinc. Because of this material, substantial solar radiant energy is retained and radiated to the interior of the furnace, permitting the furnace to reach temperatures of 300 DEG C. and more when located at latitudes between the 35th parallels. Evacuated insulating elements contain the furnace's heat, each element being an evacuated block with one or more preferably reflective interior panels.


Solar Furnace
Inventor: JARDIN ALBERT
US4407268
1983-10-04

Abstract --- The invention comprises a single unit which serves as the solar collector, heat storage area and the heat exchanger. A generally rectangular tank is provided with suitably heavy insulated walls at the bottom, ends and rear. One side, facing the sun is open and the opening extends into a portion of the top. The top is provided with a thickly insulated cover. The open side is provided with a heat collecting surface, the preferred angle being the latitude plus 10 DEG . The water is carried through suitable tubing which enters the tank through one end wall and then out through the same or another end wall. The tank is then filled with a suitable material having good heat storage and heat exchange properties. The best material is an eutectic salt having extremely high heat absorption and storage ability in direct contact with the container wall which is designed to absorb heat radiation, and in direct contact with the tubing to transfer the heat to the water passing through. Other substances such as concrete can also be used. The heat collecting surface is covered with an insulating glass or transparent plastic twin-walled sheet. The unit is attached to the water supply through the tubing extending at one side, the conventional water supply pressure being sufficient to operate the unit. The unit is placed on the ground adjacent the building. The unit is modular and the effects can be increased by adding units in line and hooking them up in series or parallel as desired. The system lends itself to the use of much smaller units hooked together in banks for easier handling.


Solar Furnace Apparatus
Inventor: STRICKLAND BENJAMIN
US4422446
1983-12-27

Abstract --- A solar furnace apparatus including a reflector portion, a collector portion and a fluid transfer portion; the reflector portion including a generally dish-shaped reflective member, the reflective member having a conic section configuration with a large open face and a highly reflective internal surface, the reflective member including a fixed base section concentric with the axis of the reflective member, a plurality of movable curved segments extending from the fixed base section to the free edge of the open face of the reflective member, the end of each segment adjacent to the fixed base section being pivotally connected thereto; the collector portion being disposed along the axis and the focal point of the reflective member, the collector portion including a chamber formed of a plurality of concave longitudinal conductive metal sections joined at their edges, the cross section of the longitudinal sections forming a generally star-shaped configuration, the concave longitudinal sections being disposed substantially parallel to the longitudinal axis of the reflective member, end sections affixed to the free edges of the concave longitudinal sections and therewith forming an enclosed chamber, a central conduit extending from one of the end sections to a point adjacent the other end section but spaced therefrom, a plurality of discrete longitudinal baffles disposed within the chamber around the central conduit, an inlet and an outlet communicating with the chamber.


Low Temperature Solar Furnace and Method
Inventor: KELLER ROBERT
US4338917
1982-07-13

Abstract --- This disclosure generally relates to a technique and apparatus for solar heating which may be adapted for heating residential, commercial or industrial buildings, and in which the functions of solar energy collection, storage and heat-exchange are combined in the same passive structure generally consisting of a plurality of cylindrical tubes preferably fabricated of glass-fiber reinforced polyester resin which are filled with a stationary heat absorbing medium, such as water, with their surfaces preferably coated with a high absorptance material on to which solar rays are directed through a solar "transmittor" or window, and which surfaces serve as heat-exchange elements from which heat may be extracted in a variety of ways, including passage of air and thermal siphoning, and with the tubes enclosed within an appropriate insulated chamber. Cooperative action with domestic or similar hot water systems may also be achieved.


Heat Transfer and Storage System
Inventor: BRUCKNER ADAM
US4727930
1988-03-01

Abstract --- An energy storage and conversion system utilizes unique heat exchange media for storing and transferring heat. In one embodiment, a refractory material is heated to the molten state by a solar furnace. The refractory material is stored in its molten form and metered to a direct-contact heat exchanger. It is fed into the heat exchanger in a plurality of streams that break into a plurality of droplets. The droplets flow through the heat exchanger in countercurrent relationship with a relatively inert gas such as argon or nitrogen. The gas is heated and expanded through an expansion engine to convert the thermal energy to mechanical energy which in turn can be utilized to produce electricity, for example. The refractory can be sufficiently cooled in the heat exchanger to fuse into beads, which can be easily recycled to the solar furnace.


Solar Furnace Supporting Apparatus
Inventor: STRICKLAND BENJAMIN
US4363354
1982-12-14

Abstract --- Solar furnace supporting apparatus including a frame portion, a furnace holding portion and an actuating portion, the frame portion including a base section and an upstanding section; the furnace holding portion being pivotally carried by the frame portion, the furnace holding portion including spaced longitudinal members, cross members connecting the longitudinal members adjacent the ends thereof, a supporting shaft disposed substantially perpendicular to the longitudinal members adjacent the centers thereof and being engageable with the frame portion adjacent the top of the upstanding section thereof, the actuating portion including cooperating flexible connectors operatively connected to at least one of the longitudinal members at points along the length thereof substantially equidistant from the supporting shaft, each of the cooperating flexible connectors having one end attached to the longitudinal member and extending downwardly in a converging relationship to at least one pair of adjoining parallel pulleys mounted on a freely rotatable first shaft disposed directly below and spaced from the supporting shaft and aligned substantially parallel thereto passing around at least a portion of the periphery of one of the adjoining pulleys, the flexible connectors passing around their respective pulleys in opposite directions, each of the flexible connectors extending from the pulleys to one of adjoining parallel driven drums affixed to a drum shaft disposed below and substantially parallel to the first shaft.


Solar Furnace Apparatus
Inventor: STRICKLAND BENJAMIN
US4291678
1981-09-29

Abstract --- A solar furnace apparatus including a reflector portion, a collector portion and a fluid transfer portion; the reflector portion including a generally dish-shaped reflective member, the reflective member having a conic section configuration with a large open face and a highly reflective internal surface, the collector portion being disposed at the focal point of the reflective member, the collector portion including a chamber formed of a plurality of concave longitudinal sections and therewith forming an enclosed chamber, inlet and outlet members communicating with the chamber, the fluid transfer portion including a conduit member connected to the inlet and outlet members of the collector portion and mechanism associated with said conduit member for circulating fluid to heat storage or heat dissipating members.


Solar Furnace Support Apparatus
Inventor: STRICKLAND BENJAMIN
US4256175
1981-03-17

Abstract --- Solar furnace support apparatus including frame member, furnace holding member and actuating mechanism, the frame member including a base portion and an upstanding portion; the furnace holding member being pivotally carried by the frame member, the furnace holding member including spaced longitudinal members, cross members connecting the longitudinal members adjacent the ends thereof, shaft mechanism disposed adjacent the center of the longitudinal members and disposed adjacent connection of the cross members with the longitudinal members, the shaft mechanism being engageable with releasable locking members disposed on the frame member adjacent the top of the upstanding portion and adjacent the base portion thereof, actuating mechanism for moving the furnace holding member, the actuating mechanism including cooperating mechanism operatively connected to at least one of the longitudinal members at points along the length thereof substantially equidistant from the center.


Secondary Recovery Method and System Using Solar Energy and Concentric Tank Separator
Inventor: FUQUA DALE (US); SLATER FRANK
US4249605
1981-02-10

Abstract --- A secondary oil recovery method and system utilizing a concentric tank arrangement receiving crude oil from an oil well in the inner tank thereof with the crude oil being heated by a solar furnace to facilitate separation of water, oil and gas with the water being disposed within the outer tank for insulation of the inner tank and for use in an injection well for water flooding with the gas being removed from the inner tank from a dome trap at the top thereof and separated oil being moved to a storage tank or other point of use from the inner tank. The solar furnace includes heat exchange tubes disposed in the inner and outer tanks and oriented in relation to a heat collector panel and provided with a heat exchange medium therein by which solar energy is used to heat the crude oil in the inner tank as well as the water at the bottom thereof and water in the outer tank.


Gas Dissociation Thermal Power System
Inventor: CHUBB TALBOT
US3972183
1976-08-03

Abstract --- A gas dissociation solar thermal power system in which SO3 in a solar furnace is heated by a sun ray reflector. The SO3 dissociates into SO2 + O2 + absorption of heat. The SO2 + O2 gas is directed through a salt-heat chamber where it recombines into SO3 and gives off heat. The SO3 is directed back to the solar furnace and repeats the cycle. Useful heat is taken from the salt-heat chamber for operation of an electrical generator or other desired equipment.


Solar Powered Sea Water Evaporating and Condensing Unit
Inventor: RUSH MARTIN
US3960668
1976-06-01

Abstract --- A buoyant structure is provided including an upwardly opening solar furnace having a boiler disposed therein and an upper sun ray collecting and concentrating structure at its upper end for collecting and directing rays from the sun incident thereon onto heat transfer and absorbing surfaces of the boiler. The sun ray collecting and concentrating structure is supported above the normal water line of the buoyant structure and the latter supports an exteriorly mounted condenser unit below the water line of the buoyant structure. Air convection lines extend between the boiler and the condenser for the purpose of ducting hot moist air from the boiler into the condenser and cool drier air from the condenser back into the boiler.


Solar Furnace
Inventor: CLAVIER PHILIPPE
US4556047
1985-12-03

Abstract --- The solar furnace is constructed of evacuated glass block solar elements that include an interior face, or surface, of zinc. Because of this material, substantial solar radiant energy is retained and radiated to the interior of the furnace, permitting the furnace to reach temperatures of 300 DEG C. and more when located at latitudes between the 35th parallels. Evacuated insulating elements contain the furnace's heat, each element being an evacuated block with one or more preferably reflective interior panels.


Constant Absorption Solar Furnace
Inventor: BILLHEIMER JAMES
US4967730
1990-11-06

Abstract --- A radiant energy concentrator is provided for heating a fluid and includes a solar reflector for concentrating an increasing flux of radiant energy against a conduit containing a heat-absorbing fluid so that the rate of absorption of heat energy by the fluid is constant.


Solar and Wind Powered Generator
Inventor: FINI JOHN
US5103646
1992-04-14

Abstract --- A wind powered device incorporates a solar furnace and vortex generator to provide additional power and boost the efficiency of the complete system. Two concentric dome assemblies connected by a centrally located shaft are connected to a base with bearings capable of rotating the whole assembly 360 DEG about a vertical axis to allow it to turn into the wind. The two domes form a furnace, an inner dome providing insulation for a solar boiler and an exterior dome refracting the incoming sunlight onto the solar boiler. The solar boiler is located at the center of the inner dome and generates steam to drive fans positioned at the poles of the outer dome. The outer dome also functions as a wind powered rotor. Inlet vanes at the periphery of the dome are open to the atmosphere. The exterior of the dome is provided with trapezoidal or curved channels at regular distances parallel to the path of rotation. These channels effect lift by the venturi effect. They also channel the light to the center of the dome. Fans on the shaft evacuate air from the inside of the dome through openings located at the poles of the outer dome. As air is pulled through the outer dome and through the inlet vanes the outer dome will rotate. The system operates simultaneously as a solar furnace, a wind powered generator and as a vortex generator.


Solar Furnace
Inventor: COTTON EUGENE S; DAVIES JOHN
US2987961
1961-06-13


Solar lighter
Inventor: BURCH JOHN D
US4610240
1986-09-09


SOLAR FURNACE PATENTS - FOREIGN

Solar furnace
TW259893B
2006-08-11

HEAT PIPE AND JACKET TANK COMPOSITE SOLAR FURNACE HEATING SYSTEM
KR100295267B
2001-04-26

DEVICE FOR TRACING SUN ORBIT AND WATER HEATER USING THE SAME
KR20010079476
2001-08-22

A MECHANISM FOR PRODUCING CARBON NANOMATERIALS IN SOLAR FURNACE
UA76889
2006-07-17

Hermetic high-efficiency solar range
CN1884938
2006-12-27

Solar furnace
CN2755508Y
2006-02-01

Solar furnace light and heat focusing mirror
CN2736702Y
2005-10-26

High efficiency low cost high precision automatic tracking solar furnace
CN2699194Y
2005-05-11

Multifunctional solar furnace
CN2676104Y
2005-02-02

Indoor heat transfer device for solar range
CN1641285
2005-07-20

Multifunctional frame solar range
CN1455211
2003-11-12

Automatic tracking light-focusing solar furnace
CN2566189Y
2003-08-13

Solar furnace water heater
CN1553121
2004-12-08

Multi-purpose heat accumulation solar energy oven by sun-light focus and optical cable transmission
CN1200467
1998-12-02

SATELLITE RECEIVING ANTENNA FOR TELEVISION CAPABLE OF USING AS SOLAR FURNACE
CN2120390U
1992-10-28

PLANE OVERLAPPING REFLECTING AND FOCUSING SOLAR FURNACE
CN2054527U
1990-03-14

BIG REFLECTION ANGLE COMPOSITE SOLAR FURNACE
CN87200194U
1988-03-02

Glass bricks for construction of geodesic house
GB2408756
2005-06-08

AN APPLIANCE FOR OBTAINING NANOSTRUCTURAL MATERIALS IN THE SOLAR FURNACE
UA69530
2004-09-15

SOLAR FURNACE
CA2367700
2003-06-28

SOLAR ENERGY CONCENTRATOR AND CONVERTER
CA2389277
2000-05-18

CONCENTRATING OPTICAL SYSTEM AND CONCENTRATED LIGHT UTILIZING APPARATUS
WO9713104
1997-04-10

Heat engines connected in series-parallel network
BE1005649
1993-11-30

METHOD OF PRODUCTION OF SILICON CARBIDE POWDER FROM RICE HUSK
RU2299177
2007-05-20

SOLAR FURNACE
SU1714304
1992-02-23

CONTROL SYSTEM FOR SOLAR FURNACE
SU1590871
1990-09-07

METHOD OF SOLAR FURNACE ADJUSTING
SU1481571
1989-05-23

METHOD AND APPARATUS FOR ADJUSTING SOLAR FURNACE
SU1513339
1989-10-07

SOLAR FURNACE FOR HARDENING MATERIALS
SU866346
1981-09-23

SOLAR FURNACE FOR OBTAINING FILM MATERIALS
SU866344
1981-09-23

DRIVE FOR SOLAR FURNACE
SU928590
1982-05-15

SYSTEM FOR AUTOMATIC CONTROL OF SOLAR FURNACE
SU775541
1980-10-30

MULTICHANNEL SYSTEM FOR REGULATING SOLAR FURNACE TEMPERATURE
SU840802
1981-06-23

HIGH TEMPERATURE SOLAR FURNACE
SU1781516
1992-12-15

DIFFUSION LENS TYPE LASER FURNACE
JP7170007
1995-07-04

HEAT ENGINE
JP2000303946
2003-10-31

DIFFUSED LIGHT RECONVERGING DEVICE
JP10239527
1998-09-11

SOLAR FURNACE FOR USE IN OUTER SPACE
JP2103342
1990-04-16

HOT AIR GENERATING DEVICE
JP63169444
1988-07-13

EXTREMELY HIGH TEMPERATURE CONVERGENT PART DEVICE IN SOLAR FURNACE
JP62225851
1987-10-03

SOLAR FURNACE
JP57019549
1982-02-01

PRODUCTION OF HIGH PURITY GLASS
JP55042268
1980-03-25

JET WATER TYPE HYDROGEN PRODUCER
JP55020245
1980-02-13

CHARCOAL SMOKED SMELTING IN SOLAR FURNACE
JP54150313
1979-11-26

SOLAR HEAT UTILIZING REACTOR
JP53118279
1978-10-16

SOLAR FURNACE
JP53072240
1978-06-27

SOLAR FURNACE PROVIDED WITH SUNBEAM CONDENSING APPARATUS
JP53037043
1978-04-05

FOLDING TYPE SOLAR FURNACE
JP52103728
1977-08-31

Solar heat collector composed of mirrors
BE895149
1983-03-16

Mirrored solar heat collector
BE895148
1983-03-16

SOLAR FURNACE
CA1179224
1984-12-11

SECONDARY RECOVERY METHOD AND SYSTEM USING SOLAR ENERGY AND CONCENTRIC TANK SEPARATOR
CA1134263
1982-10-26

LOW TEMPERATURE SOLAR FURNACE AND METHOD
CA1168941
1984-06-12

SOLAR FURNACE
AU2094276
1978-06-29

SOLAR FURNACE
AU7637974
1976-06-17

METHOD FOR PRODUCING GASES FROM SOLID WASTE
GB1534759
1978-12-06

A SOLAR FURNACE APPARATUS
IN143163
1977-10-15

SOLAR FURNACE
IN140561
1976-11-27

Inflatable solar furnace...
FR2893704
2007-05-25

Inflatable reflector for solar furnace...
FR2832494
2003-05-23


http://www.abc.net.au/canberra/stories/s1963340.htm?backyard
June 27, 2007

The answer to Australia's clean energy needs could be in Canberra

By Claire Gorman

The answer to Australia’s' clean energy needs maybe right here in Canberra. The Australian National University is home to an invention that could meet 100 per cent of Australia's energy needs.

666 ABC Canberra's environment reporter, Claire Gorman, met up with Keith and he showed her the spectacular big dish. The 400-square metre dish is the world's largest solar concentrator, which shifts with the sun to feed electricity back into the grid.

"If we covered an area a couple of times as big as the ACT with dishes like this, reasonably spaced out, we could provide 100 per cent of Australia's energy needs," Keith said.

One "big dish" provided enough power for about 100 houses, he said. Currently the ANU is working on an improved prototype which the university hopes will be finished early next year.

Keith explained that the dish followed the sun during the day. The mirrors on its surface gather up the radiation and focus it to a receiver 13 metres above. The receiver is made from tubing with water going through it. The water boils and creates super-heated steam with temperatures of up to 500 degrees Celsius.

"In the same way that in a coal-fired power station we might burn coal to make steam...ultimately we are going to use this steam for power generation without greenhouse gas emissions," Keith said.

Keith said one of the issues in the current debate about clean energy revolved around the potential collapse of coal industry. "What do we do for export income?" he asked.

One scenario, he suggested, was a transition to clean energy by using solar power for gasification of - or adding energy to - coal to create methanol.

Methanol is a petrol substitute and if it is created in this way, it is 30 per cent solar-generated and could create export income, he said.

"We're not going to beat the current price of coal-fired electricity I don't believe. But I think we will beat some of the other options, like nuclear power." he said.


SOLAR CONCENTRATOR PATENTS - USA

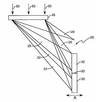
Solar Concentrator Array with Grouped Adjustable Elements
US7192146
2005-02-1

Abstract --- A tracking heliostat array comprises a plurality of optical elements. The tracking heliostat array further comprises a frame separated from the optical elements. Each of the optical elements has an orientation with respect to the frame. The tracking heliostat array further comprises a plurality of supports coupled to at least one of the optical elements. The tracking heliostat array further comprises a turnbuckle coupled to at least one of the supports and to the frame. Rotation of the turnbuckle causes the corresponding support to be displaced relative to the frame. The orientation of the optical element relative to the frame is adjustable. The tracking heliostat array further comprises a traveling actuator configured to rotate at least one of the turnbuckles. The tracking heliostat array further comprises a positioning mechanism supporting the traveling actuator. The positioning mechanism is configured to move the traveling actuator from a first selected turnbuckle to a second selected turnbuckle.


Hybrid Solar Lighting Systems and Components
US7231128
2004-06-24

Abstract --- A hybrid solar lighting system and components having at least one hybrid solar concentrator, at least one fiber receiver, at least one hybrid luminaire, and a light distribution system operably connected to each hybrid solar concentrator and each hybrid luminaire. A controller operates each component.


Lightweight, Low-Cost Solar Energy Collector
US6994082
2004-03-25

Abstract --- A lightweight solar concentrator of the reflecting parabolic or trough type is realized via a thin reflecting film, an inflatable structural housing and tensioned fibers. The reflector element itself is a thin, flexible, specularly-reflecting sheet or film. The film is maintained in the parabolic trough shape by means of a plurality of identical tensioned fibers arranged to be parallel to the longitudinal axis of the parabola. Fiber ends are terminated in two identical spaced anchorplates, each containing a plurality of holes which lie on the desired parabolic contour. In a preferred embodiment, these fibers are arrayed in pairs with one fiber contacting the front side of the reflecting film and the other contacting the back side of the reflecting film. The reflective surface is thereby slidably captured between arrays of fibers which control the shape and position of the reflective film. Gas pressure in the inflatable housing generates fiber tension to achieve a truer parabolic shape.


Mark BELA-I Solar Engine
US2004187496
2004-09-30

Abstract --- The Mark BELA-I Solar Engine converts solar energy into continuous mechanical movement. The BELA-I Solar Engine comprises a set of the following units: (1) Solar concentrator (2) Air heating radiator (3) Piston steam engine. The latter works on a shuttle action principle which is effected by providing a hydraulic link between each pair of cylinder blocks. The hydraulic link in all the cylinder pairs is effected by connecting each pair of cylinders by means of two parallel tube connectors. Each of these connectors is provided with two valves, whereby one of the valves is controlled by the camshaft rocker, while the other (the so-called "normally-open" valve) is closed only by the pressure of steam from the inside of its cylinder.


Micro Solar Thermal Power System
US2004154299
2004-08-12

Abstract --- The present invention relates generally to the design and fabrication of a micro solar electric power generating apparatus and, more particularly, a method of using microsolar thermal jets to produce electrical power by economical means for residential and commercial buildings. A simple rotary jet engine has been developed to drive an electrical generator. A hybrid solar concentrator that combines the benefit of both parabolic dish and trough has been used to raise the enthalpy of the working fluid without having end thermal flux leakage that is common to the conventional troughs.


Solar Concentrating Liquid Lightguide
US6619282
2003-09-16

Abstract --- This nontracking solar concentrator can be larger than a football field and produce a 20 sun focus. A tank holds panels to collect light and water to guide light to the focus. The tank has a wide field of view that eliminates the need for a sun-tracking mechanism.


Rotating Solar Concentrator
US6557804
2003-05-06

Abstract --- A non-imaging solar concentrator having a primary concentrator and a turntable. The primary concentrator is mounted to the turntable such that it is rotatable about a turntable axis and a secondary axis that is orthogonal to the turntable axis. Rotation of the primary concentrator about the turntable and secondary axes permits the primary concentrator to be positioned anywhere within the visible sky, even when a solar offset angle of 90 degrees is not used.


Method and System for Controlling Operation of an Energy Conversion Device
US6688303
2003-07-03

Abstract --- A method and system is described for controlling a solar collector. A microprocessor receives inputs from one or more sensors in the system and determines the level of operation of an energy conversion device. If the level of operation reaches a predetermined setpoint below a maximum level at which the device is to operate, a variable focus solar concentrator is defocused to reduce energy input into the energy conversion device. When the system cools down and operates at a second predetermined level, lower than the first predetermined level, the concentrator is then refocused to increase the power input to the energy conversion device.


Solar Receiver Adaptive Tracking Control
US6442937
2002-09-03

Abstract --- A solar power system having a solar concentrator for concentrating solar energy, a receiver for converting the solar energy into another form of energy, and a control system for controlling the flux input to the solar receiver. The control system includes a plurality of sensors and a controller. The solar receiver is divided into a plurality of discrete sectors, with at least one of the sensors being coupled to each sector and producing a sensor signal that is related to the magnitude of the flux input to that sector. The controller is coupled to the sensor monitors each of the sensor signals, calculates a differential.


Method and Apparatus for Controllably Positioning a Solar Concentrator
US2003045949
2003-03-06

Abstract --- A method, apparatus, control system and computer program product are provided for controllably positioning the solar concentrator. The method, apparatus, control system and computer program product determine the respective errors generated by more and different error sources than prior techniques, including error sources selected from the group consisting of a gravitational residue error, an elevation transfer function error and an error attributable to atmospheric refraction. Based upon the respective errors, the method, apparatus, control system and computer program product determine an elevation command and an azimuth command to compensate for the vertical error and the horizontal error between the centerline of the solar concentrator and the sun reference vector such that the solar concentrator can be more precisely positioned, thereby improving the efficiency with which the solar concentrator collects solar energy.


Method and Apparatus for Aligning a Solar Concentrator using Two Lasers
US6597709
2003-07-22

Abstract --- A method and apparatus are provided for aligning the facets of a solar concentrator. A first laser directs a first laser beam onto a selected facet of the concentrator such that a target board positioned adjacent to the first laser at approximately one focal length behind the focal point of the concentrator is illuminated by the beam after reflection thereof off of the selected facet. A second laser, located adjacent to the vertex of the optical axis of the concentrator, is used to direct a second laser beam onto the target board at a target point thereon. By adjusting the selected facet to cause the first beam to illuminate the target point on the target board produced by the second beam, the selected facet can be brought into alignment with the target point. These steps are repeated for other selected facets of the concentrator, as necessary, to provide overall alignment of the concentrator.


Space Concentrator for Advanced Solar Cells
US6252155
2001-06-26

Abstract --- A solar concentrator is provided that comprises two stages. The first stage comprises either a trough-shaped concentrator cusp unit having two major opposed sides joined by two ends. The inner surfaces of the first stage concentrator are mirrored. Further, the ends have two flat, angled surfaces, while the two sides have a Bezier-generated cylindrical shape that approximate parabolic surfaces followed by a straight section. The second stage comprises a bi-axial gradient refractive index (GRIN) element, in which two gradient refractive index materials, each having a high index surface and a low index surface, are joined together along their high index surfaces. The two ends of the bi-axial element are flat, while the two sides also have a Bezier-generated cylindrical shape that approximate parabolic surfaces followed by a straight section. The top surface of the bi-axial element is provided with a cylindrical surface, while the bottom, or exit, surface is ground flat. The high index boundary is parallel to the side surfaces of the first stage unit. A solar cell is bonded to the flat exit surface of the second stage of the concentrator of the present invention. An array of such concentrators and solar cells, in which the solar cells are electrically interconnected, may then be deployed for converting solar energy into useful electrical energy. The 2-D/3-D concentrator evidences much lower mass than prior art concentrators. Further, as the array, or panel, of solar cells wobbles in space, the concentrator will continue to operate, even at lower efficiencies, due to the larger acceptance angle. Concentration ratios on the order of 50x are realized with the present concentrator. However, design studies allow concentration ratios in excess of 300x when used with 3-D versions of the same concept. The second stage can comprise mirrored surfaces. Or, the first stage can comprise a conical section and the second stage a radial GRIN element.


Solar Thermal Rocket
US6290185
2001-09-18

Abstract --- A solar thermal rocket that includes a thermal energy storage section, a radiant inter-heater, a primary solar concentrator, and a propulsion nozzle. The primary solar concentrator is selectively movable to direct solar energy to either the thermal energy storage section or to the radiant inter-heater. The thermal energy storage section, along with insulation, is arranged to define a cavity such that a focused beam of solar rays can enter the cavity through an aperture in the insulation. The thermal energy storage section typically absorbs and stores solar energy during the non-propulsion portion of the orbital period. The solar rays are captured and absorbed and thereby heat the thermal energy storage section to very high temperatures. A radiant inter-heater directly receives concentrated solar rays and transfers the heat to the propellant during the propulsion phase. The propellant heated by the inter-heater is directed through the thermal energy storage section where it is further heated to its peak temperature and then expelled through the nozzle to produce thrust. With the inter-heater, the rate of heat extraction from the thermal energy storage section is reduced, prolonging the period of peak propellant temperature, resulting in an overall higher average specific impulse.


Solar Concentrator Array
US6091017
2000-07-18

Abstract --- A high efficiency, light weight solar concentrator array particularly suitable for use with space vehicles. Parallel rows of mirror assemblies are mounted on a base plate having high thermal conductivity. Each mirror assembly comprises back-to-back mirror strips having reflecting front faces. Photovoltaic cells are placed ion the base plate between rows of mirror assemblies. The reflecting faces reflect incident light to the photovoltaic cells to produce electric power. Preferably, the reflecting faces have a cylindrical parabolic configuration with a line of focus approximately along the interface between the photovoltaic cell and the edge of the opposite mirror strip adjacent to the cell. The mirror strips may typically be roll formed from metal strips, cast from fiber reinforced plastic material and coated with a reflecting layers, etc. The rows may be mounted on the base plate by strips across the ends of mirror assemblies, or by additional mirror assemblies arranged transverse to the original mirror assembles.


Stretched Fresnel Lens Solar Concentrator for Space Power
US6075200
2000-06-13

Abstract --- A novel, high-efficiency, extremely light-weight, robust stretched Fresnel lens solar concentrator for space power is described. It consists of a flexible Fresnel lens attached to end supports, wherein said end supports stretch the lens to maintain its proper position and shape on orbit in space. One embodiment of the new concentrator includes means for lens deployment on orbit in space. In this embodiment, prior to deployment, the flexible lens and end supports are folded into a flat, low-volume package for efficient launch into space. Another embodiment of the new concentrator includes non-deployable means of stretching the lens to maintain its proper position and shape in space. Both embodiments of the new concentrator approach will provide significant advantages over the prior art in space photovoltaic concentrator arrays. Photovoltaic concentrator arrays using the new stretched lens will be much lighter and more economical than prior space concentrator arrays. Also, photovoltaic concentrator arrays using the new stretched lens will be easier to stow into a compact volume for launch, and easier to deploy on orbit than prior space concentrator arrays. In addition, the new stretched lens will eliminate the need for a fragile glass superstrate to support the lens, substantially improving robustness of the lens.


Immersed Photovoltaic Solar Power System
US6034319
2000-03-07

Abstract --- An immersed solar concentrator system has a concentrator element for directing light rays onto a solar cell. The solar cell has a surrounding reflective surface for reflecting light rays which are not absorbed by the solar cell but strike the reflective surface. The immersion medium, which is disposed between the solar cell and the concentrator element, has a refractive index for reflecting the reflected light rays, by total internal reflection, in a direction towards the solar cell so that at least some of the reflected light rays are absorbed by the solar cell.


Light Weight Reflector Facet
US5956191
1999-09-21

Abstract --- A light weight arcuate reflector facet, for a solar concentrator is disclosed, which comprises a thin mirrored glass sheet such as a microsheet, and a backing sheet or substrate, the glass sheet being bonded to the backing sheet, with the backing sheet providing a smooth surface to the glass sheet. A support member or support structure is attached to the backing sheet and maintains the mirrored glass sheet at a desired radius of curvature. The backing sheet is preferably a composite, and according to one embodiment of a fixed focal length light weight reflector facet, the support member is a resin-impregnated fiberglass sheet having a rib structure. In another embodiment of a variable focal length light weight reflector facet, the support member is a mechanical structure comprising a circular support structure having intersecting center support beams positioned diagonally across the circular support structure. An actuator rod is mounted at the center of the support beams and attached to the backing sheet, and is effective when actuated, to deflect the mirrored glass sheet to a desired curvature, and including corner supports for the circular support structure.


Inflatable Fresnel Lens Solar Concentrator for Space Power
US6111190
2000-08-29

Abstract --- A novel, high-efficiency, extremely light-weight, inflatable refractive solar concentrator for space power is described. It consists of a flexible Fresnel lens, flexible sides, and a back surface, together enclosing a volume of space which can be filled with low pressure gas to deploy the concentrator on orbit. The back surface supports the energy receiver/converter located in the focal region of the Fresnel lens. The back surface can also serve as the waste heat radiator. Prior to deployment, the deflated flexible lens and sides are folded against the back surface to form a flat, low-volume package for efficient launch into space. The inflatable concentrator can be configured to provide either a line focus or a point focus of sunlight. The new inflatable concentrator approach will provide significant advantages over the prior art in two different space power areas: photovoltaic concentrator arrays and high-temperature solar thermal conversion systems. Photovoltaic concentrator arrays using the new inflatable lens will be much lighter than prior space concentrator arrays. In addition, for photovoltaic concentrator arrays, the new inflatable lens will eliminate the need for a fragile glass superstrate to support the lens, substantially improving robustness of the lens. Solar thermal concentrator arrays using the new inflatable lens will be much lighter than prior art space concentrators which used parabolic mirrors. In addition, for solar thermal applications in space, the new inflatable lens will eliminate the need for high surface accuracy, which has been a significant problem for prior art concentrators.


Axially-Graded Index-Based Couplers for Solar Concentrators
US5936777
1999-08-10

Abstract --- An optical coupler is provided that comprises a single lens component, comprising two axially-graded index of refraction elements, each having a low refractive index surface and a high refractive index surface and joined along their respective high refractive index surfaces. As configured, the optical coupler is useful as a solar concentrator for concentrating solar radiation onto a solar cell or other solar-receptive medium.


Color-Mixing Lens for Solar Concentrator System and methods of manufacture and operation thereof
US6031179
2000-02-29

Abstract --- A color-mixing lens for use in a concentrator system and methods of manufacture and operation thereof. The color-mixing lens includes: (1) a light-transmissive substrate that receives broad spectrum light from a source, (2) a first plurality of prisms, located on the substrate, that refract and chromatically disperse the light received therein toward a first plurality of locations on an active region of a target cell, and (3) a second plurality of prisms located on the substrate that refract and chromatically disperse the light received therein toward a second plurality of locations on the active region. Relative dimensions of the first and second pluralities of prisms are preselected to cause the chromatically-dispersed light to mix and thereby increase a power output of the target cell by reducing inter-junction currents therein.


Solar Concentrator for Heat and Electricity
US6080927
2000-06-27

Abstract --- A solar concentrator for producing usable power as heat and/or electricity uses a self-steering heliostat 1502 to concentrate solar radiation 1509 onto an absorbing surface such as, or including, a solar cell array 1511 capable of absorbing power from the radiation, meanwhile removing heat (such as from long-wave infra-red radiation or resistive losses) from the surface with fluid heat transfer means 1503, 1504, then making effective use of that low-grade heat. Thus the solar cell array is kept relatively cool and a larger proportion of the solar energy incident on the reflector unit is used. The invention uses electricity 1506 from the solar cells to move a transporting fluid through a heat exchanger 1504. Excess electricity may be available for local storage or use 1510, or feeding 1512 to the power distribution grid. Applications include warming swimming pools 1501, heating hot-water supplies using excess electricity, or warming, lighting and ventilating open spaces.

Light-weight Reflector Facet
US5751503
1998-05-12

Abstract --- A light weight arcuate reflector facet, for a solar concentrator comprises a thin mirrored glass sheet such as a microsheet, and a backing sheet or substrate, the glass sheet being bonded to the backing sheet, with the backing sheet providing a smooth surface to the glass sheet. A support member or support structure is attached to the backing sheet and maintains the mirrored glass sheet at a desired radius of curvature. The backing sheet is preferably a composite, and according to one embodiment of a fixed focal length light weight reflector facet, the support member is a resin-impregnated fiberglass sheet having a rib structure. In another embodiment of a variable focal length light weight reflector facet, the support member is a mechanical structure comprising a circular support structure having intersecting center support beams positioned diagonally across the circular support structure. An actuator rod is mounted at the center of the support beams and attached to the backing sheet, and is effective when actuated, to deflect the mirrored glass sheet to a desired curvature, and including corner supports for the circular support structure.


Concentrating Coverglass for Photovoltaic Cells
US5959787
1999-09-28

Abstract --- A concentrating coverglass allows efficient power generation for providing higher specific powers by space power arrays with weight penalties being countered by combining the functions of a solar concentrator and protective coverglass into a single element. A preferred frustoconical lens achieves a concentration ratio of about 4.5 at a thickness of about 1.0 mm. Efficient space power arrays with relatively wide tracking angle tolerance of up to about +/-5 DEG using these coverglasses permit heavier payloads in the satellite's operating systems over traditional satellite designs.


Solar Concentrator having an Offset Parabolic Configuration
US5882434
1999-03-16

Abstract --- The solar concentrator system includes a generally parabolic-shaped primary reflector having a flat region at the center thereof, so that the focus of the primary reflector is a ring about the center axis of the reflector, in the plane of the rim thereof. A receiver, in the shape of an inverted, truncated cone, is positioned so that the peripheral surface of the receiver is approximately coincident with the ring focus. Solar cells are positioned in lines on the peripheral surface of the receiver. Prefilter tubular secondary concentrator elements are positioned just in front of the lines of solar cells, providing an additional focusing capability and improving the concentration of the solar rays, while being spaced sufficiently that the unilluminated areas between the lines of solar cells can accommodate electrical interconnectors.


Rolled Film Solar Concentrator
US5865905
1999-02-02

Abstract --- A concentrating solar array consisting of a roll of reflective film which is stretched between tension wires strung between a pair of wire stays. There is a roll of film and a take up roll such that the film can be unrolled from the storage roll and pulled toward the take-up roll to replace degraded film. A pair of extension arms holds a solar cell at a fixed position relative to the solar concentrator film surface to receive concentrated sunlight. The roll of reflective film ensures the life requirements of the solar concentrator can be met in space, by replacing exposed concentrator film as it degrades.


Solar Concentrator
US5787878
1998-08-04

Abstract --- A steam boiler (14) is situated on a tower (16) at the center of concentric tracks (17), (18), and (19). Poles (21) and (23) have wheels (25) running on the tracks. The poles are kept upright on the tracks with guylines (35) and struts (31) and (33). The poles carry frameworks (24) with mirrors (12) attached to them. As the earth turns, the poles move along the tracks, keeping the mirrors on the opposite side of the boiler from the sun and keeping sunlight focused approximately on the boiler. As the poles move, the frameworks pivot to fine tune the focusing. Each framework pivots about a horizontal axle (26) of the framework and about the vertical axis of one of the poles (21). Hydraulic cylinders (66) and (70) in series circuits (82) and (78) respectively pivot the frameworks collectively. The frameworks are arranged so the power needed to pivot the frameworks is the same on windy days and calm days. At night and when storms approach, the poles move to closely-spaced tracks (20) where the frameworks form a protective shell (38), (40), (41) and (42) around the mirrors.


Adaptive Thermal Controller for Heat Engines
US5899071
1999-05-04

Abstract --- A solar to mechanical or electric power conversion system which has a controller that varies the speed of a cooling fan and cooling fluid pump fan in accordance with the available solar energy intensity, ambient temperature surrounding the system and other operating conditions. The system includes a suitable heat source such as an isotope heat source, fuel combustor, or a solar concentrator that delivers solar energy to a focal point by reflection from mirrors or by Fresnel lens. A suitable solar concentrator may also be based upon on densifying the solar photon count by a Winston concentrator. For solar heated devices based on concentrated solar energy, a receiver is located at the focal point. This receiver is heated by concentrated solar energy. Heat is transferred to a working fluid which powers a heat engine. The heat engine converts the thermal energy into mechanical energy. The mechanical energy is transmitted to a load coupled to the engine. The temperature of the working fluid is lowered by transfer to the surroundings by operation of means selected from the group including a cooling fluid valve means, variable rate fan, a variable rate pump, a cooling fluid to air heat exchanger, a cooling fluid to ground heat exchanger, and a change of phase heat exchanger. The speed of the fan and pump are controlled by a controller which also senses the ambient temperatures that are available and the temperature of the cooling fluid. The controller computes an optimum cooling fluid temperature as a function of energy expenditure and controls fan, valve, and pump operations to achieve the desired energy conversion optimization.


Luminescent Solar Concentrators using Light Amplification Processes
US5431742
1995-07-11

Abstract --- The invention is drawn to a planar luminescent solar concentrator including an optical fiber comprised of laser material. Solar energy collected by the concentrator is processed into laser radiation emitted by the optical fiber with high energy density corresponding to a concentration factor much greater than possible with prior art luminescent solar concentrators.


Lightweight Solar Concentrator Cell Array
US5344496
1994-09-06

Abstract --- A self supporting solar concentrator cell array adapted for use in space applications that includes a plurality of cylindric parabolic reflective mirror surfaces, each of which focus recipient sunlight forwardly onto a focal line which is positioned approximately on the backside of an adjacent mirror surface on which is secured a solar element for converting the focussed sunlight into electricity. A front element extending upwardly from the leading edge of each mirror surface cooperates in providing an aperture through which the focussed sunlight passes and side elements close each cell element. The backside of each mirror is provided with a thermally emissive surface to provide mirror thermal control and allows the mirror to act as a thermal radiator fin for the solar cell elements. The mirror surface is provided with a highly reflective coating such as aluminum or silver to optimize reflectivity. The solar cell concentrator cell array is made by forming an uncured advanced organic composite part blank over a highly polished tool surface to impart the desired mirror surfaces. The solar concentrator cell array is cured, for example, by heated press means to form a unitary integral cell array that is entirely self supporting and provides structural stability while providing optimum electrical power output for minimum weight.


Solar Energy Concentrator and Collector System and Associated Method
US5529054
1996-06-25

Abstract --- A power generating system comprises a solar concentrator defining an effectively concave reflective surface on a surface of the earth for concentrating incoming solar energy. A solar collector is disposed in an underground chamber provided with an access opening. The solar collector receives solar energy concentrated by the concentrator and converting the concentrated solar energy to another energy form, generally thermal energy, which is subsequently convertible to electrical power. Directional componentry is provided for directing concentrated solar energy from the concentrator along a predefined folded transmission path through the access opening to the collector.


Method of Manufacturing... Solar Concentrators for use therewith
US5517339
1996-05-14
 
 

Abstract --- An improved method of manufacturing holographic elements for solar concentrator, which is a necessity for the future of viable low cost solar power. Utilizing extremely high relative humidity levels during the fabrication of holographic plates, exposing the holographic plate to electromagnetic radiation at particular humidity levels, and having a relative angle between recording beams during exposure makes it possible to fabricate high efficiency holographic elements that diffract over a broad bandwidth. These high efficiency, broad bandwidth holographic elements are most effective in certain solar concentrating systems.

Roof Module having an Integral Solar Energy Concentrator
US5564411
1996-10-15

Abstract --- The present invention relates to a roof module having an integral solar energy concentrator. The present modules can be combined to form a weathertight roof with an integral solar concentrator. Radiant solar energy can be collected from this modular roof using reflected solar energy collectors, among other solar energy concentrating or energy transferring elements. The present invention results in a lower weight and easier to install system for placing solar energy concentrators atop a structure, and thus, lower the cost collecting radiant solar energy from atop a building or roofed structure.


Solar Concentrator System
US5542409
1996-08-06

Abstract --- A solar concentrator system, comprising a plurality of long metal foils with a reflective surface, longitudinally tensioned from both free ends by respective end moving frames with tensioning means, and supported by a plurality of uniformly spaced intermediate moving frames. Each moving frame has a respective driving crank, secured to a common bushing, mounted on a horizontal shaft, said shaft being secured to a respective support pedestal, a plurality of said support pedestals being secured to a common transverse beam, forming a common support structure. A solar concentrator module has a pair of end support structures with anchor means, and a plurality of uniformly spaced intermediate support structures with sliding means. Each of said end and intermediate support structures has driving means for driving said moving frames, thus forming a plurality of individual support and driving units.


Wide-Angle Solar Concentrator
US5174275
1992-12-29

Abstract --- The present invention is a cross-sectional arrangement for solar concentrators which is comprised of a concave reflective boundary, of at least two receiver-converters residing within the concavity, and of additional reflecting means within the field-of-sight of the concave reflective boundary and, preferably, within the confine of the reflective boundary.


Effective and Simple Solar Concentrator
US5245985
1993-09-21

Abstract --- The present invention is a concentrating solar receiver-converter composed of at least two generally through-shape reflectors whose lengths run essentially north-south and which lean eastward and westward away from each other to a desired extent and each of which contains absorber-converter means residing in the cavity of the reflector, which communicates with energy-receiving means by way of appropriate energy-conveying means.


Rapid Defocusing System for Electromagnetic Radiation Reflective Concentrator
US5210654
1993-05-11

Abstract --- A system for rapidly defocusing a solar concentrator has a plurality of variably curved reflectors carried on a frame for concentrating energy toward a target. The reflectors have an elastic reflective membrane secured to a hollow housing and are focused by an evacuation assembly which draws the membrane into the housing and into a concave configuration. The defocusing system comprises an inflation assembly which rapidly inflates the housing, moving the membrane out of the focused position to an unfocused position. The inflation assembly reacts to a control mechanism and comprises compressed air stored at about 100 psi.


Solar Concentrator Array
US5180441
1993-01-19

Abstract --- A solar concentrator panel having an array of off axis cylindrical parabolic mirrors with an optical design of relatively short focal length solar cells arranged in line that converts sunlight to electricity. The back surface of the mirrors are used as the solar cell mount and the heat sink for the adjacent mirror. By appropriate positioning of the adjacent mirror so that the focal line of the parabola falls within the boundary or rim of the mirror reflected solar light can be directed to the solar cell mounted on the back of the adjacent mirror and converted to electricity


Planar Photovoltaic Solar Concentrator Module
US5167724
1992-12-01

Abstract --- A planar photovoltaic concentrator module for producing an electrical signal from incident solar radiation includes an electrically insulating housing having a front wall, an opposing back wall and a hollow interior. A solar cell having electrical terminals is positioned within the interior of the housing. A planar conductor is connected with a terminal of the solar cell of the same polarity. A lens forming the front wall of the housing is operable to direct solar radiation incident to the lens into the interior of the housing. A refractive optical element in contact with the solar cell and facing the lens receives the solar radiation directed into the interior of the housing by the lens and directs the solar radiation to the solar cell to cause the solar cell to generate an electrical signal. An electrically conductive planar member is positioned in the housing to rest on the housing back wall in supporting relation with the solar cell terminal of opposite polarity. The planar member is operable to dissipate heat radiated by the solar cell as the solar cell generates an electrical signal and further forms a solar cell conductor connected with the solar cell terminal to permit the electrical signal generated by the solar cell to be measured between the planar member and the conductor.


Solar Thermal Propulsion Engine
US5138832
1992-08-18

Abstract --- The invention is directed to a solar thermal propulsion engine which comprises: (a) an ogive solar collection cavity with inner and outer walls having therebetween a heat exchange medium which can pass and heat a propellant fluid, and having its highest temperature deep within the cavity, and (b) a nozzle attached to and communicating with the heat exchange medium through which the heated propellant fluid can be passed to create thrust. In addition, this invention is directed to a solar thermal propulsion engine which comprises. (a) a heat exchanger having a geometry such that it has inner and outer walls having therebetween an open cell foam heat exchange medium through which a propellant can pass with tubulence, wherein solar radiation can heat the inner wall and the open foam heat exchange medium to, in turn, heat the propellant, and (b) a nozzle attached to and communicating with the open cell foam heat exchange medium through which the heated propellant fluid can be passed to creat thrust. In a preferred embodiment, the heat exchange medium of the ogive solar collection cavity is the open cell foam heat exchange medium. In a more preferred embodiment, such a preferred solar thermal propulsion engine further includes a paraboloid solar concentrator having the foam heat exchange medium in its walls.


Universal Solar Concentrator Panel
US4999059
1991-03-12

Abstract --- A solar concentrator device has a solar energy receiver and a solar energy reflector including a plurality of individual panels turnable about two mutually perpendicular axes so that the panels in one row are jointly turnable about a first axis, the panels in the same row are turnable also relative to two further axes.


Solar Power System
US4896507
1990-01-30

Abstract --- A solar power system includes a solar concentrator and a power conversion unit for converting direct solar energy from the concentrator to electrical energy to power appropriate loads. The power conversion unit operates through the medium of a working fluid, such as a turbo-generator. An integrated combustor/heat exchanger is coupled to the power conversion unit for heating the working fluid during periods of solar eclipse and giving off a water combustion product in the form of water vapor. An electrolyzer receives the water combustion product and regenerates the product to gaseous hydrogen and oxygen. The electrolyzer is coupled to the power conversion unit as to be powered thereby during the periods of excess electrical energy. The regenerated hydrogen and oxygen is used in the integrated combustor/heat exchanger during periods of solar eclipse.


Solar Concentrator Device and Support Structure Therefor
US5058565
1991-10-22

Abstract --- A solar concentrator device is disclosed. The device includes a solar concentrating panel having a longitudinal axis and defining a parabolic surface having a focal line substantially parallel to its longitudinal axis. The parabolic surface terminates in opposed longitudinal side edges. A mechanism is provided for rotating the panel about its longitudinal axis. Finally, an arrangement provides torsional support for the panel and includes a frame structure aligned obliquely to the longitudinal axis and extending between the opposed longitudinal side edges of the parabolic surface.


Fixation of Nitrogen by Solar Energy
US4873061
1989-10-10

Abstract --- Mixtures of reactant gases containing nitrogen are reacted by being raised to very high temperatures at the focal plane of a solar concentrator when radiant energy is absorbed by a metal screen or other porous material in contact with the reactants at the focal plane of a solar concentrator and the resulting products of combined nitrogen are rapidly cooled in a unique heat transfer unit which rapidly transfers the heat of the product gases to the reactant gases and the rapid cooling of the product fixes the high temperature equilibrium proportions to achieve larger proportions of product than would be possible by gradual cooling. The heat that is transferred from the product gases to a set of clusters of metal tubes during one period of a cycle is transferred from the tubes to reactant gases during a second period of the cycle by a reversal of gas flow direction through the tubes and through the screen, the reversal also causing a second set of tubes, which was cooled by the transmission of reactant gases to the screen in the first period, to absorb heat from the products during the second period with the effect that repeated reversal of gas flow direction provides a two part cycle in which one, then the other, set of tubes first absorbs product heat and later gives up the heat to preheat incoming reactant gases. The coaxial placement of the various sets of heat transfer tubes with their openings confronting and immediately adjacent to the screening the focal plane provides for very rapid cooling and removal of the product before it can undergo any gradual cooling.


Variable Aperture, Variable Flux Density, Aerospace Solar Collector
US4888063
1989-12-19

Abstract --- A trough-type reflecting solar concentrator and receiver system for aerospace use is disclosed. The reflecting surface is a thin flexible sheet attached to and disposed between curved ribs. The amount of the sheet reflecting sunlight can be changed by winding the unnecessary quantity of sheet onto a roll. The focal length of the curved ribs and therefore the sheet can be changed by flexurally deforming the curved ribs by applying end loads, causing a change in the flux density at the receiver. A similar result is achieved by changing the distance between the reflecting surface and the receiver. The receiver is a photovoltaic array, thermal absorber, or a combination of both. Means for proportioning the amount of energy incident on each type of receiver is disclosed. A spectral splitting thermal absorber with scattering capability is disclosed as a pre-filter for the photovoltaic array.


Moderate to Moderately High Temperature Solar Liquid Heater
US4815444
1989-03-28

Abstract --- The present invention is a solar concentrator trough of wide-angle capability disposed east-west lengthwise in an inverted V shape. The legs of the inverter V include an angle of less than 180 degrees as measured on the underside of the trough. The trough leans at an appropriate angle toward a path of solar traverse so as to function for any desired fraction of the year without adjustment. Heated liquid rises to the high point in the concentrator's absorber conduit and flows by conduit to a reservoir. Higher temperature performance is achieved in part by making minimal adjustments to the angle of lean.


Photovoltaic Power Modules and Methods for Making Same
US4834805
1989-05-30

Abstract --- A solar concentrator photovolataic power module of small scale wherein a plurality of pre-fabricated photovoltaic solar cells reside in a matrix array in a substrate comprised of a pair of thin sheet conductors separated by an insulator sheet. A lens sheet on which a multiplicity of lenses have been formed is disposed in a fixed spaced relation to the substrate and operates to focus radiation (sunlight) onto the photo active surfaces of the cells in order to generate electricity. The overall thickness of the module including the substrate, lens sheet and space between the two is less than two inches. The laminated substrate is formed by disposing a plurality of pre-fabricated solar cells in a matrix array onto a back conductor, overlaying onto the back conductor an insulator which surrounds each of the cells and overlaying onto the insulator a top conductor. After electrical and mechanical heat activated bonding materials are disposed between the elements of the substrate, the laminate is heated until the substrate is bonded into a single rigid module substrate.


Nonimaging Concentrator Lens Arrays and Microfabrication of the same
US2003095340
2003-05-22

Abstract --- This project encompassed design and fabrication of a single pixel for a solar concentrator photovoltaic monolithic microarray. Photovoltaic concentrators offer a competitive electricity cost. Such concentrating microarrays may enable photovoltaic cells with 40-50% efficiency using III-V compound heterostructures. The main components of the design include a thin film solar cell, an array of soft polymer microlenses to optimally concentrate solar radiation, and a heat sink to manage the heat dissipated. Microlens arrays were fabricated in polydimethylsiloxane (PDMS) using soft lithography techniques and the optical properties (absorbance, lens magnification, aberrations, etc) were characterized. The results indicate that such microarrays can be used for a monolithic concentrating photovoltaic array.


Planar Solar Concentrator Power Module
US2003201007
2003-10-30

Abstract --- A planar concentrator solar power module has a planar base, an aligned array of linear photovoltaic cell circuits on the base and an array of linear Fresnel lenses or linear mirrors for directing focused solar radiation on the aligned array of linear photovoltaic cell circuits. The cell circuits are mounted on a back panel which may be a metal back plate. The cell circuit area is less than a total area of the module. Each linear lens or linear mirror has a length greater than a length of the adjacent cell circuit. The cell circuit may have cells mounted in shingle fashion to form a shingled-cell circuit. In an alternative module, linear extrusions on the circuit element have faces for mounting the linear mirrors for deflecting sun rays impinging on each mirror onto the shingled-cells. The linear extrusions are side-wall and inner extrusions with triangular cross-sections. The circuit backplate is encapsulated by lamination for weather protection. The planar module is generally rectangular with alternating rows of linear cell circuits and linear lenses or linear mirrors.


Performance Improvements of Symmetry-Breaking Reflector Structures in Nonimaging Devices
US2003081333
2003-05-01

Abstract --- A structure and method for providing a broken symmetry reflector structure for a solar concentrator device. The component of the optical direction vector along the symmetry axis is conserved for all rays propagated through a translationally symmetric optical device. This quantity, referred to as the translational skew invariant, is conserved in rotationally symmetric optical systems. Performance limits for translationally symmetric nonimaging optical devices are derived from the distributions of the translational skew invariant for the optical source and for the target to which flux is to be transferred. A numerically optimized non-tracking solar concentrator utilizing symmetry-breaking reflector structures can overcome the performance limits associated with translational symmetry.


Solar Co-Generator
US2004011395
2004-01-22

Abstract --- A solar co-generator for producing both heat energy and electricity is disclosed. A solar concentrator directs sunlight into a container lined with solar cells and filled with a thermal transfer fluid. The fluid is transparent with respect to certain wavelengths of light that may be converted to electricity by the solar cell, but is opaque with respect to longer wavelengths, particular the infrared band. The infrared portion of the sunlight heats the thermal transfer fluid, which then transfer that heat through a storage facility using a heat exchange mechanism. The thermal transfer fluid increases the efficiency of photovoltaic generation by preventing heating of the solar cells due to infrared radiation. The thermal transfer fluid may be a mixture containing barium sulfate and a suspension of zinc sulfide phosphors. A fluorescing anti-reflective coating may be applied to the solar cells to further increase efficiency.


Solar Concentrator Array with Individually Adjustable Elements
US6959993
2005-02-17

Abstract --- A tracking heliostat array comprises a plurality of optical elements. The tracking heliostat array further comprises a frame separated from the optical elements. Each of the optical elements has an orientation with respect to the frame. The tracking heliostat array further comprises a plurality of supports coupled to at least one of the optical elements. The tracking heliostat array further comprises a turnbuckle coupled to at least one of the supports and to the frame. Rotation of the turnbuckle causes the corresponding support to be displaced relative to the frame. The orientation of the optical element relative to the frame is adjustable. The tracking heliostat array further comprises a traveling actuator configured to rotate at least one of the turnbuckles. The tracking heliostat array further comprises a positioning mechanism supporting the traveling actuator. The positioning mechanism is configured to move the traveling actuator from a first selected turnbuckle to a second selected turnbuckle.


Solar Thermal Aircraft
US2005242232
2005-11-03

Abstract --- A solar thermal powered aircraft powered by heat energy from the sun. A heat engine, such as a Stirling engine, is carried by the aircraft body for producing power for a propulsion mechanism, such as a propeller. The heat engine has a thermal battery in thermal contact with it so that heat is supplied from the thermal battery. A solar concentrator, such as reflective parabolic trough, is movably connected to an optically transparent section of the aircraft body for receiving and concentrating solar energy from within the aircraft. Concentrated solar energy is collected by a heat collection and transport conduit, and heat transported to the thermal battery. A solar tracker includes a heliostat for determining optimal alignment with the sun, and a drive motor actuating the solar concentrator into optimal alignment with the sun based on a determination by the heliostat.


Hybrid Solar Lighting Distribution Systems and Components
US2004187908
2004-09-30

Abstract --- A hybrid solar lighting distribution system and components having at least one hybrid solar concentrator, at least one fiber receiver, at least one hybrid luminaire, and a light distribution system operably connected to each hybrid solar concentrator and each hybrid luminaire. A controller operates all components.


Motion-Free Tracking Solar Concentrator
US6958868
2005-10-25

Abstract --- An integrated solar concentrator and tracker is constructed from a beam deflector for unpolarized light in combination with a fixed optical condenser. The one-dimensional beam deflector consists of a pair of prism arrays made from a material whose refractive index can be varied by applying an electric field. Two of the one-dimensional concentrators can be arranged with their faces in contact and with their prism arrays perpendicular to construct a two-dimensional beam deflector. The intensity and distribution of an applied field modifies the refractive index of the individual prisms in order to keep direction of the deflected beam fixed as the incident beam shifts. When the beam deflector is used with the fixed concentrator the result is that the position of the focus remains fixed as the source moves.


Self Tracking, Wide Angle Solar Concentrators
US670055
2004-10-07

Abstract --- A solar concentrator system includes an optical element having a plurality of lenses superimposed on the surface of a larger lens, the optical element directing and at least partially focused rays onto the solar cell.


Manufacture of and Apparatus for Nearly Frictionless Operation of a Rotatable Array of Micro-Mirrors in a Solar Concentrator Sheet
US6987604
2005-08-25

Abstract --- Due to an ever growing shortage of conventional energy sources, there is an increasingly intense interest in harnessing solar energy. The instant invention can contribute to the goal of achieving environmentally clean solar energy to be competitive with conventional energy sources. A novel method is described for manufacturing a transparent sheet with an embedded array of mirrored spheroidal micro-balls for use in a solar energy concentrator, and analogous applications such as optical switches and solar rocket assist. The micro-balls are covered with a thin spherical shell of lubricating liquid so that they are free to rotate in an almost frictionless encapsulation in the sheet. Novel method and apparatus are presented for producing the preferred embodiment of a close-packed monolayer of the array of mirrored micro-balls.


Group Alignment of Solar Concentrator Micro-Mirrors
US6957894
2005-08-04

Abstract --- Due to an ever growing shortage of conventional energy sources, there is an increasingly intense interest in harnessing solar energy. The instant invention is concerned with method and apparatus for the group alignment of solar concentrator micro-mirrors and the maximization of the percentage of incident light that is reflected to the receiver. Novel method and apparatus are taught for the alignment in large groups or ensembles of micro-mirrors of a micro-optics solar concentrator system for single-axis and two-axis tracking. Broadly this invention deals with novel concepts used for alignment in the focussing of light wherever mirrors are used for focussing such as for solar propulsion assist, illumination and projection of light, optical switching, etc. A particularly important objective is the focussing of sunlight for solar power conversion and production. The instant invention can contribute to the goal of achieving environmentally clean solar energy on a large enough scale to be competitive with conventional energy sources.


Alignment of Solar Conentrator Micro-Mirrors
US6964486
2005-07-28

Abstract --- Due to an ever growing shortage of conventional energy sources, there is an increasingly intense interest in harnessing solar energy. The instant invention is concerned with method and apparatus for the alignment of solar concentrator micro-mirrors and the maximization of the percentage of incident light that is reflected to the receiver. Novel method and apparatus are taught for operating the addressing and alignment micro-optics solar concentrator system for single-axis and two-axis tracking. Broadly this invention deals with novel concepts used for alignment in the focussing of light wherever mirrors are used for focussing such as for solar propulsion assist, illumination and projection of light, optical switching, etc. A particularly important objective is the focussing of sunlight for solar power conversion and production. The instant invention can contribute to the goal of achieving environmentally clean solar energy on a large enough scale to be competitive with conventional energy sources.


Power Generation by Solar/Pneumatic Cogeneration in a large, natural or man-made, open pit
US2005150225
2005-07-14

Abstract --- This patent describes a method for power generation combining a solar concentrator and a pneumatic power tube system. Solar energy is concentrated to solar thermal receivers by a plurality of heliostat mirrors placed along the embankment of an open pit mine. The air in the pneumatic tubes is heated by direct and/or waste heat energy recovered from a solar power system and/or from a variety of sources. The invention is novel in its integration of a solar powered heat engine and a modular design, pneumatic power tube wherein a means of structural support for the tube(s) can be provided by the geophysical surroundings. The novel design features of the power tube pit include: its use of state-of-the art wind turbine power recovery, solar reflective surfaces for solar energy collection, heat pipe arrays for ground source heat recovery and air diffuser subsystems for enhanced wind turbine efficiency.


Passive Solar Tracker for a Solar Concentrator
US2004112373
2004-06-17

Abstract --- The efficient operation of a solar concentrator requires the radiation collector to be pointed directly at the sun. The present invention represents one approach to a passive solar tracking system capable of focusing solar radiation onto a small target at all times of the year. The device consists of a two-axis gimbal system with its orientation controlled by interconnected ballasts filled with a volatile fluid. Accurate focusing is realized by ensuring that each significant mass element is balanced by another element of equal mass equidistant from and diametrically opposite to it through the point of intersection of the two gimbal axes for all possible orientations of the system.


Parabolic Solar Concentrator Module
US2004118395
2004-06-24

Abstract --- A solar concentrated module with a bidimensional parabolic profile geometry, comprises one or more rigid self-supporting panels having a parabolic cross section and a rectilinear longitudinal extension. The said panels comprise a central sandwich structure including a central honeycomb core and two thin outer skins of a high resistance material, forming a lightweight and particularly rigid construction. The panels adapted to support thin reflecting surfaces, the geometry of which is such as to concentrate incident sunlight rays along a longitudinal receiving tube, within which a fluid to be headed flows. An automated driver may be provided for moving the panels to follow the movement of the sun during the day.


Surface Coating for a Collector Tube of a Linear Parabolic Solar Concentrator
US2004126594
2004-07-01

Abstract --- A surface coating material for heat collector elements (HCE) of solar plants, is a multi-layer structure comprising a lower infrared-reflecting metal layer, an upper layer of a non-reflecting material, and an intermediate layer of a composite ceramic-metallic (CERMET) material having upper and lower layers of different volumetric metal fractions. The lower layer has a volumetric metal fraction higher than that of the upper CERMET layer. The ceramic matrix of the CERMET is formed by amorphous silicon dioxide (SiO2). The reflecting metal layer has a thickness ranging from 90 to 110 nm. The lower CERMET layer has a thickness ranging from 70 to 80 nm and a volumetric metal fraction in the range from 0.45 to 0.55. The upper CERMET layer has a thickness ranging from 70 to 80 nm and volumetric metal fraction ranging from 0.15 to 0.25. The layer of anti-reflecting material layer has a thickness ranging from 65 to 75 nm.


Solar Concentrator
US6903261
2004-07-15

Abstract --- A solar concentrator module comprising a front lens on its front face, a receiver cell on its rear face and a reflector between the front lens and the receiver cell, said reflector having inclined sidewalls along at least two opposite sides of the receiver cell characterised in that the reflectors are truncated and in that the sidewalls of the reflectors are inclined in such a way that, for a 0 [deg] off-pointing, solar rays are reflected on the inclined side walls of the reflectors before impinging on the receiver cell, to produce a relatively uniform illumination on the receiver cell for a range of off pointing acceptance angle superior to zero degree.


Solar Concentrator and Manufacturing Method Therefor
US4863224
1989-09-05

Abstract --- A solar concentrator comprises a prism having radiation input, reflection and output faces. Located on the input and/or reflection face(s) is a layer of material with a formed three-dimensional hologram of transmitting type in the case of the input face or of reflecting type in the case of the reflection face. The structure of the hologram permits radiation input to the prism at an angle greater than the critical angle of total internal reflection to be reflected within the prism without being diffracted by the hologram.


Liquid-Cooled Sealed Enclosure for Concentrator Solar Cell...
US4830678
1989-05-16

Abstract --- The sealed enclosure for an electrical power generation solar concentrator holds and protects the photovoltaic cell from ambient conditions and thermal shock, while multiple fingers of front and rear electrical contact terminals accommodate thermal expansion and contraction of the cell and minimize mechanical stresses on the cell. This sealed enclosure also holds the secondary lens and protects the internally reflective truncated conical rear surface of the lens. A base member has a socket for receiving the cell and its associated front and rear terminal members together with an insulator alignment disc having an opening receiving the cell and for aligning the cell with the axis of the concentrator. A front housing removably screws onto the base member with an inturned front lip gripping a peripheral flange on the secondary lens, thereby aligning it with the cell and firmly pressing it against the cell front for causing thermal mass and inertial of the lens to moderate temperature changes in the cell. The base member screws onto a pedestal of a finned heat sink of good thermal conductivity fitting into a pre-punched hole in a panel of the concentrator, thus aligning the sealed enclosure with the concentrator axis. The pressure of the secondary lens on the cell causes the cell back to press onto its multiple-fingered rear contact member of good electrical and thermal conductivity which in turn is pressing against a thin electrical insulator in good thermal conductivity with the heat sink pedestal.


Point Focus Solar Concentrator...
US4784700
1988-11-15

Abstract --- A point focus solar concentrator which uses various geometries of cylindrical reflector strips some of which are tilted to simulate a point focus by overlaying the line focii of each segment at a coincident point. Several embodiments of the invention are disclosed that use cylindrical parabolic, cylindrical hyperbolic or flat reflector strips to concentrate incident solar energy for use by a solar dynamic engine located at the focal point. Also disclosed is a combined photovoltaic/solar dynamic engine concentrator energy system that uses this arrangement of mirrors.


Splined Radial Panel Solar Concentrator
US5104211
1992-04-14

Abstract --- A splined radial panel solar collector structure approximates compound curvature surfaces by a three-dimensional arrangement of compactly stowable flat reflective panel segments mounted on a collapsible, space-deployable support structure of linear components. The support framework is formed of an umbrella-like framework of radially-extending ribs, struts and cords which deploy away from a central hub to form a system of radial trusses. A semirigid reflective surface structure is divided into sections of radial panels which are supported and shaped by an arrangement of radially tensioned flexible tape members aligned with the ribs. Connecting ties between the tapes and the ribs cause the tapes to assume a catenary curve. The ribs and flexible tape members are bridged circumferentially by sets of cords and ties to which the panels are joined. These cord and tie pairs place the panels in bending to effect a "splined" approximation of a parabola in the radial direction. The panels are arranged in a side-by-side relationship so as to be foldable in the circumferential direction during stowage. The panels are also discontinuous in the radial direction along lines connecting adjacent rib hinges in order to allow the reflective surface to be folded at the hinge points during stowage. As a result, each gore is effectively subdivided into a number of radial sections determined by the number of hinges along each rib and associated tape member. Openings are provided between the ends and sides of the panel strips so as to permit relative movement during folding and deployment, and to allow the panels to expand and contract with temperature change.


Offset Truss Hex Solar Concentrator
US5054466
1991-10-08

Abstract --- A solar energy concentrator system comprises an offset reflector structure made up of a plurality of solar energy reflector panel sections interconnected with one another to form a piecewise approximation of a portion of a (parabolic) surface of revolution rotated about a prescribed focal axis. Each panel section is comprised of a plurality of reflector facets whose reflective surfaces effectively focus reflected light to preselected surface portions of the interior sidewall of a cylindrically shaped solar energy receiver. The longitudinal axis of the receiver is tilted at an acute angle with respect to the optical axis such that the distribution of focussed solar energy over the interior surface of the solar engine is optimized for dynamic solar energy conversion. Each reflector panel section comprises a flat, hexagonally shaped truss support framework and a plurality of beam members interconnecting diametrically opposed corners of the hexagonal framework recessed within which a plurality of (spherically) contoured reflector facets is disposed. The depth of the framework and the beam members is greater than the thickness of a reflector facet such that a reflector facet may be tilted (for controlling the effective focus of its reflected light through the receiver aperture) without protruding from the panel section.


Space Deployable Domed Solar Concentrator...
US4845511
1989-07-04

Abstract --- A space deployable solar energy concentrator is formed of a dome-shaped arrangement of compactly stowable flat panel segments mounted on a collapsible, space-deployable support structure of interconnected linear components. The support structure is comprised of a plurality of tensioned, curvilinear edge strips which extend in a radial direction from a prescribed vertex of a surrounding umbrella-like framework of radially extending rib members. Between a respective pair of radially-extending, curvilinear edge strips an individual wedge-shaped panel section is formed of a plurality of multi-segment lens panel strips each of which is supported in tension between the pair of edge strips by a pair of circumferentially extending catenary cord members connected to a pair of ribs of the surrounding umbrella-like framework. A respective lens panel strip is comprised of a plurality of flat, generally rectangular-shaped, energy-directing panels arranged side-by-side in the circumferential direction of the dome. Adjacent panels are interconnected by flexible U-shaped hinges which overlap opposing edges of adjacent panels and engage respective cylindrically-shaped, load distribution bars that slide within the flexible hinges. Because each U-shaped hinge is flexible, it is permitted to shift in the circumferential direction of the panel section to facilitate stowage and deployment of the dome.


Variable Aperture, Variable Flux Density, Aerospace Solar Collector
US4719903
1988-01-19

Abstract --- A trough-type reflecting solar concentrator and receiver system for aerospace use is disclosed. The reflecting surface is a thin flexible sheet attached to and disposed between curved ribs. The amount of the sheet reflecting sunlight can be changed by winding the unnecessary quantity of sheet onto a roll. The focal length of the curved ribs and therefore the sheet can be changed by flexurally deforming the curved ribs by applying end loads, causing a change in the flux density at the receiver. A similar result is achieved by changing the distance between the reflecting surface and the receiver. The receiver is a photovoltaic array, thermal absorber, or a combination of both. Means for proportioning the amount of energy incident on each type of receiver is disclosed. A spectral splitting thermal absorber with scattering capability is disclosed as a pre-filter for the photovoltaic array.


Solar Concentrator Plates
US4661649
1987-04-28

Abstract --- The invention provides a solar concentrator plate doped with a dye selected from the group consisting of GF Orange-Red, Fluorol 555, oxazine-4-perchlorate, LDS 730, LDS 750, BASF 241, BASF 339, and combinations thereof with each other or with GF Clear with 3-phenyl-fluoranthene.


Combined Solar and Signal Receptor Device
US4788555
1988-11-29

Abstract --- A parabolic reflector for combined use as a solar concentrator and communications antenna having both a shared and joint use mode. In both the joint and shared use mode, the dish concentrates the electromagnetic energy at the focal point where a signal receptor such as a feed horn and LNA captures the signal. In the shared use system, a heat exchanger is positioned to receive solar flux and the signal receptor is shielded or is in an out-of-the-way position during periods of high solar energy. In a joint use system, the location of the receptor of solar energy and the receptor of electromagnetic energy are separated by use of selective surfaces which selectively reflect and absorb energy. In one embodiment, a wire mesh having a mesh size of less than approximately one-sixteenth of the wavelength of the signal radiation is interposed to reflect electromagnetic energy to the signal receptor but allows solar energy to pass through to impinge upon the heat exchanger.


Methods and Apparatus Relating to Photovoltaic Semiconductor Devices
US4638110
1987-01-20

Abstract --- A solar concentrator-photovoltaic module having a matrix of miniaturized photovoltaic cells is formed by using a laser beam to form the miniaturized photovoltaic cell sites in situ. A laminated sheet is formed by a light-transmissive lens sheet having a matrix of lenses, and a substrate including a conductor layer formed onto the bottom side of the lens sheet. The laminated sheet is then irradiated using laser beams directed normal to and through each lens of the lens sheet, to perforate the substrate including the conductor layer forming cell sites. Cells can be formed in situ by applying an amorphous or multi-crystalline semi-conductor material to the cell sites from the bottom of the laminated sheet. The laminated sheet is then irradiated further with laser beams directed through each of the lenses, to thereby convert the amorphous material to a properly doped and fully crystalline photovoltaic junction. The bottom of the laminated sheet is then coated with final lower conductive and sealing layers to protect the laminated sheet from environmental effects.


Solar Illumination Device
US4593976
1986-06-10

Abstract --- A solar concentrator having a stationary reflective collector (20) located to view the sky and reflect solar energy to a stationary reflective reflector (30) positioned to receive such reflected energy and reflect the energy toward a target within a structure through a side wall (19). A low angle shield (32) prevents most direct rays from entering, unreflected, into a work space inside the structure and a shield (36) prevents solar energy, reflected by the collector (20) and the reflector (30) from penetrating a plane (38) space above the floor a distance generally equal to the height of the eye of an occupant standing on the floor of the structure.


Circular Arc Solar Concentrator
US4587951
1986-05-13

Abstract --- A solar energy concentrator and collector having a concentrator made up of one or more anticlastic panels that feature a non-developable doubly curved surface. The panels are concave in the north-south direction and convex in the east-west direction. In one embodiment, the panels are formed to have parallel circular arcs in the north-south direction of increasing radius from the center of the panel to its edges and having a curved cross-section in the east-west direction. The concentrator reflects light to a narrow zone of concentration which moves within a plane in response to changes in the angle of incidence of sunlight thereon. A method for forming the specially shaped reflective fiber reinforced plastic panel is also disclosed.


Balanced Solar Concentrator System
US4583520
1986-04-22

Abstract --- This solar concentrator system is configured such that the base pedestal attachment point is located on the beam connecting the curved solar reflector and the heat energy receiver power conversion unit, herein envisioned as a Stirling engine. This attachment point is located near the balance point CG (Center of Gravity) of the power conversion unit-supporting beam-curved reflector subsystem such that the loads on the base pedestal and the attached solar tracking drive systems are minimized.


Protective Telescoping Shield for Solar Concentrator
US4586487
1986-05-06

Abstract --- Apparatus is described for use with a solar concentrator such as a parabolic dish (12, FIG. 2) which concentrates sunlight onto the small opening (18) of a solar receiver (16), for protecting the receiver in the event of a system failure that could cause concentrated sunlight to damage the receiver. The protective apparatus includes a structure which can be moved from a stowed position (30) where it does not block sunlight, to a deployed position (30A) wherein it forms a tube which substantially completely surrounds an axis (26) connecting the receiver opening to the center of the concentrator at locations between the receiver and the concentrator.


Method for making a Solar Concentrator and Product
US4571812
1986-02-25

Abstract --- A solar concentrator of substantially parabolic shape is formed by preforming a sheet of highly reflective material into an arcuate section having opposed longitudinal edges and having a predetermined radius of curvature and applying a force to at least one of the opposed edges of the section to move the edges toward each other and into a predetermined substantially parabolic configuration and then supporting it.


Tilted Panel Linear Echelon Solar Collector
US4800868
1989-01-31

Abstract --- A solar concentrator with wide effective aperture is disclosed, which comprises at least one linear echelon reflector element which is inclined with respect to the direction of incident solar radiation to direct incident solar radiation to a line focus.


Modular Solar Concentrator
US4457297
1984-07-03

Abstract ---  A modular solar radiation concentrator consists of many identical reflective panels (1), each having the shape of a portion of the surface of a sphere. The panels (1) are mass produced, mounted between a pair of horizontal beams (2) so they can partially rotate about two orthogonal axes, and aligned as part of multi-beam (2) modules (3) on a test fixture so that all panels (1) reflect distant radiation upon a small aperture (36). Spaces occur between all panels (1) when mounted in the concentrator. The reflector support structure (4) has a finite number of identically angled bends so that the overall reflector (47) approximates the surface of a sphere. A solar radiation receiver (34) is hingedly suspended to the support structure (4) at the focal point of each of the panels (1). The reflector (47) is mounted upon an azimuth/elevation mount (6, 46), which rotates reflector (47) 360 DEG about a vertical azimuth axis and 90 DEG or more about an orthogonal elevation axis.


Fixed Solar Concentrator-Collector-Satelite Receiver and Co-Generator
US4490981
1985-01-01

Abstract --- An insolation and micro wave receiver fixedly installed in alignment with the suns azimuth and within the look angle of a satellite, and comprised of holographic windows recorded according to time related to the suns position as zone plates to concentrate infrared light into a Rankine cycle power generating receiver and to columnate ultraviolet light onto a photo voltaic power generating plane, utilizing a micro wave dish as the substrate support of photo voltaic cells and as a condenser of the Rankine cycle operating an induction generator synchronous with an external alternating current power system, and with the photo voltaic power synchronized therewith by commutation.


Solar Concentrator Protective System
US4449514
1984-05-22

Abstract --- A system is described for use with a solar concentrator such as a parabolic dish type that concentrates solar radiation onto a small opening (18) of a receiver, for protecting the receiver in certain circumstances, including tracking failure wherein the concentrated solar radiation would fall on the face plate (26) surrounding the receiver opening and burn it, or in the event of lack of coolant circulation which could cause burning of the receiver cavity walls (22). The protective system includes a shutter mechanism (30) stored in an open configuration beside the receiver opening and operable in case of failure to close shutters (34) over the opening, while also moving the mechanism away from the opening and closer to the dish concentrator so that only less concentrated solar radiation must be blocked by the shutter mechanism. The shutter mechanism can include a fuse wire (52) having one portion surrounding the receiver opening and another portion which supports the shutter mechanism against moving towards its closed position. A tracking failure causes concentrated sunlight to strike the fuse wire to break it and allow the shutter mechanism to move towards a closed position.


Support Carriage for a Solar Concentrator
US4491388
1985-01-01

Abstract --- A support system for a solar concentrator (10), the support system capable of rotating the solar concentrator (10) in both a horizontal, or azimuth plane, and in a vertical, or altitude, plane. The support system includes a footing (12) to which a spindle (14) is anchored. A central mast (22) is rotatably positioned on the spindle (14). A bearing (40) is positioned near the top of the mast (22). A drive wheel (24) is secured to the mast (22) near the bottom thereof and rotates therewith. A motor (36) is used to rotate the drive wheel (24), and hence the central mast, in the horizontal plane. A system of counterweights (42, 43) and struts (46, 47, 48, 54, 55 and 56 for one counterweight 42 as an example) which connects the bearing (40) and the solar concentrator (10) permits rotation of the solar concentrator in the vertical plane. The counterweight and strut system is arranged such that the solar concentrator passes over the top of the mast (22) and beyond while the counterweights (42, 43) pass on opposite sides of the mast (22).


Thermal Energy Storage Methods and Processes
US4402306
1983-09-06

Abstract --- A thermal energy collecting and storing device including a thermally insulated storage vessel including a heat retaining material holding chamber, a solar portal in the top of the vessel, the solar portal including a tubular member having upper and lower portions extending from the top of the vessel into the heat retaining material holding chamber and spaced from the side walls of the vessel and wherein the spacing between the side walls and the tubular member forms a second peripheral chamber about the solar portal. Substantially filling the holding chamber as well as a portion of the second peripheral chamber is a material having a low melting point and good heat retaining capacity. The peripheral chamber includes an expansion area above the heat retaining material so that the material is allowed to expand when heated. Means are provided for closing the lower portion of the tubular member and for transmitting energy to the heat retaining material. A transparent sheet is situated across the upper surface of the solar portal for closing the upper portion of the tubular member. The transparent sheet and the means for closing the lower portion of the tubular member are spaced from each other and form a third chamber which insulates the holding chamber from the outside environment. A solar concentrator is positioned above the solar portal for directing concentrated solar rays through the solar portal and on to the means for transmitting energy to the heat retaining material.


Modular Solar Concentrator
US4463749
1984-08-07

Abstract --- A modular solar radiation concentrator consists of many identical reflective panels (1), each having the shape of a portion of the surface of a sphere. The panels (1) are mass produced, mounted between a pair of horizontal beams (2) so they can partially rotate about two orthogonal axes, and aligned as part of multi-beam (2) modules (3) on a test fixture so that all panels (1) reflect distant radiation upon a small aperture (36). Spaced occur between all panels (1) when mounted in the concentrator. The reflector support structure (4) has a finite number of identically angled bends so that the overall reflector (47) approximates the surface of a sphere. A solar radiation receiver (34) is hingedly suspended to the support structure (4) at the focal point of each of the panels (1). The reflector (47) is mounted upon an azimuth/elevation mount (6, 46), which rotates reflector (47) 360 DEG about a vertical azimuth axis and 90 DEG or more about an orthogonal elevation axis.


Solar Concentrator
US4440153
1984-04-03

Abstract --- A solar concentrator which comprises a solid block of a transparent material having a planar incident surface positioned to receive solar rays and, opposite this surface, a curved reflective surface so that the material of the block completely fills the space between these surfaces. At the incident surface an absorber is provided and the curvature of the reflective surface is such that it is at least partly parabolical and adapted to reflect solar rays traversing the body through the body again to the absorber.


Solar Collector
US4469088
1984-09-04

Abstract --- The present invention relates to a solar collector for obtaining high temperature thermal energy by collecting solar energy, especially to the improvement of performance and safety of an absorber tube containing thermal energy storage material. Precisely, the solar collector has a double tube structure at the focal line of a solar concentrator where thermal energy storage material changeable from a solid phase to a liquid phase is enclosed in the space between the inner tube and the outer tube, heat transfer fluid is introduced through the inner tube and the outer surface of the inner tube and the inner surface of the outer tube have partial contact with each other. Consequently, in accordance with the present invention, a part of the absorbed solar energy is transferred directly to the inner tube without passing through the thermal energy storage material and heats the heat transfer fluid efficiently because of the direct contact of the inner and outer tubes.


High Efficiency Multiple Layer, All Solid-State Luminescent Solar Concentrator
US4488047
1984-12-11

Abstract --- Simply stated, the luminescent solar concentrator of the present invention comprises a plurality of optically coupled flat planar luminescent layers having a major surface for receipt of incident radiation and at least one edge surface through which radiation can escape, each of said layers having on the top and bottom surface thereof a light transparant layer having an index refraction which is lower than the index refraction of the luminescent layer. All of the layers are joined so as to form an all solid state luminescent solar collector.


Method for a Solar Concentrator Manufacturing
US4691994
1987-09-08

Abstract --- A method of manufacturing a solar concentrator employing a prism having a radiation input face, a reflection face and at least one radiation output face. The method comprises the steps of providing the prism with its reflection face angularly disposed with respect to the input face. A layer of light-sensitive material is deposited on the input face of the prism. An auxiliary prism and a substance having a refractive index close to that of the light-sensitive material is provided with the substance placed between the light-sensitive material and the auxiliary prism. Next, an interference pattern is recorded in the light-sensitive layer to obtain a three dimensional hologram. This is accomplished by using a reference laser beam and an object laser beam. The reference laser beam is sent to the light-sensitive layer via the auxiliary prism and the substance in the direction of propagation of the incident radiation to be concentrated. The object laser beam is directed via the auxiliary prism at an angle with respect to the light-sensitive layer such that fringe planes are formed in the light-sensitive layer in order to diffract incident radiation at the angle. The auxiliary prism and the substance are removed, and the light-sensitive layer is developed. The angular relationship between the reflection face, the input face and the angle are chosen to preclude the diffraction of a beam which has been reflected from the reflection face.


Solar Energy Collector
US4379613
1983-04-12

Abstract --- The present invention comprises a planar fluorescent solar concentrator having a circular band portion within said concentrator toward which incident solar radiation is redirected. Optically coupled to said circular band portion is an optical means comprising an axially symmetrical body of light transmitting material having a circular band at one end for the receipt therein of radially directed electromagnetic radiation, said optical means including a body portion, having a coating on the exterior surfaces thereof and a generally circular second end. Light radially directed in said circular band at said first end is internally reflected in said body portion and directed toward said second end, whereby the light leaving that circular second end is distributed substantially uniformly over the entire area thereof.


Collapsible Structural Assembly especially suitable as a Solar Concentrator
US4313422
1982-02-02

Abstract --- A collapsible structural assembly including first and second flexible sheets disposed in confronting relationship to one another is disclosed herein. The assembly also includes an arrangement of ribs located between and connected with the sheets so as to support the sheets as a single unit for movement between a first collapsed position such that the sheets lie flat and adjacent one another with the ribs therebetween and a second extended position such that sheets have predetermined curved configurations and the ribs serve as structural reinforcements therebetween. In the actual embodiment disclosed, one of the sheets includes an outermost light reflective surface and the predetermined curvature conferred upon the sheets including the light reflective surface is that of a parabola. In this way, the entire assembly may serve as a trough-line parabolic concentrator comprising part of an overall solar collector.


All-Day, All-Year Solar Concentrator
US4309079
1982-01-05

Abstract -- The invention is a solar radiation concentrator wherein an array of solar collectors is disposed in a semicircle and rotatable 180 degrees about an axis in the plane of the semicircle to achieve seasonal adjustment. Each said collector is slightly tilted out of the plane of said semicircle, whereby seasonal adjustment of said array may be achieved by rotating said array through 180 degrees twice a year.


Semi-Tubular Parabolic Multiple Core Helix Solar Concentrator
US4235225
1980-11-25

Abstract --- A device for improving the radiant solar energy collection efficiency of a helix shaped solar collector-concentrator by concentrating the sun's rays on a plurality of specifically positioned energy absorber collecting cores as the sun moves through its solar day without the use of active tracking devices, is provided. By using a helix shaped semi-tubular parabolic collector-concentrator with multiple specifically positioned collecting cores crossing and intersecting the shifting sharp focal axis of the reflective surfaces of the helix shape at a slight angle to the focal axis, rather than being exactly on the focal axis, at least one or more of the collecting core surfaces is in sharp focus at all times, thus optimizing the sun's radiant solar energy collection capacity of said device. Further increased primary direct and non-reflective incident solar energy is collected on a plurality of collecting cores providing additional collection efficiencies. The helix shaped semi-tubular parabolic reflector and the energy absorber cores are enclosed by a transparent, relatively air-tight covering which causes the device to be resistant to environmental factors such as snow, rain, wind, pollution and other atmospheric degradants. The additional confined heat energy generated and trapped within the covered helix shaped semi-tubular parabolic reflector further increases the device's collecting efficiency. In one embodiment the heat energy thus collected may be transferred to a heat absorbing medium to be utilized in a useful manner. In another embodiment the solar energy impinging on the energy absorber collecting cores may be converted by other means such as photoelectric conversion into electrical energy to be utilized and stored.


Solar Concentrator
US4333446
1982-06-08

Abstract --- A solar concentrator having an open framework formed as a geodesic dome. A rotatable support axle extends substantially diametrically across the dome and has the opposite ends thereof supported on the framework. The support axle defines a first rotational axis which is oriented to extend substantially parallel with the earth's North-South axis. A support post is hingedly mounted on the support shaft substantially at the midpoint thereof for permitting angular displacement of the support post relative to the support shaft about a second rotational axis which is perpendicular to the first axis. A dishshaped reflector assembly is positioned within the interior of the framework and fixedly secured to the support post. First and second drives effect angular displacement of the reflector assembly about the first and second axes, respectively, to permit tracking of the solar position.


Solar Heated Fluidized Bed Gasification System
US4290779
1981-09-22

Abstract --- A solar-powered fluidized bed gasification system for gasifying carbonaceous material. The system includes a solar gasifier (10) which is heated by fluidizing gas and steam. Energy to heat the gas and steam is supplied by a high heat capacity refractory honeycomb (16) which surrounds the fluid bed reactor zone (14). The high heat capacity refractory honeycomb (16) is heated by solar energy focused on the honeycomb (16) by solar concentrator (32) through solar window (20). The fluid bed reaction zone (14) is also heated directly and uniformly by thermal contact of the high heat capacity ceramic honeycomb (16) with the walls of the fluidized bed reactor (12). Provisions are also made for recovering and recycling catalysts used in the gasification process. Back-up furnace (50) is provided for start-up procedures and for supplying heat to the fluid bed reaction zone (14) when adequate supplies of solar energy are not available.


Concentrating Solar Collector with Tracking Multipurpose Targets
US4355630
1982-10-26

Abstract --- A parabolic solar concentrator whose focused solar rays impinge as a line focus upon one or more daily and seasonably tracking target collectors made to move generally parallel along two or more tracks through the use of sensor activated motors.


Solar Energy Collection System
US4292959
1981-10-06

Abstract --- A system is provided for the collection of electromagnetic radiation and the transmission of that radiation to a point of utilization in the form of light. Basically, the system employs a first solar concentrator for the collection and concentration of solar radiation. Optically coupled to the first solar concentrator is at least one additional solar concentrator for further concentrating the collected solar radiation for efficient coupling with a light pipe. Thus, the light pipe directs the collected and concentrated light to a point of utilization. Preferably, the solar concentrators are planar fluorescent solar concentrators having different fluorescent materials in each concentrator.


Solar Concentrator of Wide-Angle Capability
US4266858
1981-05-12

Abstract --- The invention is a solar-radiation concentrator of wide-angle capability which will receive solar radiation of existing intensity onto a reflecting surface and reflect it onto receiving-converting means of smaller surface area, which at the reflector base coexists with the imagined continuation of the reflecting surface, so as to achieve a greater intensity of radiation to said means.


Solar Concentrator
US4267824
1981-05-19

Abstract --- An inflatable solar concentrator comprising an elongate hollow member of relatively thin flexible material inflatable to an upright position in which it is generally in the form of a cone convergent from its upper to its lower end. The inflated member has a substantially transparent top of a material which transmits incident solar radiant energy, and a highly reflective inner conical surface which reflects downwardly and thereby concentrates the radiant energy. A rigid collar on the lower end of the member has a passage through it in communication with the interior of the member for supply of gas under pressure into the member to inflate it and for exit of gas from the member to collapse it. The member is mounted with its lower end above a heat absorbing surface for impingement on the surface of concentrated radiant energy.


Light-Weight-Trough Type Solar Concentrator Shell
US4243019
1981-01-06

Abstract --- A parabolic cylindrical trough solar concentrator shell is disclosed having a pair of oppositely disposed end support members jointed by spanning structural support members which may be in the form of individual elongated generally triangular polygon members to form the parabolic cylindrical trough. The inwardly directed surface of each polygon member is concave in shape and rendered highly reflective and so disposed such that the composite produces a highly reflective, concave, generally parabolic surface which reflects and focusses radiant energy striking upon it along a line parallel to and above the surface of the trough. A radiant energy receiving and absorbing conduit which carries a fluid heat transfer medium is provided along the focal line. The conduit is structurally supported from the end support members in a manner which allows free rotation of the structure relative to the support. In addition to the composite triangular polygon members, the structure may be fabricated using other shapes or a spanning sheet corrugated for strength covered by a separate reflecting surface.


Solar Concentrator Utilizing a Point Focusing Solar Concentrating Panel Assembly
US4256088
1981-03-17

Abstract --- A solar concentrator is disclosed herein and includes a modularized point focusing solar concentrating panel which is movably mounted to track the sun. This panel has an overall parabolic reflecting surface and a triangular or approximately triangular configuration which improves structural integrity, minimizes wind resistance and permits rapid and easy stowing.


Turret Mounted Solar Concentrator with Boom Mounted Secondary Mirror or Collector
US4408595
1983-10-11

Abstract --- A solar energy concentrator/collector assembly employing an altitude-azimuth dual axis scanning mounting assembly including a base with a circular track for mounting the assembly for rotation about a vertical axis. The assembly includes a turret defining second pivotable axis normal to the vertical axis and intersecting the same. A boom, a concentrator and a collector act as a single rotational assembly during solar collection and fold together during non-operating periods to minimize the profile and wind loading. In one preferred embodiment the solar energy collector is fixed and located at the intersection of the two axes and a boom carries a secondary mirror reflecting solar energy from said primary mirror to the solar energy collector which may be a Stirling cycle engine or other heat engine. In an alternate embodiment the solar energy collector is located on the boom at the focus region of the solar concentrator.


Concave Helix Solar Concentrator
US4241726
1980-12-30

Abstract --- A device is provided for efficiently collecting and concentrating the sun's radiant energy, which comprises a semi-tubular concave helix reflector with up to a 360 degree turn or turns in its length, to concentrate the sun's rays on a central collecting core continuously as the sun moves through its solar day without the use of opto-electro-mechanical tracking devices. The central collecting core is disposed within the focal point of the concave helix reflector and a heat exchange medium is piped through the collecting core. The energy transferred to the heat exchange medium may be utilized in a useful manner. Elevation of the device is easily adjustable to seasonal sun elevation position.


Heat-Powered Water Pump
US4177019
1979-12-04

Abstract --- A heat-powered water pump including a vapor generator and a vapor-inflatable pumping member enclosed in a pumping chamber. The vapor generator and pumping member form a closed system for a volatile working fluid. Check valves control the movement of vapor and condensate through the closed system as well as the direction of water through the pump. The vapor generator is configurated to be heated either by a solar concentrator or by heat from combustion of agricultural wastes. The expandable diaphragm/pumping piston operates in a pumping chamber having a diametrally enlarged check valve above the diaphragm to accommodate the rapid explusion of water from the pumping chamber upon expansion of the expandable diaphragm.


Solar Concentrator
US4173397
1979-11-06

Abstract --- An improved solar concentrator characterized by a plurality of elongated supporting members arranged in substantial horizontal parallelism with the axis thereof intersecting a common curve and a tensioned sheet of flexible reflective material disposed in engaging relation with the supporting members for imparting to the tensioned sheet a catenary configuration.


Double-Sided Solar Cell with Self-Refrigerating Concentrator
US4169738
1979-10-02

Abstract --- A planar solar cell photovoltaically active on both sides is positioned in a solar concentrator capable of simultaneously illuminating both sides of the cell. The cell is immersed in a transparent liquid that enhances solar energy concentration and aids in removing undesirable heat from the cell. The solar cell, having two photovoltaically active sides, can be constituted by a n+pn+ structure or by a n+pp+ structure. Electrically conductive metal grids serving as cathode and anode connections are formed on both sides of the cell. The grid apertures advantageously allow the light to enter into the appropriate semiconductor regions. In the case of a n+pn+ structure, window means in the n+ layers are provided to permit electrical contact between the anode grids and the p region. Solar cells with complementary dopings, for example p+np+, are also possible.


Solar Concentrator with Restricted Exit Angle
US4130107
1978-12-19

Abstract ---A device is provided for the collection and concentration of radiant energy and includes at least one reflective side wall. The wall directs incident radiant energy to the exit aperture thereof or onto the surface of energy absorber positioned at the exit aperture so that the angle of incidence of radiant energy at the exit aperture or on the surface of the energy absorber is restricted to desired values.


Solar Powered Engine and Tracking System
US4198826
1980-04-22

Abstract --- A solar powered engine and tracking system comprises a piston working within a cylinder for turning a drive shaft for driving an electrical generator or performing other useful work, a solar concentrator comprising a plurality of mirrors, each reflecting Sun light on a common focal point on the end of the cylinder for heating a flash boiler located thereon, preheated water from a source is injected into the flash boiler by a pump powered by the drive shaft timed according to piston movement after operating the piston, the steam is then vented from the boiler by valve means operated from the drive shaft. A starter motor is provided to initially start the engine operating by rotating the drive shaft until the piston movement is self sustaining. The entire device is enclosed in a solar energy collector panel for elevating the temperature of the system so as to maintain the water at a sufficient temperature with a minimum of external heating. The collector may also be utilized for separate external heating purposes. Sensor controlled motors track the relative movement of the Sun and Earth and continually position the collector for maximum solar energy concentration.


Solar Power Generator
US2007151245
2007-07-05

Abstract --- Solar energy is converted into electricity by use of a solar concentrator system, a steam production system, a turbine and an alternator. A boiler is heated by a concentrator dish aimed at the sun. The dish may also be fitted with a polar mount, an actuator and a devise for sensing the relative position of the sun. There is a mast on the dish upon which a boiler is mounted which is heated by the sun's concentrated rays. The boiler will preferably be arranged to heat and vaporize water to create continuous steam that is delivered to turn the turbine which is operatively connected to the alternator and from which electricity is generated.


Heatsink for Concentrating or Focusing Optical/Electrical Energy Conversion Systems
US2007089777
2007-04-26

Abstract --- The present invention relates to heatsink technology for helping to dissipate thermal energy generated or absorbed with respect to optical focusing and/or concentrating systems such as projectors and spotlights as well as trough or dish reflectors. More specifically, the present invention relates to heat sink technology for helping to dissipate thermal energy generated by or absorbed in the proximity of the focus of optical concentrating elements of solar concentrator modules, wherein the heat sink includes a plurality of heat dissipating fins.


Edge Illumination Photovoltaic Devices and Methods of Making Same
US2007034250
2007-02-15

Abstract --- Edge illumination photovoltaic devices based on multicomponent semiconductors and low cost methods for fabricating such devices are provided. The photovoltaic devices can find application in a variety of photovoltaic and thermophotovoltaic systems including solar concentrator based systems.


Reactor for Solar Processing of Slightly-Absorbing or Transparent Gases
US7140181
2006-11-28

Abstract --- Solar-powered reactor for processing of slightly absorbing and transparent gases. An obvious path to providing storable, renewable energy is through solar dissociation of gas molecules. These dissociation products are the precursors of modern liquid and gaseous fuels such as hydrogen and methanol/ethanol. An apparatus and method using a solar concentrator (such as a focusing trough or dish) directed at the receiving end of a reactor are disclosed. A range of designs of reactors for the dissociation of gases, both those that absorb slightly in the visible spectrum and those that are transparent in the visible and only absorb in the infrared, is described. For slightly-absorbing gases, a funnel-shaped reactor that preheats the gas and concentrates sunlight is the indicated embodiment. A system for dissociating CO<SUB>2 </SUB>using the invention is described. For transparent gases, a holraum embodiment is more appropriate for coupling solar energy into the gas. In both cases, heat from the hot stream of dissociated gas may also be used to produce electricity with a standard steam or Stirling cycle generator.


Solar Concentrator System using Photonic Engineered Materials
US2006191566
2006-08-31

Abstract --- A non-imaging optical collecting and concentrating apparatus for use in i.e., optical communications, passive lighting, and solar power applications that is relatively immune from optical incidence angle(s) and therefore does not need to track the movement of the sun to efficiently collect and concentrate optical energy. The apparatus includes a non-planar support structure having a source-facing entrance and an energy-outputting exit. An interior surface of the structure includes a scattering, reflecting and/or diffractive medium such as a photonic bandgap structure to enhance the collection and concentration efficiency.


Temperature Reduction Fixture for Accelerated Weathering Test Apparatus
US7174781
2006-08-03

Abstract --- An accelerated weathering test apparatus of the type used to concentrate solar radiation upon test specimens including a fixture connected to a target board including a frame spaced from the target board a predetermined distance by a plurality of stand-offs and having at least one opening defined therein and a transparent element connected to the frame in alignment with each at least one opening in a covering orientation such that the solar radiation from a reflecting solar concentrator impinges upon the test specimens. The predetermined distance is configured such that the frame functions as an extension of a deflector and an operating temperature of the test specimens is shielded from external influences.


Micro-Optics Concentrator for Solar Power Satellites
US7077361
2006-07-18

Abstract --- There is an increasingly intense need to harness solar energy due to an ever growing shortage of conventional energy sources, The instant invention is concerned with method and apparatus for solar concentrator micro-mirrors on solar power satellites and the moon to focus and reflect large quantities of solar energy. Method and apparatus are taught for directly reflecting solar energy to the Earth; reflecting solar energy to a microwave converter in space which transmits microwave energy to the Earth; and reflecting solar energy to a laser radiation converter which beams laser radiation to the Earth. The concentrated energy received at the Earth may be converted directly to electricity or indirectly by thermo-mechanical means. The advantages and disadvantages of the different means of sending such concentrated energy to the Earth are discussed. A particularly important objective of this invention is the focussing of sunlight for solar power conversion and production. The instant invention can contribute to the goal of achieving environmentally clean solar energy on a large enough scale to be competitive with conventional energy sources.


Induced Dipole Alignment of Solar Concentrator Balls
US2006150968
2006-07-13

Abstract --- Due to an ever growing shortage of conventional energy sources, there is an increasingly intense interest in harnessing solar energy. The instant invention is concerned with method and apparatus for induced dipole alignment of solar concentrator micro-mirrors. Novel method and apparatus are taught for coupling to, addressing, and alignment of a micro-optics solar concentrator system for single-axis and two-axis tracking. Mirrored micro-balls are covered with a thin spherical shell of lubricating liquid so that they are free to rotate in an almost frictionless encapsulation in the sheet. Novel method and apparatus are presented for matching the overall ball density with that of the lubricating fluid. Broadly this invention deals with novel concepts used for alignment in the focussing of light wherever mirrors are used for focussing such as for solar propulsion assist, illumination and projection of light, optical switching, etc. A particularly important objective is the focussing of sunlight for solar power conversion and production. The instant invention can contribute to the goal of achieving environmentally clean solar energy on a large enough scale to be competitive with conventional energy sources.


Solar Magnetohydrodynamic Power Generation
US2006090747
2006-05-04

Abstract --- A multi-stage solar concentrator ( 10 ) for use in a magnetohydrodynamic (MHD) electrical power generation system or process heating applications, said concentrator including a static planar solar collector ( 11 ), a paraboloidal mirror ( 12 ) receiving photons from the planar solar collector, and a compound parabolic solar concentrator ( 13 ) receiving photons from both said planar solar collector and said paraboloidal mirror. Suitably a solar oven ( 15 ) adapted for use in a fluid circuit of the MHD system or in process heating receives concentrated solar energy from the solar concentrator ( 10 ) via a transparent window ( 14 ).


Adjustable Solar Concentrator
US4106484
1978-08-15

Abstract --- A solar concentrator is provided having means allowing for deformation and precise adjustment of a cylindrical parabolic solar energy reflecting surface of the concentrator. The aforesaid means produces a geometrically correct concentrator surface which can be adjusted after fabrication to provide a sharp solar image on the receiver tube.


Solar Powered Engine and Tracking System
US4144716
1979-03-20

Abstract --- A solar powered engine and tracking system comprises a piston working within a cylinder for turning a drive shaft for driving an electrical generator or performing other useful work, a solar concentrator comprising a plurality of mirrors, each reflecting Sun light on a common focal point on the end of the cylinder for heating a flash boiler located thereon, preheated water from a source is injected into the flash boiler by a pump powered by the drive shaft timed according to piston movement after operating the piston, the steam is then vented from the boiler by valve means operated from the drive shaft. A starter motor is provided to initially start the engine operating by rotating the drive shaft until the piston movement is self sustaining. The entire device is enclosed in a solar energy collector panel for elevating the temperature of the system so as to maintain the water at a sufficient temperature with a minimum of external heating. The collector may also be utilized for separate external heating purposes. Sensor controlled motors track the relative movement of the Sun and Earth and continually position the collector for maximum solar energy concentration.


Solar Concentrator-Collector
US4088120
1978-05-09

Abstract --- A solar heat concentrator-collector comprising, in combination, solar radiation concentrator means and collector means for receiving the concentrated solar energy and providing for conversion of the energy into usable or more readily convertable form. The concentrator means may be any of a variety of concentrators known and used in the art, however the collector means of the present invention functions extremely well with a line focus Fresnel array, the array including a plurality of generally parallelly disposed elongated self-supporting elements or panels each with a reflective surface, and with each element or panel having means for positioning its reflective surface in an operative solar viewing disposition. The collector means when adapted for use with a line focus Fresnel array includes an energy absorbing means such as one or more conduits, each having a fluid heat transfer medium moving therethrough, and with an improved shroud enclosing at least a portion of the collector, the shroud comprising a radiation permeable member having an outer surface concave to the concentrator and defining a transmissive path for a substantial portion of the incident radiation. The configuration of the surface of the radiation permeable member provides a re-entrant path for any radiation which is reflected from the surface thereof. The conduit carrying the heat transfer medium has a closed cross-section such as an elongated member of circular or rectangular cross-section to form a cylinder, or other regular structure, and with the axis of the fluid transfer conduit or conduits being generally parallel to the longitudinal axis of the array of reflective surfaces or panels. A substantial portion of the fluid transfer duct is arranged to view the concentrator means at or along a line substantially at or adjacent the focal point of the concentrator. That portion of the peripheral surface of the collector which comprises the concentrator viewing surface is normally a double-plate or double-glazed arrangement of spaced apart parallelly disposed panels providing a thermal transfer barrier, and the remaining portion of the collector is likewise preferably thermally insulated.


Non-Tracking Solar Concentrator with a High Concentration Ratio
US4052976
1977-10-11

Abstract --- A nontracking solar concentrator with a high concentration ratio is provided. The concentrator includes a plurality of energy absorbers which communicate with a main header by which absorbed heat is removed. Undesired heat flow of those absorbers not being heated by radiant energy at a particular instant is impeded, improving the efficiency of the concentrator.


Refractor-Reflector Radiation Concentrator
US4108540
1978-08-22

Abstract --- A small-area focus solar concentrator comprising a linear echelon refractor and a linear echelon reflector. The increments of the refractor are crossed at approximately 90 DEG to the increments of the reflector. The refractor and reflector cooperate to focus solar radiation incident on the front surface of the refractor to a small area focus in front of the refractor.


Solar Concentrator
US4230094
1980-10-28

Abstract --- A solar radiation concentrator consisting of a refractor in the form of at least one strip of transparent material having on it a pattern of prismatic parallel grooves arranged to refract incident solar radiation onto a trough shaped reflector the opening of which is closed by the said strip, a linearly extending target being arranged within the reflector parallel to the axis of the said strip, the strip and the concentrator having optical properties such that in combination the concentration of solar radiation of the target is maximized so as to permit stationary operation of the concentrator without sun-tracking or seasonal orientation.


Solar Concentrator
US4011858
1977-03-15

Abstract --- An apparatus for collecting solar energy, the apparatus including a parabola shaped reflector around a pipe enclosed in a glass tube, the pipe being located at the focal point of the parabola shaped reflector, so that sunlight rays are reflected thereagainst, so to concentrate their heat thereagainst, the pipe extending outwardly of opposite ends of the reflector, so that water passing through the pipe is thus heated for practical uses, and the reflector being rotatable, so to follow the path of the sun, in order to obtain maximum efficiency therefrom.


Parabolic Solar Concentrator Employing Flat Plate Collector
US4038964
1977-08-02

Abstract --- A combined solar energy collector includes a trough having a generally parabolic cross section, the trough having a reflective inner surface adapted to receive and reflect direct and indirect solar radiation. A flat plate solar collector extends along the apex line of the parabolic cross section, the flat plate collector having means therein defining a circuitous path for a fluid passing therethrough. Means, such as a glass enclosure surrounding the flat plate collector, admits shortwave solar radiation into the flat plate collector and reduces longwave heat reradiation therefrom.


Foldable Solar Concentrator
US3295512
1967-01-03

Photovoltaic cells having a concentrating coverglass with broadened tracking angle
US6091020
2000-07-18

Irradiance Redistribution Guide
US6331061
2001-12-18

High concentration spectrum splitting solar collector
US6469241
2002-10-22


SOLAR CONCENTRATOR PATENTS - FOREIGN

Solar station with Stirling engine
MD20050309
2007-04-30

2 Dimension non-imaging stationary solar concentrator...
HK1094131
2007-03-16

Solar concentrator
HK1058961
2007-06-29

SPACE SOLAR CONCENTRATOR
UA75363
2003-07-15

Solar concentrator for solar energy generation, has solar trajectory projector combined with solar collector and cloud sensor
ES2257914
2006-08-01

Solar concentrator gap and receiver design
IL153537
2005-12-18

SOLAR ENERGY MODULE.
MXPA03006192
2004-12-03

DOUBLE REFLECTING SOLAR CONCENTRATOR.
MXPA02011567
2004-09-06

ELECTRO-OSMOSIS CONVECTION SOLAR DRYER
UA61242
2003-11-17

SOLAR RADIATION CONCENTRATOR
UA61241
2003-11-17

Penetrating type holographic solar concentrator
TW484702Y
2002-04-21

Parabolic solar concentrator made from segmented lenses.
ES2161646
2001-12-01

Cylindrical/parabolic solar concentrator...
ES2116911
1998-07-16

Air filled compartmented buoyant platform for radiant energy collecting apparatus
NZ507279
2003-01-31

Solar concentrator for heat and/or electricity
ZA9601301
1996-09-10

SOLAR CONCENTRATOR WITH LIGHT SCAVENGING REFLECTORS
NZ300540
1998-12-23

SOLAR WATER HEATING APPARATUS AND SOLAR CONCENTRATOR USEFUL THEREWITH
ZA8304737
1984-03-28

Universal integral energy collection and storage method...
BE894248
1982-12-16

Mfg. of solar concentrator with prism
IT1146348
1986-11-12

SOLAR CONCENTRATOR AND ENERGY COLLECTION SYSTEM
EG12993
1980-03-31

A tracking device for a solar concentrator
IN186903
2001-12-08

A TRACKING SOLAR CONCENTRATOR FOR HEATING SUBSTANCES
IN159513
1987-05-23

A SOLAR CONCENTRATOR
IN150578
1982-11-13

A fixed mirror line-focus solar concentrator with cylindrical mirror elements.
IN172328
1993-06-12

No title available
RU2004130819
2006-04-10

SOLAR-ELECTRIC POWER MODULE
RU2210039
2003-08-10

SOLAR-ELECTRIC POWER UNIT
RU2210038
2003-08-10

SOLAR POWER MODULE
RU2201558
2003-03-27

PLANT FOR PRODUCING WATER FROM SNOW AND/OR ICE
RU2164578
2001-03-27

SPACE SOLAR POWER STATION
RU2179137
2002-02-10

SOLAR-ENERGY HEAT-TRANSFER APPARATUS
RU2169318
2001-06-20

SOLAR PHOTOELECTRIC MODULE
RU2135906
1999-08-27

PHOTOELECTRIC MODULE
RU2137258
1999-09-10

RETRACTABLE THIN-FILM SOLAR CONCENTRATOR FOR SPACE VEHICLE
RU2192070
2002-10-27

PHOTOELECTRIC MODULE
RU2106042
1998-02-27

SOLAR CONCENTRATOR WITH VARIABLE FOCAL LENGTH
RU2118764
1998-09-10

INFLATABLE SOLAR CONCENTRATOR
RU2118765
1998-09-10

SOLAR CONCENTRATOR
RU2044225
1995-09-20

SOLAR CONCENTRATOR
RU2032192
1995-03-27

SOLAR CONCENTRATOR
SU1815528
1993-05-15

METHOD OF PRODUCING PARABOLO-CYLINDRICAL SOLAR CONCENTRATOR
SU1486210
1989-06-15

Solar concentrator
FR2539852
1984-07-27

Equipment for producing solar electricity...
FR2819651
2002-07-19

Thermoelectric energy converter and its mode of production
FR2658363
1991-08-16

Electromagnetic wave sensor with substantially parabolic reflector
FR2629643
1989-10-06

Surface coating of the collector tube of a linear parabolic solar concentrator
AU2002346290
2003-01-02

SOLAR CONCENTRATOR WITH FLEXIBLE REFLECTIVE SURFACE
AU6118580
1981-07-16

Nonimaging solar concentrator with uniform irradiance
AU2002257053
2002-10-03

Solar concentrator arrangement
AU5472794
1994-03-24

FRESNAL LENS SOLAR CONCENTRATOR
AU6092886
1987-03-12

BALLOON TYPE SOLAR CONCENTRATOR
AU5803486
1986-11-27

BALLOON TYPE SOLAR CONCENTRATOR
AU598194B
1990-06-21

SOLAR CONCENTRATOR
AU2631584
1984-10-25

LIGHT WAVELENGTH-CONVERTIBLE POLYSTYRENE STRUCTURE
JP57038844
1982-03-03

POLYACRYLATE STRUCTURE CAPABLE OF CONVERTING WAVELENGTH OF LIGHT
JP57028149
1982-02-15

SOLAR CONCENTRATOR
JP61272702
1986-12-03

SOLAR CONCENTRATOR
JP61272708
1986-12-03

SOLAR CONCENTRATOR
JP61272701
1986-12-03

PLANE SOLAR CONCENTRATOR
JP63159812
1988-07-02

SOLAR CONCENTRATOR AND THERMAL STORAGE APPARATUS
JP7027425
1995-01-27

CONCENTRATION AND RADIATION ASSEMBLY OF SOLAR
JP3104800
1991-05-01

CHEMICAL HEAT STORING AND GENERATING DEVICE
JP3244998
1991-10-31

MEMBRANE SEPARATING APPARATUS
JP3065220
1991-03-20

DEVICE FOR TREATING HUMAN WASTE USING SOLAR HEAT
JP7136639
1995-05-30

APPARATUS AND METHOD FOR MEASURING CRYSTALLINE GRAIN SIZE OF STEEL PLATE
JP8145953
1996-06-07

SOLAR CONCENTRATOR AND UTILIZING METHOD FOR CONCENTRATED LIGHT...
JP10104547
1998-04-24

POWER GENERATOR
JP2001196622
2001-07-19

OUTDOOR CONSTRUCTION PROVIDED WITH DOUBLE-SIDED SOLAR CELL PANEL
JP2003166220
2003-06-13

SOLAR HEAT ROCKET
JP2002012198
2002-01-15

ACCELERATED WEATHERING APPARATUS HAVING SEALED WEATHERING CHAMBER
JP2004170407
2004-06-17

REFRACTOR-REFLECTOR RADIATION CONCENTRATOR
CA1097169
1981-03-10

ADJUSTABLE SOLAR CONCENTRATOR
CA1063465
1979-10-02

SOLAR POWERED ENGINE AND TRACKING SYSTEM
CA1105720
1981-07-28

SOLAR ENERGY COLLECTION SYSTEM
CA1140824
1983-02-08

SOLAR CONCENTRATOR AND ENERGY COLLECTION SYSTEM
CA1108952
1981-09-15

Solar powered cooling system
GB2044915
1980-10-22

Solar Reflector Panel
GB2015188
1979-09-05

Solar concentrator
GB2029597
1980-03-19

PHOTOCHEMICAL DIODES AND PHOTO-ELECTROLYSIS USING SUCH DIODES
GB1529189
1978-10-18

Solar concentrator
GB2431513
2007-04-25

Spiral shaped solar concentrator
GB2343741
2000-05-17

BALL-BACKED MIRROR MOUNTED IN A CONICAL DEPRESSION...
GB2255195
1992-10-28

Solar concentrator
GB2181224
1987-04-15

SOLAR CONCENTRATOR
AU3899278
1980-02-21

SOLAR CONCENTRATOR
AU3721778
1979-12-20

SOLAR CONCENTRATOR
AU522513B
1982-06-10

Solar concentrator lens with curved surface
CN1800745
2006-07-12

Photovoltaic modules for solar concentrator
CN1750274
2006-03-22

Plastic transmitting type solar concentrator
CN1595011
2005-03-16

EFFICIENT NON-TRACKING LINE-FOCUSING SOLAR CONCENTRATOR
CN85200333U
1986-01-15

HIGH-EFFICIENEY LINEAR FOCUSING NON-TRACKING SOLAR CONCENTRATOR
CN85100948
1986-07-23

STRUCTURE FOR FORMING HEAT ABSORBER OF SOLAR CONCENTRATOR
KR20020078131
2002-10-18

DEVICE FOR COLLECTING AND USING SUNLIGHT...
KR20040098402
2004-11-20

SOLAR CONCENTRATOR FOR CHARGING ELECTRICITY FROM A SOLAR CELL IN A BATTERY BY COLLECTING AND USING SUNLIGHT
KR20050021742
2005-03-07

FOLDABLE PALABOLIC SOLAR CONCENTRATOR
KR20060027287
2006-03-27

SOLAR CONCENTRATOR
KR200182377Y
2000-05-15

SOLAR CONCENTRATOR
KR0181201B
1999-03-20

PURIFICATION EQUIPMENT USING SUNLIGHT AND WIND POWER
KR20030009255
2003-01-29

DEVICE FOR OBTAINING SUNLIGHT BY SOLAR CONCENTRATOR
KR20020091008
2002-12-05

SOLAR CONCENTRATOR MODULE
KR20030027529
2003-04-07

SOLAR CONCENTRATOR
EP1807870
2007-07-18

REFLECTING SOLAR CONCENTRATOR FOR THE GENERATION OF ELECTRICAL ENERGY
EP1766298
2007-03-28

SPECTRALLY SELECTIVE SURFACE COATING OF THE RECEIVER TUBE OF A SOLAR CONCENTRATOR...
EP1759031
2007-03-07

SOLAR CONCENTRATOR
EP1396035
2004-03-10

SOLAR CONCENTRATOR
EP1301396
2003-04-16

Solar power source with textured solar concentrator
EP0996170
2000-04-26

A RETRACTABLE THIN FILM SOLAR CONCENTRATOR FOR SPACECRAFT
EP1078400
2001-02-28

Concentrating photovoltaic module and fabrication method.
EP0657948
1995-06-14

A solar energy collection system.
EP0065045
1982-11-24

Sun Tracking solar concentrator.
EP0582839
1994-02-1

LUMINESCENT OBJECT AND UTILISATION THEREOF
WO2006088370
2006-08-24

A HEATSINK FOR CONCENTRATING OR FOCUSING OPTICAL/ELECTRICAL ENERGY CONVERSION SYSTEMS
WO2007044384
2007-04-19

COGENERATION PLANT
WO2007023326
2007-03-01

SOLAR CONCENTRATOR
WO2006129104
2006-12-07

SOLAR EARTH MODULE
WO2006128236
2006-12-07

MULTI-JUNCTION SOLAR CELLS WITH AN APLANATIC IMAGING SYSTEM AND COUPLED NON-IMAGING LIGHT CONCENTRATOR
WO2006102317
2006-09-28

SOLAR DESALINATION APPARATUS
WO2006077593
2006-07-27

SOLAR ENERGY COLLECTION APPARATUS AND METHOD
WO2006063450
2006-06-22

SOLAR CONCENTRATOR
WO2006049799
2006-05-11

SOLAR ENERGY CONTROL
WO2006002545
2006-01-12

PLANAR SOLAR CONCENTRATOR POWER MODULE
WO2004001859
2003-12-31

DOUBLE REFLECTING SOLAR CONCENTRATOR
WO03006895
2003-01-23

SELF TRACKING, WIDE ANGLE, SOLAR CONCENTRATORS
WO0155650
2001-08-02

METHOD AND APPARATUS FOR IMPROVED SOLAR CONCENTRATOR ARRAYS
WO0034124
2000-06-15

A RETRACTABLE THIN FILM SOLAR CONCENTRATOR FOR SPACECRAFT
WO9948150
1999-09-23

SOLAR CONCENTRATOR ELEVATIONAL DRIVE MECHANISM
WO9803824
1998-01-29

A ROOF MODULE HAVING AN INTEGRAL SOLAR ENERGY CONCENTRATOR
WO9623115
1996-08-01

NON-TRACKING SOLAR CONCENTRATOR HEAT SINK AND HOUSING SYSTEM
WO9624954
1996-08-15

NON-TRACKING SOLAR CONCENTRATOR HEAT SINK AND HOUSING SYSTEM
WO9506330
1995-03-02

METHOD FOR CHANGING SOLAR ENERGY DISTRIBUTION
WO9428361
1994-12-08
 

Solar heater head for generation of electric current from solar energy
DE4433203
1996-03-21

Multichambered membrane solar concentrator
DE4413056
1995-09-28

Stator-solar concentrator
DE4325299
1995-02-02

Solar concentrator...
DE4009754
1991-01-31

Solar concentrator having concave mirrors
DE3205439
1983-08-25

Solar module with solar concentrator
DE19754047
1998-06-10

Optical concentrator system, especially a solar concentrator...
DE10327124
2004-12-23

Tracking solar concentrator system for generation of electricity
DE10214408
2003-10-09

Tracking solar concentrator system for generation of electricity
DE10150176
2003-04-17