
rexresearch.com
Jas SANGHERA, et al
Transparent Spinel Armor
http://www.nrl.navy.mil/media/news-releases/2015/transparent-armor-from-nrl-spinel-could-also-ruggedize-your-smart-phone
04/23/2015
http://www.redorbit.com/news/technology/1113378767/navy-makes-transparent-bulletproof-material-out-of-clay-042715/
Transparent Armor from NRL
Spinel Could Also Ruggedize Your Smart Phone
byKyra Wiens
Imagine a glass window that's tough like armor, a camera
lens that doesn't get scratched in a sand storm, or a smart
phone that doesn't break when dropped. Except it's not glass,
it's a special ceramic called spinel {spin-ELL} that the U.S.
Naval Research Laboratory (NRL) has been researching over the
last 10 years.

Dr. Jas Sanghera of NRL
Dr. Jas Sanghera and colleagues at the U.S. Naval Research
Laboratory (NRL) invented a new way of making transparent
spinel. "The advantage [of spinel] is it's so much tougher,
stronger, harder than glass," says Sanghera. "For
weight-sensitive platforms—UAVs [unmanned autonomous vehicles],
head-mounted face shields—it's a game-changing technology."
Spinel also could be used for watches and consumer electronics,
like the smart phone. (Photo: U.S. Naval Research
Laboratory/Jamie Hartman)
"Spinel is actually a mineral, it's magnesium aluminate," says
Dr. Jas Sanghera, who leads the research. "The advantage is it's
so much tougher, stronger, harder than glass. It provides better
protection in more hostile environments — so it can withstand
sand and rain erosion."
As a more durable material, a thinner layer of spinel can give
better performance than glass. "For weight-sensitive
platforms-UAVs [unmanned autonomous vehicles], head-mounted face
shields — it's a game-changing technology."
NRL invented a new way of making transparent spinel, using a hot
press, called sintering. It's a low-temperature process, and the
size of the pieces is limited only by the size of the press.
"Ultimately, we're going to hand it over to industry," says
Sanghera, "so it has to be a scalable process." In the lab, they
made pieces eight inches in diameter. "Then we licensed the
technology to a company who was able then to scale that up to
much larger plates, about 30-inches wide."
The sintering method also allows NRL to make optics in a number
of shapes, "conformal with the surface of an airplane or UAV
wing," depending on the shape of the press.
In addition to being tougher, stronger, harder, Sanghera says
spinel has "unique optical properties; not only can you see
through it, but it allows infrared light to go through it." That
means the military, for imaging systems, "can use spinel as the
window because it allows the infrared light to come through."
NRL is also looking at spinel for the windows on lasers
operating in maritime and other hostile environments. "I've got
to worry about wave slap and saltwater and things like that, and
gun blasts going off—it's got to be resistant to all that. And
so that's where spinel comes into its own," says Sanghera.
Says Sanghera, "Everything we do, we're trying to push the
mission. It's designed to either enable a new application, a new
capability — or enhance an existing one."
What is spinel?
Spinel pressed into rectangle -- The U.S. Naval Research
Laboratory uses a hot press to make spinel into conformable
optics, like this flat sheet. "Ultimately, we're going to hand
it over to industry," says Dr. Jas Sanghera, who leads the
research, "so it has to be a scalable process." In the lab, they
made pieces eight inches in diameter. "Then we licensed the
technology to a company who was able then to scale that up to
much larger plates, about 30-inches wide." (Photo: U.S. Naval
Research Laboratory/Jamie Hartman)
Spinel can be mined as a gemstone; a famous example is the Black
Prince's Ruby, which is actually spinel with a color dopant. NRL
chemists have also synthesized their own ultra-high purity
spinel powder, and other synthetic versions are commercially
available. "The precursors are all earth abundant, so it's
available in reasonably low cost," says Sanghera.
The spinel NRL makes is a polycrystalline material, or a lot of
crystal particles all pressed together. Whereas with glass, "A
crack that forms on the surface will go all the way through,"
spinel might chip but it won't crack. "It's like navigating
through the asteroid belt, you create a tortuous path: if I have
all these crystals packed together, the crack gets deflected at
the hard crystals: you dissipate the crack energy."
A manufacturing process that's transferable and scalable
When scientists first started trying to make glass-like spinel,
they were using a crucible instead of a press. "A big problem
with growing crystals is that you have to melt the starting
powder at very high temperatures, over 2000 degrees Celsius,"
says Sanghera. It's expensive to heat a material that high, and
additionally, "the molten material reacts with the crucible, and
so if you're trying to make very high quality crystals, you end
up [with a] huge amount of defects."
That's why Sanghera and his colleagues turned to sintering. "You
put the powder in [a hot press], you press it under vacuum,
squash this powder together—and if you can do that right, then
you can get rid of all the entrapped air, and all of a sudden it
comes out of there clear-looking."
Hot press in NRL spinel lab -- The U.S. Naval Research
Laboratory uses a hot press to make spinel, a process called
sintering. It’s much less expensive than melting, and the size
of the pieces is limited only by the size of the press. Says
lead researcher Dr. Jas Sanghera, "You put the powder in [a hot
press], you press it under vacuum, squash this powder
together—and if you can do that right, then you can get rid of
all the entrapped air, and all of a sudden it comes out of there
clear-looking." To further increase the quality of the optic,
"You can grind and polish this just like you would do gems."
(Photo: U.S. Naval Research Laboratory/Jamie Hartman)
If the press has flat plates, the spinel will come out flat.
"But if I have a ball and socket joint, put the powder in there,
I end up with a dome shape," says Sanghera, "so we can make near
net shape product that way."
NRL was not the first to try sintering. But previous attempts
had yielded "a window [where] most of it would look cloudy, and
there would be an odd region here and there—about an inch or
so—that was clear, and that would be core-drilled out."
So NRL deconstructed the science. They started with purer
chemicals. "Lousy chemicals in, lousy material out," says
Sanghera.
Then they discovered a second problem, with the sintering aid
they were adding to the spinel powder. "It's about one percent
of a different powder, in this case lithium fluoride," says
Sanghera. This "pixie dust" is meant to melt and "lubricate the
powder particles, so there's less friction, so they can all move
together during sintering." They were putting the powders
together in shakers overnight, but, "The thing is, on a scale of
the powder, it's never mixed uniformly."
Understanding the problem led to a unique solution for enabling
uniform mixing. Now, "there's only one pathway for
densification," and the spinel will come out clear across the
press.
To further increase the quality of the optic, "You can grind and
polish this just like you would do gems," says Sanghera. This is
the most costly part of the process. "One of the things we're
looking at is, how do we reduce the finishing cost?" The surface
of the press is imprinted onto the glass. "If we can improve
upon that," he says, "make that mirror finished, then—and so
that's where we get into a little bit of IP [intellectual
property], is what's the best way to do that?"
For both the Department of Defense (DoD) and private industry,
"Cost is a big driver, and so it's important for us to make
product that can be affordable."
Unique applications for military and commercial use
"There are a lot of applications," says Sanghera. He mentions
watches and consumer electronics, like the smart phone, as
examples.
The military in particular may want to use spinel as transparent
armor for vehicles and face shields. A "bullet-proof" window
today, for example, has layers of plastic and glass perhaps five
inches thick. "If you replaced that with spinel, you'd reduce
the weight by a factor of two or more," says Sanghera.
The military's also interested in using spinel to better protect
visible and infrared cameras on planes and other platforms.
Glass doesn't transmit infrared, so today's optics are made of
"exotic materials that are very soft and fragile," and have
multiple layers to compensate for color distortions. "So that's
what we've been doing now, developing new optical materials,"
says Sanghera. Spinel windows could also protect sensors on
space satellites, an area Sanghera's interested in testing.
"You could leave these out there for longer periods of time, go
into environments that are harsher than what they're
encountering now, and enable more capabilities," he says."
Technician cleans infrared camera -- A technician cleans
an infrared camera from the deck of the USS Cleveland (LPD 7).
The U.S. Naval Research Laboratory (NRL) is making transparent
ceramics, called spinel, that could one day replace the glass in
military imaging systems. In maritime and other hostile
environments, "I've got to worry about wave slap and saltwater
and things like that, and gun blasts going off," says optical
scientist Dr. Jas Sanghera. "And so that's where spinel comes
into its own." In addition to being tough, spinel has "unique
optical properties; […] it allows the infrared light to come
through." (Photo: U.S. Navy/Mass Communication Specialist 2nd
Class Michael Russell)
NRL is also looking at spinel (and other materials) for next
generation (NEXTGEN) lasers. "Lasers can be thought of as a box
comprised of optics," he says. "There's passive and there's
active components: passive is just a protective window; active
is where we change the color of light coming out the other end."
For passive laser applications, like exit apertures (windows),
the key is high quality. "That window, if it's got any
impurities or junk, it can absorb that laser light," says
Sanghera. "When it absorbs, things heat up," which can cause the
window to break. Sanghera and his colleagues have demonstrated,
working with "ultra high purity" spinel powder they've
synthesized in NRL clean rooms, spinel's incredible potential.
For active laser applications, they've demonstrated how
sintering can be used with materials other than spinel to make a
laser that's "excellent optical quality." Instead of spinel,
they use, "things like yttria or lutecia [and] and dope them
with rare earth ions."
NRL has transitioned both types of laser materials and
applications to industry.
What makes NRL tick is solving problems
Sanghera came to NRL in 1988, after completing his PhD at the
Imperial College, London in materials science. "Little by
little—talking to people, asking questions, going to
conferences—you find out that what makes this place tick is
solving problems," he says. "No two days are the same, it's very
exciting."
Spinel pressed into a domeT -- he U.S. Naval Research
Laboratory (NRL) presses spinel powder into transparent domes,
sheets, and other shapes. "For weight-sensitive platforms—UAVs,
head-mounted face shields—it's a game-changing technology," says
Dr. Jas Sanghera, who leads the research. If the press has flat
plates, the spinel will come out flat. "But if I have a ball and
socket joint, put the powder in there, I end up with a dome
shape." (Photo: U.S. Naval Research Laboratory/Jamie Hartman)
He first worked with glass, drawing it into optical fibers, and
a lot of his success with spinel comes from that heritage of
insisting on purity and quality. "An optical fiber's very long:
it can go from 1 meter to 100s of kilometers. Purity's very
important, because if there's any junk in there, the light will
either be absorbed or it can be scattered."
His lab also makes lightweight, inexpensive fibers for infrared
countermeasures applications on helicopters and other platforms.
By weaving it through the platform, "This fiber can remote the
energy from the laser, which is inside the platform, to a device
on the outside, which can then track and then shoot the laser
beam out, confuse the missile."
He acknowledges, "In DoD, we are the premier place for
development of fiber lasers. It's something we are heavily
involved with, all the different types of fibers and
configurations and materials required to enable these eye-safer
and NEXTGEN lasers."
Sanghera says that there's evolution, like enhancing an existing
capability by improving size, weight, and performance/power
(SWAP); "But revolution is when you come up with some new idea,
you just enabled completely new capabilities." For that, he
credits the many different disciplines NRL brings together. "We
have a lot of smart people, we have a lot of what I call
head-banging sessions, where we discuss new ideas and
opportunities. If you don't ask the questions, you won't get
answers and you won't stimulate new ideas."
He also credits a close relationship with industry and with
those NRL serves. "We talk to the warfare centers, the systems
people—so that what you're doing really is going to be of value.
There's already the application there in mind, and we're just
trying to solve that problem; so it's very focused in that
sense."
Jas SANGHERA, et al
US7611661
Spinel and process for making same
Inventor: VILLALOBOS GUILLERMO // SANGHERA JAS et al
Applicant: US NAVY
This invention pertains to product and process. The product is a
transparent product of a density in excess 99.5% comprising
spinel and having uniform mechanical properties. The process
pertains to fabrication of a transparent spinel product
comprising the steps of dissolving a sintering aid in water to
form a neutral sintering aid solution, adding a suitable
additive to the sintering aid solution, applying the sintering
aid solution to spinel particles to form a spinel dispersion,
sub-dividing or atomizing the spinel dispersion to form droplets
comprising one or more spinel particles coated with the final
spinel solution, drying the droplets to form dried coated
particles comprising one or more spinel particles coated with a
dried layer of the sintering aid, and densifying the dried
coated particles to form a transparent spinel product having,
uniform optical and mechanical properties in absence of grains
of exaggerated size.
BACKGROUND OF THE INVENTION
1. Field of the Invention
This invention pertains to the field of sintered ceramics,
particularly magnesium aluminum spinel, and to a process for
preparing sintered ceramic articles from ceramic powders.
2. Description of Related Art
Sintering is defined as the act of consolidating powder into a
dense shape. The powder being sintered must additionally not
melt to a great extent, some melting of secondary phases in the
powder, or surface melting is allowed under this definition. If
the material completely melts, the process is referred to as
fusion casting. Sintering, both presureless and with pressure,
or hot pressing, requires solid, liquid or gas material
transport to consolidate an aggregate of loose powder particles
into a dense shape. In the case of porcelains and clay products,
secondary phases do melt and “glue” the primary solid particles
together with a glassy phase. These types of systems were the
first to be used due to their ease of sintering. However,
advanced ceramics do not have these intrinsic sintering aids and
they must therefore, be added. For small samples, the powdered
sintering aids are mixed with the powder to be sintered with a
mortar and pestle. In larger samples, mixing is accomplished by
ball milling, attritor milling, high shear wet milling, and
variations or combinations of these methods.
Spinel is defined as a crystalline structure of the type AB2O4
where A is a 2+ cation occupying tetrahedral lattice site in an
oxygen cubic close packed structure and B is a 3+ cation
occupying octahedral lettice site. In a preferred embodiment,
spinel is MgAl2O4 consisting of an oxide of magnesium and
aluminum. Spinel powder can be prepared by wet chemistry, solid
state diffusion of oxides or calcination. Spinel powder
particles consist of crystallites which are less than 500 nm in
size that can also be agglomerated into larger sizes varying
from 500 nm to 100 µm, more typically 1-50 µm.
Spinel is important because it is strong and transparent from
visible to 5.5 µm wavelength. Its mechanical properties are
several times greater than that of glass and make it a leading
candidate for use as a transparent armor and window material.
Commercially, it can be used as a stronger and thinner window
for many applications including lap top computers, cell phones,
automotive glassing and headlamps, aerospace windshields, and
industrial blast shields.
Dense, transparent spinel articles are not currently available
from a commercial source although there are companies currently
trying to develop a viable manufacturing process. Since there is
no viable manufacturing process, the cost of spinel products is
so high that even the military avoids its use.
Difficult to sinter materials, such as spinel, are typically
mixed with a sintering aid or a secondary material that aids in
densification. The sintering aids work in a variety of fashions.
The sintering aids may liquefy at or somewhat below the primary
material's densification temperature thereby promoting liquid
phase sintering. Certain sintering aid materials exhibit higher
solid-state diffusion coefficients than the primary material's
self-diffusion coefficient. The secondary material may
conversely have a lower solid-state diffusion coefficient that
prevents exaggerated grain growth and promotes grain boundary
refinement and pinning. The sintering aid may also simply clean
or etch the primary material's surfaces thereby enhancing
solid-state diffusion. These are broad examples of the
mechanisms by which sintering aids enhance densification. In
actual practice, sintering aids may not fit into just one of the
categories outlined and the same aid may have different
functions in different material systems, or have no effect in
other systems.
Sintering aids tend to be solid inorganic particles at room
temperature. Sintering aid particles henceforth are defined as
comprising crystallites (?500 nm), crystals (>500 nm), and
agglomerates of crystallites and/or crystals. Since the
materials to be densified are generally also solid inorganic
particles, the two materials must be mixed homogeneously for the
sintering aid to be effective. This is accomplished by some form
of mechanical mixing. However, due to the nature of
particle-particle interactions, the mixture is far from
homogeneous. Inhomogeneity in the mixture results in areas that
have too much sintering aid and other areas that have little or
no sintering aid. This is a major problem in the fabrication of
transparent ceramics, electronic ceramics, and in high tech
refractory ceramics.
The Sellers et al U.S. Pat. No. 3,768,990 discloses an optical
element having transparency in the visible and infrared wave
lengths that is made by heating at an elevated temperature a
composition having sub-micron particle size of magnesium oxide
and aluminum oxide having uniformly mixed therethrough 0.2-4% by
weight of powdered LiF. It is believed that optical and
mechanical properties of the Seller's optical element are
negatively impacted by the inhomogeneous presence of substantial
amount of LiF. This leads to microstructural regions that are
highly porous and other microstructural regions that exhibit
exaggerated grain growth, all of which lead to inferior optical
and mechanical properties. This has prevented the use of spinel
in practical applications since the Seller's patent issued in
1973. Furthermore, it is believed that the atomic concentrations
of lithium and fluorine will be greater than about 1000 ppm and
100 ppm, respectively due to the fact that LiF is well known to
react with alumina, which Seller's uses as a starting powder.
OBJECTS AND BRIEF SUMMARY OF THE INVENTION
It is an object of this invention to make spinel products or
products that contain spinel that are moderately priced.
It is another object of this invention to increase transmission
of spinel products from about 5% at 0.525 µm, which is
relatively opaque, to at least 50% at 0.525 µm, which is
transparent.
It is another object of this invention to eliminate or reduce
the Hot Isostatic Pressing (HIP) procedure in the fabrication of
the spinel products.
Another object of this invention is the more uniform
distribution of the sintering aid on the spinel particles.
Another object of this invention is to increase densification of
sintered spinel products beyond 99.8%.
Another object of this invention is the more complete and more
uniform covering on surfaces of the spinel particles by a
sintering aid which is achieved by dissolving the sintering aid
in a solvent to create a sintering aid solution and then adding
the spinel particles in the sintering aid solution to form a
dispersion, also referred to as a ceramic dispersion.
These and other objects of this invention can be achieved by a
transparent spinel product that is fabricated by sintering and
densifying spinel powder in absence of the HIP procedure by
dissolving a sintering aid in a solvent to form a sintering aid
solution, adding spinel particles in the sintering aid solution
to form a dispersion, maintaining the dispersion in a state
which discourages precipitation of the solid sintering aid,
spray-drying the dispersion to form spinel particles coated with
a sintering aid, and densifying the coated spinel particles to
form a transparent product.
BRIEF DESCRIPTION OF THE DRAWINGS
FIG. 1 is a schematic illustration of the process of
coating spinel particles with LiF sintering aid and formation
of the final densified MgAl2O4 product;
FIG. 2 is a schematic illustration of a preferred
spray-drying system;
FIG. 3 is a graph of percent (%) Transmission versus
Wavelength of densified spinel products wherein the curve
marked #1, representing prior art, is mechanically mixed
spinel particles with 0.5% by weight LiF sintering aid as
opposed to spray-dried spinel particles with 0.5% by weight
(curve #2) and 2.0% (curve #3) LiF sintering aid, which
represent the invention herein. Curve #4 represents
theoretical transmission.
FIG. 4 is a representation of three discs made from
coated spinel particles and correspond to curves #1, #2 and #3
in FIG. 3 showing pictorially opaque disc #1, which represents
prior art, and transparent discs #2 and #3, which represent
this invention.
FIG. 5 is a table showing relative parameters of spinel
(MgAl2O4) and glass;

DETAILED DESCRIPTION OF THE INVENTION
This invention pertains to a sintered and transparent spinel
product and to a process for making it which is characterized by
spraying a dispersion consisting of spinel particles in a
sintering aid solution to form spinel particles coated with the
sintering aid. The sintering aid coating on the spinel particles
need not be continuous, although it should be sufficient to
prevent a large number of sites where the particles contact each
other without an intervening layer of a sintering aid.
The sintered and densified spinel product of this invention is
novel and unobvious when compared to prior art. Preparation of a
spinel product by prior art procedure yields a product that is
not transparent but opaque afrer hot pressing and requires
extended HIPing to render the product transparent, however, with
consequent loss of optical and mechanical properties. To explain
more fully, the prior art product can be made transparent by
extending the HIPing procedure beyond the customary period of on
the order of a day, however, prolonging the hot processing
and/or the HIPing procedure introduces exaggerated grain growth
which renders the resulting product non-uniform in terms of
optical and mechanical properties such as elastic modulus,
flexure strength and fracture toughness, properties which are
paramount for spinel character. The novel and unobvious product,
made in absence of the HIP procedure, as described herein, is
transparent over the wavelength range of about 0.3-5.5 µm, has
uniform optical and mechanical properties and its grains are
smaller than about 1 mm, typically smaller than about 500 µm.
The spinel product of this invention does not have the
exaggerated grain growth or is essentially devoid of grains of
exaggerated size. There are no grains larger than about 1 mm.
Exaggerated grain growth typically leads to grains that are
greater than 3 times larger to several orders of magnitude
larger than an average sized grain. Transparency of the spinel
product of this invention, made in the manner disclosed herein
and in absence of the HIP procedure, is above about 50% and up
to about 90%.
In the preparation of the sintered spinel product of this
invention, the sintering aid, such as LiF or any other suitable
sintering aid such as NaCl, NaF, LiCl, etc., is dissolved in a
suitable solvent, typically water, to form a sintering aid
solution. The sintering aid can be in any condition, however, it
is typically particulate with particle sizes in the range of 500
nm-10 µm. This, of course, is not important because the
sintering aid is eventually dissolved to form a sintering aid
solution. To enhance spraying of the sintering aid solution,
ethanol or isopropanol or another suitable diluent is admixed
with the aqueous sintering aid solution to form a modified
sintering solution, which henceforth is referred as the
sintering aid solution. Aqueous solution of LiF by itself is not
readily sprayable using an ultrasonic atomizer in absence of a
low surface tension/viscosity liquid component, which is
typically a suitable additive, such as an alcohol. The
overriding consideration in adding another component to water is
to enhance solubility of the sintering aid and the sprayability
of the modified sintering aid solution. If the sintering aid is
other than LiF, other component(s) known to a person skilled in
the art may be used. A typical sintering aid solution is
prepared by admixing 0.2 g LiF sintering aid, 220 ml water, and
780 ml ethanol or another like component. Typically, the ratio
of the components is on this order of magnitude. The sintering
aid solution should not contain too much sintering aid, such as
about in excess of about 10% by weight.
Coating of the spinel particles can be effected in any desired
manner in order to deposit a uniform layer of the sintering aid
on the particles. The sintering aid coating can be applied onto
the spinel particles in any suitable manner such as in a
fluidized bed, by a wet chemistry technique, by CVD, plasma
enhanced CVD, laser assisted deposition, by sputtering, by an
evaporation technique, and the like. The coating need not be
continuous, but should be sufficient to prevent a large number
of sites where the particles contact each other without an
intervening layer of a sintering aid material. Spraying of the
final sintering aid solution can also be used to deposit at
least a monolayer of the sintering aid on the spinel particles.
Another way of accomplishing this objective is simply to immerse
the spinel particles in the final sintering aid solution until
the spinel particles acquire a coating of the sintering aid of
sufficient thickness and sufficient uniformity.
The sintering aid solution is maintained in a state where it is
on the spinel particles and the sintering aid is in solution and
not precipitated on the spinel particles. This may require
adjustment of temperature, pH, and/or another parameter(s) to
discourage precipitation of the sintering aid on the particle
surface. If the sintering aid is LiF, precipitation thereof can
be discouraged or prevented by maintaining a neutral pH of about
7 of the sintering aid solution.
The spinel particles are typically in the range of 500 nm to 100
µm and amount of the sintering aid on the spinel particles is
typically 0.05-10% on weight basis, more typically 0.1-2% by
weight of the spinel particles. FIG. 1 is illustrative of the
coating process and shows spinel particles 12 coated with
sintering aid 14, sintered to produce product 16. Spinel
particles must be insoluble in mixtures of water and the
additives used.
The dispersion resulting when spinel particles are mixed with
the sintering aid solution is delivered to an atomizer where the
dispersion is sprayed, causing sub-division into droplets which
are transported into a drying zone where vaporizable matter is
removed from the droplets and the solid coating is formed
thereon. The droplet size can be up to 1000 µm but is typically
up to 500 µm, more typically 5 nm to 250 µm, and especially 50
nm to 50 µm. Any suitable atomizer can be used, including
mechanical, piezoelectric (ultrasonic) and electrostatic, as
long as droplets containing the desired number of spinel
particles are formed and the preponderance of resulting coated
droplets are completely or hermetically sealed or coated.
Whatever atomizer is used, chemistry of the dispersion should be
such as to prevent premature precipitation of the coating on the
spinel particles, and the droplets issuing from the atomizer
should contain at least one of the spinel particles per droplet.
Typically, an ultrasonic atomizer is used at a variable
frequency since size of a droplet can be controlled by varying
atomizer frequency. For instance, at atomizer frequency of 20
kHz, droplets of about 90 µm can be formed; at frequency of 40
kHz, droplets of about 45 µm can be formed; and at 80 kHz,
droplets of about 20 µm can be formed. As is apparent, the
inverse relationship between atomizer frequency and the droplet
size can be used to control the droplet size.
The higher the temperature in the drying zone, the shorter
residence time is required of the droplets in the zone to have
the vaporizable matter removed from and the coating formed
thereon. The temperature in the zone should be high enough to
drive-off volatile matter from the particles but not so high as
to impart thermal damage to the particles or the coating.
Furthermore, temperature in the zone should be high enough to
drive-off volatiles from the droplets in a reasonable or desired
time, which can be adjusted by changing temperature in the zone,
with higher temperature in the zone reducing residence time of
the droplets to form dry, coated particles. Typically, depending
on many factors, temperature in the drying zone should be in
excess of about 100° C. and below 600° C., more typically 200°
C.-500° C.; and speed of the droplets through the drying zones
in the droplet direction is typically 0.1-1000 cm/sec, more
typically 50-500 cm/sec. When moving in the zone, the droplets
are entrained in hot air or in an inert gas or a reactive gas.
Residence time in the zone is instantaneous to a fraction of a
minute, typically 0.1-10 seconds.
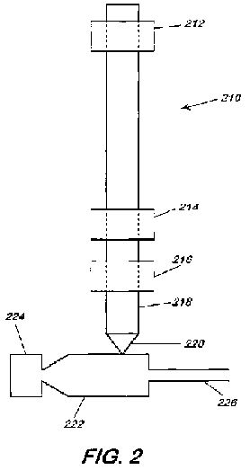
FIG. 2 illustrates a preferred spray drying system 210 composed
of a pair of 5-foot long silica tubes of 1/8 of an inch in wall
thickness joined end to end to form a continuous vertically
disposed conduit about 10 feet long. The spinel dispersion is
taken to an atomizer and introduced into the drying system
through the top. Three heat or drying zones 212, 214, 216, are
arranged around the conduit. The first heating zone 212 is
disposed around the upper portion of the conduit but about 3/4
of a foot below the top of the conduit where it maintains a
temperature of 150° C. within the conduit; the second heating
zone 214 is disposed around the lower portion of the conduit and
spaced 5 feet below the bottom of the first heating zone where
it maintains a temperature of 350° C. within the conduit; and
the third heating zone 216 is disposed around the bottom portion
of the conduit and spaced half a foot below the bottom portion
of the second heating zone where it maintains a temperature of
430° C. Below the third heating zone 216 is a 2-foot long
section 218 that is a continuation of the conduit and below
section 218 is a half-foot long conical section 220 which
terminates in an opening 2 inches in diameter. If temperature in
the sections is not sufficiently high, LiF sintering aid will
remain wet and the droplets will stick together, however, if the
droplets are dried too fast, the deposited LiF will spall off
the spinel droplets. If the given temperature profile disclosed
herein is adhered to, satisfactory drying in a reasonable time
is attained.
Below conical section 220 is cyclone separator 222 wherein the
coated particles (dried droplets) are separated from the gas
stream and left in collection bin 224. Suction hose 226
transports the gaseous components to exhaust. Coated particles
from the collection bin are taken to densification.
The spray-dried coated particles, which can contain at least one
spinel particle, are hot-pressed in an inert atmosphere at about
1550° C. and 5000 psi for about 2 hours to obtain a transparent
monolithic sintered spinel product of less than 0.2% porosity.
When in the hot press, minimal pressure of about 50 psi is
initially applied until the coated spinel powder starts to
densify at about 1100° C. and thereafter, pressure is raised to
about 5000 psi when a temperature of about 1450° C. is reached.
In a preferred embodiment, the heating schedule in this
densifying procedure, which is conducted under initial vacuum of
about 10<-4 >Torr, includes about a 20° C./minute ramp
from ambient temperature to 950° C., about a half hour hold to
allow the sintering aid LiF to melt and clean/etch the spinel
particle surfaces, another 20° C./minute ramp to 1200° C.,
another half hour hold to allow vaporized sintering aid to leave
the hot press, still another 20° C./minute ramp to about 1550°
C., a 2-hour hold to fully density the spinel powder into a
transparent shape, and turning off the heating elements and the
hydraulic pump to allow pressure to bleed-off and temperature of
the product in the hot press to cool to about room temperature
under a vacuum of less than 10<-3 >Torr. Melting point of
LiF is 850° C. and its boiling is about 2000° C. but starts
vaporizing above its melting point. The heating and pressure
schedule can be modified to accommodate other sintering aids.
In densifying the coated particles, it is important to keep in
mind the necessity of removing the sintering aid, such as LiF,
at the lowest possible temperature below about 1000° C. to a
level below about 500 ppm lithium from the sintering aid LiF,
more typically below about 100 ppm lithium, and below about 50
ppm fluorine from the sintering aid LiF, more typically below
about 10 ppm fluorine, hereafter, referred to as essentially
devoid of the sintering aid components, in this case lithium and
fluorine. It is necessary to abide by these limits since at
higher temperatures, reaction between the sintering aid and
spinel is made more likely with the imminent production of
impurities, such as lithium aluminate, lithium aluminum
oxyfluoride and lithium aluminum fluoride which may negatively
affect properties, such as the optical and mechanical
properties.
Although the HIP procedure is typically omitted in this novel
and unobvious process, and thus the cost of resulting product is
reduced by 1/3 to 1/2, it may be desirable to subject the
product of this invention to the HIP procedure of short duration
to positively alter transparency, porosity or some other
parameter(s) of the product. The HIP procedure for a sintering
aid, like LiF, is carried out in an inert atmosphere at
temperature above 1500° C., such as about 1750° C., and at a
pressure above 20,000 psi, such as about 30,000 psi, to obtain a
transparent product of porosity on the order of less than 0.2%.
Duration of the HIP procedure in the past has been 1 day,
however, with the process of this invention, HIP duration may be
as short as about 1 hour and is typically 1-4 hours, when used.
Generally, density of spinel products should be greater than
99.5% to have transparency since such products with density of
less than about 99.5% are milky white and opaque.
The novel process disclosed herein is unobvious since it yields
a transparent product after hot pressing in absence of the HIP
procedure; reduces hot pressing conditions, provides for better
reproducibility; increases yield; provides for smaller average
grain size; reduces porosity; and minimizes exaggerated grain
growth. Generally, the smaller and the more uniform grain size,
the better the optical properties, up to a point. Once the
particles become too small, such smaller than about 0.05 µm,
strength, and possibly other parameters are negatively impacted.
FIG. 3 is a graph which shows variation of transmission at
different wavelengths of light with the manner of preparing
sintered and densified spinel experimental disks which were 1?
in diameter and 1 mm in thickness. The disks were polished,
first with SiC and then with diamond before use. The curves in
FIG. 3 are identified as #1, #2, #3 and #4. Curve #1 was made by
testing disks prepared by mechanical mixing 0.5% by weight of
the sintering aid LiF with spinel particles, and is not
representative of the invention herein: curve #2 was made by
testing disks prepared by spraying 0.5% by weight of the
sintering aid LiF pursuant to the invention herein; curve #3 was
made by testing disks prepared by spraying 2% by weight of the
sintering aid LiF pursuant to the invention herein; and curve #4
represents theoretical or a solid monolith of spinel MgAl2O4
where porosity was essentially zero. Data for the theoretical
curve #4 was obtained from literature. Spinel powder particles
that were used to prepare disks #1, #2 and #3 correspond to
curves #1, #2 and #3 of FIG. 3, were in the range of 500 nm-10
µm. In preparing disk #1, the spinel particles and the
particulate LiF sintering aid were mixed in a mortar and pestle
for about 5 minutes whereas for disks #2 and #3, a sintering aid
(LiF) solution was prepared, as described above, and used to
spray-dry a LiF coating on the spinel particles. For disks #1,
#2 and #3, densification in a hot press was carried out at
initial vacuum of 110 Torr pursuant to the following schedule:
20° C./minute ramp from ambient to 950° C.; 30-minute hold
period; another 20° C./minute ramp from 950° C. to 1200° C.;
another 30-minute hold period; another 20° C./minute ramp from
1200° C. to 1550° C.; 2-hour hold period; and an extended cool
down and pressure bleed-off period. Transparency or opacity of
the disks corresponding to the curves #1, #2 and #3 is
illustrated in FIG. 4 where disk #1 is shown as being opaque,
disk #2 is shown as being partially transparent, and disk #3 is
shown as being transparent. From FIG. 3, it is apparent that in
the visible region of 0.4-0.7 µm, only disk #3 reaches
transparency in the area of about 55%. It should be noted that,
based on the data for curve #4 in FIG. 3, transmission drops
from about 80% to about nil at a wavelength of about 0.3 µm.
The coating thickness on the particles can be varied, inter
alia, by adjusting dilutions of the coating solution and/or by
adjusting frequency of the atomizer; if an ultrasonic atomizer
is used. For purposes herein, it has been found that coating
thickness in the range of 1-1000 nm, more typically 2-200 nm is
suitable. Uniformity of coating thickness was confirmed by
scanning electron microscopy.
FIG. 5 shows superior properties of the magnesium aluminum
spinel product compared to glass.
Having described the invention, the following examples are given
as particular embodiments thereof and to demonstrate the
practice and advantages thereof. It is understood that the
examples are given by way of illustration and are not intended
to limit the specification or the claims in any manner.
EXAMPLE 1
This example details the use of lithium fluoride (LiF) sintering
aid as a coating on magnesium aluminate (MgAl2O4) spinel
particles. The use of LiF coating allows the hot pressing of the
coated spinel particles in an inert atmosphere into a sintered
transparent shape that has 70% transmission, as is detailed in
Ex. 2.
The sintering aid in this example was 0.2 grams of LiF powder
with a particle size in the range of 500 nm-10 µm. The LiF was
initially dissolved in 220 ml of deionized water by mixing for
about a quarter of one hour followed by addition of 780 ml of
ethanol with mixing for about another quarter of one hour.
Ten grams of the spinel powder was mixed with the LiF sintering
aid solution to form a dispersion that was delivered to an
ultrasonic atomizer at a rate of 30 ml/minute using a metering
pump and sprayed. The LiF sintering aid solution was at a
neutral pH of about 7 which prevented LiF dissolved in the
solution from precipitating on the spinel particles in the
dispersion. The atomizer was operated at a frequency of 40 kHz
and produced a fine stream of 45-micron droplets, containing 1-3
spinel particles, that were passed through a drying system
illustrated in FIG. 2 at a rate of about 9 cm/second before
being collected in a cyclone separator to form dried coated
particles.
The droplets from the atomizer were introduced into the dryer
system where the first drying zone was 1 foot from the top and
temperature therein was 150° C. The second drying zone was 4
feet from below the first and was also 1 foot in length, as were
all the others, but its temperature was 350° C. The third drying
zone was 1/2 foot below the second and its temperature was 430°
C. Below the third drying zone, there was a 2-foot straight
section followed by a three quarter of a foot conical section.
The dried coated particles issuing from the conical section
through a 2-inch opening were directed to a cyclone separator
where the dried coated particles were separated and kept in a
bin and the gaseous components were removed through the suction
hose. The coated particles from the bin were later removed to be
densified. The coated particles were characterized by X-ray
diffraction, scanning electron microscopy, and x-ray
fluorescence. The coated particles were characterized as
containing spinel (MgAl2O4) particles with a LiF coating.
EXAMPLE 2
This example provides details as to densification of the dried
coated spinel particles prepared in the manner described in Ex.
1, above. The product had transmission of 70% and was prepared
in a manner that did not include the expensive HIP procedure.
The coated particles in powder form and prepared as described in
Ex. 1, above, were placed in grafoil-lined graphite hot press
die and the die was placed in an inert argon atmosphere (or a
vacuum of 10<-4 >Torr). Minimal pressure was applied until
the powder started to densify at about 1100° C. and pressure was
stepped up to about 5000 psi when the temperature of about 1450°
C. was attained. The heating schedule included a 20° C./minute
ramp from ambient to 950° C., a 30-minute hold to allow LiF to
melt and clean/etch the spinel particle surfaces, a 20°
C./minute ramp from 950° C. to 1200° C., a 30-minute hold to
allow vaporized LiF, and probably other components, to escape
the hot press die, a 20° C./minute ramp to 1550° C., and a
2-hour hold to fully density the spinel powder into a
transparent shape. The heating elements and the hydraulic pump
were then turned off to allow natural cooling of the hot press
and allow the pressure to bleed-off, which took about 3 hours.
While presently preferred embodiments have been shown of the
novel and unobvious sintered spinel products and their
preparation, persons skilled in this art will readily appreciate
that various additional changes and modifications can be made
without departing from the spirit of the invention as defined
and differentiated by the following claims.