rexresearch
SPIRULINA
ALGAE CULTIVATION

Spirulina
wikipedia.org/wiki/Spirulina_%28dietary_supplement%29
Spirulina is a microscopic blue-green alga in the shape of a
spiral coil, living both in sea and fresh water. Spirulina is
the common name for human and animal food produced primarily
from two species of cyanobacteria: Arthrospira platensis, and
Arthrospira maxima. Though referred to as 'algae' because they
are aquatic organisms capable of photosynthesis, cyanobacteria
are not related to any of the various eukaryotic algae.[1]
Arthrospira is cultivated around the world, and is used as a
human dietary supplement, as well as a whole food, and is
available in tablet, flake, and powder form. It is also used
as a feed supplement in the aquaculture, aquarium, and poultry
industries.[2]
Biology
Arthrospira
Arthrospira are free-floating filamentous cyanobacteria
characterized by cylindrical, multicellular trichomes in an
open left-hand helix. They occur naturally in tropical and
subtropical lakes with high pH and high concentrations of
carbonate and bicarbonate. Arthrospira platensis occurs in
Africa, Asia and South America, whereas Arthrospira maxima is
confined to Central America.[2]
These maxima and platensis species were once classified in the
genus Spirulina. There is now agreement that they are in fact
Arthrospira; nevertheless, and somewhat confusingly, the older
term Spirulina remains in use for historical reasons.[2][3]
History
An illustration from the Florentine Codex showing how the
Aztecs harvested spirulina off lakes by skimming the surface
with ropes (right) and then drying the algae into square cakes
which would be eaten as a nourishing condiment (left).
Spirulina was a food source for the Aztecs and other
Mesoamericans until the 16th century; its harvesting from Lake
Texcoco and subsequent sale as cakes is described by one of
Cortés' soldiers.[4][5] The Aztecs called it Tecuitlatl,
meaning stone's excrement.
Spirulina was found in abundance at Lake Texcoco by French
researchers in the 1960s, but there is no reference to its use
there as a daily food source after the 16th century.[3] The
first large-scale spirulina production plant, run by Sosa
Texcoco, was established there in the early 1970s.[2]
Leo Szilard postulated the development of algae-based food
supplements (which he called "Amruss") in his 1961 short
story, The Voice of the Dolphins.
Spirulina may have an even longer history in Chad, as far back
as the 9th century Kanem Empire.[citation needed] It is still
in daily use today, dried into cakes called dihé, which are
used to make broths for meals, and also sold in markets. The
spirulina is harvested from small lakes and ponds around Lake
Chad.[6]
Cultivation
Most cultivated spirulina is produced in open-channel raceway
ponds, with paddle-wheels used to agitate the water. The
largest commercial producers of spirulina are located in the
United States, Thailand, India, Taiwan, China, Pakistan, Burma
(a.k.a. Myanmar) and Chile .[2]
Nutrients and other chemicals
Protein
Spirulina contains an unusually high amount of protein with,
between 55% and 77% by dry weight[7], depending upon the
source. It is a complete protein,[8] containing all essential
amino acids, though with reduced amounts of methionine,
cysteine, and lysine when compared to the proteins of meat,
eggs, and milk.[citation needed] It is, however, superior to
typical plant protein, such as that from legumes.[3] [9]
[edit] Essential fatty acids
Spirulina is rich in gamma-linolenic acid (GLA), and also
provides alpha-linolenic acid (ALA), linoleic acid (LA),
stearidonic acid (SDA), eicosapentaenoic acid (EPA),
docosahexaenoic acid (DHA), and arachidonic acid (AA).[9][10]
Vitamins
Spirulina contains vitamin B1 (thiamine), B2 (riboflavin), B3
(nicotinamide), B6 (pyridoxine), B9 (folic acid), vitamin C,
vitamin D, vitamin A, and vitamin E.[9][10]
B12
The bioavailability of vitamin B12 in spirulina is in dispute.
Several biological assays have been used to test for the
presence of vitamin B12.[11] The most popular is the US
Pharmacopeia method using the Lactobacillus leichmannii assay.
Studies using this method have shown spirulina to be a minimal
source of bioavailable vitamin B12.[12] However, this assay
does not differentiate between true B12 (cobalamin) and
similar compounds (corrinoids) that cannot be used in human
metabolism. Cyanotech, a grower of spirulina, claims to have
done a more recent assay, which has shown spirulina to be a
significant source of cobalamin. However, the assay is not
published for scientific review, so the validity of this assay
is in doubt.[13] The American Dietetic Association and
Dietitians of Canada in their position paper on vegetarian
diets state that spirulina cannot be counted on as a reliable
source of active vitamin B12.[14]
Minerals
Spirulina is a rich source of potassium, and also contains
calcium, chromium, copper, iron, magnesium, manganese,
phosphorus, selenium, sodium, and zinc.[9][10]
Photosynthetic pigments
Spirulina contains many pigments, including chlorophyll-a,
xanthophyll, beta-carotene, echinenone, myxoxanthophyll,
zeaxanthin, canthaxanthin, diatoxanthin, 3'-hydroxyechinenone,
beta-cryptoxanthin and oscillaxanthin, plus the
phycobiliproteins c-phycocyanin and allophycocyanin.[2]
Considerations and Potential
Dangers
Spirulina contains phenylalanine, which should be avoided by
people who have the metabolic disorder phenylketonuria, where
the body cannot metabolize this amino acid, and it builds up
in the brain, causing damage.[15] Because spirulina is a
dietary supplement, the United States Food and Drug
Administration does not regulate the production and quality of
the product. Although rare, cyanobacteria like Spirulina may
contain toxins called microcystins, which accumulate in the
liver and can potentially cause cancer or other liver
diseases. Currently, no standard exists to regulate the safety
of spirulina.[16]
In vitro research
Spirulina extract inhibits HIV replication in human T-cells,
peripheral blood mononuclear cells (PBMC), and Langerhans
cells.[17]
An in vitro study in 2008 concluded that Spirulina may possess
iron chelating properties. Human neuroblastoma cells were
treated with a toxic amount of iron, and then treated with
Spirulina. When treated, the iron-induced oxidative stress was
reduced.[18]
Animal research
Spirulina helps prevent heart damage caused by chemotherapy
using Doxorubicin, without interfering with its antitumor
activity.[19] Spirulina reduces the severity of strokes and
improves recovery of motor control after a stroke;[20]
reverses age-related declines in memory and learning;[21] and
prevents and treats hay fever.[22]
A study on the metabolism of mice indicates that it has little
effect on their metabolism, and therefore probably that of
humans, too.[23]
A study with diabetic rats concluded that Spirulina maxima was
effective in correcting the abnormal carbohydrate and lipid
metabolisms caused by excess fructose within the body.[24]
Human Research
Spirulina has been found to increase weight gain and correct
anemia in both HIV-infected and HIV-negative undernourished
children[25] because of its excellent nutritional quality.
Spirulina is effective for the clinical improvement of
melanosis and keratosis due to chronic arsenic poisoning.[26]
A study in 2005 found that spirulina protects against hay
fever.[27] A more recent double-blind, placebo-controlled
study in 2008 concerning 150 allergic rhinitis patients found
that Spirulina platensis significantly reduced the secretion
of pro-inflammatory interleukin-4 by 32%, and the patients
experienced symptomatic relief.[28] Furthermore, Spirulina was
found to reduce the inflammation involved in arthritis in
geriatric patients by stimulating the secretion of
interleukin-2, which helps in regulating the inflammatory
response.[29]
A 2007 study[30] found that 36 volunteers taking 4.5 grams of
spirulina per day, over a six week period, exhibited
significant changes in cholesterol and blood pressure: (1)
lowered total cholesterol; (2) increased HDL cholesterol; (3)
lowered triglycerides; and (4) lowered systolic and diastolic
blood pressure. This study, however, did not contain a control
group; researchers cannot be confident that the changes
observed are due totally, or even partially, to the effects of
the Spirulina maxima, as opposed to other confounding
variables (i.e., history effects, maturation effects or demand
characteristics). A randomized, double-blind,
placebo-controlled intervention study involving geriatric
patients determined that spirulina helped to significantly
reduce the LDL-to-HDL ratio after four months of
supplementation.[29]
A 2007 study concluded that spirulina improved the antioxidant
potential of many geriatric patients who were administered it
for 16 weeks. The plasma of these patients showed a measured
increased level of total antioxidant status.[29] A
double-blind, placebo-controlled study in 2006 found that
spirulina supplementation decreased the amount of creatine
kinase ( an indicator of muscular breakdown) in individuals
after exercise. Furthermore, the experimental group's time to
exhaustion during all out treadmill exercise increased by 52
seconds. These effects were thought to be due to spirulina's
antioxidant potential.[31]
See 2010 published study: Maria Kalafati; Athanasios Z.
Jamurtas; Michalis G. Nikolaidis; Vassilis Paschalis;
Anastasios A. Theodorou; Giorgos K. Sakellariou; Yiannis
Koutedakis; Dimitris Kouretas, Ergogenic and Antioxidant
Effects of Spirulina Supplementation in Humans, Medicine and
Science in Sports and Exercise®. 2010;42(1):142-151,
concluding a positive effect occurred, although the mechanism
was not well understood.
There are no known side effects to spirulina, however the body
may react to the consumption of it with symptoms including
fever, dizziness, nausea, rashes or itchiness[32].
Organic Certification
Until recently, much spirulina was certified organic. In 2002,
the USDA's National Organic Standards Board voted to disallow
the use of Chilean nitrate. They granted a three-year window
to spirulina producers, which expired in 2006. As a result,
leading spirulina manufacturers have stopped labelling their
spirulina as organic, citing safety concerns of nitrate
alternatives.[33]
Advocates
The United Nations World Food Conference in 1974 lauded
spirulina as the 'best food for the future'. Recognizing the
inherent potential of spirulina in the sustainable development
agenda, several Member States of the United Nations came
together to form an intergovernmental organization named the
Intergovernmental Institution for the use of Micro-algae
Spirulina Against Malnutrition (IIMSAM).[34] IIMSAM aspires to
build a consensus with the UN Member States, international
community and other stakeholders to make spirulina a key
driver to eradicate malnutrition, achieve food security and
bridge the health divide throughout the world.
Spirulina has been proposed by both NASA (CELSS)[35] and the
European Space Agency (MELISSA)[36] as one of the primary
foods to be cultivated during long-term space missions.
Notes & references
1. ^ Cyanobacteria: Life History and Ecology,
UCMB Berkeley
2. ^ a b c d e f Vonshak, A. (ed.). Spirulina
platensis (Arthrospira): Physiology, Cell-biology and
Biotechnology. London: Taylor & Francis, 1997.
3. ^ a b c Ciferri, O. "Spirulina, the Edible
Microorganism." Microbiological Reviews. 47, 4, Dec. 1983.
PMCID: PMC283708.
http://www.ncbi.nlm.nih.gov/pmc/articles/PMC283708/
4. ^ Diaz Del Castillo, B. The Discovery and
Conquest of Mexico, 1517-1521. London: Routledge, 1928, p.
300.
5. ^ Osborne, Ken; Kahn, Charles N. (2005). World
History: Societies of the Past. Winnipeg: Portage & Main
Press. ISBN 1-55379-045-6.
6. ^ Abdulqader, G., Barsanti, L., Tredici, M.
"Harvest of Arthrospira platensis from Lake Kossorom (Chad)
and its household usage among the Kanembu." Journal of Applied
Phycology. 12: 493-498. 2000.
7. ^
http://www.nutritionalsupplementshq.com/spirulina-side-effects/
8. ^ http://www.bitterpoison.com/protein/11667/
9. ^ a b c d Babadzhanov, A.S., et al. "Chemical
Composition of Spirulina Platensis Cultivated in Uzbekistan."
Chemistry of Natural Compounds. 40, 3, 2004.
10. ^ a b c Tokusoglu, O., Unal, M.K. "Biomass Nutrient
Profiles of Three Microalgae: Spirulina platensis, Chlorella
vulgaris, and Isochrisis galbana." Journal of Food Science.
68, 4, 2003.
11. ^ Variations in the Growth Response of Four
Different Vitamin B12 Assay Microorganisms to the Same Tissue
and Standard Preparations. Elizabeth A. Cook and Lillian N.
Ellis. Appl Microbiol. 1968 December; 16(12): 1831–1840.
12. ^ Watanabe, F. et al. "Characterization and
bioavailability of vitamin B12-compounds from edible algae."
Journal of nutritional science and vitaminology, Oct. 2002, 48
(5):325-331.
13. ^ Spirulina Pacifica as a Source of Cobalamin
Vitamin B-12. Jan. 1999.
14. ^ Position of the American Dietetic Association and
Dietitians of Canada: Vegetarian diets
15. ^ Robb-Nicholson, C. (2006). "By the way, doctor".
Harvard Women's Health Watch 8.
16. ^ Gilroy, D., Kauffman, K., Hall, D., Huang, X.,
& Chu, F. (2000). "Assessing potential health risks from
microcystin toxins in blue-green algae dietary supplements".
Environmental Health Perspectives 108 (5): 435–439.
doi:10.2307/3454384. PMID 10811570. PMC 1638057.
http://jstor.org/stable/3454384.
17. ^ Ayehunie, S. et al. "Inhibition of HIV-1
Replication by an Aqueous Extract of Spirulina platensis
(Arthrospira platensis)." JAIDS: Journal of Acquired Immune
Deficiency Syndromes & Human Retrovirology. 18, 1, May
1998: 7-12.
18. ^ Barmejo-Bescós, P., Piñero-Estrada, E.,
&Villar del Fresno, A. (2008). "Neuroprotection by
Spirulina platensis protean extract and phycocyanin against
iron-induced toxicity in SH-SY5Y neuroblastoma cells".
Toxicology in Vitro 22 (6): 1496–1502.
doi:10.1016/j.tiv.2008.05.004. PMID 18572379.
19. ^ Khan, M., et al. "Protective effect of Spirulina
against doxorubicin-induced cardiotoxicity." Phytotherapy
Research. 2005 December;19(12):1030-7.
20. ^ Wang, Y., et al. "Dietary supplementation with
blueberries, spinach, or spirulina reduces ischemic brain
damage." Experimental Neurology. May, 2005 ;193(1):75-84.
21. ^ Gemma, C., et al. "Diets enriched in foods with
high antioxidant activity reverse age-induced decreases in
cerebellar beta-adrenergic function and increases in
proinflammatory cytokines." Experimental Neurology. July 15,
2002; 22(14):6114-20.
22. ^ Chen, LL, et al. "Experimental study of spirulina
platensis in treating allergic rhinitis in rats." Journal of
Central South University (Medical Sciences). Feb. 2005.
30(1):96-8.
23. ^ Yin, J; Zuberi, A; Gao, Z; Liu, D; Liu, Z;
Cefalu, WT; Ye, J (Jul 2008). "Effect of Shilianhua extract
and its fractions on body weight of obese mice". Metabolism:
clinical and experimental 57 (7 Suppl 1): S47–51.
doi:10.1016/j.metabol.2008.03.004. ISSN 0026-0495. PMID
18555854.
24. ^ Kulshreshtha, A., Zacharia, J., Jarouliya,
U.,Bhadauriya, P., Prasad, G.B.K.S., & Bisen, P.S. (2008).
"Spirulina in Health Care Management". Current Pharmaceutical
Biotechnology 9 (5): 400–405. doi:10.2174/138920108785915111.
PMID 18855693.
25. ^ Simpore, J., et al. "Nutrition Rehabilitation of
HIV-Infected and HIV-Negative Undernourished Children
Utilizing Spirulina." Annals of Nutrition & Metabolism.
49, 2005: 373-380.
26. ^ Mir Misbahuddin, AZM Maidul Islam, Salamat
Khandker, Ifthaker-Al-Mahmud, Nazrul Islam and Anjumanara.
Efficacy of spirulina extract plus zinc in patients of chronic
arsenic poisoning: a randomized placebo-controlled study.
(Risk factors ). Journal of Toxicology: Clinical Toxicology.
44.2 (March 2006): p135(7).
27. ^ Mao, TK, et al. "Effects of a Spirulina-based
dietary supplement on cytokine production from allergic
rhinitis patients." Journal of Medicinal Food. Spring
2005;8(1):27-30.
28. ^ Cingi, C., Conk-Dalay, M., Cakli, H., & Bal,
C. (2008). "The effects of Spirulina on allergic rhinitis".
European Archives of Oto-Rhino-Larynology 265 (10): 1219–1223.
doi:10.1007/s00405-008-0642-8. PMID 18343939.
29. ^ a b c Park, H.; Lee, Y.; Ryu, H.; Kim, M.; Chung,
H.; Kim, W. (2008). "A randomized double-blind,
placebo-controlled study to establish the effects of spirulina
in elderly Koreans". Annals of nutrition & metabolism 52
(4): 322–328. doi:10.1159/000151486. PMID 18714150. edit
30. ^ Torres-Duran, Ferreira-Hermosillo, &
Juarez-Oropeza. (2007). Antihyperlipemic and antihypertensive
effects of Spirulina maxima in an open sample of mexican
population: A preliminary report. Lipids in Health and
Disease. 6, 33
31. ^ Lu, H.K., Hsieh, C.C. Hsu, J.J., Yang, Y.K.,
& Chou, H.N. (2006). "Preventative effects of Spirulina
platensis on skeletal muscle damage under exercise induced
oxidative stress". European Journal of Applied Physiology 98
(2): 220–226. doi:10.1007/s00421-006-0263-0. PMID 16944194.
32. ^
http://www.healthsession.com/articles/spirulina-side-effects.html
33. ^ Organic standards spark spirulina row
34. ^ IIMSAM, Intergovernmental Institution for the use
of Micro-algae Spirulina Against Malnutrition
35. ^ Characterization of Spirulina biomass for CELSS
diet potential. Normal, Al.: Alabama A&M University, 1988.
36. ^ Cornet J.F., Dubertret G. "The cyanobacterium
Spirulina in the photosynthetic compartment of the MELISSA
artificial ecosystem." Workshop on artificial ecological
systems, DARA-CNES, Marseille, France, October 24–26, 1990.
http://www.cyanotech.com/
Cyanotech Corporation, a
world leader in microalgae technology, produces BioAstin®
Natural Astaxanthin and Hawaiian Spirulina Pacifica®—all
natural, functional nutrients that leverage our experience and
reputation for quality, building nutritional brands which
promote health and well-being. Cyanotech's spirulina, FDA
reviewed and accepted as Generally Recognized as Safe (GRAS)
for use as a food ingredient, augments energy and immune
response. BioAstin's benefits derive from its superior
antioxidant activity and from its ability to fight free
radical damage and combat ongoing oxidative stress, enhancing
skin, muscle and joint health.* Cyanotech produces these
products from microalgae grown at its 90-acre facility in
Hawaii using patented and proprietary technology and
distributes them to nutritional supplement, nutraceutical and
cosmeceutical makers and marketers in 58 countries on six
continents.
Cyanotech was the first microalgae company in the world to
obtain ISO 9001:2000
http://www.cyanotech.com/pdfs/spirulina/Spirulina_Abstracts.pdf
The Medical Research of
Spirulina.
www.wapra.com/
World Algae Producers &
Researchers Association
CULTURE -- VOLUME -- PRICE.
Spirulina Platensis M2. 100ml. 20 USD.
Chlorella Protothecoides. 100ml. 80 USD.
Spirulina Growth Media &
Growth Rate Calculator :
http://www.algaecollection.com/
Spirulina Nutrition Calculator
http://www.algaecollection.com/
http://www.algaecollection.com/medium.aspx
Spirulina Ready To Use
Concentrate Medium
Spirulina Platensis *
* High Level Phycocyanin:
About 20%-24% Phycocyanin level
100ml
400 USD
Spirulina Platensis *
* High Level Phycocyanin:
About 20%-24% Phycocyanin level
500ml
1200 USD
Spirulina Platensis M2
100ml
20 USD
Spirulina Platensis M2
500ml
70 USD
Ready To Use Consentrate
Spirulina Growth Medium:
Ingredients: NaHCO3,
NaCO3, K2HPO4, NaNO3, K2SO4, NaCl, MgSO4.7H2O, CaCl2, ZnCl2,
FeCl3.6H2O, Na EDTA.2H2O, MnCl2.4H2O, CoCl2.6H2O,
Na2MoO4.2H2O, CuSO4.5H2O, ZnSO4.7H2O, H2BO3, Vit B12,
(NH2)2CO, Eukoliptus oil, FeSO4, Green Tea Ext., Hepes Buffer,
Thiamine HCL, dH20
For 1 liters Water add 200mL Concentrate Soley's Spirulina
Medium
Package: 1 Lt Concentrate Spirulina Medium (ready to use for 5
Lt water)
Price: 1 Lt Concentrate Spirulina Medium 12 USD
http://www.roberthenrikson.com/SpirulinaSource/earthfoodorigin1.html
Part 1: The Early History of
Spirulina Cultivation in the USA
The foundations of Earthrise were begun 20 years ago. Larry
Switzer, a visionary bioneer and catalyst, founded the
progenitor, Proteus Corporation, in 1976 to develop spirulina
blue-green algae as a world food resource. Proteus was funded
by a group of private California investors committed to the
vision and hope spirulina represented. Joined by myself, this
team began cultivation in the late 1970s....
CN101748067 --- Method for
promoting polysaccharide accumulation of spirulina cells
Abstract -- The invention
relates to a method for promoting the polysaccharide
accumulation of spirulina cells, which is characterized by
standing cultured spirulina to make the spirulina float,
irradiating the floating spirulina by strong light before
processing and drying to make the cells to sink under high
temperature, collecting and washing the sunken cells to obtain
algae mud with high polysaccharide content or prepare a dry
powder product or be used as the material for extracting
spirulina polysaccharide. Therefore, enterprises can extract
spirulina polysaccharide of more folds from the product on the
basis of equivalent production capacity. With the method, the
production cost of the spirulina polysaccharide can be greatly
reduced, and the method provides a material basis for the wide
application of the spirulina polysaccharide, thereby greatly
improving the economic benefits of the enterprises and
increasing the competition of the enterprises in markets.
CN101709009 --- Nutrient
solution for domestic culture of spirulina
Abstract -- The invention
discloses a nutrient solution for the domestic culture of
spirulina. In the traditional culture of the spirulina, fresh
water culture or seawater culture is adopted, the obtained
spirulina is called fresh water spirulina or seawater spirulina,
and the two culture modes both need a culture pool which is
suitable for the growth of the spirulina. However, the domestic
culture of the spirulina enjoys extensive development space. The
invention provides the nutrient solution suitable for the
domestic culture of the spirulina. The nutrient solution is
prepared from fresh water, inorganic salt and trace elements.
The invention is mainly used for the domestic culture of the
spirulina, can regulate the growth rule of the spirulina aiming
at the physiological characteristic of the spirulina, promotes
the growth and the development of the spirulina, improves the
product quality and enhances the product yield.
CN101705189 --- Spirulina mixed
culturing technology and device
Abstract --- The invention
discloses a spirulina mixed culturing technology, comprising the
following steps: air sterilization: performing steam
sterilization on a ring-shaped transparent glass tube through
multiple steam inlet ports arranged in the ring-shaped
transparent glass tube; inoculating: inoculating after the
device is sterilized, culturing 150-180L of purified sterile
spirulina seeds in a lab, placing the spirulina seeds into the
device through a sterilized peristaltic pump, and opening a
circulating pump; sterilizing culture medium; placing the
sterilized culture medium into the device successively in a
sealed and sterile state after inoculating; ventilating;
introducing mixed air containing 15-20% of carbon dioxide into
the device through the air inlets; regulating temperature:
controlling the temperate to be at 28-33 DEG C for culturing;
and discharging: discharging from a discharge hole. The
invention effectively uses carbon dioxide, and reduces carbon
dioxide emission, thus having the advantages of environment
protection, low cost, high yield and stable quality, and the
spirulina is food-grade.
MX2009007354 --- PROCESS TO
PRODUCE BIOMASS AND PROTEINS BY MICROALGAE
Abstract -- The present
invention refers to a process to produce biomass and proteins
from microalgae, advantageously using as a source of development
of said microalgae rejects from the alcohol industry, notably
sugar cane husks and carbon dioxide originating from
fermentation vats. The process according to the present
invention comprises basic steps of preparation of cane husks,
adaptation and preparation of inoculum with the microalga
Spirulina platensis OF 25, cultivation of the microalga under
controlled conditions and use of CO2, separation of algal
biomass and optional recirculation of the water phase in the
process until acceptable DQO and DBO levels by environmental
regulations are reached.
CN101463322 ---Method for
cultivating large area organic Spirulina
Abstract -- The invention
discloses a method for cultivating organic spirulina in large
areas, which comprises the following steps: 1. the selection of
a cultivation base; 2. choosing the concentrated solution of
organic fertilizer with fine quality for use; 3. Cultivation; a
track pool is added with enough purified water, the concentrated
solution of the organic fertilizer according to the 1000: 1-5
weight ratio of the concentrated solution of the purified water
and the organic fertilizer and spirulina seed; the
photosynthesis is carried out on the spirulina by stirring; the
cultivation is carried out; when per kilogram of culture fluid
contains 0.5-0.7 g of spirulina dry powder, the collection is
carried out; and the concentrated solution of the organic
fertilizer is supplemented again; meanwhile, the carbon dioxide
gas is filled till the pH value of the cultivate fluid reaches
8.5-9 to cause that the spirulina continuously grow; the steps
are cycled in sequence. In the method, the chemical synthetic
fertilizer or the chemical treatment are entirely not used or
basically not used, thus fundamentally solving the problem of
the chemical substance residue of the spirulina products and the
overproof of the heavy meta; of the spirulina, guarantying the
organic performance and safety of the spirulina powder and
increasing the yield of the products.
CN101455285 --- Treatment
method of heavy metal polluted helical alga
Abstract : A method for
using heavy metal mild pollution spirulina to extract
phycocyanin, and using its algal residue as principal substrate
to adsorb and remove lead, arsenic and cadmium in the water,
pertains to the field of environmental biotechnology. The method
can be widely used in innocent treatment of mild heavy metal
pollution spirulina without accessing market standards in
industrial production. The inventive method has main features
the method adopts the features of mild heavy metal pollution
that it only stick on cell walls, uses a improved purification
method to obtain spirulina further processed product phycocyanin
that conforms to safety criterion and has higher economic value,
wherein, the accompanying diagram is a mass spectrogram of the
extracted phycocyanin; and fixs the algal residues, for
preparing biological adsorbent for obtaining lead, arsenic,
cadmium and other heavy metals.
CN201292358 --- Spirulina
cultivation machine
Abstract -- The utility
model relates to a spirulina cultivation machine for
automatically controlling a light source and a heat source. The
spirulina cultivation machine is technically characterized in
that a liquid crystal electric power board which can
automatically control the light source and the heat source has
extremely high requirement on temperature and light intensity
during spirulina cultivation; and the prior spirulina
cultivation machine is generally manually controlled, and the
control of the light source and the heat source is hard to
manage. The spirulina cultivation machine is characterized in
that a temperature control device which can automatically
control the heat degree and the light intensity is arranged on
the liquid crystal electric power board and is mainly used for
controlling the growth, the illumination and the temperature
adjustment of the spirulina in a photosynthesis box. When the
inner temperature of the photosynthesis box exceeds the growth
requirement of the spirulina, the temperature control device can
automatically cut off power so as to retain the optimal growth
temperature and the illumination of alga, and the energy can be
saved. One external power cord is connected to the bottom of a
base to enable the spirulina cultivation machine to be
convenient and safe. The spirulina cultivation machine is quite
easy and convenient to operate by household users and the
persons having no experience of spirulina cultivation.

CN101240244
--- Sea water cultivation of functionality series
fresh-keeping spirulina platensis and spirulina maxima
Abstract -- The invention
belongs to sea water breeding pure natural fresh-keeping type
dull-tip spirulina and ultra-large spirulina which are alga for
world wild production at present. The domestication
descendiblity mutagenesis, controlling temperature, controlling
light, controlling Ph and conditioning all kinds of nutrition
constituent two alga variety are breed into high yield
(390g/square meter/day), large alga body (1,2 to 1.05 times) and
maintaining all nutrition constituent alga variety in special
sea water, some nutrition constituent also are higher than
primary alga, for example, Gamma-linolenic acid and
Beta-carotene are respectively higher 56and 32than primary alga.
We have breed functional series fresh-keeping spirulina and
produced in clean environment in large scale. The newly breed
sea water production alga has 11 kinds and their function
respectively are fatigue protection, blood sugar dropping,
beauty treatment, pruritus protection, hemostasia, alga mud,
fodder, invigorating the stomach, invigorating the kidney and
weight losing.
CN101240243 --- Fresh water
cultivation of series function fresh-keeping spirulina
platensis and spirulina maxima
Abstract -- The invention
belongs to sweet water breeding pure natural fresh-keeping type
dull-tip spirulina and ultra-large spirulina which are alga for
world wild production at present. Functional fresh-keeping new
patern dull-tip spirulina and ultra-large spirulina variety
which are emanated by cobalt (60)10 gray-25000 gray for 5
minutes to 10 hours, after controlling temperature, controlling
light, controlling pH and conditioning all kinds of nutrition
ingredient, single excellent mutagenesis variety screened by
micromanipulator are purified and cultured are chosen. The
functional fresh-keeping new patern dull-tip spirulina and
ultra-large spirulina variety have stabilising germ line and
higher nutrition ingredient than general dull-tip spirulina,
ultra-large spirulina and other mutagenesis variety, especially
some ingredients are more several times than present dull-tip
spirulina and ultra-large spirulina. The alga wall of the new
type spirulina is very thin, the width and length of alga body
are larger than present dull-tip spirulina and ultra-large
spirulina. We have breed five kinds of sweet water production
alga variety whose functions are respectively fatigue
protection, blood sugar dropping, beauty treatment, pruritus
protection and hemostasia in indoor large scale clean
environment deep layer (1 to 1.5meter).
CN201089772 --- Spirulina
cultivator
CN101126067 --- Method for
determining high quality spirulina production series
Abstract -- The invention
relates to a method used for determining the production line of
qualified spirulina. By designing a random primer and adopting
PAPD equimolecular biology, the specific stripes of 5 strains of
sprial alg systems Sp-1, Sp-2, Sp-3, Sp-4 and Sp-5 are cloned;
cluster analysis discovered that: 5 strains can be divided into
two types: wherein one type is Sp-1 and Sp-2, the other is Sp-3,
Sp-4 and Sp-5, and the cloning maps of primer S35 and primer S99
have specific stripes that can identify the two type of strains;
the specific stripes that have molecular weight of 680bp and
900bp only occurred in Sp-3, Sp-4 and Sp-5 stratins, and the
specific stripes that have molecular weight of 900bp and 650bp
only occurred in Sp-1 and Sp-2 stratins. The stripes, that
respectively have molecular weight of 680bp and 900bp, cloned
from candidate strains by primer S35 and primer S99 properly
have comparatively better performance and are suitable for mass
production; while the stripes, that respectively have molecular
weight of 900bp and 650bp, cloned from candidate strains by
primer S35 and primer S99 properly have comparatively poorer
performance and are not suitable for mass production.

CN101104870 --- Method for
identifying spirulina strain production characteristics
Abstract -- Disclosed is an
identification method for spirulina strain production
characters. Through extracting total DNA of 5 strains of
spirulina sp-1, sp-2, sp-3, sp-10, sp-NC and electrophoresis
analysis, the 5 strains can be classified into two main
categories according to the chromosome external DNA
numbers(exDNA): wherein sp-1, sp-2, sp-10 and sp-NC fall into
one category with only one exDNA; sp-3 falls into the other
category with two exDNA . When two exDNAs are contained in total
DNA of candidate strain, the production character is much better
and is good for large scale production; when only one exDNA is
contained in total DNA, the production character is probably not
good and can not be used for plant production.
CN101240242 --- Screening
method for industrially cultivating excellent strain of
spirulina
Abstract -- A method for
filtering spirulina to breed superior strain factory is
provided. By designing particular primer, the corresponding gene
order of seven spirulina strain Sp-1, Sp-2, Sp-3, Sp-4, Sp-5,
Sp-6, Sp-7 are cloned and tested using molecular biology method
such as PCR, the gene is translated into aminoacid before the
gene is carried out multiple sequence matching discover using
DNAStar v6.13 software, the seven strain can be divided into two
class according to the seventh, twentieth, thirtieth,
fifth-sixth and seventy second sites of 1 to 80 amino acid
sequence: in which Sp-1, Sp-2, Sp-3, Sp-6 are one class, Sp-3,
Sp-4, Sp-3, Sp-5 and Sp-7 are another class. The 1 to 80 sites
amino acid sequence of candidacy strain is compared with Sp-1,
Sp-2, Sp-3, Sp-4, Sp-5, Sp-6, Sp-7, if they are same to the
strain of Sp-3, Sp-4, Sp-3, Sp-5 and Sp-7, they may be excellent
production and suitable for large scale production, if they are
same to the strain of Sp-1, Sp-2, Sp-3, Sp-6, they may be not
suitable for factory production.
CN1903751 --- Treatment
technology of spirulina waste water
Abstract -- The present
invention relates to a water, salt-contained waste water, sewage
and sludge treatment method. In particular, it relates to a
treatment method of high-salt waste water produced in spirulina
prince production process. Said method includes the following
steps: making the waste water be fed into the inlet of
regulation tank, recovering spirulina princes by utilizing
filtering screen, then making the waste water be fed into
regulation tank, regulating water quality and water quantity,
pumping said waste water into diatomite filter to remove solid
matter, then making the waste water be fed into intermediate
tank, pumping said waste water into filtering system to farther
remove smaller solid and living beings, then making the filtered
waste water be fed into the disinfection system to kill
microorganism and algal single spore,; and making the waste
water be flowed into electrodialysis device so as to obtain weak
brine and strong brine. The weak brine is flowed into weak brine
system, the strong brine is flowed into strong brine tank, and
is undergone the process of drying solidification, then its
residuum is buried.
CN1900315 --- Method for
screening high quality spirulina princeps strain for large
scale production
Abstract -- The method of
screening high quality spirulina strain for large scale
production includes designing primer of 16S-23S rRNA
transcription spacer, cloning and measuring 16S-23S rRNAITS
sequences shown in SEQ No. 1 of 7 spirulina strains Sp-1, Sp-2,
Sp-3, Sp-5, Sp-9, Sp-10 and Sp-15 by means of PCR technology;
separating the 7 spirulina strains into two groups, including
the first group comprising Sp-3, Sp-5 and Sp-15, and the second
group comprising Sp-1, Sp-2, Sp-9 and Sp-10 according to the
similarity of the sequences; and measuring the 16S-23S rRNAITS
sequence of the candidate strain and comparing with those of the
said strain. When the candidate strain may be classified into
the first group, it has excellent character and is suitable for
large scale production; when the candidate strain may be
classified into the first group, it is not suitable for large
scale production.
CN1864474 --- A method for
breeding spirulina
Abstract -- The spirulina
cultivating process is one sealed industrial cultivating process
including cultivating spirulina in cultivating solution inside
separate transparent cultivating barrels, setting the
cultivating barrels inside a sealed shed with transparent top or
side, mounting heating pipes below the cultivating barrels,
setting ventilating units connected via ventilating pipe into
the cultivating barrels, and controlling the temperature inside
the cultivating barrels at 16-38 deg.c and pH value in 8-12. The
said spirulina cultivating process is suitable for cultivation
all the year round, can avoid great area contamination and can
produce spirulina in high yield, and the fresh spirulina may be
eaten directly.
CN1807571 --- Method for
cultivating spirulina
Abstract -- This invention
discloses a method for spirulina culture, which contains
constructing culture environment of spirulina, confecting
culture liquid, nursing during culture process, gathering and
harvesting spirulina. Firstly construct culture environment of
spirulina; then confect culture liquid, whose components and the
mass proportions are as follows: NaHCO3 10-15Kg, KH2PO4 0. 1-0.
9Kg, microelement1-8Kg, pure crude water1 ton, and the culture
conditions are as foolws: water temperature keeps at 25deg C-
35deg C, humidity keeps at 40íÒ-60íÒ, charge oxygen in the time
of the day and illuminate for at least 12 hours a day; then
gather the spirulina: flush the filter spirulina and test with
pH paper, and it is up to grade when the paper showing
neutrality; supplement nourishment: after series gathering, feed
each nutrimental materials proportionally into culture crock,
consquenty guarantee the spirulina get plenty nourishment. When
the pH value of culture liquid ascends to 11, add NaHCO3 to
maintain its pH value in 8-11. Continuely culture and harvest to
keep the spirulina of certain density; add NaHCO3 to stabilize
the pH value of culture liquid and accelerate growth and
breeding of spirulina in the culture liquid.

CN2856054 --- Enclosed
spirulina culturing appts
Abstract -- The utility
model discloses a shell-type helix algae cultivation apparatus
including a tectorial house noumenon and transparent containers
collocated in the house for holding helix algae culture solution
and helix algae. The house is equipped inside with terraced
brackets. Said transparent containers are equipped with air
charging devices that are set up on the terraced brackets. Said
house includes a supporting wall, a supporting skeleton set and
a cover of light transmission film on the supporting skeleton
set. Said house is equipped with a heating device, an exhaust
device, a ventilation device, an illumination device and a
humidity regulation device. The entrance of the house is
equipped with a buffer room and a dressing room. The adoption of
the said blueprint keeps the helix algae free from being prone
to suffer from contaminations and inset pests and plant diseases
because the adverse factors caused by the external environment
changes are overcome. The terraced cultivation makes full use of
the space pattern of the tectorial house and optimization of
illumination conditions and technical operation, thereby having
a rather good practical value for market promotion.


CN2928860 --- High efficiency
cultivator for spirulina princeps
Abstract --- The utility
model discloses a highly effective spirulina incubator which
comprises a culture container, a machine base, an air supply
pipe, an air pump, a heat booster, a stirrer, a magnetic field
generator, a secondary light source, a guide shell and an
eduction valve, or the like. The machine base is positioned at
the bottom of the culture container and an opening at the bottom
of the culture container is communicated with the eduction valve
positioned in the machine base. The guide shell is arranged in
the middle of an opening at the bottom of the culture container,
the heat booster is arranged in the middle of the guide shell,
the air supply pipe is arranged at the bottom of the guide
shell, the air pump is positioned inside the machine base or
upon the culture container and is connected with the air supply
pipe, and the stirrer, the magnetic field generator, and the
secondary light source are positioned in the culture container.
The highly effective spirulina incubator can not only generate a
rotating magnetic field for making the luminous intensity
generate periodic changes from light to shade alternatively, but
also can prevent and clear the surface accumulated algae inside
the culture container and bare pipes, or the like. The utility
model achieves a spirulina cultivating device with higher
productivity and better quality.

CN1813528 --- Method for indoor
cultivating edible spirulina and controlling its oxygen
release
Abstract -- The present
invention discloses a control method of edible spirulina indoor
culture and its oxygen release and ecological landscape
formation. Said method includes the following steps: preparing
culture container for indoor culture of spirulina, defining
culture method, collecting frond cell, controlling food
application and oxygen release and regulating and controlling
ecological landscape formation. Said invention also provides the
concrete steps of said regulation and control method.
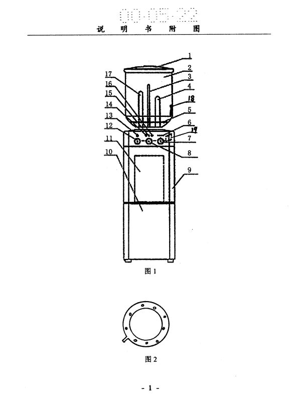
CN2904637 --- Spirulina
household purified cultivation device
Abstract -- The utility
model relates to a spirulina culture device for family purifying
use. The spirulina cultivating device consists essentially of a
culture vessel, a foundation, and an upper cover; wherein,
inside the culture vessel is provided with a heater, subsidiary
light source, and a air supply tube, the bottom of the culture
vessel is provided with a settling tank, an observation port,
and an air cleaner, the top of the culture vessel is provided
with a spirulina taking pump. The utility model adopts a
completely closed purified environment for the culture of
spirulina and therefore the culture process is clean and to make
frequent cleansings to the culture vessel and to make frequent
replacement of culture solution, and meanwhile the production
cost is low is unnecessary.
CN1341707 --- Application
technique of solar collector in microfine algae
cultivation
Abstract -- In the course of
closed of opened culture of microfine algae of spirulina
princeps, etc. a certain quantity of solar collectors are
series-connected, parallelly-connected or series-parallelly
connected with culture pool, culture tank and culture pipe, and
a pumping method or other methods are used to make microfine
algae culture pass through solar collectors and flow, so that
under the irradiation of sunlight the solar collectors can
utilize adsorbed selective coating layer to high-effectively
convert light energy into heat energy and transfer the heat
energy into microfine algae culture, so that it not only can
high-effectively raise temp. of microfine algae culture, but
also can reduce its production cost of microfine algae in cold
area, therefore, it possesses important and extensive
application valve.
CN2420287 --- Spirulina
cultivator
Abstract --- The utility
model discloses a spirulina cultivator, which is composed of a
square box seat and a transparent cultivation barrel, wherein, a
spirulina-taking pipe is erected on the middle part of the
cultivation barrel, a heater and a secondary light source are
fixed near the spirulina-taking pipe, and the sensed temperature
information of the cultivation barrel is transmitted to a main
board by a temperature sensor stuck to the wall of the
cultivation barrel; after the temperature information is
compared, magnified and treated, a temperature indication
display displays a set temperature range and controls heating
operation and temperature rise, an annular air feed pipe is
arranged on the bottom of the barrel, and a plurality of
pinholes are arranged on the pipe. The utility model has the
advantages of high automation, reasonable structure and low
fabricating cost, and is a household requisite.
CN2422289 --- Spirulina
cultivation device with light guide system
Abstract -- The utility
model relates to a spirulina cultivation device with a light
guide system, and the utility model is the product belonging to
light industry. The utility model is composed of a transparent
top cover, a light transmission pipe, a reflecting mirror and
stable accessories, wherein, the utility model transmits
sunlight into the deepest part of a spirulina cultivation pond
through the light guide system, spirulina in the deepest part
can receive more sunlight and gain much more sufficient
photosynthesis, and thus, spirulina with high protein is
produced. The device has the advantages of less investment and
reasonable design, and provides a new method for cultivating the
eutrophic spirulina.
CN2317233 --- Domestic
cultivation device for Spirulina
Abstract --- The utility
model relates to a domestic cultivation device for spirulinas.
The utility model is composed of a container, a stirrer, a light
source, a spirulina receiving bag, etc., wherein, the container
is a ware with an upper opening; the stirrer is a publicly known
miniature air pump, and an air outlet head is arranged in
solutions of the ware. The utility model reduces a principle and
the structure of outdoor cultivation, a ware container is used
for replacing an outdoor cement pool, spirulina seeds which are
matched with proper nutritive salt components and water are led
into the ware, gas lifting stirring is carried out on spirulina
solutions in the ware, the light source which can emit light for
photosynthesis is assisted, when air temperature is slightly
low, a warming device is started, and a purpose of successful
cultivation can be achieved. Fresh spirulinas with the weight of
40 grams can be collected every day, and compared with dry
powders, the dosing effect of the fresh spirulinas is superior.

CN2317232 --- Stirring and
collecting integral device for cultivation pool of
Spirulina
Abstract -- The utility
model changes a fixed stirring mode for a half pool width in the
existing cement pool cultivation into a stirring mode
reciprocating along a pool length and traveling on a whole pool
width, an alga receiving bag is placed on a moving rack, and
algae are received when a stirring rack moves; therefore,
stirring quality is enhanced, and a disadvantage of receiving
the algae by manual work can be avoided. A gear which is
arranged on a shaft of the stirring rack is matched with rack
bars which are arranged on a pool wall along a lengthwise
direction, and the shaft of the stirring rack is driven by a
bidirectional motor.
CN1177002 --- Method for
external gene conversion for spirulina
Abstract -- The present
method takes the plasmid which contains exogenous gene and
possesses protonucleus expression element as conversion carrier,
and passes through conventional inversion method to proceed
transformation treatment against spirulina cell, then proceed
selective cultivation of step generation, so as to obtain the
transgene spirulina. This method possesses the advantages of
simple in operation and good in effect.
CN2367618 --- Spirulina
cultivation apparatus
Abstract --- The utility
model relates to a spirulina cultivation device which is an
improved novel device used for cultivating spirulina. The device
is composed of a step type bracket (1), a plastic shallow tray
(2) and a plastic cultivation bag (3). As the device is made of
angle iron and transparent plastic, materials are easy to be
gotten and are not easy to be damaged, and the light
transmission property of the utility model is superior to that
of a glass vessel easily adsorbing incrustation scale. Besides,
as the device has the step type bracket, stereoscopic
cultivation can be carried out to the spirulina.
WO2007129327 --- A PHOTO
BIO-REACTOR FOR CULTIVATING AND HARVESTING A BIO-MASS AND
A METHOD THEREOF
Abstract -- The present
invention proposes to meet the long standing need for Photo
Bio-reactors for the laboratory scale and mass cultivation of
photosynthetic organisms such as spirulina and many other micro
algae. The photo bio reactor comprises a system of coaxial
helical transparent autoslavable tubular coils (1) for flow of a
culture medium containing micro algae to be cultivated. The
annular spaces between the adjacent coils and the space enclosed
by innermost coil are provided with means (3) of providing
predetermined alternate periods of light and darkness on the
inner and outer surfaces of each of said coil and for
temperature control of the medium to improve photosynthetic
performance. The tubular coils have high surface area to volume
ratio for extensive dissolution of the carbon-dioxide gas
injected into the media. For cultivating biomass suitable for
producing hydrocarbon, the organism used is the blue-green micro
algae Botryococcus braunii.
WO2006018668 ---AN ECONOMICAL
AND EFFICIENT METHOD FOR MASS PRODUCTION OF SPIRULINA
Abstract -- The present
invention relates to an economical and efficient method for mass
production of spirulina using seawater-based medium composition
of pH ranging between 6.5 and 8.0 comprising sodium bicarbonate
of concentration ranging between 1.2 to 3.0 % w/v, nitrogen of
concentration ranging between 0.1 to 0.3 % w/v, phosphorus of
concentration ranging between 0.1 to 0.3 % w/v, potassium of
concentration ranging between 0.1 to 0.3 % w/v seawater and
composition thereof.
FR2914315 --- Photosynthesis of
algae e.g. Spirulina...
Abstract -- The process for
photosynthesis of algae, comprises injecting liquid culture and
algae spores in a transparent pipe, operating a pressurized
fluid transport unit to force the liquid culture to flow towards
a oxygen jet so that the liquid culture refills the oxygen jet
to form a rotating spray to make the oxygen to escape,
collecting the liquid culture from the oxygen jet in a
controlling area, and automatically conducting the liquid
culture through the transparent pipe for another photosynthesis.
The liquid culture flows downwards in the transparent pipe to
generate oxygen. The process for photosynthesis of algae,
comprises injecting liquid culture and algae spores in a
transparent pipe, operating a pressurized fluid transport unit
to force the liquid culture to flow towards a oxygen jet so that
the liquid culture refills the oxygen jet to form a rotating
spray to make the oxygen to escape, collecting the liquid
culture from the oxygen jet in a controlling area, and
automatically conducting the liquid culture through the
transparent pipe for another photosynthesis. The liquid culture
flows downwards in the transparent pipe to generate oxygen by
photosynthesis; towards a connecting section; and towards the
pressurized fluid transport unit through the connecting section
and a temperature control unit. A device is arranged for
spraying water on transparent pipe. A device is arranged for
emitting light on the transparent pipe.; A gate assembly is
arranged for removing the liquid culture after flowing through
the transparent pipe. An independent claim is included for a
system for photosynthesis of algae.

UA81508 --- METHOD FOR
PREPARATION OF NUTRIENT MEDIUM FOR CULTIVATION OF SPIRULINA
PLATENSIS (NORDST.) GEITLER.
Abstract -- A method for
preparation of nutrient medium based on Zarucca medium for
cultivation of Spirulina platensis (Nordst.) Geitler is
proposed. By means of change EDTA concentration, namely
increasing to 0.16 g/l of water solution as compared with 0.08
g/l in a control (Zarucca) and change of the technology for
preparation of nutrient medium, namely previous chelating with
0.16 g/l EDTA of salts, containing ions of calcium, magnesium
and iron, the elimination of deposition, wherein the deposit
contains these elements, and increasing of productivity of
Spirulina platensis cyanobacteria cultivation to 20% as compared
with the cultivation on control nutrient medium (Zarucca medium)
were achieved.
MD3171 --- Process for Spirulina
platensis cyanobacterium biomass obtaining
Abstract -- The invention
refers to biotechnology, namely to a process for obtaining
Spirulina platensis cyanobacterium biomau industry, as well as
in the clinical and experimental medicine. The process,
according to the invention, includes inoculation of
cyanobacterium in the quantity of 0,40`0,45 g/l in a nutrient
medium containing, g/L: NaHCO3 - 16,8, K2HPO4@3H2O - 0,1, NaNO3
- 2,5, NaCl - 1,0, K2SO4 - 1,0, CaCl2@6H2O - 0,04, MgSO4@7H2O -
0,20, H3BO3 - 0,00286, MnCl2@4H2O - 0,00181, CuSO4@5H2O -
0,00008, MoO3 - 0,000015, water - up to 1L and [Zn(Gly L-Ser)] -
0,02`0,03, which is added by instalments: 1/3 on the first day
and 2/3 on the third day of cultivation, and cultivation thereof
during 6 days in the accumulation regime by a light of 3000`4800
lx, at a temperature of 30`35?C and pH 9,5`10,0.
MD3129
--- Process for Spirulina platensis cyanobacterium biomass
obtaining
Abstract -- The invention
refers to biotechnology, namely to a process for Spirulina
platensis cyanobacterium biomass obtaining and may be used in
the pharmaceutical industry, clinical and experimental medicine.
The process, according to the invention, includes inoculation of
the cyanobacterium in the quantity of 0,40...0,45 g/L into a
nutritive medium containing, g/L: NaHCO3 - 16,8, K2HPO4 - 0,1,
KNO3 - 3,75, NaCl - 1,0, K2SO4 - 3,75, CaCl2.6H2O - 0,04,
MgSO4.7H2O - 0,7, H3BO3 - 0,00286, MnCl2.4H2O - 0,00181,
ZnSO4.7H2O - 0,00022, CuSO4.5H2O - 0,00008, MoO3 - 0,000015,
FeSO4.7H2O - 0,024, Fe-EDTA - 0,025, water - up to 1 L, to which
on the first day of cultivation it is added the coordinative
compound [Fe2MgO(C4H3OCOO)3(CH3COO)3(H2O)(C4H8O)] in the
quantity of 0,under at the light of 3400...4800 lx, at the
temperature of 31...36?C, pH 9,5...10,0. The result consists in
raising the activity of superoxidedismutase in the obtained
biomass.
MD3128
--- Process for Spirulina platensis biomass obtaining
Abstract -- The invention
refers to biotechnology, in particular to a process for
Spirulina platensis biomass obtaining that may be used in the
pharmaceutical industry, as well as in the clinical and
experimental medicine. The process for Spirulina platensis
biomass obtaining includes preparation of the nutrient medium,
containing, g/L of water: NaHCO3 - 16,8; K2HPO4 - 1,0; KNO3 -
3,75; NaCl - 1,0; K2SO4 - 3,75; CaCl2(6H2O - 0,04; MgSO4(7H2O -
0,70; H3BO3 - 0,00286; MnCl2(4H2O - 0,00181; ZnSO4(7H2O -
0,00022; CuSO4(5H2O - 0,00008; MoO3 - 0,000015; FeSO4(7H2O -
0,024; Fe-EDTA - 0,025, inoculation of the Spirulina platensis
suspension in the amount of 0,40...0,45 g/L and cultivation
thereof during 6 days in the accumulation regime under the light
of 3400...4800 lx, at a temperature of 31...36?C and pH of
9,5...10,0. Novelty of the invention consists in that on the
first day of cultivation into the medium is added the
coordinative compound [Fe2Mg(CCl3COO)6(CH3OH)3] in the quantity
of 0,005...0,025 g/L.
MD3417 --- Nutrient medium for
cultivation of Spirulina platensis cyanobacyterium
Abstract -- The invention
refers to biotechnology, in particular to a nutrient medium for
cultivation of Spirulina platensis cyanobacterium and may be
used for obtaining spirulina biomass with an increased content
of iodine, selenium and germanium. The claimed nutrient medium
comprises the Zarrouk standard medium, wherein it is
additionally added Kl, Na2SeO3 and GeO2, in the following ratio
of ingredients, g/L:Kl 0,004à0,005Na2SeO3 0,010à0,0105GeO2
0,0025à0,0030.
MD2501
--- Process for Spirulina platensis biomass obtaining
Abstract -- The invention
refers to biotechnology, in particular to processes for
Spirulina platensis biomass obtaining, enriched with peptides,
amino acids, proteins, phycobiliproteins, polysaccharides and
lipids, used in the pharmaceutical, food and cosmetic industry.
The claimed process consists in spirulina cultivation on the
nutrient medium Gromov No. 16 in the accumulation regime, with
periodic mixing, at the temperature of 35+- 2 degree C and
permanent illumination of 12...15 thousand erg/cm2 in the first
24 hours of utilization and of 18...21 thousand erg/cm2 in the
next 96 hours. In the first day of cultivation, after Spirulina
platensis inoculation, in the medium is added white or red wine
in the amount of 1...2 ml/L. The result of the invention
consists in increasing the content of amino acids, proteins,
peptides, phycobiliproteins, polysaccharides and lipids in the
Spirulina platensis biomass.
US4431738 ---Method of plant
tissue and cell culture
Abstract -- In a plant
tissue and cell cultivation, a method for facilitating both cell
multiplication and differentiation is attained by conducting the
cultivation in a culture medium containing an extract of micro
algae such as Chlorella, Scenedesmus and Spirulina
US6698134 --- Method of
cultivating fresh spirulina at home and device thereof
Abstract -- The present
invention discloses a method and an apparatus for cultivating
and consuming fresh Spirulina at home. The method comprises
species selection of Spirulina for cultivation at home,
cultivation environment and apparatus conditions, cultivation
and maintenance of Spirulina, collection of fresh Spirulina,
consumption and storage of fresh Spirulina. The invention
changes the situations that Spirulina are only produced in
plants and the finished products of Spirulina are bought in
stores or hospitals. The invention not only enables the
nutrients of Spirulina to be stored and utilized much
completely, but also comprehensively utilizes this original
biological resource and characteristics of Spirulina (such as
absorption of carbon dioxide, release of fresh oxygen and
production of high-protein nutrient source) and thus develops
and popularizes much quickly the edible Spirulina to meet the
needs of the public to health foods.
US4217728 --- Apparatus for
cultivating algae
Abstract -- A flow
rectifying device is provided in a cultivation basin used in the
cultivation of algae of the type in which there is a horizontal
circulating flow of the cultivation water. The flow rectifying
device avoids the formation of puddles or stagnant water and
provides for uniform flow of the circulating water as the
direction of flow changes at corners of the basin. The flow
rectifying means includes a plurality of curved parallel fins
for smoothly deflecting the flow of the circulating cultivation
water and thereby prevents contamination of the cultivation
liquid by preventing algae from being destroyed. The apparatus
is particularly useful in cultivating blue-green algae of the
genus Spirulina and other aquatic lower algae.
MD20010258 --- Process for
cultivation of cyanobacteria Spirulina platensis
Abstract -- The invention
refers to biotechnology, in particular to a process for
cultivation of cyanobacteria Spirulina platensis. The process
for cultivation of cyanobacteria Spirulina platensis includes
seeding of spirulina on the Gromov's medium No. 16, wherein on
the third day of cultivation it is added in the capacity of zinc
source one of the coordinative compounds: [Zn(CH3COO)2ò4H2O],
[Zn (CH2ClCOO)2ò4H2O], [Zn(CH2BrCOO)2ò4H2O],
[Zn(CHBr2COO)2ò4H2O], [Zn(CCl3COO)2ò4H2O], [Zn(CBr3COO)2ò4H2O]in
the concentration of 5...20 mg/L. The cultivation is carried out
during 6 days at the lighting of 3000...4000 lx and the
temperature of 30...35 degree C.The result of the invention
consists in increasing the productivity of spirulina with
increased content of peptides and aminoacids.
MD20010148 --- Process for
cultivation of cyanobacteria Spirulina platensis
Abstract -- The invention
refers to biotechnology, in particular to a process for
cultivation of cyanobacteria Spirulina platensis, representing a
source of phycobiliproteins and carotenoids, used in the
pharmaceutical, food industries and in cosmetology. The process
for cultivation of cyanobacteria Spirulina platensis includes
inoculation of spirulina in a quantity of 0,4...0,5 g/L on a
nutrient medium in the following ratio of ingredients (g/L):
NaHCO3 - 16,8; K2HPO4A3H2O - 1,0; NaNO3 - 2,5; NaCl - 1,0; K2SO4
- 1,0; CaCl2A6H2O - 0,04; MgSO4A7H2O - 0,20; H3BO3 - 0,00286;
MnCl2A4H2O - 0,00181; ZnSO4A7H2O - 0,00022; CuSO4A5H2O -
0,00008; MoO3 - 0,000015.; On the third day of cultivation in
the said medium it is added 5...10 mg/L of one of the following
co-ordinative compounds with nitrate: hexa-A-glycinato
(O,O')-A3-oxotriaquotriferrum(III)trihydrate-[Fe3O(Gly)6(H2O)3]
NO3A3H2O,
hexa-A-treoninato(O,O')-A3-oxotriacquotriferrum(III)-[Fe3O(Gly)6(H2O)3]NO3
or
hexa-A-alaninato(O,O')-A3-oxotriaquotriferrum(III)tetrahydrate-[Fe3O(Ala)6
(H2O)3]NO3A4H2O.
The process is carried out at a temperature of 30...35 degree C
and illumination of 3000...4000 lx.The result of the invention
consists in the intensification of the synthetic process that
facilitates the increase of the spirulina biomass productivity
as well as the content of carotenoids and phycobiliproteins
RO117388 --- MUTANT OF
SPIRULINA PLATENSIS (NORDST) GEITL, CULTURE MEDIUM,
PROCESS AND INSTALLATION FOR CONTINUOUS FLOW CULTIVATION
Abstract -- The invention
relates to a mutant of Spirulina platensis (Nordst) Geitl
deposited in the CCTE collection as Spirulina platensis (Nordst)
Geitl CCTE-1997, under the number 3, at 09.08.97. The culture
medium, especially conceived for the Spirulina platensis
(Nordst) Geitl CCTE-97/3 consists of mineral water and
thermo-mineral water, HCO3, nitrites, ammonium, SO-2 4,
chlorides, Na+, K+, Mg2+, Ca2+, iron, phosphorus, NaHCO3 and
NaNO3. The invention also describes a process for continuous
flow cultivation of Spirulina platensis (Nordst) Geitl CCTE 97/3
for preparing biomass, which is developed in a pyramid-type
construction having square basis, glass lateral surface and a
ratio of 1.618 between the side of the basis and the height, the
sides of the basis being oriented along the directions N-S and
E-W, having determined sizes, ensuring natural light for 10...12
h/day. The invention also relates to an installation for the
continuous flow cultivation of the Spirulina platensis (Nordst)
Geitl CCTE 97/3 form, which comprises the Spirulina culture
assembly consisting of tanks (1a, 1b, 1c and 1d),
electrically-operated valves, pipe, flowmeter, filter, pump,
pipe connections, pipe, electrically-operated valves, tank for
supplementing the waste medium, strainer pump, float devices,
the circuit for inoculum and completion with fresh medium
comprising a fresh medium preparation tank, pump, pipe, pipe
connection, inoculum tank, signalling float device, distributing
pipe, electrically-operated valves, the suspension ventilation
assembly comprising a device for increasing the pressure of the
free or CO2 enriched air, pipe and nozzles for forming air
microbubbles; the suspension temperature control assembly
comprising a thermal plant, a pipe and heat exchangers; the
suspension stirring assembly consisting of paddles; the
additional illumination automatic assembly comprising lamps and
sensors; the pH measuring and signalling assembly consisting of
devices.
JP3254674 --- CULTIVATION OF
BLUE-GREEN ALGA OF GENUS SPIRULINA
Abstract -- PURPOSE:To
culture the subject blue-green alga useful as a raw material of
functional food by increasing gamma-linolenic acid accumulated
in the alga with further adding ammonium salt to a medium at
logarithmic growing stage thereof in a cultivation using a
specific inorganic liquid medium. CONSTITUTION:A blue-green alga
of genus Spirulina is cultured in an inorganic liquid medium
containing nitrate of alkali metal as an N-source and ammonium
salt is further added to the medium at a logarithmic growing
stage of the blue- green alga to culture the objective
blue-green alga. Besides, said blue-green alga is once harvested
during a period from middle stage to final stage in the
logarithmic growing stage and blue-green alga harvested at the
next time is preferably cultured again in a medium containing
ammonium salt.
JP62074280 --- CULTIVATION OF
ALGA OF GENUS SPIRULINA
Abstract -- PURPOSE:To carry
out the mass cultivation of Spirulina which is an alga belonging
to Cyanophyceae, in high efficiency, by adding sodium
bicarbonate, sodium chloride and sodium nitrate to the residual
liquid of methane fermentation and culturing the alga in the
mixture. CONSTITUTION:The residual liquid of methane
fermentation is filtered, and the filtrate is added with about
0.8% sodium bicarbonate, about 0.1% sodium chloride and about
0.2% sodium nitrate to obtain the culture liquid. The liquid is
sterilized and inoculated with Spirulina, and the alga is
cultured in an incubator at about 30 deg.C under the light
irradiation of 3-4K-lux for 8hr a day. After the cultivation for
about 30 days, about 0.7g of the dried cell of the Spirulina is
obtained per 1 liter of the culture liquid.
JP59213386 --- CULTIVATION OF
SPIRULINA BELONGING TO CYANOPHYCEAE
Abstract -- PURPOSE:To carry
out the mass cultivation of Spirulina which is an alga belonging
to Cyanophyceae, in high efficiency, by adding sodium
bicarbonate, sodium chloride and sodium nitrate to the residual
liquid of methane fermentation and culturing the alga in the
mixture. CONSTITUTION:The residual liquid of methane
fermentation is filtered, and the filtrate is added with about
0.8% sodium bicarbonate, about 0.1% sodium chloride and about
0.2% sodium nitrate to obtain the culture liquid. The liquid is
sterilized and inoculated with Spirulina, and the alga is
cultured in an incubator at about 30 deg.C under the light
irradiation of 3-4K-lux for 8hr a day. After the cultivation for
about 30 days, about 0.7g of the dried cell of the Spirulina is
obtained per 1 liter of the culture liquid.
CA1171372
--- METHOD OF CELL CULTURE
Abstract -- A method of
culturing human cells which comprises effecting cultivation in a
culture medium containing an extract of micro algae, such as
Chlorella, Scenedesmus and Spirulina, said method permitting the
normal successive cultivation of human cells to be maintained
efficiently without giving birth to any morphological and
genetic mutation over a much greater number of successions of
generations than was hitherto even by the incorporation of
animal serum in the culture medium, the improvement occurring
even when the addition of such animal serum is cut down
substantially, or even completely excluded.
CA1165707
--- METHOD OF TISSUE CULTURE
Abstract -- In a tissue
culture of animal cells, it is made possible to perform
successive cultivation of animal tissue efficiently under
sparing or even without use of animal serum which is
indispensable in the conventional method, by conducting the
tissue culture using a culture medium containing an extract of
micro algae such as Chlorella, Scenedesmus, Spirulina and so on.
ITAN920007 --- Plant for the
industrial cultivation of microalgae such as Spirulina,
Scenedesmus, Chlorella and the like
ZA200702121 -- An economical and
efficient method for mass production of spirulina
KR20100113180 ---METHOD FOR
CIRCULATORY CULTIVATING SPIRULINA SP
KR20100094965 --- DEVELOPMENT OF
LOW-COST MEDIA FOR MASS CULTURE OF SPIRULINA
KR100697610 --- The culture
method of spirulina using deep water and spirulina
cultivated by the culture method
KR20090073954 --- A METHOD TO
PRODUCE A SPIRULINA ALGAE USING DEEP SEA WATER
KR100704436 --- METHOD FOR
MANUFACTURING SPIRULINA SP. ALGAE
KR100808115 ---THE METHOD OF
PREPARING SPIRULINA MEDIUM USING DEEP WATER
Abstract -- A method for
preparing a spirulina medium is provided to be able to improve
the spirulina medium by using purified deep sea water through
precipitation and filtration, thereby the prepared medium
capable of promoting the growth of the spirulina and efficiently
mass-producing the same. A method for preparing a spirulina
medium comprises the steps of: preparing a culture medium
by putting 18.61 grams of sodium hydrogen carbonate in 500ml of
distilled water without adding sodium carbonate and potassium
dihydrogen diphosphate thereto; and (b) mixing 10% of deep sea
water, which is obtained by being precipitated at a temperature
of 40 deg.C for 7 days and then filtered through 0.2mum filter,
with the culture medium.