rexresearch.com


Constantinos VLACHOS

ThermoHydraulic Motor


US Patent # 2,725,013
Rotary Engine

( 29 November 1955 )

This invention relates to piston carriers, housings therefor and rotary engines.

One object of the invention is to provide a rotary engine which may effectively function as a motor, pump, or compressor. Rotary movement applied to the rotor performs the function of a pump or compressor, and fluid under pressure when applied through inlet ports causes the engine to perform as a motor.

Another object of the invention lies in the provision of fluid pressure means for shifting related parts of the engine into working position and thereby making compensation for any wear which may be present among the parts and thus maintain a perfect fluid seal between working parts.

Another object of the invention lies in the provision of an engine that is nearly silent in its operation and which may be run in either direction to perform the function required of it.

Another object of the invention lies in the provision of an engine which may be operated in any position with equal efficiency.

These and other objects and advantages of the invention will be apparent during the course of the following description.

In the accompanying drawings, forming a part of this specification, and in which like numerals are employed to designate like parts throughout the same.

Figure 1 is a side elevation of a rotary engine embodying my invention.

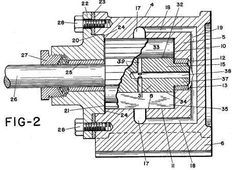
Figure 2 is a central vertical longitudinal section through the same, as at line 2-2 of Figure 1, and

Figure 3 is a vertical transverse section through the same.

Inspection of the drawing will reveal that the exemplified form of my invention has a cast housing 4 comprising a body 5 and a base 6. The base is drilled and tapped to receive anchoring bolts 7 for mounting the engine for use.

An oblong socket 8 is formed in the body 5 from its front face 9 and extends longitudinally into the body terminating in a faced end wall 10. The side walls 11 of socket 8 are also polished or faced to present a smooth working surface for the cooperating parts. A bearing well 12 is formed coaxially of socket 8 and in end wall 10 and a bronze, or other type, bushing 13 is pressed therein to form a bearing for the rotor described hereafter.

Radially extending, internally threaded and diametrically opposed ports 14 are provided in the body 5 and communicate with socket 8. Each port is spaced from its adjacent ports 90 degrees on centers, thus providing four of said ports.

As indicated in Figure 3, when the greatest transverse dimension of socket 8 is horizontal, the ports 14 are positioned 45 degrees above and below horizontal ones on each side of a longitudinal vertical plane. Of course, socket 8 may be positioned at any angle desired and the pots will then be provided in the same position relative to the socket.

Piston carrier or rotor 15 is substantially circular in transverse cross section, as seen in Figure 3, and when positioned centric of socket 8 adjacent crescent shaped chambers 16 between the rotor and housing 4. Ports 14 thus open into socket 8 adjacent the extreme ends of chambers 16. It will be noted by the arrows of Figure 1 and 3 that the opposed ends of chambers 16 have opposite ports 14. That is, one end has an inlet port while the opposed end of the same chamber has an outlet port, and the opposed chambers 16 on their corresponding upper or lower ends also have opposite ports.

Between the ports of the corresponding ends of opposed chambers 16, I have provided bypass grooves 17 which communicate with socket 8 throughout their length, and midway the length of said grooves, I have provided conduits 18 communicating with said grooves and extending longitudinally of the housing 4. Conduits 18 terminate at their rear ends in a vertically extending conduit 19 which communicates midway its length with the bearing well 12.

About the mouth of socket 8, I have provided a recess 20 in face 9, and a matching boss 21 carried over by cover plate 22 is fitted therein. A gasket or sealing ring 23 encircles the boss 21 and is clamped between face 9 and cover plate 22 to seal the socket against leaking. The longitudinal movement of boss 21 into socket 8 is limited by reason of shoulders 24 defined by recess 20, thus providing a proper final longitudinal dimension for socket 8. A bushing 25 is pressed into cover plate 22 coaxial with socket 8 and bearing well 12 and provides a bearing for shaft 26 of piston carrier or rotor 15. A packing gland and nut 27 are provided to seal the shaft and cover plate and preclude fluid leaking therebetween. Multiple stud bolts 28 pass through spaced openings in cover plate 22 and thread into housing 4 to secure the plate thereon.

As seen in Figure 1, hoses 29 are adapted with fittings 31 to attach the hoses to ports 14 and permit fluid passage therethrough.

Rotor or piston carrier 15 is provided with radially disposed longitudinally extending multiple slots about its periphery. As indicated in Figure 3 the rotor has a hub 31 and spaced on centers every 120 degrees about the periphery of the hub are outwardly divergent roller receiving slots 32 having tubular rolling pistons 33 therein and positioned about the hub 60 degrees from slots 32 are vane receiving slots 34 also occurring every 120 degrees about the hub from each other. Vane pistons 35 are carried by slots 34 and slideable therein. Positioned intermediate each piston receiving slot 32 and 34 I have provided compression slots 36.

Centric of hub 31 and integral therewith, I have provided a stub shaft 37 adapted to rotatably fit in bearing 13, and a central bore 38 forms a conduit through the shaft 37 into the hub 31. Radially extending conduits 39 communicate with central conduit 38 and at their outer ends communicate with the piston receiving slots 32 and 34 midway their lengths.

The operation of the rotary engine as a motor is as follows:

Fluid under pressure (from any source not known) is introduced into the housing through ports 14 indicated by the arrows pointing inwardly. A portion of the fluid passes through grooves 17 and conduits 18 and 19 to bearing well 12 where it flows into conduits 38-39 and forces pistons 33 and 35 outwardly to contact walls 11 of socket 8. Since the volume of fluid entering is greater than that which will pass through grooves 17, pressure is exerted upon pistons 3 and 35 which are then positioned beyond the respective inlet ports and in chambers 16, thus causing the rotor to turn. The movement of the rotor will be in the clockwise direction as viewed in Figure 3. However, the roller pistons 33 will not be in the positions shown in Figure 3, but rather shifted clockwise in socket 8 and positioned to bear against the opposite side of their respective slots from that side shown. To reverse the direction of the motor, it is only necessary to reverse the direction of fluid flow and the motor will reverse.

When operating the engine as a pump, rotary motion is applied to the rotor from a mechanical source. A portion of the fluid pressure created by the pump flows through the described conduits 18-19-38 and 39 to create a pressure behind the pistons and cause them to extend to the socket walls. The pistons create a reduced pressure in the intake ports and cause them to extend to the socket walls. The pistons create a reduced pressure in the intake ports and eliminate the necessity of priming the pump, and it is easily seen how the pistons pump the fluid through the chambers 16 and out of the outlet ports 14.

It is theorized that the compression slots 36 provide greater area for creating a reduced pressure in the intake ports thus increasing the ability to pump and draw up its prime. It also provides a greater are within the housing for compression when the engine is so used. It is not definitely known how the compression slots work to enhance the ability of the engine in its three functions, but working models have proven that such is the case.

Having thus described my invention, I claim: [ Claims not included here ]