EWB
Braking Technology

http://www.siemens.com/innovation/en/publikationen/publications_pof/pof_fall_2005/auto_electronics/braking_systems.htm
Wonder
Wedge
by
Norbert
Aschenbrenner
A
revolution in braking technology is in the making. A new
electronic wedge brake currently being developed for market
launch by Siemens can be used for any type of vehicle. But
that’s not all. The new brake is also faster, less expensive
and more efficient than conventional hydraulic systems.
Bernd Gombert cranks up the metal disk until it rotates at
speed. "Now, press here and make it stop," he says. It
requires strong pressure applied with the palm of the hand
before the plastic brake pad brings the disk gradually to a
halt. "Friction," says Gombert in his dry engineer’s manner.
"That’s how today’s cars brake. Now try the wedge." Once
again, he cranks the disk up, only this time harder. The
small wedge is mounted at the side, between a metal pin,
which sits parallel to the disk, and a guide mechanism.
Although the metal disk is rotating very quickly, a prod of
the index finger is all it takes for the wedge to be
literally dragged onto the disk, which snaps to a halt
immediately. "That’s how they used to brake horse-drawn
vehicles," says Gombert with a grin. "And, in principle,
that’s how brakes will function in the future. A lowenergy,
low-cost system with a simple mechanical design!" Not that
Gombert is advocating a return to the horse-drawn era, when
wedge brakes were used to provide a highly effective but
very abrupt means of bringing the wheels of a cart or
carriage to a halt. Instead, he’s referring to the
Electronic Wedge Brake (EWB), a development project that
Gombert heads at Siemens VDO Automotive (SV). "The
difference is that we stop the wedge from completely locking
the wheel by preventing it from being fully dragged in
between the mounting and the brake disk," he explains. The
trick here is to allow the wedge to be pulled in until the
desired braking moment has been achieved, but no further.
This in turn requires sophisticated sensors and a precisely
controllable electric motor.
For each wheel, the electronic wedge brake has a control
unit (see diagram above) consisting of a brake pad, a
mechanical transfer system, two electric motors for
precision control, and sensors to measure movements and
forces. Around 100 times a second, a total of four sensors
measure wheel rotation and therefore the speed of the
vehicle, the forces on the brake and the position of the
wedge. Whenever the driver presses the brake pedal, the
system transmits the force electromechanically to the
wheels, which are electronically networked with one another.
Depending on the sensor readings and the braking signal
coming from the driver, the two electric motors move the
brake pad over a series of rollers along a slanted
surface—the actual wedge. The position of the rollers on the
inclined surface determines the pressure point of the brake
pad. When the pad presses against the disk, the latter is
immediately braked. As soon as a high braking moment is
generated by increasingly powerful frictional forces, the
electric motors either hold the brake pad in position or
move it back over the roller bearing and into an optimum
position. The distances involved are a matter of
micrometers, and the response times are measured in
milliseconds. The vehicle’s onboard 12-V network is
perfectly suited to driving the electric motors. In fact, a
flashlight battery would also be powerful enough.
"The intelligently controlled wedge converts the vehicle’s
kinetic energy directly into braking energy," explains
Gombert. As a result of this self-reinforcement, the EWB
only requires one tenth of the actuating energy required by
today’s hydraulic braking systems. What’s more, it also
responds substantially quicker. Given this significantly
enhanced efficiency, the EWB will also have smaller
dimensions and therefore reduce total vehicle weight. At the
same time, there will no longer be any need for brake lines,
a power brake unit or a brake fluid reservoir, which will
free up a volume of around 22 l in the engine compartment
and thereby give vehicle designers added scope. "And you
won’t need a hand brake any more," adds Karsten Hofmann,
head of Chassis Product Marketing at SV.
Likewise, the well-nigh ubiquitous ABS anti-lock braking
system and the less prevalent electronic stability program
(ESP) will be replaced by the integrated software in the EWB
system. "We’ve developed our own algorithm that reproduces
these functions," explains Hofmann. "But our system is much
quicker." All in all, it takes 140 to 170 ms for a
conventional ABS to generate full braking power. The EWB
only needs around 100nbsp;ms, an advantage which, according
to Siemens engineers, should make a difference on uneven and
icy roads. "Our system can control each individual wheel
faster than any hydraulic system and thus keep them on
course better," says Hofmann.
With the EWB project, Siemens VDO is also preparing for the
time when electric vehicles will claim a much greater market
share. In fact, successful hybrid cars can already be seen
on our roads today, including the Toyota Prius, which enjoys
cult status in California and has been voted Car of the Year
2005 by European auto magazines. Future electric cars may
well be equipped with an individual motor for each wheel.
This would generate substantially higher torque directly at
the wheel and therefore liberate more power to accelerate
the vehicle. Another possibility would be to recover kinetic
energy during braking. Here, the electric motor fitted to
the wheel would also function as a generator and produce
electricity to recharge the battery.
Brake by wire. The EWB would be a perfect complement here,
as it would be able to supply whatever additional and
emergency braking capacity is required. It could also be
used in conventionally powered vehicles to provide a range
of electronic "brake-by-wire" features. These might include
a "soft-stop" function, whereby the system brings the
vehicle to a smooth halt by automatically reducing the
braking force just before it stops, or an antistall
assistant controlled by software, which would prevent the
vehicle from rolling back when pulling away on a gradient.
Such a feature would certainly be welcomed by student
drivers. Although the EWB requires a constant electrical
current, it is immune to problems associated with the
onboard power supply. "If the current to one of the wheels
were disrupted, the system would automatically compensate by
distributing the braking power to the others," says Hofmann.
And if the vehicle’s entire power supply system failed, an
emergency battery would ensure that all vital functions were
maintained until the fault was remedied.
However, Gombert isn’t too worried about problems related to
the new system. He’s much more interested in its potential.
Gombert was a top researcher at the German Aerospace Center
(DLR) before leaving to devote more time to the EWB project.
In 2000 he set up his own company, eStop, which was taken
over by Siemens VDO in 2005. Gombert holds almost 120
patents, 40 of them with eStop, for various aspects of the
EWB system. In September of this year, his team demonstrated
the principle at the International Motor Show in Frankfurt,
Germany, and are currently testing the system in a vehicle
that will be made available to automakers at the end of the
year for further tests. The pilot customer is a major
European automobile manufacturer. If everything goes
according to plan, the first vehicles fitted with the EWB as
standard should hit the roads in 2009. Before then, however,
this completely new technology will have to prove that it
can compete both technically and economically with a braking
system that has been successfully employed for more than 70
years. Aside from passenger cars, Gombert also sees big
potential for the new system in heavy-duty vehicles. Today’s
trucks are fitted with air brakes, and it can take up to a
second for the brake signal to reach a rear trailer. Using
the EWB system, it would be possible to brake a trailer more
quickly and in a more controlled way. In principle, any
wheeled vehicle can be braked using this new system,
including high-speed trains, which are currently equipped
with maintenance-intensive and therefore expensive brakes.
Gombert also has an eye on automation technology, which
employs all sorts of motors. His vision is that his
technology might one day be used to brake and regulate
anything driven by a motor.
ELECTROMECHANICAL
ZERO BACKLASH BRAKE
WO2007057465
US2009101453
Inventor: BAIER-WELT CHRISTIAN et al
The invention relates to an electromechanical brake (10),
especially for vehicles, which comprises an electrical
actuator (18) producing an actuation force and acting upon
at least one friction member (21) in order to force said
member against a component (21) of the brake to be slowed
down, thereby eliciting a frictional force. The invention
also comprises a self-energizing system arranged between
the friction member (21) and the electrical actuator (18).
Said system comprises a wedge arrangement (11) that serves
to self-boost the actuation force produced by the
electrical actuator (18). The aim of the invention is to
simplify said system in terms of design and control
technology. For this purpose, the actuator (18) has a
single electric motor (24) and the actuation force
produced by it is released via a spindle/nut arrangement
(30) having a rotationally received, stationary spindle
(26) and a rotationally fixed nut (28) that can axially
travel on the spindle by rotating the spindle.
Alternatively, the nut is received so as to be stationary
and rotatable and the spindle is rotationally fixed and
can axially travel. The spindle (26) is rotationally
received by means of axially prestressed bearings (36, 38)
and the nut (28) is mounted on the spindle (26) in a
manner axially prestressed in relation to the spindle. The
traveling movement of the nut (28) is transmitted onto the
wedge arrangement (11) by means of a transmission element
which is connected to the nut (28) and to the wedge
arrangement (11) with zero backlash.
[0001] The invention relates to an electromechanical
brake, especially for vehicles, which comprises an
electrical actuator producing an actuation force and
acting upon at least one friction member in order to force
said member against a component of the brake to be slowed
down, thereby eliciting a frictional force and a
self-energizing system arranged between the friction
member and the electrical actuator and comprising a wedge
arrangement that serves to self-boost the actuation force
produced by the electrical actuator. The wedge arrangement
has at least one wedge with a gradient angle a, which is
supported against an associated support. Such an
electromechanical brake is known from WO 02/095257.
[0002] Another electromechanical brake with a
self-energizing system is known from the German patent
specification DE 198 19 564 C2. In the case of the brake
described in this document, the problem arises that the
extent of self-boosting, determined by the selection of
the gradient angle a of the wedge or wedges of the wedge
arrangement, can always only be dimensioned so large that
irrespective of the friction coefficient p between the
friction lining and the component to be slowed down, which
changes depending on the operating state of the brake,
either a compressive force or a tractive force is always
exerted on the wedge of the self-energizing system. A
change of sign of the actuator force is to be avoided,
because otherwise the backlash existing in the actuator
has to be passed through, which results in undefined
states and thus in unwanted fluctuations in the control
parameters (braking force). As a result of these
restrictions, with the electromechanical brake known from
the said document, the range of the optimum self-boost,
namely the range in which the value of the friction
coefficient u corresponds at least approximately to the
value tan a, cannot be used, because the required
actuation force, in other words the actuator force,
changes its direction at the point of optimum self-boost,
i.e. if the friction coefficient µ has the same value as
the tangent of the gradient angle a.
[0003] In accordance with the aforementioned WO 02/095257,
the problem of the actuator backlash is solved by means of
an actuator, which has two electric motors, which operate
against one another in a defined manner in order to
eliminate actuator backlash which exists in most operating
situations. Such a solution apparently defines an
increased outlay in terms of design and control
technology.
[0004] The object underlying the invention is to provide
an improved electromechanical brake with self-boost, the
working range of which can lie within the range of the
optimum self-boost without resulting in negative effects
in respect of its controllability and which is still
configured in a simple fashion in terms of design and can
be easily handled in terms of control technology.
[0005] Based on an electromechanical brake of the type
mentioned in the introduction, this object is achieved in
accordance with the invention by a brake having the
features specified in claim 1 or 2. To simplify the design
and control technology outlay, the actuator of the
inventive brake accordingly has only one single electric
motor, which releases the actuation force produced thereby
via a spindle/nut arrangement either having a rotationally
received, stationary spindle and a rotational fixed nut
that can axially travel on the spindle by rotating the
spindle or a rotationally received, stationary nut and a
rotationally fixed spindle that can axially travel by
rotating the nut. The rotational spindle is rotationally
received by means of one or several axially prestressed
bearings so that no unwanted backlash occurs in the
actuator. The axial prestress of receiving the spindle
eliminates any axial spindle backlash. The nut is also
attached prestressed to the spindle in the axial direction
in relation to the spindle in order to eliminate any
backlash between the nut and the spindle. Finally, the
traveling movement of the nut or of the spindle is
transmitted onto the wedge arrangement by means of a
transmission element which is connected on the one hand to
the nut or the spindle and on the other hand to the wedge
arrangement with zero backlash. In this way, each
actuation movement produced by the electric motor of the
actuator is transmitted with zero backlash onto the wedge
arrangement of the self-energizing system, irrespective of
whether the momentary operating state of the brake
requires the exertion of a compressive force or a tractive
force onto the wedge arrangement in order to maintain a
desired brake force.
[0006] In accordance with a preferred embodiment of the
electromechanical brake according to the invention, at
least one axially prestressed oblique ball bearing
receives the rotational spindle in a prestressed fashion
in the axial direction. The oblique ball bearing is
arranged in a known manner to persons skilled in the art
within this field such that it exerts a certain amount of
pressure in the axial direction and thus eliminates
potentially existing axial backlash of the spindle
received therewith. Advantageously in terms of design, two
axially prestressed oblique ball bearings are used to
rotationally receive the spindle with zero backlash, with
the axial prestress of these two bearings then taking
place in opposite directions in respect of this spindle.
All other bearings enabling an axial prestress such as
e.g. roller or needle bearings can likewise be used.
Alternatively, the rotational spindle is received in a
fixed/moveable bearing arrangement.
[0007] With preferred exemplary embodiments of the
inventive electromechanical brake, the axial prestressing
of the nut in respect of the spindle is realized here in
that the nut includes two nut elements which are axially
prestressed in respect of each other. The two nut elements
have an adjustable and fixable axial distance from one
another. The axial distance of the two nut elements is
adjusted such that backlash no longer exists in respect of
the spindle and this axial distance is then fixed in order
to eliminate any backlash between the nut and the spindle.
For instance, the two nut elements can be connected to one
another by way of an axial thread, so that the axial
distance between both nut elements can be adjusted and
fixed by means of a counter nut by means of screwing the
one nut element into and out of the other nut element.
[0008] With a preferred embodiment of the inventive
electromechanical brake, the transmission element is a
coupling bar which is pivotably coupled to the nut or the
spindle and the wedge arrangement, the bearing points of
which are prestressed with zero backlash. According to one
embodiment, the bearing points are embodied as a polygonal
profile so that a zero backlash position is achieved by
means of rotation which is carried out relative to one
another. The bearing points can also be embodied as solid
body links, e.g. in the shape of a leaf spring.
Alternatively, each other transmission element can be
used, which is either with zero backlash or can be
configured with zero backlash by suitably embodying its
linkage points and/or bearing points. For instance, a
two-piece rod which is pivotably coupled to the nut or
spindle and the wedge arrangement can be used as a
transmission element, the two parts of which are connected
to one another by means of a thread engagement. By
screwing the one part into and/or out of the other
respectively, the length of such a rod can be adjusted
such that backlash present on the linking and/or bearing
points no longer has an effect.
[0009] With preferred embodiments of the inventive
electromechanical brake, the spindle extends in parallel
or in any case almost parallel to a wedge bevel of the
wedge arrangement. The wedge bevel is preferably that
which is used for braking in the direction in which the
most braking processes are expected. In the case of a
brake for a motor vehicle, this wedge bevel will be the
wedge bevel responsible for braking while traveling
forward. The spindle arranged at least essentially
parallel to the wedge bevel provides for hardly any and/or
no relative movement to still occur between the nut or the
spindle of the spindle/nut arrangement and the component
of the wedge arrangement moved by the actuator, if this is
such a brake in which the wedge bevel of the wedge
arrangement which is parallel to the spindle is used. The
spindle which is arranged at least essentially parallel to
the wedge bevel, which corresponds to the main braking
direction, is also characterized in the case of braking
actions in the main braking direction by the extensive or
complete absence of shear forces, which would otherwise,
i.e. in the event of an arrangement of the spindle
selected at least essentially parallel to the wedge bevel,
act upon the spindle.
[0010] With applications of the inventive
electromechanical brake, in which the gear reduction of
the rotary motion of the electric motor which is achieved
by the spindle/nut arrangement is not sufficient, the
electric motor can itself be embodied as a
engine/transmission unit in order to provide a larger
overall gear reduction.
[0011] On the whole, provision is made in accordance with
the invention, as a result of only one spindle/nut
arrangement and only one electric motor, for a more
cost-effective electromechanical brake which is easier to
control in terms of control technology and is of a simpler
design.
[0012] Two exemplary embodiments of an inventive
electromechanical brake are described in more detail below
with reference to the appended schematic figures, in
which;
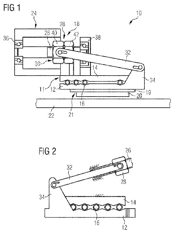
[0013]
FIG. 1 shows a partially cutout view of the most
important components of a first exemplary embodiment of
an inventive electromechanical brake having a
self-energizing system, and
[0014]
FIG. 2 shows a detailed view of a second exemplary
embodiment of an inventive electromechanical brake
having a self-energizing system which is modified by
comparison with FIG. 1.

[0015] FIG. 1 shows sections of a first exemplary
embodiment of an electromechanical brake 10 which are
detailed here as a disk brake for a motor vehicle and
which are of particular interest within the scope of the
present invention. The brake 10 includes an integrated
self-energizing system, as is known for instance from the
already cited WO 02/095257, to which reference is made in
detail. Such a self-energizing system has a wedge
arrangement 11 with two wedge plates 12, 14, between which
rollers 16 are arranged for friction reduction purposes.
In order to actuate the vehicle brake 10, the one wedge
plate 12 is moved relative to the other wedge plate 14 by
means of an actuator 18, as a result of which the distance
between the two wedge plates 12, 14 increases. The stroke
thus occurring as standard in one direction in respect of
the main planes of the two wedge plates 12, 14 is used to
bring a friction member 21 consisting of a lining support
plate 19 and a friction lining 20 affixed thereto into
contact with a brake disk 22. If the brake disk 22
rotates, it exerts a drive force on the friction lining 20
by way of the frictional force occurring between the
friction lining 20 and the brake disk 22, said drive force
effecting an additional “spreading” i.e. a larger stroke
of the wedge arrangement 11 and thus a corresponding
increase in the force, with which the friction lining 20
is pressed against the brake disk 22, back to the wedge
plates 12, 14, without the force generated by the actuator
18 itself needing to be increased for this purpose.
[0016] The actuator 18 includes a single electric motor
24, which may set a rotationally received, axially
stationary spindle 26 to rotate. A nut 28 is arranged on
the spindle 26 in a rotationally fixed fashion, said nut
28 being able to travel axially on the spindle by rotating
said spindle 26. As an alternative, the nut can be
received in a stationary and rotational fashion and the
spindle can travel axially in a rotationally fixed fashion
(not shown). The spindle 26 and the nut 28 together form a
spindle/nut arrangement 30.
[0017] A coupling rod 32 is used to transmit the axial
movement of the nut 28 effected by rotating the spindle 26
onto the wedge plate 12, said coupling rod 32 being
pivotably coupled with its one end to the outside of the
nut 28 and with its other end to an appendage 34 of the
wedge plate 12.
[0018] The electric motor 24 of the actuator 18 is
activated in order to actuate the brake 10 so as to set
the spindle 26 to rotate in the one or the other
direction. The desired rotational direction of the spindle
26 depends on the direction in which the brake disk 22 to
be slowed down rotates. So that the self-energizing system
is able to fulfill its function, the actuator 18 must move
the wedge plate 12 in respect of the wedge plate 14 in the
direction in which the brake disk 22 also rotates. It is
only then that the rollers 16 between the two wedge plates
12 and 14 run to those wedge bevels, which, following
contact of the friction lining 20 with the brake disk 22,
effect a further spreading of the wedge arrangement 11 and
thus the desired self-boost. The spindle 26 is rotated in
the opposite direction in order to terminate the braking
action, as a result of which the two wedge plates 12, 14
approach one another again and the friction lining 20
disengages from the brake disk 20.
[0019] For the reasons illustrated in the introduction
(possible change between a traction wedge arrangement and
a compressive wedge arrangement as a function of the
frictional value prevailing between the friction lining
and the brake), any backlash in the actuator 18 is
unwanted. To avoid such backlash, the brake 10, in more
precise terms the actuator 18 thereof, has a series of
measures. The spindle 26 is thus rotationally received by
means of two axially prestressed ball bearings 36, 38. In
the exemplary embodiment shown, the two ball bearings 36,
38 are oblique ball bearings, which axially prestress the
spindle 26, i.e. apply a force acting in the axial
direction upon the spindle 26. The axial prestresses
applied by the ball bearing 36 and/or 38 on the spindle 26
are aligned oppositely, so that any axial backlash in the
spindle 26 is eliminated.
[0020] To eliminate backlash between the nut 28 and the
spindle 26, the nut is attached to the spindle using axial
prestress. In the exemplary embodiment shown, the nut 28
consists of two nut elements 40, 42, which are connected
to one another by way of a screw thread (not shown) and
can be moved axially towards and away from one another by
means of screwing in the one and/or the other direction.
The axial distance between the two nut elements 40, 42 can
thus be adjusted. In order to eliminate backlash, the
axial distance of the two nut elements 40, 42 is thus
changed until there is no backlash still present in the
spindle 26. The established position of the nut elements
40, 42 is fixed by means of a counter nut (not shown).
[0021] The coupling rod 32 can have backlash on its
linking points. To eliminate such backlash, the linking
and/or bearing points of the coupling rod 32 are
prestressed in one direction, the available backlash can
no longer have an effect.
[0022] The said measures ensure that each actuation
movement of the actuator 18 is transmitted with zero
backlash onto the wedge plate 12 of the self-energizing
system. The control of the brake 10 thus proves to be
considerably easier.
[0023] FIG. 2 shows a second exemplary embodiment of a
brake 10, which only differs from the first exemplary
embodiment illustrated in FIG. 1 in that the spindle 26
extends in parallel to that wedge bevel of the wedge
arrangement 11, which is used to self-boost braking
actions in the main braking direction. With one actuation
of the brake 10 for braking in the main braking direction,
no relative movement occurs between the moved wedge plate
12 and the nut 28 in the case of a spindle 26 which is
arranged in parallel to the said wedge bevel. No shear
forces are then also transmitted onto the spindle 26.
Related
PatentsAssigned to Siemens
ELECTROMECHANICAL
VEHICLE BRAKE COMPRISING A FRICTION LINING WEAR
COMPENSATING DEVICE
WO2007057464
Wedge
brake
SI1972822
Method
for supplying electrical supply current to electronic
wedge brake...
DE102009007796
Movable
device e.g. motor vehicle stopping method...
DE102007061940
WEDGE
BRAKE HAVING WEDGE ELEMENTS WHICH ARE MOVED IN OPPOSITE
DIRECTIONS
WO2007051818
Wedge
brake for a rotatable body.
EP0066134