
rexresearch.com
Maxwell WHISSON
Air Well
Max-Air

http://www.waterunlimited.com.au/
General Enquires can be fowarded to WATER
UNLIMITED.
Postal: PO Box 695
West Perth WA 6872
Australia
Em Telephone: +61 8 9381 2177
Fax +61 8 9486 4944
Introducing the Max Water
Water UN Limited was incorporated to acquire the
technology and intellectual property associated with water from
ambient air technology, also known as ‘the Max Water', from
world renowned Perth based inventor Dr Max Whisson.
This breakthrough technology has the potential to
produce water from air using a turbine containing refrigerants.
If successful, this technology will be capable of supplying
commercial quantities of water for a wide variety of uses
powered by wind energy alone.
If successful the technology developed by Dr Max
Whisson may represent the most important breakthrough in water
production in recent years. The commercialisation of Max Water
may be by license, direct sales, distributor networks or a
combination of these. Under any marketing strategy a percentage
of units produced will be donated via appropriate charitable
organizations to supply water to areas of extreme poverty in
developing economies.
Our company mission is to now build the first
complete prototype and hopefully prove the concept.
Video : http://www.waterunlimited.com.au/video.html
Learn more about the Max Water : This
short presentation outlines how the Max Water may use only wind
power to cool the air and achieve condensation of the contained
water. It contains drawings, research and other relevant
statistical information. DOWNLOAD PDF (2.8 MB):
http://www.waterunlimited.com.au/images/presentation/WaterUNlimited-MAY.pdf
QuickTime Movie :
http://www.waterunlimited.com.au/images/presentation/WaterUNlimited-MAY-big.mov
YouTube :
http://www.youtube.com/watch?v=Gf0krn99Y20
http://www.abc.net.au/science/news/stories/2007/1860729.htm
ABC Science Online
( Friday, 2 March 2007 )
Making Water Out of Thin Air
Anna Salleh
Could a wind turbine that sucks water out of the
air supply enough water for the whole world?
A wind-driven device could provide an unlimited
water supply by harvesting water from the air, says its
Australian inventor.
But critics are asking if it's too good to be
true.
Dr Max Whisson, a retired medical specialist
turned inventor, says he has designed a highly efficient wind
turbine that can run a refrigeration system to cool air and
condense moisture from it.
"The wind carries in the water and [provides] the
power required to separate that water from the wind," says
Whisson, who is based in Perth.
He says there is a huge amount of water in the
atmosphere that is replaced every few hours. This means the
whole world could just use water from the air without disrupting
the environment.
Whisson says the system would even harvest
significant amounts of water in areas with low humidity.
He says a 4 metre square device could extract an
average 7500 litres of water a day.
In his design, moisture-laden air enters the
system and is cooled by a drop in pressure behind the wind
turbine blades, says Whisson.
The air then flows into a chamber containing
refrigerated metal plates covered by a non-wettable surface that
causes water droplets to run off immediately into a collection
point.
Could it work?
Full technical details of the design are not
available but at least one mechanical engineer is sceptical.
"I have found in general that inventors tend to
enormously overstate the capacities of their devices. They just
have a very rosy outlook on what their devices will do," says
mechanical engineer Professor John Reizes, an adjunct professor
at the University of New South Wales.
"It's not until you've made one that you discover
all the problems."
Reizes, who specialises in heat transfer, says he
is sceptical because of the huge amount of energy that is needed
to condense water.
Whisson says he is well aware that a large amount
of energy is required to do the job.
"It's like boiling a kettle in reverse," he says.
But he is confident his wind turbine, still
subject to patent applications and yet to be independently
tested, is efficient enough.
"The wind turbine is a surprisingly good
development. I'm surprised because it performs so well," says
Whisson.
And he says the power generating part of the wind
turbine can simply be increased to collect the wind power
required for the condensation process.
"We've got unlimited power," he says.
But Reizes says wind turbines are so far only
about 30% efficient at best and the energy arriving at them is
very diffuse, requiring large devices to collect the energy.
"It may be a fantastic idea on paper and it looks
as if it could work," he says.
"However, the thing may have to be so big to drive
this device that it becomes impractical."
Drawing moisture from air
One thing seems more certain. If the system does
work, it is unlikely to backfire on the environment, says Dr
Michael Coughlan, of Australia's Bureau of Meteorology.
He says the amount of water that humans would use
is trivial compared with the amount available in the atmosphere.
"If you can tap into it, then go for it, because
you would do little to upset the hydrological cycle," says
Coughlan.
http://www.alternate-energy-sources.com/Whisson-windmill.html
The Whisson Windmill - Water From Air,
Why Not?
...Dr Whisson himself describes his Whisson
Windmill as follows: "The essential principle is that more wind
is used for power than for water supply. In other words, the
area of power turbines is greater than the area of turbines
leading to water harvest. This is all made much easier by the
invention of a new kind of wind turbine or 'windmill'. The
amount of water available in the air is for all forseeable
practical purposes unlimited. The bottom 1 kilometre (in the
atmosphere) alone contains about 1.000,000,000,000,000 litres of
water and that is turned over every few hours. The "Whisson
Windmill" or Max Water From Air device will make it possible to
get adequate water anywhere at any time, drought or no drought."
http://www.abc.net.au/austory/specials/windmills/default.htm
Windmills of Your Mind
PROGRAM TRANSCRIPT: Monday, 21 May , 2007
JAMES O'LOUGHLIN: Hello, I'm James O'Loughlin from "The New
Inventors".
Australia has a long tradition of innovation, from the Hills
Hoist to the black box flight recorder, and our home grown
ideas have often found international markets.
Well, Perth inventor Max Whisson believes he may have come up
with a solution to the world's water problems and he has some
influential supporters. This is Max Whisson's story.
MAX WHISSON: The state of the world at the moment is, I
think, the most dangerous in the evolution of Homo sapiens,
for two main reasons. Power is almost entirely in the hands of
those who gained power by exercising commercial advantage, and
at the same time the ability of modern technology to destroy
the world is unprecedented. The destruction of vast ecosystems
is happening as we speak: forests being destroyed, catchment
areas being destroyed, rivers being destroyed. We are a highly
developed species, can fly to the moon and do all sorts of
clever things, and we destroy the rivers all over the planet.
I think it’s utterly absurd, outrageous. Grassroots action is
the only hope to get a healthy world community.
PROFESSOR ROGER DAWKINS, SCIENCE CENTRE DIRECTOR: I know that
some people think that Max is a crackpot but he’s a very
engaging one and he’s certainly a very productive one.
MARCUS WHISSON, SON: He can be a bit of a handful, he’s an
eccentric old bugger, he’d probably say that himself.
PHILLIP ADAMS, FRIEND: I think Max is a reincarnation of an
ancient Roman, the Romans were wonderful at water.
MAX WHISSON: It took me a little while to realise that the
expanding population of the world cannot rely on surface water
which accumulates from rain. We have to find unlimited sources
of water and the sea seemed to me to be the obvious source of
vast quantities of water. Seventy-one per cent of the Earth’s
surface at an average depth of four or five kilometres, and I
thought, how can you purify that water without fossil fuels or
big machines or high technology? And sunlight seemed to be the
obvious way. I came up with the idea of the Water Road in
about 2002 in a sort of Eureka moment. Most places in need of
water are far inland and it would seem so logical to just run
the sea water inland over a long distance, producing pure
water as it goes. The Water Road is a very simple design. It’s
just a series of parallel black pipes, preferably to a width
of about 10 metres, covered in a transparent cover such as
perspex or polycarbonate, and maybe a thousand kilometres
long. The sea water heats to 70 or 80 degrees, by my
calculation, in about three to four days, heated by the sun,
and at intervals the sea water is run into big swimming pools
that I call evaporation ponds. The hot, wet air in the
evaporation ponds is ducted up to a hilltop where it just
condenses in a special condensation shed. So you’ve got pure
water produced at a high point and that greatly assists the
distribution to irrigation or to households along the way. A
pipeline of that size would produce about 200,000 litres per
kilometre per day. The salt from the returning sea water goes
back to the sea where it’s diluted within minutes to normal
sea water. But it could be sent to a salt manufacturer.
COLIN BARBOUTIS, BUSINESS PARTNER: When Max first mentioned
the Water Road to me, I thought, this could be an answer for
the water problem that we’re going to have in Perth in the
very near future. Max’s mind works very differently to most
people. And Max told me this himself, he said, “Colin all my
life, I’ve seen things differently to most people.” He said,
“You see a glass of water on the table, I see a mathematical
calculation for a vessel that holds liquid.”
ANNEMARIE WHISSON, WIFE: When he comes to invention he’s
very, very obsessive and quite stubborn, but in a good way.
MAX WHISSON: I graduated as a doctor in '55. I met Annemarie
whilst I was working on cancer research in London.
ANNEMARIE WHISSON: I trained as a medical technologist in
Switzerland and I was his research assistant. Oh goodness me,
after two weeks, I just fell in love with this man and, and
after a while, you know, I could see, he said he liked me too
and so we had a little bit lunch together or coffee and, you
know from then on it started, you know, I was just completely
besotted with him.
MAX WHISSON: Annemarie and I have two sons and there are four
sons from my first marriage.
ALEX WHISSON, SON: I think in many ways my mum’s sacrificed
her own life to support my dad’s inventions and his scientific
research work. If it wasn’t for my mum, my dad would be a
disorganised brain in the ether somewhere. I mean she actually
roots him in the earth, she actually grounds him in reality
and he’d be completely lost without her.
MARCUS WHISSON, SON: He is an eccentric, the quintessential
nutty professor. For a long time I know in the 1980s he had a
fairly healthy obsession with solar power from cooling
someone’s head with a solar-powered hat to allowing a bicycle
to be used not by pedal power but by solar power.
MAX WHISSON: I worked for many years as a haematologist at
the Red Cross Blood Bank in Western Australia.
PHILLIP ADAMS, FRIEND: By the late '80s the magnitude of the
AIDS epidemic was becoming well known and I was concerned
about my daughter, the doctor, getting needle stick injuries
where she was working in an ER hospital in New York. And I was
expressing these concerns to Max, who miraculously was working
on a retractable needle.
To any project he examines Max brings a very fresh
intelligence and so he looked at the needle again and again
and he then came up with a Mark II, a completely different way
of solving the issue involving a sleeve rather than a
retreating needle.
PROFESSOR ROGER DAWKINS, SCIENCE CENTRE DIRECTOR: It was 1982
in the early days of HIV that I really got to know Max
Whisson. He does have some weird and wonderful ideas, there’s
no doubt about it.
The Needlesleeve seems to be a very good idea and it seems to
work very well. I’d like to see it in use.
Max has always been very limited by funds. The country really
needs to support people like Max without pressing them to
early commercialisation because there are hazards in early
commercialisation and many a good project has really been
destroyed by the commercial partners.
ALEX WHISSON, SON: There was a very nasty and prolonged court
case involving my dad’s Needlesleeve invention which basically
involved some of his former business associates laying claim
to his inventions. And even though he won that case actually
on three separate occasions, it has left him a bit bitter.
PHILLIP ADAMS, FRIEND: The saddest thing for Max is that his
needle, his wonderful hypodermic that prevents needlestick
injury, isn’t being manufactured to this day because of the
problems he’s had in an out of courts. Great shame.
ANNEMARIE WHISSON, WIFE: I think Max is actually a
renaissance man. He’s so interested in so many things. He’s
interested in physics, biology, cancer, politics nature,
birds. He loves reading poetry and he writes poetry himself
and short stories. He plays the violin in the Fremantle
Symphony Orchestra. He enjoys it immensely. Even when he’s
very, very tired he always goes to rehearsal.
MAX WHISSON: For the last nine years Annemarie and I have
lived in separate places. I think at a certain stage of life
there is some sense in having a wife down the road. There were
quite a lot of conflicts.
ALEX WHISSON, SON: My dad was always a workaholic and he’d
often go on extended trips to haematology conferences, medical
conferences, and never invite my mother on those trips. She
felt excluded, I think, from more and more aspects of his
life. And as well, truth be told, he had a wandering eye for
other women. My dad’s inventions have cost a fortune in
patents and that’s led to financial difficulties for the
family, which has been tough, especially on my mum.
MARCUS WHISSON, SON: It has taken enormous emotional toll and
it can be up and down with my parents’ relationship, but at
the end of the day they’re most in love and really support one
another.
ANNEMARIE WHISSON, WIFE: We see each other every day. He
actually has got less difficult now. I think it makes all
sense now in hindsight. ’94, ’95 he started to get sometimes
quite aggressive, verbally, and short-tempered and then it
developed even in a kind of paranoia as well. I was really
very puzzled about it and I thought, what is going on? And
sometimes you know he accused us of things which was
completely irrational which he never had done before. And
Marcus just said, “I think dad is going senile.”
ALEX WHISSON, SON: Strange things started happening with my
dad’s brain. He’d be able to read the start of a paragraph but
not the end of it. He couldn’t distinguish left from right,
he’d get lost driving from Subiaco to Nedlands on a route that
he’d travelled a thousand times before.
ANNEMARIE WHISSON, WIFE: And then again we said, “Please go
to the doctor. We can’t do anything.” And he said very
aggressively, “I don’t need your advice.”
MARCUS WHISSON, SON: It was August the 17th 2000, the day
after my mother’s birthday. It was a blessing in disguise for
him. My father was involved in an accident where he hit a
parked ute and he was given a scan and they found a tumour the
size of my fist, a huge tumour in the back of his head,
pressing against his visual cortex.
ALEX WHISSON, SON: And suddenly it was like a revelation for
all of us because we all realised sort of what had been
happening with his brain over these past few years.
MARCUS WHISSON, SON: It was a benign tumour but they realised
that they had to operate immediately because there was every
chance that it would break through his skull.
MAX WHISSON: An incredibly, I tell you, extraordinarily
skilful set of surgeons, got this whole thing out intact. And
my whole brain kind of went, "Ah, now I can work again." It
was quite amazing.
ALEX WHISSON, SON: The amount of energy my dad has is
phenomenal. He’s 76 now, he still works probably 12, 14 hours
a day. I have tremendous admiration for my dad’s inventions.
It’s never just something trivial. It's the fact that they’re
inventions that are all geared towards actually improving
human welfare, improving the standards of life, the conditions
of life. It’s never something like, I don’t know, a faster car
or something that is just economically viable.
MAX WHISSON: I suppose it’s occurred to me a little bit that
I haven’t got much time to do all the things that I really
want to do. Do I feel like an old man in a hurry? Yeah. My
grandfather was an irrigation controller in the little town of
Dingee, just not far from Bendigo in Victoria. So that I
suppose gave me an interest in water.
(Outdoors, standing near a dried up lake)
This was quite a lovely lake, a little lake, and I used to
visit it quite a lot, lots of birds came here, walk around and
see these beautiful things. It’s really tragic to see it like
this. You can’t look at this without being dreadfully upset,
especially knowing that it’s not just a one off and it’s not
really accidental. It’s because we’ve not taken care of these
things. The water table has gone down so that the lake is
worse because of that because everyone’s sucking up water to
keep their lawns healthy. The bores have gone down deeper in
Perth as in almost every city in the world.
I don’t really know where I get my ideas but I do read widely
in scientific books and in things like "New Scientist". I do
look very carefully at what has gone before. I’m not an expert
on anything, but I throw things around and I sometimes kind of
turn ideas upside down and you suddenly find you’ve got a
really interesting answer that’s been staring people in the
face for centuries, you know? After working on the Water Road
for some time, I did some calculations which showed that
there’s heaps of water in the air. And so I began to think,
why bother with the sea water? So why not just collect water
from the air and you can collect the water anywhere, in any
small community or out in the desert or on the coast, wherever
you want.
PHILLIP ADAMS, FRIEND: The water that’s in the air goes up
for about a hundred miles, constantly replenished by
evaporation from the ocean. Water is constantly extracted from
the air in the form of dew. The technology of extracting it is
known. The American army, for example, uses great thundering
diesel machines to pull it out of the air, but that’s not very
appropriate technology for a world suffering climate change.
Max thinks, no, no, no, I can use the air to produce the power
to produce the water.
MAX WHISSON: The key to the process is to refrigerate the air
as quickly as possible so that water separates from the air
and condenses as drops which will run down into a collection
tank.
The best place to remove heat quickly is as the air hits a
windmill. Now existing windmills did not work out at all well
so I invented a new one and I’ve arranged to have it
refrigerated so that as soon as the wind hits that windmill it
gets cooled.
PHILLIP ADAMS, FRIEND: The astonishing thing is if you even
breathe near one of Max’s windmills, the windmill starts
spinning furiously. And the theory is, the more air you can
pass through that windmill, the more air is available for
cooling and for dispensing the water within it. So it’s a very
elegant, very simple but tricky idea.
MAX WHISSON: There was a point where I had a bit of a hitch.
I could achieve fairly rapid condensation of water on a cold
plate but it would just stick as little droplets and not run
off the plate quickly so that water could be collected. And
then I came across this little chap, the little beetle called
Stenocara. It’s quite amazing how creatures over millions of
years evolve clever techniques which are ahead of us.
COLIN BARBOUTIS, BUSINESS PARTNER: I was at Max’s house one
day, and Max said, "Well, if I tell you, you’re going to think
I’m completely mad." And we had the discussion about the
little African beetle that pops out of the sand in the early
morning, does a headstand, faces his tummy into the breeze,
sits there most of the day and a little droplet of water
collects on the fibres on his tummy, runs down his nose and
into his mouth and he’s back into his burrow. So, he’s self
sufficient in water. And he said, “See, I told you you’d think
I was mad.” And I said, “Well I actually don’t know that
you’re mad, tell me a little bit more.” And he went into more
detail about how he’d been thinking about this for a little
while and that it was do-able. He said, "Often the simplest
things in this world are the hardest to invent."
MAX WHISSON: Observing nature has taught me a lot. Now I have
a surface on the plates which is very like the surface on this
little beetle, the water touches the plates and just runs
quickly off. And so the little beetle has helped a great deal
and I’d like to thank him.
COLIN BARBOUTIS, BUSINESS PARTNER: I believe it will take us
another 12 months to fully develop this unit, to test it, to
see if the working prototypes do work. I guess Max is a bit of
a crackpot but then again, you'd have to be to come up with
some of these wonderful inventions. I’ve put my money on that
one out there. I think this water project is something that's
very unique. I absolutely believe in Max’s abilities and have
blind faith that he can do this and he'll get it right. I may
be wrong but that’s my thought.
PHILLIP ADAMS, FRIEND: I’m a great enthusiast for the theory
of the windmill, and I write a newspaper column about my old
friend’s bright new idea. And in all my born days in over 50
years of writing columns, rarely seen a response like it - a
couple of thousand, a couple of thousand rapturous emails,
some sceptical, but mostly thrilled to the back teeth, from
every nook and cranny on the planet. From the Middle East,
from Venezuela, from Russia, from India, everyone thinks this
is it.
SEAN BLOCKSIDGE, WINE COMPANY MANAGER: Sustainable farming’s
something that we’re looking at more and more. It’s an
imperative, particularly as a wine business. Certainly we do
have some fairly good, consistent rainfall but we’re certainly
seeing decreases. We’ve looked at the more traditional sources
of water in the past. One thing Margaret River doesn’t have a
shortage of is wind and certainly Max Whisson’s invention is
something worth investigating. We’re also regenerating large
tracts of land around the estate and we don’t necessarily have
the capacity to irrigate re-vegetation projects, so to be able
to put one of these windmills out there and have it producing
water would be fantastic.
PHILLIP ADAMS, FRIEND: I’ve got a feeling there are many Max
Whissons around. At the moment of course he’s tilting at his
windmills, a bit like Don Quixote, because governments are
remarkably uninterested, but everyone else is.
MAX WHISSON: The question whether the Water Road idea is now
redundant because of the Water Windmill is one that several
people have asked. I see the Water Road as a much more
practical national or large-scale water producing system.
PHILLIP ADAMS, FRIEND: And provided Max can live another 10
years and work out a few little minor details, it’s going to
be fantastic. A freeway, not just a Water Road, a freeway of
fresh water - wouldn’t that be fantastic? And Max wouldn’t
even want to charge toll, so it would be a freeway not a
tollway.
ANNEMARIE WHISSON, WIFE: I think I would quite like to live
with Max again and I think he probably would like to live with
me. I still love him. It’s just, it’s a different love, after,
my goodness, forty years. You know, we were incredibly
passionately in love but it’s, it has become a very
comfortable love.
MAX WHISSON: Certainly I feel bad that I haven’t provided a
secure life. I suppose, yeah, I probably haven’t been a
perfect husband or father. But I think it’s important to
follow your geist, your spirit, what you think you’re good at.
APPARATUS AND METHOD FOR COOLING OF AIR
US2007204633
AU2005274673 // CN101014817 //
BRPI0515188
Abstract -- A wind turbine apparatus for cooling of air
having a wind turbine axially connected to a refrigeration
compressor arranged to compress refrigerant, at least one tube
for conducting compressed refrigerant centrifugally outwards, a
construction for causing the compressed refrigerant to lose
pressure so as to cool fades of the wind turbine, and a conduit
for returning spent refrigerant centripetally to the compressor.
Correspondence Name and Address: BACHMAN & LAPOINTE,
P.C.-- 900 CHAPEL STREET -- SUITE 1201, NEW
HAVEN CT 06510 US
U.S. Current Class: 62/93; 62/401; 62/404; 62/426; 62/498
U.S. Class at Publication: 062/093; 062/404; 062/426;
062/401; 062/498
Intern'l Class: F25D 17/06 20060101 F25D017/06; F25D 9/00
20060101 F25D009/00;
Description
FIELD OF THE INVENTION
[0001] The present invention relates to an
apparatus and method for cooling air.
SUMMARY OF THE INVENTION
[0002] In accordance with one aspect of the
present invention there is provided a wind turbine apparatus for
cooling of air characterised by comprising a wind turbine
axially connected to a refrigeration compressor arranged to
compress refrigerant, means for conducting compressed
refrigerant centrifugally outwards, means for causing the
compressed refrigerant to lose pressure so as to cool blades of
the wind turbine, and means for returning spent refrigerant
centripetally to the compressor.
[0003] In accordance with a further aspect of the
present invention there is provided a method of condensing water
from ambient air, which comprises driving, by means of ambient
wind, a wind turbine apparatus in accordance with the present
invention mounted in a duct by ambient wind so as to cause
blades of the wind turbine to be cooled and to thereby cool
ambient wind air passing through the duct and the wind turbine,
and causing water vapour in the ambient wind air to condense to
form liquid water, and collecting the liquid water.
[0004] In accordance with a yet further aspect of
the present invention there is provided a wind turbine having at
least one blade mounted to a compressor housing mounted on a
shaft for axial rotation relative to the shaft, and means for
conducting compressed refrigerant outward centrifugally and
means for returning the refrigerant centripetally through the or
each blade with loss of pressure and change of phase from liquid
to gas so as to cool the or each blade.
DESCRIPTION OF THE DRAWINGS
[0005] The present invention will now be
described, by way of example, with reference to the accompanying
drawings, in which:
[0006] FIG. 1 is a schematic plan view of
a wind turbine of the present invention showing a single turbine
blade;
[0007] FIG. 2 is a further schematic plan
view similar to FIG. 1 showing a plurality of turbine blades;
[0008] FIG. 3 is a schematic side
elevation of a first embodiment of an apparatus to convey air in
accordance with the present invention;

[0009]
FIG. 4 is a view similar to FIG. 3 showing a
second embodiment of an apparatus of the present invention;

[0010] FIG. 5 is a side elevation of a
third embodiment of an apparatus of the present invention;
[0011] FIG. 6 is a plan view of a further
embodiment of a wind turbine of the present invention as used in
the third embodiment of apparatus illustrated in FIG. 5;
[0012] FIG. 7 is a side elevation of a
fourth embodiment of an apparatus of the present invention;
[0013] FIG. 8 is a plan view of a yet
further embodiment of a wind turbine of the present invention
used in the fourth embodiment of apparatus illustrated in FIG.
7;
[0014] FIG. 9 is a schematic side
elevation of a compressor used in the air cooling apparatus of
the present invention;
[0015] FIG. 10 is a schematic
side-elevation of a further embodiment of a compressor used in
the air cooling apparatus of the present invention;
[0016] FIGS. 11a, b, c and d are various
views of the compressor of FIG. 10;
[0017] FIG. 12 is a schematic side
elevation of a yet further embodiment of a compressor used in
the air cooling apparatus of the present invention;
[0018] FIG. 13 is a view similar to FIG. 3
showing a fifth embodiment of an apparatus of the present
invention;
[0019] FIGS. 14A, 14B and 14C show
schematically a scroll refrigerant compressor useful in the
present invention in various positions;
[0020] FIG. 15A is a plan view of an
alternative form of scroll compressor useful in the present
invention; and
[0021] FIG. 15B is a side view of the
scroll compressor of FIG. 15A.
DESCRIPTION OF THE INVENTION
[0022] In FIG. 1 of the accompanying drawings,
there is shown a wind turbine apparatus 10 comprising a central
shaft 12 having a compressor 13 comprising a housing 14 mounted
thereabout. The compressor housing 14 is arranged to rotate
axially relative to the shaft 12. Further, a plurality of
turbine blades 16 (only one of which is shown) are mounted to
the compressor housing 14. As shown, a tube 18 extends outwardly
from the housing 14 to a peripheral cooling coil 20. A
convoluted pipe 22 extends from the cooling coil 20 back to the
housing 14. There is a constriction 23 at a part in the pipe 22
adjacent the cooling coil 20.
[0023] In use, the turbine blade 16 is caused to
rotate axially about the shaft 12 by the kinetic energy of
ambient wind air. Rotation of the blade 16 causes rotation of
the compressor housing 14 and refrigerant in the compressor
housing 14 to be compressed so as to undergo a phase change from
gas to liquid. The compressed liquid refrigerant flows outwardly
driven by the compressor and assisted by centrifugal force along
the tube 18 to the cooling coil 20 which acts as a manifold.
[0024] As shown, the refrigerant has to travel
almost in a complete circle to reach the pipe 22. This enables
the compressed refrigerant to be cooled during its residence in
the cooling coil 20.
[0025] The refrigerant leaves the cooling coil 20
through the constriction 23 which leads into the pipe 22. At
this point the refrigerant undergoes a rapid loss of pressure
and thus evaporates back to the gaseous phase and causes the
blade 16 to be cooled. The spent refrigerant then passes
centripetally back to the housing 14 on a low pressure line of
the compressor 13.
[0026] The cooling of the blade 16 causes ambient
wind air to be cooled which has useful effects as will be
described.
[0027] In FIG. 2, there is shown an apparatus 30
similar to that in FIG. 1. In FIG. 2 there can be seen a
plurality of turbine blades 16, a plurality of tubes 18, a
cooling coil 20 and a plurality of pipes 22. In this embodiment,
the compressed refrigerant passes along the tubes 18 to the
cooling coil 20. From the cooling coil 20 the compressed
refrigerant passes through a plurality of short tubes 28 to an
inner manifold 26. From the inner manifold 26 the compressed
refrigerant passes through the constrictions 23 into the tubes
22 as described hereinabove. Thus the compressed refrigerant
does not enter the tubes 22 directly and therefore is cooled by
its residence in the cooling coil 20 and the tubes 28 and the
inner manifold 26.
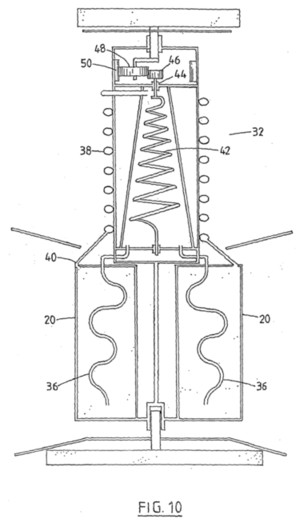
[0028] In FIG. 3, there is shown an apparatus 40
which comprises a wind turbine 10. There is also shown a
respective inner manifold 26 adjacent an outer end of each blade
16. The compressed liquid refrigerant passes initially from the
cooling coil 20 to each inner manifold 26 through short tubes
28. The refrigerant then passes through constrictions 23 into
the pipes 22 as described hereinabove.
[0029] Further, there is shown in FIG. 3, a wind
collecting duct 42 and an outlet condensation chamber 44. The
duct 42 includes an outer wide portion 46 and an inner
relatively narrow portion 48. The combination of the wide
portion 46 and the narrow portion 48 increases air velocity in
the duct 42.
[0030] Ambient wind air blowing in the direction
of an arrow 50 flows through the wind turbine 10 so as to cause
the latter to rotate such that the blades 16 are cooled. This
causes the air temperature to fall below the condensation point
or dew point and water vapour to condense from the ambient air
to form liquid water. This is enhanced by the presence of
baffles 52 which impede the flow of air and induce liquid water
to collect thereon. The liquid water flows from the baffles 52
onto a sloping floor portion 54 from which the liquid water
flows into a collection trough 56. The cooled air from which
water has been removed is exhausted through an upper outlet 58.
As can be seen in FIG. 3, the coil 20 is located externally of
the duct 42 so that heat lost from the compressed refrigerant is
dispersed into the ambient air rather than inside the duct 42.
[0031] In FIG. 4, there is shown an apparatus 60
similar to that in FIG. 3, except that an inlet 62 is lowermost
and is provided with flaps 64. In this case, the flaps 64 are
only opened, as shown, on the windward side of the apparatus 60.
Wind air flows upwardly through the turbine 10 and then through
a condensation chamber 66 to exhaust through a top vent 68. Once
again liquid water collects on baffles 52 and then flows along a
sloping floor 54 to collect in a trough 56.
[0032] In FIG. 5, there is shown an apparatus 70
similar to that in FIG. 4, except that the exhaust vent 68 is
provided with an additional wind turbine 72 to reduce pressure
in the exhaust vent 68 and enhance removal of exhaust air. Power
obtained from the wind turbine is available for any useful
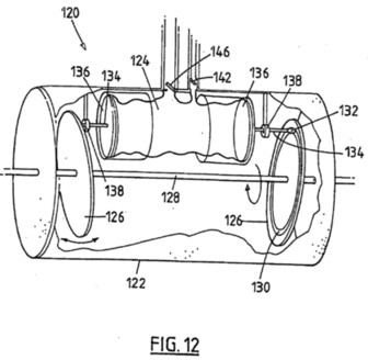
purpose.
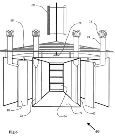
[0033] In FIG. 6, there is shown a wind turbine 10
having wind guides 62 with flaps 64 between adjacent pairs of
wind guides 62. The flaps 64 are arranged to be opened as shown
by the wider oblong shape when the flaps face in the direction
of the ambient wind.
[0034] In FIG. 7, there is shown an alternative
form of the apparatus of the present invention
[0035] In this Figure there is shown an apparatus
80 having a funnel 82 at an intermediate level and a downwardly
directed deviation device 84. The device 84 is arranged to pivot
about a substantially vertical axis so as to orientate itself,
in use, into a position which is most effective in directing the
ambient wind air through a wind turbine 10. Cooled air can then
enter a condensation chamber 86 below the wind turbine 10 and
deposit moisture on baffles 88. The deposited moisture can then
flow into a collection trough 90. The cooled air depleted of
moisture can then pass upwardly to an upper vent 92.
[0036] In FIG. 8, there is shown a wind turbine 10
similar to that shown in FIG. 7. As shown, the device 84 faces
the incoming ambient wind. The wind air is directed into the
wind turbine 10.
[0037] In FIG. 9, there is shown a preferred form
of compressor 90 of the present invention. The compressor 90 has
a central rotating cylindrical hub or housing 92 on which is
mounted the blades 16 and refrigerant carrying tubes of the wind
turbine 10 as described herein. The compressor 90 includes
compressor blades 94 mounted on a drive shaft 96. The blades 94
are arranged to be driven at high speed by a gear train 98
fitted to an inner wall of the hub 92. Used refrigerant
returning centripetally to the compressor 90 as described above
is recompressed and sent out centrifugally as described above.
[0038] In FIG. 10 there is shown an alternative
form of compressor 100 mounted within a cylindrical hub or
housing 102. In this embodiment refrigerant is displaced by a
roller 104 mounted eccentrically on a shaft 106 relative to a
main shaft 108 of the compressor 100.
[0039] As shown in FIGS. 11a, 11b, 11c and 11d,
the compressor 100 operates as follows. The compressor 100
comprises a central shaft 101 having an eccentric 102 mounted
thereon. A rotatable housing 103 is mounted about the eccentric
102. A tube 104 leads away from the housing 103 and a pipe 105
leads into the housing 103. A spring biased vane 106 extends
through a wall of the housing 103 and contacts an outer surface
of the eccentric 102. Rotation of the housing 103 causes
refrigerant contained therein to be compressed and exited
through the tube 104. Similarly, used refrigerant returns to the
housing 103 through the pipe 105. This is facilitated by the
vane 106 which is spring biased into engagement with the outer
surface of the eccentric 102.
[0040] In FIG. 12 there is shown a further
alternative form of compressor 120 mounted within a cylindrical
hub 122. In this embodiment refrigerant is contained in an
elastic chamber 124. The chamber 124 is alternately contracted
and expanded. This is done by eccentric discs 126 fixedly
mounted on a central shaft 128. Each disc 126 has a circular
channel 130 formed on an inner side thereof A slidable bearing
132 is mounted in each channel 130. A respective rod 134 extends
from each bearing 132 to a respective end plate 136 of the
chamber 124. Each rod 134 is constrained by a circular guide
member 138.
[0041] In use, a hub 122 rotates axially about the
shaft 128 and the chamber 124 rotates with the hub 122. This
movement causes the bearings 132 to slide in the channels 130
and the rods 134 to reciprocate correspondingly in the guide
member 138. In this way the chamber 124 is expanded and
retracted so alternately compressing and driving out compressed
refrigerant through a one way valve 140 and allowing ingress of
used refrigerant through a one way valve 142.
[0042] In FIG. 13, there is shown a wind turbine
apparatus 130 which is similar to that shown in FIGS. 4 and 5.
In this embodiment, wind funnels 132 are arranged to direct
ambient wind air over a water surface 134. The water may be
brackish or fresh water. The wind air then passes upwardly
through an upright tube 136 (or a sloping duct on a hillside) to
pass through a wind turbine 10 and thence a condensation chamber
138 having baffles 52 and a sloping floor 54 from which water
flows into a collection trough 56. Exhaust air is vented through
an outlet 58. Absolute humidity of air entering the apparatus
130 increases and the density of the air is therefore lowered.
Thus, flow of air due to the wind is augmented by convection as
the wet air rises to the wind turbine 10.
[0043] It is also envisaged that the refrigeration
compressor used in the apparatus of the present inventions could
be in the form of a scroll compressor.
[0044] This embodiment of the present invention is
illustrated in FIGS. 14A, 14B and 14C of the accompanying
drawings.
[0045] In FIG. 14 there is shown a scroll
compressor 150 having a housing 151 having mounted therein a
circular plate 152. Further, an internal ring gear 154 mounted
on a wind turbine axial shaft (not shown) extends around the
internal periphery of the housing 151. Turbine blades 16 are
mounted to the housing 151 and cause wind to effect axial
rotation of the housing 151 on a fixed shaft (not shown).
[0046] The housing 151 is rotated, in use, by
rotation of blades of a wind turbine as described hereinabove.
[0047] As indicated above, the scroll compressor
150 is mounted on a bearing on the fixed axial shaft (not
shown). One scroll 156 is attached to the housing 151 whilst
another 158 is driven by three planetary gears 160 mounted on
the housing 151 disposed at the apex of an equilateral triangle.
The gears 160 are driven by the ring gear 154. The scroll 158
maybe described as a wobbling scroll.
[0048] The gears 160 are asymmetrically connected
to the plate 152 by means of respective pivotal connections 162.
In use the housing 151 is axially rotated by the wind turbine.
This causes the planetary gears to be turned by engagement with
the fixed ring gear 154. This causes the ring gear 154 to rotate
and thereby cause rotation of the planetary gears 160. Rotation
of the planetary gears 160 causes the plate 152 to move in a
wobbling motion which causes the scroll 158 to move
correspondingly.
[0049] As shown in FIGS. 14A to 14C this causes
gaps between the two scrolls 156 and 158 to be alternately
opened up and closed in a progressive manner. This action leads
to compression of refrigerant vapour contained between the
scrolls such that the vapour is subjected to increased pressure
and is converted-to liquid form.
[0050] As described hereinabove, the compressed
liquid refrigerant is thus urged outwardly of the compressor
housing 151 through a tube (not shown) by centrifugal-force.
Further, as described hereinabove, the spent refrigerant returns
through pipes (not shown) to the interior of housing 151 where
it enters the gap between the scrolls 156 and 158.
[0051] In FIGS. 15A and 15B there is shown an
alternative arrangement of scroll compressor 180 useful in the
present invention compared to the scroll compressor of FIG. 14.
Like reference numerals denote like parts. It should be noted in
FIG. 15A that only the scroll 158 is shown.
[0052] In this embodiment there is a central shaft
182 having mounted thereon a housing 184. The housing is mounted
on a bearing on the shaft 182. The shaft 182 may or may not be
continuous. A central gear wheel 186 is fixedly mounted about
the shaft 182. The gear wheel 186 is connected to three
planetary gears 188.
[0053] Further, as can be seen in FIG. 15B one
scroll 156 is fixed to the housing 184 by any suitable means
such as an end plate (not shown). The other scroll 158 is
mounted on an end plate 190 and is connected to the planetary
gears 188 through eccentric pins 192.
[0054] The shaft 182 and the gear wheel 186 are
fixed in position. The housing 184 is arranged to rotate about
the shaft 182 as described hereinabove. The planetary gears 188
engage with the gear wheel 186 and are thereby caused to rotate
as the housing 184 rotates. This rotation of the planetary gears
188 causes the scroll 158 to move on the plates 190 by means of
the pins 192 such that the scroll 158 undergoes a wobbly motion
as described hereinabove.
[0055] Modifications and variations as would be
apparent to a skilled addressee are deemed to be within the
scope of the present invention.
http://v3.espacenet.com/textdoc?DB=EPODOC&IDX=EP1907637&F=0
GUST WATER TRAP APPARATUS
EP1907637
2008-04-09
Also published as: WO2007009184 (A1) // EP1907637 (A0) //
AU2006272459
http://v3.espacenet.com/textdoc?DB=EPODOC&IDX=WO2007098534&F=0
APPARATUS FOR PURIFICATION OF WATER
WO2007098534
2007-09-07
Apparatus for purification or water having an evaporation
chamber (3), a roof (5) and a condensation chamber (8) and wind
air inlet means (14, 15). The evaporation chamber (3) contains a
body of impure water (2) and the roof (5) can transmit solar
radiation. The solar radiation heats the impure water, increases
evaporation and wind air from the wind air inlet (14, 15) moves
the water laden air into the condensation chamber (8) where
water condenses.
CROSS-AXIS WIND TURBINE ENERGY CONVERTER
WO2007068054
2007-06-21
The invention relates to a wind energy converter apparatus (10)
which comprises an incoming wind guide (12), a cross-axis wind
turbine (18), a wind containing region (16) and a wind outlet
(24). Preferably, means is provided for cooling the wind air to
enhance precipitation of moisture from the wind air in the
apparatus.
Apparatus and method for cooling of air
AU2005274673
CN101014817