rexresearch.com
Nilson BARBOSA /
Cleriston LEAL
Earth Energy Generator
http://energiauniversal.eco.br
Evoluções Energia
Rua: Hermes da Fonseca nº 60
Bairro: Centro
CEP: 65.900-600
Cidade: Imperatriz - Ma
Fone Fixo: (99) 3528-4787 – 4644 – 3904
Fone Móvel: (99) 8116-5566
Earth Energy
Earth Energy is electromagnetic energy that can be instantly
obtained to perform work through an electromagnetic field
connected to earth by means of attraction and repulsion of
particles of opposite poles infinitely together.
Access to this new energy source can occur through the ground grid
to transfer passing through the attraction and repulsion of
subatomic particles to the captors of electrons.
Our Products
GENERATOR CAPTURE EARTH ELECTRONS
Equipment electromagnetic generator that captures electrons Earth
It is an electromagnetic device that depending on how the
connection to be connected to the grounding grid becomes free to
move and capture particles energy to perform work instantly via
electromagnetism. The sensor requires only a small initial force
energy continually being supplied by an external power source ,
which can be provided by the local power utility . With this small
amount of electricity consumed the sensor generates a large
electromotive power . Depending on your constructive manner , the
sensor can generate a power thousands of times greater than the
energy that was consumed to perform the work performed and
generated by the sensor , this energy that returns to the
generating source ( Earth) . Use : Industrial , Commercial ,
Residential .
SELF-POWERED SYSTEM FOR ELECTRICITY GENERATION
Electromagnetic equipment that generates electrical energy in a
closed loop between themselves .
It is a mobile or landline that instantly captures electrons
through the compo electromagnetism, requiring only a small initial
force energy, for a few seconds. Thus is reached closing the loop
using the electromagnetic force present in the universe .
The system comprises rectifier ( AC / DC converter ), battery bank
, inverter ( DC / AC ), and the captors of electrons in the
headspace or electron captors land
Being a compact and mobile system that can be designed to provide
electricity to low, medium or high power at any voltage and
frequency.
PATENTS
ELECTRIC ENERGY GENERATION SYSTEM WITH FEEDBACK
WO2013104043
[ PDF ]
Inventor: BARBOSA NILSON // CLERISTON DE MORAES LEA
Applicant: EVOLUCOES EN LTDA


The present invention relates to electric energy generation
equipment comprising a basic circuit formed by a rectifier (10),
for example, an AC/DC converter connected in series to an inverter
(12), for example, a DC/AC converter, and a bank of batteries (13)
connected in series between the rectifier (10) and the inverter
(12). An electron capturing element (14), which can be either a
free space electron capturing element or, alternatively, an earth
electron capturing element, is connected in series to the basic
circuit formed by the rectifier (10), the inverter (12) and the
battery assembly (13). The bank of batteries (13) powers the basic
circuit because it is connected to the system. Consequently, the
inverter (12) converts direct current into alternating current and
supplies this current to the electron capturing element (14).
After receiving the electric current from the inverter (12), the
electron capturing element (14) starts capturing electrons from
the alternating current and powering the rectifier (10), which
converts the alternating current into a direct current in order to
recharge the bank of batteries (13) and power the inverter (12)
which powers the electron capturing element, closing the feedback
loop, and also providing electric energy for consumption by
external loads.
Technical Field
The present invention relates to an apparatus for generating
electricity, in particular a self powered equipment for generating
electricity.
Description of the Prior Art
There are countless designs of mechanisms for the generation of
electricity based on electromagnetism, but they are all
fundamentally related to the use of electromechanical devices and
magnets, which, by its technical limitations to generating
capacity and ecological implications, unfeasible the use of scale
economic projects hitherto known.
Objectives of the Invention
The present invention aims to contribute to the generation of
sustainable energy , proposing a device capable of producing
abundant electricity from a tiny power consumption , initially
provided by accumulator ( battery bank ) , and later by the device
itself, that generates electricity for consumption and external
loads for self-feeding.
The above objective and other objectives are achieved by the
present invention by a device that includes a basic circuit of a
typical system for uninterrupted power supply , known as the UPS
device formed by a rectifier ( AC DC converter ) connected to a
inverter device (inverter DC / AC ) and connected to them ,
accumulators energy devices ( battery bank ), having attached this
basic circuit one electron captor of free space ( defined in
application Brazilian patent No. BR1020120008378 equipment,
13.01.2012 ) or , alternatively, a sensor of electrons from the
earth (set in application Brazilian patent No. BR1020120008386
equipment, 13.01.2012 ) , which receive electrical power to the
inverter device (inverter DC / AC ) , will generate electricity
and feed the rectifier device (inverter AC / DC) , which will feed
the inverter device (inverter DC / AC ) , which will keep feeding
the captor of electrons , ending the cycle of self-feeding , and
also providing electricity for consumption of external loads.
The self-powered system for generating electricity from the
present invention can be fixed or mobile . It is fixed when using
electron scavengers of the earth , connected to ground grid . He
is mobile when using electron captors free space that capture
electrons through their isolated nuclei.
The self-powered system for generating electricity from the
present invention can have a number of constructive arrangements -
but all within the same inventive concept - since there are a
variety of combinations made ??with the basic components (
rectifier , inverter and batteries ) , the systems uninterrupted
power supply, known as UPS, which may be used in constructing the
apparatus of the present invention. Constructive modes include
single phase , two phase or three phase models of any power and
voltage .
Brief Description of the Drawings
The present invention will be hereinafter described with the aid
of drawings, but they are not absolutely limiting, which can be
seen further details and advantages of the present invention.
The figures show:
Figure 1 - shows a basic circuit of the self-powered system for
generating electricity from the present invention;
Figure 2 - shows a first embodiment of constructive
self-powered system for generating electricity from the present
invention;
Figure 3 - shows a second embodiment of constructive
self-powered system for generating electricity from the
invention of the present invention;
Figure 4 - shows a third embodiment of constructive
self-powered system for generating electricity from the present
invention;
Figure 5 - shows a fourth embodiment of constructive
self-powered system for generating electricity from the present
invention;
Figure 6 - shows a fifth embodiment of constructive
self-powered system for generating electricity from the present
invention.
Detailed Description of the Invention
There are different ways of closing the self-feeding cycle
depending on the structure of the electrical circuit. Such
constructive arrangements are shown in Figures 2 to 6, where the
main structure of the circuit, which is an open and closed circuit
generating electricity instantly is maintained.
As shown in Figure 1, the self-powered system for generating
electricity comprises a basic circuit consisting of a rectifier
(AC DC converter) 10 which is connected in series with an inverter
(inverter DC / AC) 12 3 a battery bank that is connected in series
between the rectifier 10 and the inverter 12. A sensor of 14
electrons - which could be a sensor of electrons of the free space
(defined in application Brazilian Patent No. BR1020120008378
equipment, 13.01.2012) or, alternatively, a sensor of electrons
from the earth (equipment set out in patent No Brazilian
BR1020120008386 of 13.01.2012) - is connected in series to the
basic circuit formed by the rectifier 10, the inverter 12 and
battery pack 13.
Be connected to the system, the battery bank 13 provides power to
the basic circuit. Consequently, the inverter 12 converts direct
current into alternating current and provides such current to the
sensor of electrons 1. The captor of electrons 14, after receiving
electrical current from the inverter 12, passes to capture
electrons into alternating current and feed the rectifier 10 which
converts alternating current to direct current to recharge the
battery bank 13 and feed the inverter 12, which will keep feeding
the captor of electrons, ending the cycle of self-feeding, and
also providing electricity for consumption of external loads.
This particular mode, the rectifier 10 and the inverter 12, which
initially received electrical current from the battery bank 13,
started to use the current generated by electron sensor itself.
Thus, the power supply from the battery bank 13 is switched to the
power supply from the captor of 14 electrons, ie, the sensor of 14
passes electrons to provide power feeding the system itself, and
providing, in output port 18, electricity consumption for external
loads.
As can be seen in Figure 2 , another embodiment of the
self-powered system for generating electricity comprises a device
that includes a basic circuit of a typical system power supply
uninterrupted power , known as UPS consists of a battery charger (
AC DC converter ) 21 connected to a drive device (inverter DC / AC
) 23 and connected to them , accumulators energy devices ( battery
bank ) 22 - with this basic circuit plus other devices and
connected to a sensor of electrons from space 27 free (defined in
Brazilian patent application No. BR1020120008378 equipment,
13.01.2012 ) or, alternatively, a sensor of electrons from the
ground 27 ( as defined in Australian patent application No.
BR1020120008386 equipment, 13.01.2012 ) , comprising thus, the
battery charger ( AC DC converter ) 21 is connected in series to
the battery bank 22 connected in series with the inverter 23 ,
which is connected in series with the key phase transfer at the
connection point 24.1 , which is connected at the connection point
24.1 the point 24.3 the binding key itself phase transfer 24 ,
connected in series to the sensor of electrons 27 electrons , in
parallel with the battery charger (inverter AC / DC) 21 , and this
is in parallel to surge suppressor 25 to disarm the connection
points 24.1 and 24.3 of the phase transfer switch 24 and connect
the connecting points 24.3 and 24.2 , and the connection point
24.2 is connected in series with the filter 26, which is in series
with the surge suppressor 25 , which is in parallel to the battery
charger (inverter AC / DC) 21 , the battery bank 22 , the inverter
23 and the point of attachment 24.1 , which are in series with the
transfer switch phase 24 , which is in series with the connection
point 24.3 and the sensor of electrons 27 electrons , which is in
series with the phase output 28 .
In an alternative constructive manner, for use in emergency
situations, in which the system ceases to be self-powered, the
system may comprise a power input of an external source of
electricity at the point of interconnection 29 to power surge
suppressor 25, which provides power to feed exit point 28, to feed
external loads.
The battery bank 22 releases energy to the inverter 23 and
inverter 23 converts the DC current into alternating current,
which shall feed the transfer switch 24. The transfer switch (24)
is connected to the filter 26 and the captor of electrons 27.
After being fed, the sensor 27 is electron capture electrons into
alternating current and feed the battery charger (inverter AC /
DC) 21, the filter 26 which is connected to the surge suppressor
25 which is connected to the transfer switch 24, which feeds the
sensor 27, which feeds the battery charger (AC DC converter) 21,
which is feeding the batteries and switching occurs by the
transfer switch 24 when the surge suppressor 25 is powered disarms
the transfer switch 24 cutting off the supply of power from the
batteries to the inlet of the electric current sensor of 27
electrons.
When the electron sensor 27 is turned off, the transfer switch 24
back to baseline (24.1 and 24.3 point connected to the system to
function as self-feeding.
The electron sensor 27 provides power to the transfer switch 24
without interruption of power because the transfer switch 24 has
been switched by the surge suppressor 25 that provides power to
feed the system itself, ie, closing the cycle of self-feeding and
providing energy to the point of exit 28, which feeds the external
loads.
As shown in Figure 3 , another embodiment of the self-powered
system for generating electricity comprises a device that includes
a basic circuit of a typical system power supply uninterrupted
power , known as UPS , consisting of a battery charger ( AC / DC
converter ) 31 connected to a drive device (inverter DC / AC ) 35
, and connected to them power devices accumulator ( battery bank )
32 , and this basic circuit together with other devices and
connected to an electron sensor space 37 free ( equipment as
defined in Brazilian patent application No. BR1020120008378 of
13.01.2012, or , alternatively, a sensor of electrons from the
ground 37 ( as defined in Australian patent application No.
BR1020120008386 equipment, 13.01.2012 ) comprising , as a bank of
batteries 32 connected in series with the DC / DC converter 33 ,
which is connected in series with the switch 34 in the phase
transfer connection point 34.1 which is connected in series to the
connection point of 34.3 , which is in series with the inverter 35
, which is connected in series with the sensor of 37 electrons ,
and 38 three-phase output , which is in parallel with the battery
charger (inverter AC / DC) 31 , the rectifier 36 is in parallel to
the battery charger ( AC / DC) converter 31 , and in series with
the phase transfer switch 34, 34.2 at the connection point , which
is in series with the connection point of 34.3 , and in parallel
with the connection point 34.1 ; switching point 34.3 is in series
with the DC / AC inverter 35 , which is connected in series with
the sensor of 37 electrons , which is in parallel to the battery
charger (inverter AC / DC) 31 , the battery bank 32 , the standby
inverter DC / CC 33 and the point of attachment to 34.1.
n an alternative constructive manner, for use in emergency
situations, in which the system ceases to be self-powered, the
system may comprise a power input of an external source of
electricity at the point of interconnection 39, connected to the
rectifier 36, which provide electrical power to three-phase
transfer switch 34, the inverter DC / AC 35, which is supplying
electricity at exit 38, which is also the power point of the
external load.
The battery bank provides power to 32 DC / DC converter 33, to
feed the transfer switch 34.
At this time, the transfer switch 34 does not switch, because it
receives direct current of 34.1 and 34.2 points and simultaneously
transfers the electrical current to the point that feeds the 34.3
DC / AC inverter 35, which when fed, transforms the dc to
alternating, and provides alternating current to the sensor of 37
electrons.
The rectifier 36 provides the transfer switch 34 and the power
transfer switch 34 receives power from the batteries and the
inverter 33 which feeds the DC / AC inverter 35. At this time, the
DC / AC inverter 35 goes to feed the sensor of 37 electrons,
leaving the supply of energy from the batteries to the power
supply by the captor, who shall provide power feeding the system
itself.
Thus , the sensor 37 starts to capture electrons in alternating
current and starts to feed the battery charger (inverter AC / DC)
31 . The battery charger (inverter AC / DC) 31 continues to supply
power to the drive ( 33 ) , continuing the flow of energy
As can be seen in Figure 4 , another embodiment of the
self-powered system for generating electricity equipment that
comprises a basic circuit of a typical system power uninterrupted
power , known as UPS , consisting of a battery charger ( AC / DC
converter ) (A ) connected to a drive device (inverter DC / AC )
42 and attached to them , devices accumulator of energy ( battery
bank ) 41 , and this basic circuit together with other devices and
connected to an electron captor of free space 44 (defined in
Brazilian patent application No. BR1020120008378 equipment,
13.01.2012 ) or, alternatively, a sensor of electrons land 44
(defined in the application equipment Brazilian patent No.
BR1020120008386 of 13.01.2012 ) thus, a battery charger comprising
(A) connected to a battery bank 41, which is connected in series
with inverter 42 at point (B) which is in series with the point (
C ) of the inverter 42, which is in series with the electron
sensor 44, which is in series with the phase transfer switch 43
through the connection point of the three-phase load output 45 ,
the phase transfer switch 43 is in series with the inverter 42,
which is connected in series to (AC / DC converter) at (A ) the
battery bank 41 .
In an alternative constructive manner , for use in emergency
situations , in which the system ceases to be self-powered , the
system may comprise a power input of an external source of
electricity at the point of interconnection 46 , and providing
power at the output 45, which is also the feed point of the
external loads.
The battery bank 41 provides power to the inverter 42 which
converts the direct current into alternating current and feeds the
sensor of 44 electrons .
The transfer switch closes when the batteries need recharging .
The sensor 44 captures electrons with alternating current , which
feeds the transfer switch 43 in one of his points of departure
load receiving alternating current , which becomes the input power
. The transfer switch 43 feeds the inverter 42 and inverter 42
supplies the batteries , charging them and closing the cycle of
self-feeding and providing energy at exit 45 , which is in series
with the power input , which is also the power point external
loads.
As can be seen in Figure 5 , another embodiment of the
self-powered system for generating electricity comprises a device
that includes a basic circuit of a typical system power
uninterrupted power , known as UPS , consisting of a battery
charger ( AC drive / CC ) 51 connected to a drive device (inverter
DC / AC ) 53 and attached to them , devices accumulator of energy
( battery bank ) 52 , and this basic circuit together with other
devices and connected to an electron captor the free space 56
(defined in Brazilian patent application No. BR1020120008378
equipment, 13.01.2012 ) or, alternatively, a sensor of electrons
land 56 (defined in the application equipment Brazilian patent No.
BR1020120008386 of 13.01.2012 ) thus comprising a battery charger
51 which is connected in series with a battery bank 52, which is
connected in series with the inverter 53, which is connected in
series with the transformer 55 at its point C, which is in series
with its point (B ) which is in series with the electron sensor
56, which is in series with the battery charger 51, which is
connected to the outlet of load 58, with the entry point 59, which
is in series with the key 54 -phase transfer in point 54.1 , which
is closed to the connection point 54.3 , which is in series with
paragraph ( a) of the transformer 55 which comes out in paragraph
( B ), points ( a) , and 54.3 as well as the parallel 54.1 points
and 54.2 , are all parallel to the battery charger 51 , the
battery bank 52 , the inverter 53 and the point ( C ) of the
transformer 55.
In an alternative constructive manner, for use in emergency
situations, in which the system ceases to be self-powered, the
system may comprise a power input of an external source of
electricity at the point of interconnection 59, this connected to
key transfer 54 that provides power output at 58, which is the
point of supply of external loads.
The battery bank 52 that supplies power to the inverter 53 which
converts the direct current into alternating current, feeding
point (C) of the transformer, which comes out in paragraph (B) and
paragraph (A) of the transformer.
Paragraph (B) of the transformer feeds the sensor that captures
electrons 56 electrons in alternating current and feeds the
battery charger 51 which feeds the battery bank 52.
The battery charger 51 is connected in parallel with the transfer
switch 54 via connection points 54.1 and 54.3, feeding point (A)
of the transformer, which leaves at point B. Paragraph (A) of the
transformer and the transfer switch points 54.3 and 54.1 are in
parallel to the battery charger 51, ??52 batteries, and the
inverter 53 and the point (C) of the transformer 55.
The transfer switch 54, with the absence of electric current had
always been linked in section 54.2 and 54.3, when the transfer
switch 54 is supplied with electric current always occurred
switching point 54.2 disconnecting and connecting with connection
point that is 54.1 closed with the connection point 54.3.
The battery bank 52 only provides power to the inverter 53 when
the transfer switch 54 is connected to the point 54.2 the point
54.3 , ie when the transfer switch 54 does not fed . The inverter
53 , to receive electrical current from the batteries 52 ,
converts the direct current into alternating , passing through the
transformer 55 point ( C ) to point ( B ) , feeding the sensor of
56 electrons , capturing , generating an alternating electrical
current that leaves the point of exit load 58 with the entry point
59 . The entry point 59 is in series with the battery charger 51 ,
??and the entry point 59 which provides electrical current to
transfer switch 54 which switches to the point 54.1 the point 54.3
, with this switching out the power supply assembly batteries for
the power supply of the electron sensor 56, which goes to supply
power feeding system itself , closing the cycle of self-feeding ,
which provides power at the output 58, which is the feeding point
of the external loads.
As can be seen in Figure 6 , another embodiment of constructive
self-powered system for generating electricity comprises a device
that includes a basic circuit of a typical system power
uninterrupted power , known as UPS , formed by a rectifier device
( AC drive / CC ) 61 connected to a drive device (inverter DC / AC
) 63 and attached to them , devices accumulator of energy (
battery bank 62 , and this basic circuit together with other
devices and connected to a sensor of electrons from 64 space
(defined in Brazilian patent application No. BR1020120008378
equipment, 13.01.2012 ) or, alternatively, a sensor of electrons
from the ground 64 ( as defined in Australian patent application
No. BR1020120008386 equipment, 13.01.2012 ) comprising thus, a
delta converter ( AC / DC) 61, which is connected in series to a
battery bank 62, which is connected in series with the inverter (
DC / AC ) 63 , which is in series with the electron sensor 64
which is connected in series with the delta converter (AC / DC )
61 which , of alternating ( AC ) is in series with the alternating
part (CA ) of the inverter 63 through a connection point 65 which
is in parallel with part (DC ) delta converter 61 , with the
battery bank 62 and the continuous part ( CC ) of the inverter 63
.
In an alternative constructive manner , for use in emergency
situations , in which the system ceases to be self-powered , the
system may comprise a power input of an external electric power in
the interconnection point 66 connected to delta converter 61 ,
which providing power on output 67, which is the feeding point
loads .
The battery bank 62 provides power to the inverter 63 which
converts the direct current into alternating current , powering
the sensor of 64 electrons . The sensor 64 starts to capture
electrons in alternating current , feeding the delta converter 61
via an exit point load 67 .
The alternating part of the three-phase delta converter 61 is fed
with AC side of the inverter 63 through the connection point 65 ,
which is connected in parallel to part of the ongoing delta DC
converter 61 , which feeds the battery bank 62 and the continuous
part the inverter 63, closing the cycle of self-feeding and
supplying power at output 67, which is the feeding point loads .
Examples of preferred embodiments having been described, it should
be understood that the scope of the invention covers other
possible form of construction equipment using the electron sensors
connected to a basic circuit of a typical system for uninterrupted
power supply, known as UPS, comprising a rectifier device
(inverter AC / DC) 10, connected to an inverter (inverter DC / AC)
12 device, attached to them, accumulators energy devices (battery
bank).
WO2013104042
ELECTROMECHANICAL EQUIPMENT OF ELECTRON CAPTURE FROM THE FOR
ELECTRICITY GENERATION "
Technical Field
The present invention relates to an electromagnetic equipment for
power generation and alternatively for thermal power generation .
More specifically a device capable of producing electrical energy
and abundant thermal energy from a tiny power consumption.
When the magnet is removed from the loop , the induced current in
the loop has a counter to the direction shown in Figure 1 , thus
generating a magnetic field whose south pole is facing the north
pole of the magnet. The two poles attract each other , i.e., the
field generated by the induced current opposes the movement away
from the magnet. This behavior , in this current generators and
energy known as engine braking , it is highly undesirable to raise
the resistance and thereby increase the energy loss.
When two electromagnetic coils are placed facing each other, as in
figure 2 , there is no power in any of them. At the moment when a
power switch of one of the closed coil If, in the corresponding
coil current surge , causing an induced current in the second coil
. When you close the switch , the corresponding coil current goes
from zero to a certain maximum value , thereafter remains constant
.
Thus , when the current is changing , the magnetic field generated
by it , whose north pole facing the second coil is also changing
and so is the magnetic flux of this field through the second coil.
Then comes a current induced in the second coil whose sense is
such that the magnetic field it generates tends to decrease the
flow mentioned, i.e., it has a north pole confronting north pole
of the first field coil.
When the power switch is open , the current in the first coil will
given its maximum value to zero , the corresponding field
decreases . The flux of this magnetic field in the second coil
also decreases , so that the induced current now has an opposite
direction. This direction is such that the field which generates
induced current is added to that , that is , has a south pole
faced the north pole of that field.
Thus , there is a realization of the principle of conservation of
energy, expressed in Lenz's Law , in which any induced current has
an effect that opposes the cause that produced it.
Assuming that the induced current acts to favor the change of the
magnetic flux that produced the magnetic field of the coil would
have a south pole confronting north pole of the magnet approaches,
causing the magnet to be attracted towards the coil.
If the magnet was then released, would suffer an acceleration
toward the coil , increasing the intensity of the induced current
to thereby generate a growing field. This field , in turn ,
attract the magnet with
increasing force, and so on, with a continuing increase in kinetic
energy of the magnet.
If it was drawn power magnet - coil system at the same rate at
which the kinetic energy of the magnet increases , there would be
an endless supply of energy. So it would be a motor - perpetual,
which would violate the principle of conservation of energy.
Therefore , we can conclude that current generators feature a
large energy loss in electricity generation.
Objects of the Invention
The present invention aims to contribute to the generation of
sustainable energy , proposing an electromagnetic machine capable
of producing abundant electricity from a negligible power
consumption .
The goal above and other objectives are achieved by the present
invention by a device comprising at least one electromagnetic
field generator device - without a nucleus or with at least one
core - powered
by a power source - without a core or at least one core - having
their centers or their extension , preferably their coils or sets
of coils , wrapped by at least one common conductive member in a
closed circuit in itself polarized voltage is connected to the
induction least one conductive interconnection element , which is
connected to a grounding grid , causing these interconnections ,
as new technical effect , the appearance of an electric current
that keeps circling the conductive element in self-enclosed
circuit for powering external loads.
The device object of the present invention operates as follows :
the electromagnetic field generating device to be powered by a
power source , produces an electromagnetic field that induces an
electric current in the conductor element in self-enclosed circuit
, creating an interaction one between the magnetic poles of the
equipment and the magnetic poles of the earth , turning into a -
through electromagnetic attraction and repulsion - an endless
supply of electrons from the earth to the conductive element in
self-enclosed circuit, which is connected to a ground grid through
the conductive interconnection element.
Attracted electrons are added to the current circulating in this
closed loop conductive element itself, where electricity is
available for powering loads of high power, although the device
object of the present invention is supplied with a small power.
Thus, advantageously, the device object of the present invention
discloses a sensor of electrons from the earth to generate
electricity.
Advantageously, the present electromagnetic equipment to generate
electricity or thermal energy generation provides access to this
new source of energy through a magnetic field .
Advantageously, the interconnections of the components of the
electron captor object of the present invention cause, as new
technical effect, the appearance of an electric current that keeps
circling with or without voltage on conductor element in a closed
circuit in itself , even without a load consumer connected to it,
while the sensor is connected.
Advantageously, the proposed sensor can also be used for thermal
power generation, depending on the way you intend to use the
effect of the flow of electrical current produced in this
electromagnetic equipment .
For the generation of thermal energy proportional to the power of
the sensor values through the movement of electrons in the
conductive element in self-enclosed circuit, the resistance should
be increased by increasing the amount of turns that the conductive
element in a closed circuit in itself gives around the cores, or
any extension of them, preferably the coils or sets of coils of
the electromagnetic field generating device, and is made of a
thermal insulation protection of circuit components, according to
the temperature to be reached . The thermal energy generated by
the sensor can be used in any application, from domestic to
industrial.
This technology can also be used in various technical applications
in electrical machines. By "electric machines", one should
understand static electrical machines, transformers, reactors,
rotating electrical machines, synchronous machines , dual power
machines , synchronous rectifiers current cascade external pole
machines , synchronous machines flow , current machines
alternating or continuous current machines , electronic equipment
and electrical resistances . The captors of electrons can be
single-phase , two-phase or three-phase type , in low, medium or
high voltage.
The uptake by induction does not impact the environment . The fact
of using , as a force for uptake , only electricity , resulting in
a negligible consumption in relation to the current generated and
captured
by the sensor . The relationship between consumption and
generation of electricity in the captor is at least 1 per 100, ie
, for each 1Watt consumption of the sensor , obtains at least 100
Watts for powering external loads . The relationship , however, is
not limited , it depends on the mounting position of the sensor
and its objectives , the generation may be greater than 100 times
the consumption .
Another advantage of the captor of electrons land proposed in the
present invention is that the sensor can transport electrons from
point " A" to "B " point without voltage drop in the conductor
element in a closed circuit in itself - if it is polarized voltage
regardless of the distance between the points depending on the
quantity and power of the electromagnetic field generating devices
in the same phase . It is also possible to transport electrons
when the conductive element in a closed circuit itself is not
polarized . Thus , the electric current is carried without strain
, only through the magnetic field formed between the device (s) (
s ) generator (s ) of magnetic field .
In addition , because the electric current is around 7 by
induction, independent of the voltage at the (s) link ( s) / coil
(s) driver (s ) 4 of the sensor proposed by the present invention
, it can be used as a current stabilizer at medium or high voltage
single-phase , two-phase or three-phase power grids, low .
Although the present invention has been described with reference
to preferred embodiment and practical applications thereof will be
apparent to those skilled in the art that a variety of types,
shapes , models , gender , modifications and changes can be made
or used without departing from the scope of the invention which is
intended to be defined by the appended claims.
It will be understood that each of the elements described above ,
or two or more together may also find a useful application in
other types of equipment and effects that differ from the type
described above.
ELECTROMAGNETIC DEVICE FOR CAPTURING FREE
SPACE ELECTRONS TO GENERATE ELECTRICITY
WO2013104041
[ PDF ]


The invention relates to a device that comprises at least three
sets (A, B, C, D) of at least one device for generating an
electromagnetic field (3) and (4), powered by an electricity
source - without a core or with at least one core - the cores
thereof or any extension thereof, preferably the windings or sets
of windings thereof, being surrounded by at least a single
conductive element forming a polarized and energized
closed-circuit with itself (5), said sets of electromagnetic-field
generating devices (3) and (4) being linked together by the
opposing poles thereof to encourage the interaction of the
electromagnetic fields thereof, which are preferably allocated
between two hollow metal half-spheres (1) so as to concentrate and
enhance the electromagnetic fields thereof, these interconnections
causing, as a novel technical effect, the emergence of an
electrical current that circulates, with or without voltage, in
the conductive element forming a closed-circuit with itself (5) -
point of the connections of the external loads - even if no load
is placed thereon.
Technical Field
The present invention relates to an electromagnetic equipment for
power generation and alternatively for thermal power generation.
More specifically a device capable of producing electrical energy
and abundant thermal energy from a tiny power consumption.
Description of the Prior Art
According to Lenz's law, any induced current has a direction such
that the magnetic field it generates opposes the change in
magnetic flux that produced it. Mathematically, the Lenz's law is
expressed by the negative sign (-) that appears in the formula for
Faraday's Law, as follows.
The magnitude of the induced electromotive force (E) in a
conductive loop is equal to the rate of change of magnetic flux (F
') with time:
d<PB
e =—— - dt Equation 1
As an example of application of Faraday's Law, we can calculate
the electromotive force induced in a rectangular loop that moves
in or out at a constant speed, in a region of uniform magnetic
field. The flow of the magnetic field through the area bounded by
the loop is given by:
ø = xLB Equation 2
and its variation over time is:
At
Equation 3
so
e = vLB Equation 4
e, if the loop has a resistance), the induced current is:
e vLB
R R Equation 5
A conductor traversed by a current immersed in a magnetic field is
acted upon by a force given by:
F - IL x B Equation 6
Thus, the effect of the induced current in the loop, come the F *,
F forces - and FM. The first two cancel each other and the third
is canceled by an external force FEXT required to maintain the
loop at constant speed.
As the force F must oppose the force ^ EXT, current (i) induced in
the loop by the variation of the magnetic flux must have the
meaning indicated in figure 1. This fact is a particular example
of Lenz's Law.
Considering the experimental activities discussed with Faraday's
law, when a magnet is approaching a turn, the induced current in
the loop has a meaning as shown in Figure 2. This generates a
magnetic field whose north pole is facing the north pole of the
magnet. The two poles repel each other, ie, the field generated by
the induced current opposes the approach movement of the magnet.
When the magnet is removed from the loop, the induced current in
the loop has a counter to the direction shown in Figure 2, thus
generating a magnetic field whose south pole is facing the north
pole of the magnet. The two poles attract each other, ie, the
field generated munity induced current opposes the movement away
from the magnet. This behavior, in this current generators and
energy known as engine braking, it is highly undesirable to raise
the resistance and thereby increase the energy loss.
When two coils are placed facing each other, there is no power in
any of them. At the moment when a power switch of one of the coils
is closed, a corresponding current in the coil arises, generating
an induced current in the second coil. When you close the switch,
the corresponding coil current goes from zero to a certain maximum
value, thereafter remains constant.
Thus, when the current is changing, the magnetic field generated
by it, whose north pole facing the second coil is also changing
and so is the magnetic flux of this field through the second coil.
Then comes a current induced in the second coil whose sense is
such that the magnetic field generates EFA tends to decrease the
flow mentioned, ie, it has the north pole confronting north pole
of the first field coil.
When the power switch is open, the current in the first coil will
given its maximum value to zero, the corresponding field
decreases. The flux of this magnetic field in the second coil also
decreases, so that the induced current now has an opposite
direction. This direction is such that the field which generates
induced current is added to that, that is, has a south pole faced
the north pole of that field.
Thus, there is a realization of the principle of conservation of
energy, expressed in Lenz's Law, in which any induced current has
an effect that opposes the cause that produced it.
Assuming that the induced current acts to favor the change of the
magnetic flux that produced the magnetic field of the coil have a
south pole confronting north pole of the magnet approaches,
causing the magnet to be attracted towards the coil.
If the magnet was then released, would suffer an acceleration
toward the coil, increasing the intensity of the induced current
to thereby generate a growing field. This field, in turn, attract
the magnet with increasing force, and so on, with a continuing
increase in kinetic energy of the magnet.
If it was drawn power magnet-coil system at the same rate at which
the kinetic energy of the magnet increases, there would be an
endless supply of energy. So it would be a motor-perpetual, which
would violate the principle of conservation of energy.
Therefore, we can conclude that current generators feature a large
energy loss in electricity generation.
Objectives of the Invention
The present invention aims to contribute to the generation of
sustainable energy, proposing an electromagnetic device able to
produce abundant electricity from a negligible power consumption.
The goal above and other objectives are achieved by the present
invention by a device comprising at least three sets of at least
one electromagnetic field generator device - without a nucleus or
at least a core - powered by a power source taking their nuclei or
any extension of them , preferably their coils or sets of coils ,
surrounded by at least one conductive element even closed in
itself , polarized voltage circuit , and these sets of
electromagnetic field generating devices are arranged with its
poles in conflict, to promote the interaction of its
electromagnetic fields , and preferably allocated between two semi
- hollow metal spheres , in order to concentrate and strengthen
their electromagnetic fields - that cause these interconnections ,
as new technical effect , the emergence of an electric current
that keeps circulating , with or without tension , the conductive
element in a closed circuit itself - point of connection of
external loads - even * without having a load of consumption
linked to it .
The device object of the present invention operates as follows : .
Sets of electromagnetic field generating devices to be powered by
a power source , produces an electromagnetic field that induces an
electric current in the conductor element in self-enclosed circuit
, creating one interaction between their magnetic poles , going to
be - through electromagnetic attraction and repulsion - an endless
supply of electrons to the conductive element in self-enclosed
circuit. Attracted electrons are added to this current flowing in
the conductor element in self-enclosed circuit , where electricity
is available to power external loads of high power , although the
device object of the present invention is supplied with a small
power . Thus , advantageously , the device object of the present
invention discloses a scavenger of free space electrons to
generate electricity.
Advantageously, the interconnections of the components of the
electron captor object of the present invention cause, as new
technical effect, the appearance of an electric current that keeps
circling with or without voltage on conductor element in a closed
circuit in itself, even without a load consumer connected to it,
while the sensor is connected.
Advantageously, the present electromagnetic equipment to generate
electricity or thermal energy generation provides access to this
new source of energy through a magnetic field.
Advantageously, the proposed sensor can also be used for the
generation of thermal energy depending on the form is to be used
to effect of the flow of electrical current produced in this
electromagnetic equipment.
This field generates an electric current flow, induced by
electromagnetic coils, which appears in the links interconnecting
the electromagnetic field generating devices with electromagnets,
inductors or magnets. This chain operates in favor of the change
of the magnetic flux produced by the magnetic field in the
electron captor sense. Thus, it creates a north pole and a south
pole, providing an endless supply of electric current without
resistance interconnection links between the electromagnetic field
generating devices. Thus, it generates electric current induced
voltage with or without the links interconnecting the
electromagnetic field generating devices, depending on the
connection of the electrical circuit in the sensor.
The captor of electrons from space can generate alternating
current (AC) or direct current (DC). The ratio of energy
consumption of devices generating electromagnetic field of the
sensor is
1 x 100, or the generation can be 00 times greater than the
consumption when they have at least one link / coil driver (s)
between the coils and the inductors or electromagnets. This
relationship, however, is not limited, it depends on the mounting
position of the sensor and its objectives.
Another advantage of the captor of electrons of the free space of
the present invention is that, with the thermal insulation of the
components of the electrical circuit, it is possible to produce
average thermal energy of low or high temperatures, through the
movement of electrons in the link (s) / turn (s) driver (s)
between the coils and / or inductors and / or electromagnets. The
temperature generated is directly related to the amount of turns
that the link (s) / loop (s) driver (s) gives the coils.
The generation of thermal energy carried by the transducer can be
used for boiling and evaporation of the liquids to be used in
other types of power generation, replacing the use of coal and
natural gas, for example.
Another advantage of the captor of electrons proposed in the
present invention is that the sensor can transport electrons from
point " A" to "B " point without voltage drop in the conductor
link - if it is polarized - regardless of the distance between
points depending on the amount of power and electromagnetic field
generating devices . It is also possible to transport electrons
when the link ( s ) / loop ( s ) driver (s ) of the
electromagnetic field generating devices is not polarized . Thus ,
the electric current is carried without tension only by the
magnetic field formed between the coils . This methodology can be
used in various fields.
By having a simple constructive manner , the sensor of electrons
is a simple , compact , low-cost equipment for power generation
and can be used on all types of machines, equipment and objects of
all kinds , segments , sectors or areas application requiring
electrical power for its operation . The captor of electrons can
be single phase, two phase or three phase and can be used in all
segments of generating electric current in low, medium or high
voltage power anywhere .
The present invention will be hereinafter described with the aid
of drawings, but they are not absolutely limiting, which can be
seen further details and advantages of the present invention , in
an example implementation with four coil sets / inductor /
electromagnets .
Brief Description of the Drawings
The figures show :
Figure 1 - a representation of Faraday's Law .
Figure 2 - a representation of Faraday's law where a
magnet is approaching a turn.
Figure 3 - a top view of the metal hemisphere .
Figure 4 - a bottom view of the semi - sphere with the
coils .
Figure 5 - a side view of the sensor of electrons from
space .
Figure 6 - a bottom view of the sensor of electrons from
space , with the coils and electromagnets
Figure 7 - a top view of the sensor of electrons from
space , with the coils and electromagnets .
Figure 8 - is a perspective view of the link coil / loop
conductor with the electromagnet or the inductor.
Figure 9 - a representation of the circuit diagram of the
device showing the electromagnetic field effect.
Figure 10 - a representation of the electric circuit
diagram of the connection of the inductor coils in sets ( A, B ,
C and D).
Figure 11 - a representation of the electromagnetic
diagram of north and south poles of the sets of coils (A, B, C
and D).
Figure 12 - a representation of the electrons being
attracted and repelled the device .
Detailed Description of the Drawings
Figure 3 shows a top view of one of the two
semi-hollow metallic spheres that is one of the scavenger of free
space electrons proposed in the present invention. This
half-sphere 1 is made preferably but not limitedly, of aluminum,
having locking tabs.
Figure 4 shows a bottom view of one of the metal half-spheres 1.
It is observed are four magnetic field generating devices, in this
case four coils / inductor 3 arranged around the first hemisphere
and fixed in a bracket 6 which is secured to the first semi-sphere
by two locking tabs.
A side view of the sensor of electrons from the free space is
shown in Figure 5. We can observe the two metal half-spheres 1
(forming an imperfect sphere and three coils fixed on three
securing tabs and two inductors connected to three conductive
elements 4 via a closed circuit itself, in this case bond (s) /
loop (s) driver (s) 5. 6 gives support to support the entire
sensor and its components.
Figures 6 and 7, respectively, show views of the upper and lower
metal half-sphere 1, which accommodates four coils 3 fixed on the
holder 6 (not shown) which is secured to the first semi-sphere by
two locking tabs. It is still observed in Figure 6, the inductors
4 - or electromagnets interconnected to the respective coils 3
through link (s) / coil (s) driver (s) 5. Each coil 3 forms a
conjunction with their respective inductive 4. In Figures 6 and 7
are observed in four of these sets A, B, C and D.
Involving the turns of the coil 3 , there is at least one common
link ( s ) / loop ( s ) driver (s ) 5 - may have other shapes -
making at least one turn around the turns of the coil 3 ,
preferably two turns if the goal is to generate electric power ,
and preferably four laps if the goal is the generation of thermal
energy. Both this winding, as the number of laps around the turns
of the coil 3 are directly related to the amount of current to be
generated in ( s ) link ( s ) / loop ( s ) driver (s ) 5 . The
link ( s) / coil (s) driver (s ) 5 may be formed by one or more
conductor elements cross section dimensioned according to the
desired power .
In clusters A, B , C and D , the coils 3 present their twisted
loops for at least the same link ( s ) / loop ( s ) driver (s ) 5
, which should occur at least once around the loops of 3 reels .
This winding is connected to the respective electromagnets 4 of
each set A, B, C or D according to figures 6 and 7. It is
noteworthy that inducers or electromagnets 4 can be any type of
inductor, or even use other types of coils .
Figure 8 shows the connection of the coils of the link
interconnecting conductors 5 in either set A, B , C and D formed
by the inductor coil 3 and 4 . As shown in Figures 6 and 7 , the
link (s) / coil (s) driver (s) 5 is closed between the coils 3 and
4 the respective inductors . So we have that to 5.1 in figure 8
must be connected together , as well as 5.2 points . Thus, the
interconnection links 5 are sealed between the coils 3 and
respective electromagnets 4 and inducers . Still observed the
power conductors 7.1 , 7.2 , 7.1 where points should be connected
to each other , as well as 7.2 points . To the coils 3 and 4 are
respective inductors fed , feeding must be one of the power
conductors 7.1, 7.2 with the stage while the other conductor 7.1,
7.2 should be fed neutral .
In the sensor of free space electrons proposed in the present
invention , the coils 3 may be of any monophasic, biphasic or
triphasic power . Furthermore, the coils 3 may be powered by any
voltage value (V).
The power coil 3 can be provided from any source of electrical
supply to the electromagnetic potential as a power grid . And the
captor of electrons can be built with configuration for direct
current or alternating current setup . Thus, if the power source
is alternating electrical current - CA , the sensor provides
alternating electrical current - CA . If the energy source is a
continuous electrical current - DC , the sensor provides
continuous electrical current - DC . The captor of electrons from
the earth can be single phase, two phase or three phase , low,
medium or high voltage.
Figure 9 shows a circuit diagram representation of the sensor with
four sets A , B, C and D inductor coils 3 and 4 . Note the
induction 9 around the nucleus of 3 sets of coils A, B , C and D.
The effect of the interaction of electromagnetic fields 11 is
shown . With the induction 9 , the flow of electrical current in
10 link ( s ) / loop ( s ) driver (s ) 5 occurs , attracting the
free electrons through the electromagnetic field of the sensor .
Then , the electrons join with the current generated by induction
on link ( s ) / loop ( s ) driver (s ) 5 , circulating among the
north-south magnetic poles , north and south .
By way of example, the coils 3 are formed by a single-phase core
type column system with windings and insulating loop around the
core, but the genus coils and any shape may also be used. The
electron sensor proposed by the present invention can be
constructed with another type of electromagnetic field generating
device, as at least one electromagnetic coil or magnet or
electromagnetic inductor of any kind and form, with any
combination of them, and in unlimited quantities at each stage of
electron captor.
The uptake occurs via an electromagnetic field that is formed by
the closure of 3 reels with electromagnets or inducers 4 through
link (s) / loop (s) driver (s) 5 among the eight elements.
This produces the closing movement of electrons from the coil
assembly 3 (A) ( for simplicity , referred to as a coil 3a ,
attracted by proton coil assembly 3 (D) 3 -D coil , and electrons
are repelled by the electromagnetic field the actual 3 - D coil.
Such electrons of 3 - D coil protons are attracted by the coil 3b,
and electrons are repelled by the coil itself (3b ) . Such
electrons coil 3b are attracted by the protons coil 3 - C , and
electrons are repelled by the electromagnetic field of the coil
itself 3c. Similarly , electrons coil 3 - C protons are attracted
by the coil 3a , and electrons are repelled by the electromagnetic
field of the coil itself 3a. Such electrons coil 3a are attracted
by the protons of the 3 - D coil , and electrons are repelled by
the magnetic field of its own 3 -D coil. Similarly , the electrons
in the 3 - D coil are attracted by proton coil 3b, and electrons
are repelled by the electromagnetic field of the coil itself 3b.
These electrons coil 3b are attracted by the protons coil 3c, and
electrons are repelled by the armature coil own 3-C, and then the
electrons of the coil C-3 protons are attracted by the coil 3a,
and electrons are repelled by the magnetic field of the coil
itself 3a, which extends cycle while the coil sets a, B, C and D
are being fed by a voltage. These endless attractions and
repulsions generate an electric current in the link / coil driver
5.
In the sensor, the voltage is stable. Regardless of the amount of
current generated - which can be very high - the voltage will be
the same in the sensor circuit, because the current moves through
the attraction and repulsion of the electrons, regardless of
voltage.
Figure 10 shows a representation of the electric circuit diagram
of the connection between the coils 4 and inducers 3 , clusters A,
B , C and D. It is noted that the sets A , B, C and D are enclosed
between the coils 3 and respective electromagnets 4 and inducers .
The power conductors 7.1 , 7.2 , 7.1 where points of sets A , B ,
C and D must be connected between ' itself , as well as 7.2 points
. To the coils 3 and 4 are respective inductors fed , feeding must
be one of the power conductors 7.1, 7.2 with the stage while the
other conductor 7.1, 7.2 should be fed neutral .
Sets A, B , C and D after being fed generate voltage electrical
current through the attraction and repulsion of electrons in the
link / coil conductor 5 , where there is at least one load output
8.1 , which should be connected joining the sets A and C, and at
least one output load 8.2 , which should be connected joining the
sets B and D. The output points 8.1 , 8.2 are the respective
phases and neutral of power points 7.1 , 7.2 .
Thus, it constitutes one of the electron sensor phase space in
which the phase and neutral are formed each by two pairs of sets
of coils / inductors 3 and 4.
The coil assembly 3/4 the electromagnet can be replaced by a set
coil 3/3 spool without damage to the sensor.
The sets A, B, C and D are inserted in a metal semi-hollow sphere
1 formed preferably - but not limited extent - aluminum. The
semi-sphere 1, whose function is to focus and enhance their
electromagnetic fields, simulating an electron cloud is fixed to
the ground by a support 6 and has 2 mounting tabs, which are fixed
coils 3.
Figure 11 shows the electromagnetic diagram of the north and south
poles of the coils 3 and 4 inducers of sets A, B, C and D of the
captor. The electromagnetic behavior described for Figure 9 is
again demonstrated by the formation of the set of magnet with the
north pole and south pole being attracted and repelled by the
lines of force of the magnet starting from point "A" to "D" dot
dot "A "to point" B ", the" B "point to point" C "point" C "to
point" A ", and so on, while the electromagnetic field there.
The captor of free space provides the electrons, so that the
electric current induced by the electromagnetic field circulate in
favor of change of the magnetic flux that produced sense. Thus,
the magnetic field creates a north pole and a south pole at each
of the sets A, B, C and D, as shown in Figure 11.
By feeding the coils 3 of the sensor with a desired voltage, a
magnetic field is generated in the coils 3, between the four sets
A, B, C and D form a flow of electrons. This flow in order to
offset electrical current - ordered motion of electrons - that
flows in link (s) / loop (s) driver (s) 5 closed captor, thus
generating the capture of electrons from the free space.
The electromagnetic field of the coil 3-A circulates in the
direction north-south, the electromagnetic field of the coil 3-B
circulates in the north-south direction, the electromagnetic field
of the coil 3-C circulates in the direction north-south, and the
electromagnetic field of the coil 3-D circulates in the direction
north-south, as the figure 11. We emphasize that up SETS A, B, C
and D can be formed by any major combination between coil, magnet
and electromagnet.
What coil induces 3-A is the electromagnetic field north-south,
which induces the coil 3-B, is the north-south field. The field
that induces a 3-coil C is the field north-south. And the field
that induces the coil 3-D is the north-south field. Assim, um is
created electromagnetic field induced in the coils of conjunto and
can have any major power, single phase, three phase or biphasic.
Figure 12 shows the electrons being attracted and repelled from
the coil inductors 3 and 4. Being repelled and attracted by
electromagnetic induction, the current movement is elétrica sem
resistance.
The detector produces electromagnetic waves that Can I be used for
various purposes, including those of transmission of any major
signal frequencies for any major purpose.
The uptake is stemmed through these electromagnetic waves. You can
get the same physical effect of uptake with the combination of
other technologies, including electromechanical, electromagnetic,
electro-electronic or by combining magnetized magnet or any other
type material equipment.
The captor of electrons of the free space of the present invention
is also a renewable source for the production of electrical
current and a new way of generating energy through the capture
effect, generating flows of electrons, generating ordered motion
of electrons - electric current - as shown in Figures 9, 11 and
12. Electrons can move without tension in the link (s) / loop (s)
driver (s) 5 and may alternatively be biased at any voltage.
The structure type of electric circuit - open and closed - makes
possible the generation of electric current through the
electromagnetic link (s) / loop (s) driver (s) 5 - where the
current is generated and moves with or without strain. Thus, the
present invention provides a new concept of power generation, as
shown in Figures 9, 11 and 12.
Although the present invention has been described with reference
to preferred embodiment and practical applications thereof will be
apparent to those skilled in the art that a variety of types,
shapes, designs, genres, modifications and changes can be made or
used without departing from the scope of the invention which is
intended to be defined by the appended claims.
It will be understood that each of the elements described above,
or two or more together may also find a useful application in
other types of equipment and effects that differ from the type
described above
ELECTRIC ENERGY GENERATION SYSTEM
WO2013104040
[ PDF ]
The present invention relates to an electric energy generation
system comprising a frequency inverter (1) connected to an
electric motor (2) in order to control the rotation of the motor;
and an alternator (8) connected to the electric motor (2) by a
metal shaft (4.1) that includes or forms at least one solid
concentric structure (7) arranged between the electric motor (2)
and the alternator (8), the mass of the shaft (4.1) and of the
solid concentric structure (7) being proportional to the power of
the motor (2).
Technical Field
The present invention relates to a system for generating
electrical energy comprising an electric generator coupled to a
power-controlled by a frequency inverter through a shaft that
includes at least one or conforms concentric solid motor
structure.
Description of the Prior Art
The conventional generators and alternators need at least a
combustion engine coupled to its operation in rotation and torque
to generate electricity. By way of example, the document
PI9102642-3 describes a synchronous generator with autoexcitED
injected engine copper or aluminum. Such generators are used
coupled to a internal combustion engine having means which allow
the generator to operate in the most appropriate range of rotation
manner.
Currently, the known generators to generate electricity at a
desired frequency generally behave at a set rotation, ie 1800 rpm
60 Hz, 1500 rpm 50 Hz These conventional generators and
alternators have a high energy consumption at the time of
departure and consumption energy considerably high.
Generators are facilities for the production of electricity, are
alternative energy sources, and come in different shapes and
types. The different types of generators include, for example,
electric generators, portable wind generators, emergency
generators and RV generators. Each type has a specific function
and can be fed, for example, propane gas, gasoline, diesel and
natural gas. All these forms of energy are used as initial force
to fuel generators, contributing to global warming and attacking
the environment.
A fully electric generator does not pollute. However, when using
an electric motor, the motor power is above the power generator.
Thus, the energy consumption to generate energy through alternator
electric generator electric motor is greater than the power to be
generated, because to produce the traction force would be
necessary for the engine to consume more power than the generator
generates.
Summary of the Invention
The present invention is a system for generating electrical energy
comprising a three phase frequency inverter, a three-phase
electric motor, alternator and a generator includes a shaft that
conforms or at least a concentric solid structure arranged between
the electric motor and generator. Such elements, appropriately
arranged, allow the set to operate in rotation and proper
operation of the electric motor, which drives the generator to
power consumption savings for generation without considerable loss
of power generated and output current traction force.
Objectives of the Invention
In view of the problems described, and in order to overcome them,
we propose a system to generate electricity that is powered by
electricity.
The cost of power generation is less than the cost of generating
combustion, can generate benefits for medium and large consumers,
reducing operating cost through energy savings.
Moreover, when it generates a large amount of electricity from the
power consumption low, is contributing with the environment and
reduces the cost of generation.
The cost of generation is reduced due to the replacement of the
combustion engine with an electric motor. Thus, the energy
consumption to be provided by the initial source that feeds the
engine is electricity.
The objectives of the present invention are achieved through a
system of generating electricity using a shaft that includes
conform or at least a concentric structure with proper solid mass,
which, when turning, due to the transfer of inertia of its mass in
displacement rotation, generates kinetic energy by means of a
centrifugal force, increasing the engine speed. Thus, the motor is
replaced by the tensile force required to drive the generator
shaft connected to a load.
The system for generating electrical energy comprises a frequency
converter connected to an electric motor to control engine speed,
and a generator alternator connected to the electric motor via a
shaft that includes at least one or conforms concentric solid
structure arranged between the altemador generator and electric
motor, with the mass of the shaft that includes at least one or
conforms concentric solid structure proportional to power the
electric motor.
Proper rotation is defined as a generator voltage and frequency.
To obtain the proper rotation frequency of an inverter is
necessary for the low speed or high speed for the proper rotation
of the generator motor.
Thus, the engine power can be up to four times smaller than the
electric power generator. Thus, although the engine being below
the generator, the consumption of electric energy consumed by the
engine to generate drops considerably, ie, is consumed very little
power and generates a lot of electricity.
Furthermore, the voltage and number of phases of the motor and the
generator may be identical or different.
The power generation system of the present invention allows the
use of an electric motor coupled by a shaft that includes either
at least one concentric conforms solid structure to an electric
generator alternator. The electric generator starts to generate
electricity with low power consumption, since consumption of the
motor becomes smaller, consuming less energy from the initial
source to rotate the generator shaft.
The advantage of the electric motor generator alternator of the
present invention in comparison to other existing alternators
generators is the generation of electricity with low power
consumption to perform work rotation of three-phase generator.
The system of power generation is easy to use, as it features a
compact structure. The mounting base is light, since the motor is
lightweight and does not use any type of liquid or gaseous fuel
tank
The system for generation of electricity is silent because the
electric motor and generator are, and also because the axis that
includes at least one or conforms concentric solid structure does
not produce noise, since it does not suffer intense friction.
The present invention will be described below, using drawings, but
they are not absolutely limiting, which can be seen further
details and advantages of the present invention..
Brief Description of the Drawings
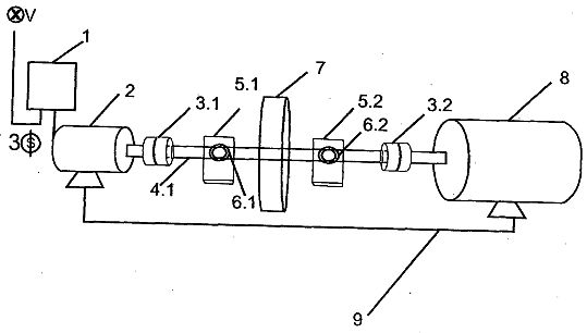
Figure 1 - A schematic representation of the power
generation system of the present invention.
Detailed Description of the Drawings
Figure 1 shows a system for generating electrical
energy comprising a three-phase frequency inverter 1 connected to
a three phase electric motor high speed (2) and a three-phase
alternator generator 8.
The system further comprises a shaft conforms or 4.1 that includes
at least one concentric solid structure 7 arranged between the
engine 2 and the generator 8 to generate a force necessary to
reduce the power consumption while maintaining, totally or
partially, the traction force of the traction electrical
alternators generators provided by the electric motor.
The concentric solid structure 7 can have a variety of shapes,
such as square, rectangular, hexagonal, round, spherical, oval,
and star and others.
In a preferred embodiment, the shaft conforms or comprising at
least a concentric solid structure 7 as well as the very solid
structure concentric 7 are constructed of resilient metal, the
latter of which has a rounded shape of a wheel.
As can be seen in Figure 1, the system further comprises a metal
shaft 4.1 connecting the generator motor 2 to 8 couplings 3.1 and
3.2 which are used to secure the second motor shaft 7 to the wheel
axis and the wheel axis 7 axis of the generator 8 and a base for
supporting and fixing the equipment (9).
the concentric structure 7 must be seven to nine times the mass of
the shaft 4.1, more preferably eight times, even more preferably
nine times. Thus, each horsepower - CV of the electric motor 2,
the sum of the masses of the concentric axis 4.1 and solid
structure 7 must be between 5 Kg and 15 Kg per unit horsepower
electric motor (2) more preferably between 8 kg to 12 kg and most
preferably 10 kg
Thus, for a motor 5 CV 2, the sum of the masses of concentric
solid structure 7 and the metal shaft must be 4.1 to about 50
pounds. Whereas the mass of the metal shaft 4.1 is about 1 kg per
CV, the mass of the solid structure 7 is concentric about 9 kg per
CV.
The three-phase generator altemador 8 provides energy savings to
be consumed in work to generate electricity and can be configured
with the power of 10 KVA to 300 KVA single-phase, two-phase or
three-phase type, and may be above or below these powers.
In a preferred embodiment, the system uses an electric motor 2
high-spin to work at low rpm. The inverter controls the rotation
of the motor 2 rotation and to achieve the ideal frequency of the
system which are determined in compliance rotation and frequency
of generator 8, which can be 50 Hz or 60 Hz depending on the
desired tension. Only when the system reaches the optimum tension
is that energy is released for consumption by an electrical
control connected at the output of the generator 8, that is, the
command only releases energy when the generator 8 reach the
rotation, frequency and voltage suitable for power loads, avoiding
under-and overvoltage.
In fixing the shaft bearing 4.1 is used and bearing 6.1 and 6.2
5.1 and 5.2. Axis 4.1 weighs about 1 kg per hp / HP in relation to
engine power, so there is a transfer of appropriate inertia.
In a preferred embodiment, the metal wheel 7 weighs about 9 kg per
hp / HP in relation to power the electric motor so there is the
transfer of appropriate inertia.
In the preferred embodiment, the electric motor can be direct
current or alternating current and is controlled by frequency
inverter 1, which reduces power consumption when the motor starts
and controls the rotation of the generation (may be substituted
for any other similar equipment with the power of 10 KVA to 300
KVA, single phase, two phase or three phase).
In a second preferred embodiment, the generator (8) has a power of
10 KVA to 300 KVA.
Examples of preferred embodiments having been described, it should
be understood that the scope of the invention covers other
possible variations, being limited solely by the terms of the
appended claims, including therein the possible equivalents.
EQUIPMENT FOR CONDENSING ELECTRIC CURRENT
AND EQUIPMENT FOR TRANSMITTING ELECTRIC CURRENT THROUGH AIR
WO2013104039
[ PDF ]
The present invention relates to electromagnetic equipment that
comprises, concentrically arranged, a metallic disk, preferably a
metallic disk (6), and at least one first magnetic or
electromagnetic field generator (9.1) (magnet) attached to the
shaft (4), near the disk (6), a second magnetic or electromagnetic
field generator (9.2) (magnet) being located at the end of said
shaft (4) and attached to a base (10), but not to the shaft (4),
near the magnetic or electromagnetic field generator (9.1)
(magnet) attached to the shaft (4), with the poles facing the
poles of the latter. At least two electromagnetic field generators
(12) and (14) are arranged next to the shaft (4) with part of the
metallic disk (6) therebetween, the power source and the external
loads (17) being connected to said devices, of which at least one
is an inducer, and both of which are arranged near the magnetic or
electromagnetic field generators (9.1) and (9.2) (magnets),
aligned with the shaft (4) in such a way that the magnetic and
electromagnetic fields thereof interact with the rotating shaft
(4). The invention has various uses, including the generation of
electric voltage and the condensation of consumed reactive power,
in order to transform this reactive power into useful electric
power. Another function is the generation of electric voltage and
the transmission of electric current through air.
Applicants: EVOLUÇÕES ENERGIA LTDA [BR/BR]; Rua
Santa Tereza 1427-B Centro - Imperatriz MA - CEP 65900-470 -
Maranhão (BR)
Inventors: BARBOSA, Nilson; (BR). // DE MORAES
LEAL, Cleriston;
Abstract: The present invention relates to
electromagnetic equipment that comprises, concentrically arranged,
a metallic disk, preferably a metallic disk (6), and at least one
first magnetic or electromagnetic field generator (9.1) (magnet)
attached to the shaft (4), near the disk (6), a second magnetic or
electromagnetic field generator (9.2) (magnet) being located at
the end of said shaft (4) and attached to a base (10), but not to
the shaft (4), near the magnetic or electromagnetic field
generator (9.1) (magnet) attached to the shaft (4), with the poles
facing the poles of the latter. At least two electromagnetic field
generators (12) and (14) are arranged next to the shaft (4) with
part of the metallic disk (6) therebetween, the power source and
the external loads (17) being connected to said devices, of which
at least one is an inducer, and both of which are arranged near
the magnetic or electromagnetic field generators (9.1) and (9.2)
(magnets), aligned with the shaft (4) in such a way that the
magnetic and electromagnetic fields thereof interact with the
rotating shaft (4). The invention has various uses, including the
generation of electric voltage and the condensation of consumed
reactive power, in order to transform this reactive power into
useful electric power. Another function is the generation of
electric voltage and the transmission of electric current through
air.
Description
The present invention relates to an electromagnetic device for
generating electricity. More specifically a device capable of
producing electricity using the return current consumption, and
propagate the electrical current in the air.
Description of the Prior Art
There are countless designs of mechanisms for the generation of
electricity based on electromagnetism, but the projects have
hitherto known technical limitations concerning generating
capacity and ecological implications that prevent use in economic
scale.
Objectives of the Invention
Compaction equipment of electric current , comprising a device
that includes a shaft concentrically incorporates a metallic disc
, preferably an aluminum disk , and also fixed to the shaft near
the disk at least one magnetic field generator device is proposed
( magnet) or electromagnetic, with the end of the shaft , but not
attached to it , at least one other device for generating magnetic
field ( magnet) or electromagnetic, fixed to a base, getting close
to the magnetic field generating device ( magnet) or fixed axis ,
arranged with their poles in confrontation with that , and
adjacent to the axis electromagnetic willing , being part of the
aluminum disc between them , at least two devices generating
electromagnetic fields - which are connected to the power source
and loads external - and at least one inductor , both arranged
near the magnetic field generating devices ( magnets) or
electromagnetic aligned to the axis , so that their magnetic and
electromagnetic fields is to interact with the movement of the
shaft.
The device object of the present invention operates as follows for
the compression of electric current: the electromagnetic field
generating devices are powered by an external power source such as
a dealership. Thus, the shaft is rotated through electromagnetic
induction and electric current drawn by the load inductor.
The inductor receives the return current, provokes confrontation
and interaction of electromagnetic fields generated by devices
generating electromagnetic fields with magnetic fields of the
magnet, whereupon rotation of the metal disc occurs, turning the
shaft and magnet fixed to it along with its magnetic field. Thus,
there is generation of tension and compression of the electrical
current return to feed a new load again.
It is further proposed a device for the propagation of electric
current in the air, which device comprises a device that includes
a driving force to rotate a shaft concentrically incorporates a
metallic disc , preferably an aluminum disk , and also fixed to
the shaft near the disk device generating at least one
electromagnetic magnetic field (magnet ), or having the end of the
shaft but not attached to it at least one other magnetic field
generating device ( magnet) or electromagnetic, fixed to a base,
getting near the generator device fixed to the shaft , arranged
with their poles in confrontation with that , electromagnetic
magnetic field ( magnet) or and disposed adjacent to the axis ,
being part of the aluminum disc between them , at least two
devices generating electromagnetic fields - which are connected to
the power supply and the external loads - at least one of them an
inductor , both arranged near the magnetic field generating
devices ( magnets) or electromagnetic aligned to the axis , so
that their magnetic and electromagnetic fields to interact if ,
with the axis movement.
The device object of the present invention operates as follows for
the propagation of electrical current in the air: a driving force
rotates the shaft, rotating metal disc and along with it the
magnet that is attached to the axis, comparing with the magnetic
field of the magnet that is attached to the base. Thus, the
magnetic fields of the magnets interact with the electromagnetic
field of the external load. With this interaction of fields in
rotation, the inductor starts to generate voltage that will
provide the potential difference (ddp) when closing the circuit
with the neutral or earth, neutral or earth that feeds the
external load may be used. Thus, the electric current through the
interaction of magnetic and electromagnetic fields propagating in
the air.
The present invention provides an apparatus for generating
electrical voltage which generates energy by reusing the current
drawn from consumer sources. Thus, the equipment does not harm the
environment when used as force generating electricity itself,
having a negligible consumption in relation to the current
generated.
The generation of voltage equipment is compact and inexpensive and
can be used in various types of machinery, equipment or
application areas that require electricity for operation.
Brief Description of the Drawings
The present invention will be hereinafter described with
the aid of drawings, but they are not absolutely limiting, which
can be seen further details and advantages of the present
invention.
The figures show:
Figure 1 - illustrates the voltage generating equipment of
the present invention;
Figure 2 - shows the assembly of the present invention
induce a voltage generation device, and
Figure 3 - shows the effect of the current circulating in
the air and on the device of the present invention circuit.
Figure 4 - Diagram of the equipment electrical circuit for
power generation and compression of electrical current.
Figure 5 - Diagram of the electrical circuit of the
equipment to power generation and propagation of air current.
Detailed Description of the Invention
Figure 1 shows an apparatus for generating electrical energy
capable of compressing electrical current and propagate electrical
current in the air. The equipment comprises a driving force, in
this example, an electric motor 1 fixed to a central shaft 4 by a
coupling pin 3 and 2.1. The pin 2.1 centralizes the axis of the
motor 1 with a drive shaft 6 which is used to rotate the shaft 4
through an electromagnetic field.
A pin 2.2 centralizes at least two magnetic field generating
devices, in this case, magnets 9.1, 9.2 to the central axis 4 and
a coupling metal engages the motor shaft 1 to the drive shaft 4.
The center shaft 4 is connected to a metal fixing plug fixing the
disk 5 and an upper 6 and a lower support bracket 8 which are used
to attach the magnets 9.1, 9.2.
A pin 2.2 centralizes at least two magnetic field generating
devices, in this case, magnets 9.1, 9.2 to the central axis 4 and
a coupling metal engages the motor shaft 1 to the drive shaft 4.
The apparatus further comprises electromagnetic field generation
means, in this case an inductor 12 coupled to a support holder 10
and another electromagnetic field generating device, in this case
a coil 14. The support bracket 10 is connected to the coil 14 via
a bracket-type iron "U" 13 which centralizes the disk space 6
between the inductor 12 and the coil 14.
Although coils are shown, magnets and inductors in the present
exemplary embodiment, other types of electromagnetic field
generating devices, such as at least one electromagnetic coil or
magnet or electromagnetic inductor of any kind and form, with any
combination of them can be used , and suitable for every
application equipment quantities.
The inductor 12 receives current from a power source 17, which may
be any electrical circuit or electrical machine that generates or
consumes electricity in performing work.
The coil 14 and the inductor 12 comprises at least one core of any
geometric shape. The core may be, for example, silicon iron. The
core is formed by more than a number of members, which together
form one or more core windows.
The coil 14 may have a rounded, square shape with no columns or
columns. The coil 14 rounded form must be fully insulated with
insulating material as its phase: single phase, two phase or three
phase.
By way of example, the coil 14 with central square columns, the
columns should be insulated with insulating material as its
phases: single phase, two phase or three phase. Have the coil 1
square without column, the coil must be fully insulated with
insulating material as its phases: single phase, two phase or
three phase.
One form of primary coil winding 14 is made with enameled copper
wire members and cross section is defined according to the iron
used and the desired coil voltage 14.
The power generator can be from 1 KVA to 1000 MVA and may be lower
or higher than this, with the single phase, two phase or three
phase type.
In a preferred embodiment, the coil comprises a core 14 formed of
laminated oriented silicon iron sheets. The core is formed by a
number of members which together form one or more core windows.
The inductor 12 also provides any shape such as round, square and
with or without columns.
In a preferred embodiment, as can be seen in figure 2, the
inductor 12 comprises two columns with iron tablets, one over the
other forming a format type "U". Columns are completely isolated
and a conductive member 30 is wrapped around the columns
concentrically, involving the columns of the inductor 12.
The conductive member 30 is closed shorted ends, forming an
artificial load. The number of turns and cross-section are
calculated and sized according to the power of the inductor (12).
Upon closing of the artificial load, the member (30) must be
insulated to not have contact points 21 and 22. A second
conductive member is wound concentrically in the columns of the
inductor 12 and the sizing and number of turns are calculated as
the electrical current reception desk where the term corresponding
to paragraphs 21 and 22 of the ends of the conductor member 30
receiving current loads external.
The captors of electrons from the earth and the captors of
electrons from space perform the function of capturing power
generation. The captors of electrons in free space are described
in Australian patent application No. BR1020120008378 of
13.01.2012. The transducer refers to an electromagnetic device for
generating electrical current through the capture of free
electrons. The electron earth sensors are described in Australian
patent application No. BR1020120008386 of 13.01.2012, which
relates to a device for generating electromagnetic energy.
Compression of current consumed:
The term "consumed electric current" refers to the return current
of the power from any power source 17 to produce work, consumption
factor.
For the compression of electric current, the inductor coil 12 and
14 are powered by an external power source such as the
concessionaire. Thus, do not use the electric bike 1 to rotate the
shaft 4, the shaft 4 is rotated by electromagnetic induction and
the electric current drawn by the load inductor 12.
To generate tension and compact electric current, with voltage
feeding the coils inductors 14 and 12 of this equipment is only
the generation of tension and compression of the electrical
current return by moving the shaft that can be of any equipment
that generates or consumes electrical current, which will
transform the current return in power to be reused.
It should be switched point (A) of the coil 14 to point 21 of
inductor 12 which is connected to the stage, and the point (B) of
the coil 14 is connected to the neutral and may also be powered by
the neutral of the power source to be compacted 17.
The inductor 12 to receive electrical current from the power
source to be compressed by paragraph 21 (which is the phase of the
inductor 12 which is connected to the point (1A) of the coil 14
generates a return of the compressed stream that will come out in
the form of power point 22 of the inductor 12 can connect any
external load 17 at point 22 which is the output stage of the
inductor 12 to the neutral point (B) of the coil for consumption
according to its compressed output through the physical effect and
the current flow 7. connection with this form of electrical
current is compressed.
As can be seen in Figure 3, the generation of the electromagnetic
field has the opposite effect 7. The saw is compact as the
rotation axis 4, which rotates through electromagnetic induction
generated by the current. The stream is compressed in the form of
power to be used again, regardless of the voltage and frequency of
rotation of the shaft 4 is transferred because the voltage and
frequency of supply to the coil 14 and the inductor 12 to the
current that was compressed into power for reuse again working.
By feeding coil circuit 14 and the inductor 12, an electromagnetic
field is generated, where the phase must be connected in point 21
of inductor 12 which is connected to the point A of the coil 14,
the load neutral is connected to point B the coil 14, the load 17
to be compressed must be connected at point 22 and the inductor
coil to point B 14.
Thus, the load 17 is turned on and the return current of the load
17 arises, and said chain will return to the starting point is
point 22 which supply output.
The inductor 12, to receive the return current in paragraph 22,
the physical effect happens 7 that will confront the
electromagnetic field generated by the inductor 14 and the coil
12, and the magnetic field of the magnet 9.1 and 9.2. Through
interaction of electromagnetic and magnetic fields, rotation of
the disc 6, which turns the shaft 4 and the magnet 9.1 along with
its magnetic field occurs. Thus, the feed stream is compressed to
a new load 17 again.
The power source 17 may be any machine that consumes or generates
electric current, ie, is a device that consumes energy for its
operation, causing return electrical current to be compressed, or
any machine that generates electrical current through the capture
and movement of electrons, providing electrical current to be
compacted.
Thus, the device recycles the current consumption of a device or
machine, transforming the current power consumption to be reused
without having to return to the external consumer supply point, or
the initial source.
The higher the speed, the greater the compression chain and the
greater the compaction of the current, the greater the power.
It is noteworthy that the electromagnetic field generating devices
12 and 14 are powered by a power source, as the circuit shown in
Figure 4, to generate tension and compression of electrical
current.
Propagation of current in the air:
The equipment can also be used for the propagation of the air
stream. For the spread of current in the air, the inductor 12 and
the coil 14 are not supplied with power from an external source,
only the electric motor 1 is fed to move the axis 4, which by
rotation, creates tension in paragraphs 21 and 22 of inductor 12,
and at the same time, the electric current propagates in air.
The device operates at a constant rotation speed synchronized with
low or high speed, generating frequency and alternating electrical
voltage applied to an inductor 12 terminals due to equal rotation
between the rotating field of the magnet 9.1 with the field of
electric current backfire 7 shown in figure 3 and the magnetic
field produced by the magnets which are fixed to 9.2 0 base.
The propagation of the air current is directly proportional to the
rotation axis, the greater the rotation, the higher the voltage
generation inductor 12 and the current spreading in the air.
The manner of connection to the voltage generation and propagation
of the air stream through the shaft 4 by rotating the disk 6 by
any mechanism synchronized to a constant rotational speed, with
low or high rotation frequency, and generates an alternating
voltage applied to the terminals points 21 and 22 of inducer 12,
wherein the entry point 21 and 22 becomes external current output
terminals of this shape for powering loads.
Point 21 and point 22 of the inductor 12 will leave the generated
voltage and frequency according to the rotation, ie, due to the
equal rotation between the rotating field and the magnetic field
produced by the magnets 9.1 and 9.2, and the coil 14 and the
inductor 12 are not fed and are close to the magnets 9.1 and 9.2.
Thus, the voltage is generated in the inductor 12 in points 21 and
22, where the exit phase. The neutral is connected to ground, and
when the neutral phase generation will leave the closing of three
coils 14 star.
The electromagnetic field of magnets 9.1 and 9.2, as the rotation
shaft 4 with the electromagnetic field produced between the
magnets 9. and 9.2 and the inductor 12, expands the electric
current through the electromagnetic field of magnets 9.1 and 9.2,
where 9.1 is the magnet rotating with the shaft 4 and the 6 disc
by rotating electromagnetic field generated. As the phase is
lagged 360p degrees from one another, with the rotation of the
electromagnetic field at 360 °, the phases cancel each other, and
the chain expands in the free space in the air.
The engine or any other mechanism which can rotate the shaft 4 at
a constant rotation, rotates the magnet 9.1 which is connected to
the shaft 4 with the magnetic field of the magnet 9 1 that is
confronting the magnetic field of the magnet 9.2, which is fixed
to the base 10
Thus, the magnetic fields of the magnets 9.1 and 9.2 interact with
the electromagnetic field of the load 17 which may be the sensor
of electrons. With this interaction of rotating field, the
inductor 12 is generating voltage in paragraphs 21 and 22 that
will provide the potential difference (ddp) when closing the
circuit with the neutral or earth, you can use the neutral or
earth that feeds external load.
Thus, the electric current through the interaction of magnetic and
electromagnetic fields propagating in the air.
The equipment can be used with any type of electric motor:
Single-phase, two-phase or three-phase AC or DC voltage or any
combustion engine, or any other type of mechanism that can rotate
the generator shaft which operates on a constant speed synchronous
rotation with low or high rotation rate and generating alternating
electric voltage applied to the terminals of the inductor 12 due
to the equal rotational movement between the rotating field and
the magnetic field produced by the magnets 9.1, 9.2.
It is noted that the electromagnetic field generating devices 12
and 14 are feed points of cargo, electric circuit as shown in
Figure 5 for voltage generation and propagation of electric
current in the air.
Although the present invention has been described with reference
to preferred embodiment and practical applications thereof will be
apparent to those skilled in the art that a variety of types,
shapes, designs, genres, modifications and changes can be made or
used without departing from the scope of the invention which is
intended to be defined by the appended claims.
It will be understood that each of the elements described above,
or two or more together may also find a useful application in
other types of equipment and effects that differ from the type
described above.
http://www.overunity.com/13721/energy-from-the-ground-self-powered-generator-by-barbosa-and-leal/15/#.UqqzlOLoduY
Forum Discusssion
Videos
http://www.youtube.com/watch?v=SvcrqODpDY4
http://www.youtube.com/watch?v=yHkqn2cG-no
overunity.com forum comment -- A thousand amps now! Or is it zero
amps like the meter showed just before the camera panned away in a
hurry? At least his heavy wires look a bit more plausible for
heavy current, but a thousand amps for any length of time would
vaporize that heavy cable just as surely as it would a smaller
one.
Don't believe me? Then take that heavy cable and hook it directly
across the poles of a fully charged car battery. You'll see what a
kiloamp of Real Current can do. But please wear safety glasses and
stand well back.
Let's say the resistance of that two feet of heavy cable is 0.001
ohm. It is probably much higher than that but let's use one
millOhm. The power dissipated in that cable, then, is I2R, or
(1000 x 1000) x 0.001, or One KiloWatt. It would be glowing
red-hot in moments. If the resistance of the cable/connectors is
only 0.01 ohm, one hundredth of an ohm.... you then have TEN
KILOWATTS of dissipation in your cable.
And I think a very good and impressive demonstration of real power
would have been for him NOT to have switched it off, and let it
start glowing from the heat.
I've deliberately blown components to illustrate my points in
videos.... and you can bet I would have supported a claim of a
thousand amps with something other than an unstable meter reading
from an unknown uncalibrated instrument. But that's just me,
nobody pays attention to me, because I don't make claims I can't
support with real data.
Here's a challenge: Put a 30 amp fuse in series with that cable
and repeat the experiment. Or if you are really confident, use a
100 A fuse.
http://www.youtube.com/watch?v=Fujfam9GAQI
http://www.youtube.com/watch?v=eIu6tSoMh1Y
http://www.youtube.com/watch?v=lIF8J-Wj8fs
"A brief example of how it would be possible to produce 100x
more power using the new technical effect, generated by
electro-magnetism that generates current by an electromotive
force. This current keeps constant in the conductor's captor. I
make it clear that I am skeptic and did not believe it was
possible. But to my surprise I appears 300A using 2.3 amp
consumption. Other experiments have already got 55 amp which would
be more sensible to a residence. There is technically Induction
respect to Lenz's Law. Now the amount of electrons which joins the
driver where it comes?"
http://www.youtube.com/watch?v=yiBtqPN_l5w
Theory about the captor Electron Earth.
Well folks another little evolution in the sensor circuit. I got
close to 400 AP put without voltage, current flows u can feel the
vibration in the fingers and heats up very fast in short, when you
add another inductor to give this current flow suddenly boom!
Appears tension with chain and lights the Lamp! Logical that my
last inductor can handle only 200 mA output, so I can not use high
loads. This is my next challenge. Thanks for everybody who signed
up on my channel and give me some support. Thank you!"
http://www.overunity.com/13721/energy-from-the-ground-self-powered-generator-by-barbosa-and-leal/105/#.Uqq58-LoduY
ariovaldo
Re: Energy from the Ground - Self powered generator by Barbosa and
Leal
October 04, 2013
According the Brazilian newspaper, yesterday the owners of
Evoluçoes Energia was taken the police headquarters in Imperatriz,
Brazil to explain why they had 2 electric meters normally use by
electric concessionary in their lab.
Also, they confiscated every equipment that they had. This include
one that a friend of friend bought and was supposed to be
installed today.
Very awkward.
http://oprogressonet.com/noticiario/14822/policia/2013/10/4/empresarios-sao-presos-acusados-de-receptacao/
Google Translate:
Entrepreneurs are arrested for receiving
stolen
Investigations of the Department of Defense Service Delegates (
DDSD ) , an agency of the State Superintendent of Criminal
Investigations ( SEIC ) , started from a complaint of Companhia
Energetica do Maranhao ( CEMAR ) .
The delegate Paulo Roberto Medeiros Carvalho chaired the inquiry
opened to investigate the allegations of Justice and had the
determination to carry out search and seizure of equipment to
capture energy from the earth .
Would be made at the place where the search and seizure , we found
three energy meters , which entrepreneurs and Cleriston Nilson
Barbosa Leal had borrowed the Cooperative Rural Electrification .
However , these meters had been seized by the Labor Court for
payment of labor claims . It is noteworthy that the meters are
proprietary Cemar .
Therefore , entrepreneurs and Cleriston Nilson Barbosa Leal were
charged for receiving . Nilson said PROGRESS equipment that have
been approved by an engineer Cemar , that even did a report that
is on the internet . " This invention is patented and we are doing
nothing hidden . Everything is being openly . Already had contact
including the Minister Lobao days ago and we exposed our invention
in Fecoimp , " Nilson said Barbosa .
The two entrepreneurs took corpus delicti and were at the Regional
. The lawyers filed yesterday with bail application , which in
this case can only be awarded in the judgment , and the two
businessmen would be set free by the judicial duty .