rexresearch.com


Ronald HATTON
Gadgetman Groove


http://www.gadgetmangroove.com/
Ron Hatton
Gadgetman Technologies, LLC
1417 N. Ananea St.
Mesa, Arizona, USA
Tel: (866)GO-GADGET ext.711
E-mail: Gadgetman(at)GadgetmanGroove.com
Mobile: 307-413-0342

The Gadgetman Groove is new technology proven to reduce emissions and increase power using the simple science of aerodynamics. By increasing the turbulence within the intake manifold, we are improving the combustion of your gasoline. The natural result is more power being delivered to the top of your piston resulting in reduced emissions, more horsepower, better torque and (in many cases) improved mileage as well.



http://www.YouTube.com/GadgetmanGlobal
http://www.youtube.com/watch?v=zXAUdvwxpdA&hd=1&autoplay=1

http://www.youtube.com/watch?v=BuMgnZGSxoI&hd=1&autoplay=1

http://www.youtube.com/watch?v=PL6MFHxU_i0&hd=1&autoplay=1

http://www.youtube.com/watch?v=lrn2uJOBD4I&hd=1&autoplay=1


http://co2u.info/?page_id=47128

Gadgetman Groove = Snake Oil Science = Hoax ~ Scam = Fraud by Ron Hatton & Dr. John Balachandra CSU Sacramento
by Dr. Bruce A. Kershaw

The Victims of Scams are those who do not comprehend the Real Science ~ and in many cases those committing the scam do not comprehend the Real Science as the Snake Oil Salesman does not ~ know ~ what is in the bottle he is trying to sell you ….adding Grooves inside a Throttle Body can not change Gravity because Gravity is caused by the Earth rotating around the variable Sun at 18 miles per second while spinning at 1000 miles per hour at the Equator while rotating at 1? per hour at the Poles of this Carbon based Earth
and as the Moon continues to move very slowly further away from this Earth the speed the Earth is spinning continues to slow do  causing less Gravity so if you want to get half way around the world faster go in the opposite direction the earth is rotating and if you are Drag Racing you will have a faster time racing east than racing west while every Quarter mile is Dialed In  ~ tuned ~ differently based on Gravity at the location of the Race Track as gravity is less the higher you go in elevation and the same for oxygen levels with every ~ Dial In ~ fine tuning of the Engine based on Gravity, Barometric Pressure, Oxygen level in the air, Air Density, Air Temperature, Air Humidity, Fuel Temperature, Track Temperature and the Temperament of the Driver on that day, and then you let the 10,000 Horses run down the Quarter mile Track taking about 4 seconds as the variables change every run and in the car you drive ~ in real physics and chemistry you can not change 14.7 to 1 ~ air to fuel ratio = mixture controlled by an On Board Computer based on input information from many sensors while you can increase mileage by making a car smaller and lighter with a smaller engine but you still can not change 14.7 to 1 air to fuel ratio = mixture on today’s Internal Combustion Engine for the engine to run properly with out damaging the engine while you can make ~ very small ~ increases in fuel efficiency by ~ { ( reducing ) } ~ air intake Turbulence and Restriction and by reducing exhaust outlet Turbulence and Restriction and by making minor changes in engine tuning parameters with changes in the on board computer program and by making minor mechanical changes like Compression Ratio and Valve Timing by changing the Cam Shaft to one with less valve overlap but you can not change 14.7 to 1 air to fuel mixture you can replace worn out spark-plugs and see an increase in MPG as much as 10 to 15 % you can do a fuel Injector cleaning once a year and maintain your engines fuel efficiency and in most cases if you use a higher octane fuel you will see an increase in Fuel efficiency while putting Grooves in your Throttle Body providing un-wanted Erratic air turbulence in the air intake system of your cars engine where you want to ~ { reduce } ~ air turbulence can only do Harm and zero good but you can not change the 14.7 to 1 air to fuel ratio controlled by the On Board Computer under all driving conditions

Adding grooves in the Throttle Body can not change or over ride real Physics and Chemistry and or over ride the On Board Computer and all the Input Sensors

You can not Double or Triple the miles per gallon of your car by adding un-wanted turbulence in the intake manifold by placing grooves in the Throttle Body of your cars engine ~ not in real science

To: energyscienceconference.com ... energyscienceforum.com ... energeticforum.com ... peswiki.com ... speedtalk.com ... www.s10forum.com ... www.rexresearch.com ... and all the other online Energy and Automotive websites promoting theWorld Wide Hoax Scam the ~ Gagetman Groove ~ by Ron Hatton creating ~ un-wanted erratic air turbulence ~ in the air intake system doing only harm and zero good as you want to reduce turbulence not increase turbulence in the air intake system just as Plugging off the PCV system can do only harm to your engine and zero good as explained on page 6 and is test proven Moron Science by the proven Criminal and Scam Artist Ron Hatton and if Ron Plugged off your PCV system as this is an Emission Control Device Ron is then subject to a $40,000 fine as this traps heat and Gas Vapor in the crank case turning your crankcase into a very test proven Bomb while doing very proven harm in many other ways to your cars engine as I explain in further detail later on page 6 in this Technical Science Review Statement …for ~ some ~ of us reality is make believe while scam Science is far to easy to prove is a scam but only if you do in fact comprehend the science while those who do not comprehend the science are those being Scammed Brainwashed Stupidity by those who failed High School Auto Shop does not Debunk 57 years of very test proven Automotive Science or 100 plus years of very proven Physics and Chemistry ignored by those who failed High School Auto Shop selling this Hoax Scam to the Public who are now in the community of Helena Montana selling their scam science -- In response to an email May 12,2017 from Jesse Denson, Ridgely ~ Tennessee who has proven to me in his emails to me he is a test proven Moron in Science who truly believes in the snake oil scam he is selling as Jesse states in his last email to me that I am the Fraud as he does not comprehend the knowledge that has debunk his Snake Oil Scam science -- with a reminder to all -- all communications are forwarded to the Lewis & Clark  Sheriffs Department, Helena ~ Montana

Jesse, putting grooves in a throttle body can not change Gravitybasic engine vacuum is 21? at sea level and 16? at 4000 feet above sea level and adding Grooves in a Throttle Body can not change that fact while there are many ways to change  positive and negative pressure in the air intake system of your internal combustion engine and adding grooves to your throttle body is not one of them as this will only provide un-wanted air turbulence that is mixing with zero fuel providing an un-wanted  un-even flow of air to the combustion chambers causing an un-wanted un-even air to fuel mixture causing some cylinder to run leaner and some cylinders to run richer than others as the amount of fuel going to each of the cylinders is the same and controlled only by the On-Board Computer and not by the un-wanted added grooves in the throttle body that can not over-ride the On-Board Computer and or Input Sensors and or Output Actuators while the added Grooves are causing un-wanted un-even balance of power  from the engine while over time can and will cause damage to your engine while plugging off the PCV vacuum port will do only harm to engine and zero good and if you do this to some else’s car engine you are subject to a Fine by the U.S  – EPA of $40,000 per emission control device altercation and or State EPA for altering an emission control device as Regulations vary from state to state as you support this ~ Test Proven Moron Lunatic Scam Science ~ proving ~ you failed High School Auto Shop ~ as ~ Ron Hatton truly believes his Moron Scam Science is real and works and is not a Scam making Ron Hatton a Pathological Snake Oil Salesman who does not know what is in the bottle he is trying to sell you who based on his Criminal History Methamphetamine  use, his Public Letters posted online when in Jail his Bail Jumping and Bad Check writing and his Snake Oil Scam crimes of today and his Lunatic email letters to me Ron should be back in a Jailor ~ Mental Institution -- as Ron continues to sell his Fraudulent Pathological Make Believe Fantasy Science Fiction to the World but only to thoes who do not comprehend the science and want to just Believe too just as Ron does not comprehend the knowledge that has more than Debunk his very true belief in his very Lunatic Science as real science is Questioned not believed while an energy science organization I have now communicated with informed me they had Ron modify a number of their vehicles -- they did not say how many vehicles -- and none of them showed any mileage gains while Ron has very much proven to me in his emails to me he is a Paranoid Lunatic Conman while I am told my biggest fault in life is my Cruel Honesty

So Jesse, bring me a car you tripled the Gas mileage on and we will do a reverse test or a Car that Ron Preaches to the world went from 18 MPG to 108 MPG that is 6 times the MPG and would be a 14.6 to 1 air to fuel mixture to a 80 to 1 air to fuel mixture with better performance debunking 100 plus years of very test proven Physics and Chemistry as an 80 to 1 air to fuel mixture will produce zero energy and can not push a cylinder piston downward in a combustion chamber and anything beyond a 15 to 1 Air to fuel mixture will lose power not gain power and will misfire and produce zero energy and so doubling the MPG would be a 30 to 1 Air to fuel mixture and will produce zero power in a combustion chamber and is high School Auto shop Science you and Ron do not comprehend as true belief does not debunk 100 plus years of very proven Physics and Chemistry.

Regards

Dr. Bruce A. Kershaw



http://peswiki.com/index.php/Directory:Gadgetman_Groove
Pure Energy Systems News
December 7, 2009

Gadgetman Groove

by

Sterling D. Allan

Ron Hatton ("Gadgetman") says he has come up with a simple way to significantly improve the combustion in normally-aspirated gasoline engines. All he does is use a Dremel tool to cut a groove of specific dimensions, around 1/8 inch deep, in the throttle body. The modification takes about an hour and is reversible through epoxy. It shouldn't affect the vehicle's warranty.

Somehow, the air turbulence that is set up by that groove has the effect of increasing horsepower, torque, and mileage, while decreasing emissions. Perhaps it is another manifestation of the famous Schauberger effect.

Gadgetman groove simulation of air passing by the grooves, creating turbulence

The mileage increase is typically between 25 and 35 percent, though some reports are much higher than that; and a few show little, if any change. So far, it seems that older cars achieve better improvement than newer cars, because the computerized controls of the newer cars usually tend to work against the effect. Ron said that approximately 85% of the vehicles that have been modified with this groove have had mileage gains in excess of 20%. So far, the best results apparently have been found on 1996 - 2004 Fords.

Ron says he has filed for patents on the design as well as on the bits; and that he is training dealers/installers from all over the globe to make this modification. He himself has modified around 200 engines.

On Dec. 2, 2009, I had one of Ron's dealers in Salt Lake City, Dave Richardson, do the modification on my Dodge Caravan, 2005; 3.3L, V6. It took him about 55 minutes. I noticed a definite kick in acceleration when first starting out, though that could be a function of the more immediate air volume coming in due to the grooves.

Dave showed me his before and after dynamometer test results from the modification he made on his own truck. It shows a 15 horsepower increase and 8 foot-pounds of torque increase across the board.

On Dec. 5, 2009, I finished the first full tank of gas since the installation, and calculated that my mileage for that 392-mile stretch, using 16.6 gallons, came to 23.6 mpg. During that time, most of our travel was highway, but some (approximately 15%) was city driving. According to FuelEconomy.gov, my vehicle typically gets 16 mpg city, and 23 mpg highway. (With my recent move, I've misplaced the baseline data I accumulated last summer.) So our improvement in comparison to the average rating, was roughly in the region of 10% -- nothing to brag about, but still significant and worth while.

On Dec. 10, I finished my second full tank, travelling 359 mile (@119897 miles) on 16.883 gal, for 21.26 mpg, which is lower than the 23 mpg rating according to the govt. site; but mileage is typically lower in cold temperatures; and it's been very cold here during the relevant time (staying below freezing most of the time).
Dec. 23; @119266 miles; 369 miles on 16.592 gal = 22.2 mpg.
Dec. 25; @119620 miles; 354 miles on 14.153 gal = 25.0 mpg. (probably early shut-off error)

One thing that concerns me about the modification is that I don't have much wiggle room when I first accelerating. Most people would be delighted with the punch you get when you press the pedal. However, I'm concerned that if I'm on slick roads and I need to accelerate gingerly, that I won't have nearly as much control of speed-up, making it easier to spin-out. So for me, that is not a year-round benefit.

For me, I attribute that early punch in power to the fact that a little movement of the throttle early on is opening it to a large opening due to the groove, where before the opening of the throttle flow was much more gradual. So I don't attribute it to "more horsepower" but to "more airflow". I'd have to take the car to a dyno with before/after to document horsepower.

One thing that is admirable about the Gadgetman site is that it publishes all mileage reports, including the mediocre ones, as well as a few that actually saw their mileage get worse.

At this early phase, they are still anxious to increase their database; and they are still making decisions about how much to charge for the modification; so you are likely to be able to get a good deal on your install. Dave did mine for free. He personally wants to accumulate more data before going all out on this venture.

The installations come with a satisfaction guarantee.

FROM RON HATTON, GADGETMAN Feb 28, 2011

After much prompting, I have recorded a video that explains the science employed to generate the continued reports of increased performance. The video appears here:

http://www.youtube.com/watch?v=eHV-ANmN0ns

I have now modified almost 700 engines, and have learned the removal of the PCV valve to be a critical part of the application of The Gadgetman Groove. What happens is the PCV valve represents as a direct vacuum leak, reducing the pressure wave the groove creates. The crankcase remains vented, although only with passive vacuum rather than full dynamic vacuum. This enhances the results in every case.

The price point for this modification by professionals is $350. Ron encourages all "G-men" to charge $100 when they first start out, then $250 as the demand increases and their skill level improves, then $350. I thought that was too high, for a task that takes 1 hour, but Ron pointed out a few things.

   1. At that price, the typical driver is going to see a return on investment in between 6-12 months due to the usual mileage improvements seen.
   2. The install lasts the duration of the vehicle.
   3. At first, he was charging $100, but the lower price gives a low value impression. His sales went up and referrals increased when he bumped his price to $250.
   4. The pros say that each added horse added to the engine's HP is worth $100 each. The average HP gain is in the region of 15.
   5. $350 is so the shops that are signing on have a base. The shops Ron has approached have been excited about the price point, and have told him they believe it to be fair.
   6. There are start-up licensing and tooling costs for installers to be recouped.

Older, carbureted engines are usually more involved and will thus cost more to modify.

ADDENDUM BY GADGETMAN

The pricing is established based on the number and style of ports through which the air passes. The overwhelming majority are single, rounded port systems. For these, the modification price is $350, including single barrel carbs. For dual and oval ports MPFI systems, as well as 2 and 4 barrel carburetors, the cost is $500.

Most carburetors accept the modification with great ease. Best results to date (Feb, 2011) have been found in the Edelbrocks and Holley's, with rejetting advised to maximize fuel efficiency.

Only certain older carbs are virtually impossible to modify. In particular, Quadrajets present the greatest difficulty. This is due to the way the throttle assembly was engineered, leaving too little room to install The Gadgetman Groove.

Additionally, vehicles NOT suited for this modification are: 1) 2007 and later Excalades-Computer acceptance issues 2) 454 TBI (Throttle Body Injected) General Motors-idle air passage interference 3) Certain (as yet undefined) 2004 and later GM products-a whistle is generated, making some drivers uncomfortable. 4) All engines with "Constant Velocity" throttles.



WO 2010148153
THROTTLE BODY AND A METHOD TO MODIFY A THROTTLE BODY  

2010-12-23
Inventor(s):     HATTON RONALD E + (HATTON, RONALD, E)
Classification: - international:     F02D9/02; F02D9/08; F02D9/10 - European:     F02D9/10H2

FIELD OF THE INVENTION

[0001] This invention generally relates to throttle bodies of machines, mixing valves and engines and a method of modifying throttle bodies. More specifically this invention relates to incorporation of at least one groove located inside a fluid passageway of the throttle body that improves fluid turbulence in a machine such an internal combustion engine. For example, in an internal combustion engine the performance is enhanced such as increased gas mileage, lower fuel emissions, carbon foot print and/or increased horse power and torque.

BACKGROUND

[0002] Many machines, such as internal combustion engines, require precise fluid mixtures, such as air and gasoline, in order to properly run. In this instance, throttle bodies are designed to control fluid flow, such as airflow and/or air-fuel mixtures flow, to the cylinders of an engine. In order to control the fluid flow that reaches the cylinders, the throttle body includes at least one throttle plate attached to a central axis or; for example, a central axis shaft (also known as a throttle shaft) such that the throttle plate is located within a fluid passageway (sometimes known as a throttle bore or duct), or proximal to an end of the fluid passageway. With rotation of the central axis, the throttle plate is able to selectively obstruct flow through the fluid passageway. More specifically, the throttle plate is able to rotate with respect to the fluid passageway in order to adjust the cross-sectional area of the fluid passageway that is not obstructed by the plates (the "effective area"), thus controlling the amount of fluid, such as airflow, that is permitted to flow through the fluid passageway.

[0003] In order to control the effective area, the throttle plate is sized and shaped to approximate the cross-sectional area of the fluid passageway so as to substantially or completely obstruct the fluid passageway when the throttle plate is perpendicular to the airflow (the "closed position"). Typically, the throttle plate has a minimal thickness in order to substantially not obstruct the fluid passageway when the throttle plate is angled such that a throttle plate is not substantially perpendicular to the airflow (the "open position").

[0004] When the engine is idling, the throttle plate is therefore in the closed position since only a little air is needed to mix with the small amount of fuel being injected into the engine. On the other hand, if the engine is operating at a speed higher than idle, then more air is needed to mix with the increased amount of fuel being provided to the engine. At speeds higher than idle, the throttle plate is therefore in an open position of a varying angle with respect to the airflow, the angle varying with the engine's air requirements.

[0005] In order to completely or substantially obstruct the fluid passageway when the throttle plate is the closed position, it is desirable for the throttle plate to be precisely sized and accurately located within the fluid passageway.

[0006] Throttle body spacing blocks are well known in the prior art and are frequently found in the automotive part after-market. Examples include the AFE Silver Bullet Spacer, Airaid Power Aid Spacer , Helix Power Tower Spacer, and Jet Power-Flow Spacers as discussed in the provisional patent applications incorporated by reference herein.

[0007] These after-market throttle body spacing blocks typically claim to improve automotive performance. Generally, the throttle body spacing blocks separate the existing throttle body, throttle body injection unit and/or carburetor from the intake manifold of an internal combustion engine found in automobiles. This separation creates increased space that it is posited by the manufactures of the throttle body spacing blocks to increase the air velocity prior to entering the combustion chamber of the engine. Under such a supposition, the increased air velocity would serve to improve the efficiency of the internal fuel combustion. Generally, throttle body spacing blocks are known to consist basically of obvious structural configurations.

[0008] In addition, modifications of the internal bore of throttle body spacers are known such as US Patent no. 6,338,335 issued to Patterson, et on January 15, 2002 and entitled "Throttle body spacing block with continuously grooved aperture(s) for internal combustion engines" which incorporated by reference in its entirety herein. US Patent no. 6,338,335 teaches the use of a throttle body spacing block having a single, continuous thread pitch groove starting at the inlet opening and stopping at the outlet opening.

[0009] One disadvantage of the throttle body spacing blocks is that they require the insertion of an additional element into the air intake system.

[0010] Another disadvantage of the throttle body spacing blocks is that they generally do not work with the throttle body plate. It is believed that previous efforts created incomplete, partial, destructive, or no waveforms as applied primarily in the form of throttle body spacing blocks. This invention is believed to overcome these disadvantages by creating a more complete waveform that, it is believed, passes through the intake.

[0011] The present invention overcomes these disadvantages by modification of the throttle body itself for any and all internal combustion engines and is not limited to automobiles. While not being limited to any theory, it is believed that the invention also overcome these disadvantages by creating a more complete waveform that, it is believed, passes through the intake. As there is need for an improved throttle body modification that can increase gas mileage, increase horsepower, increase torque, reduce carbon footprint and/or reduce emissions, it is believed that the present invention substantially fulfills these needs.

SUMMARY

[0012] One embodiment of the present invention relates to a throttle body comprising a housing having a throttle body wall including an outside surface and an inside surface wherein the inside surface forms a fluid passageway leading from an open end to a discharge end of the housing; a throttle plate located in the fluid passageway and having a front surface facing the open end of the fluid passageway and back surface on the opposite side wherein the throttle plate is coupled to the housing by a central axis and wherein the throttle plate may be rotated from a closed position to an open position; and at least one groove in the throttle body side wall near to the throttle plate wherein the at least one groove modifies fluid flow though the throttle body in cooperation with the throttle plate movement from the closed position.

[0013] Preferably, the at least one groove is located near the front surface of the throttle plate that rotates toward the at least one groove when the throttle plate is moved from the closed position. Also preferably, the at least one groove is located near the back surface of the throttle plate that rotates toward the at least one groove when the throttle plate is moved from the closed position. In another preferable manner, the at least one groove has a depth and a width of one half thickness of the throttle body wall and more preferably the at least one groove forms a curve from the depth to the groove edge furthest from the throttle plate when the throttle plate is in a closed position. In yet another preferable embodiments, the at least one groove is a hemispherical cut or a compound cut.

[0014] An additional preferable embodiment includes at least one groove in the throttle body side wall that is perpendicular to direction defined by fluid flow between the open end and the discharge end, more preferably, the at least one groove covers at least one quarter of the inside surface, and most preferably, the at least one groove extends in substantially one-half of the inside surface bounded between the plane formed by a longitudinal axis, of the fluid passageway, and the central axis.

[0015] Another embodiment of the invention includes a method of creating a modified throttle body comprising the step of creating at least one groove in an inside surface of a housing having a fluid passageway and a throttle plate located in the fluid passageway and coupled to the housing by a central axis wherein the at least one groove is located near the throttle plate. Likewise, an embodiment of the invention includes a method of creating or enhancing wave pulses in throttle body comprising the step of creating at least one groove in an inside surface of a housing having a fluid passageway and a throttle plate located in the fluid passageway and coupled to the housing by a central axis wherein the at least one groove is located near the throttle plate.

[0016] Yet another embodiment of the invention includes a method of reducing the carbon footprint of an engine comprising the step of creating at least one groove in an inside surface of a housing having a fluid passageway and a throttle plate located in the fluid passageway and coupled to the housing by a central axis wherein the at least one groove is located near the throttle plate. [0017] An additional embodiment of the invention includes a method of creating enhanced movement of fluids comprising the step of creating at least one groove in an inside surface of a housing having a fluid passageway and a throttle plate located in the fluid passageway and coupled to the housing by a central axis wherein the at least one groove is located near the throttle plate.

[0018] A further embodiment of the invention includes a bit for creating at least one groove in a throttle body comprising a shank to couple to a high speed rotary tool, and a cutting head having a hemispherical portion nearest the shank end terminating in a flat surface or, alternatively, a bit creating at least one groove in a throttle body comprising a shank to couple to a high speed rotary tool, and a cutting head having a hemispherical end furthest from the shank and having an oblique angle from the shank to the equator of the cutting head

BRIEF DESCRIPTION OF THE DRAWINGS

FIGURE 1 shows a standard configuration of a stock throttle body with the linkage omitted for visibility.

FIGURE 2 shows an oblique view of throttle plate in throttle body where the throttle plate is on a central axis, specifically a central axis shaft, so that throttle plate rotates to open when an accelerator is depressed.

FIGURE 3 shows a side view diagram of a standard configuration of a stock throttle body with a throttle seat and a preferred direction of rotation.

FIGURE 4 shows a partial cross-sectional side view diagram of a preferred embodiment of an inferior groove placement in relationship to a throttle plate in a standard configuration of a stock throttle body.

FIGURE 5 shows a partial cross-sectional side view diagram of a preferred embodiment of a superior groove placement in relationship to a throttle plate in a standard configuration of a stock throttle body.

FIGURE 6 shows a cross-sectional side view diagram of one possible theory of the invention when a preferred embodiment of the at least one groove placement in relationship to throttle plate in a throttle body open at 10% of acceleration.

FIGURE 7 shows a cross-sectional side view diagram of one possible theory of the invention of a toroidal shape pressure wave of a preferred embodiment of the at least one groove placement in relationship to throttle plate in a throttle body.

FIGURE 8 shows a cross-sectional side view diagram of one possible theory of the invention when a preferred embodiment of the at least one groove placement in relationship to throttle plate in a throttle body open at 85% of acceleration.

FIGURE 9 shows an open end view diagram of one possible theory of the fluid movement of preferred embodiment of the invention at lower engine speeds.

FIGURE 10 shows an open end view diagram of one possible theory of the fluid movement of preferred embodiment of the invention at higher engine speeds.

FIGURE 11 shows a cross-sectional side view diagram of one possible theory of the fluid movement of a wave pattern of low pressure pulses of a preferred embodiment of the invention at higher engine speeds.

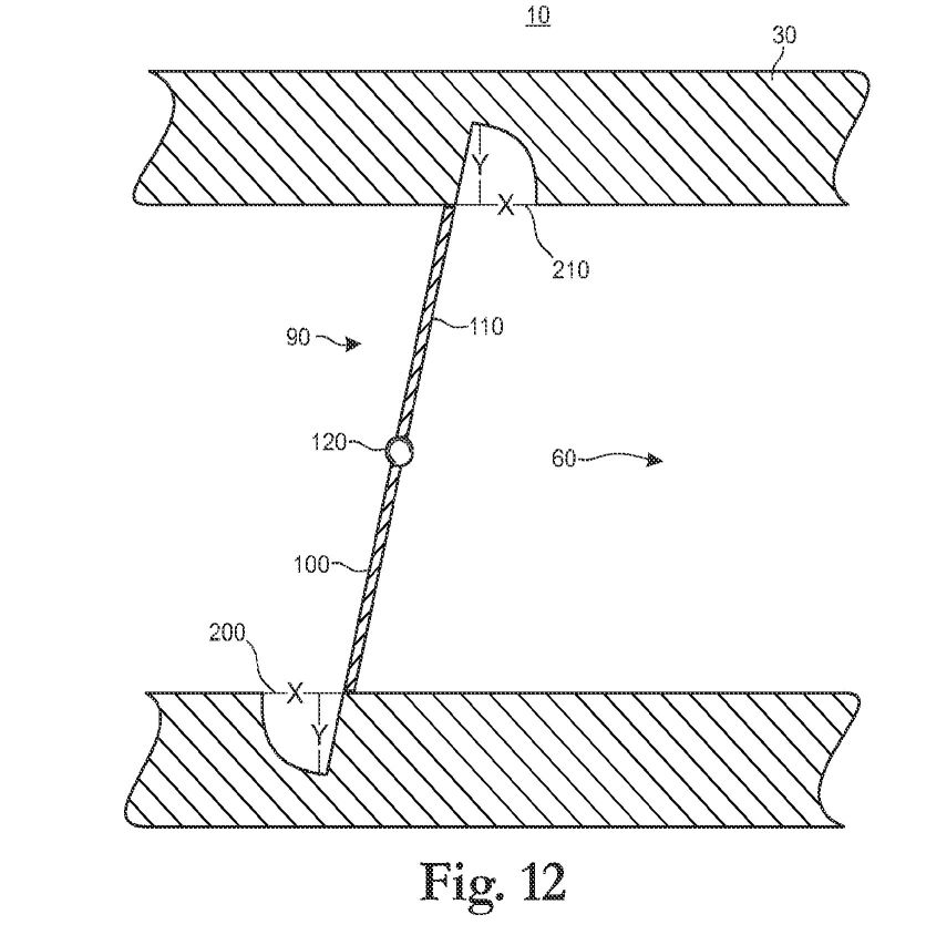
FIGURE 12 shows a side view diagram of groove cuts in the throttle body wall.

FIGURE 13 a, 13 b and 13 c shows preferred embodiments of one configuration of the bits of the invention. [0032] FIGURE 14 a, 14 b and 14 c shows another preferred embodiments of one configuration of the bits of the invention.

FIGURE 15 a, 15 b and 15 c shows another preferred embodiments of one configuration of the bits of the invention.

   

DESCRIPTION

[0034] In a preferred embodiment of the invention, the aerodynamic design of throttle bodies are changed (or modified) to, what is believed, create higher vaporization of fuels, reduce emissions and reduce fuel consumption. While not being limited to its proposed theory, it is believed that the invention causes the throttle to be more responsive at lower speed operation. The preferred invention is believed to create a pressure wave at the throttle plate and additional turbulence such that it increases vaporization and blending of liquid in the system to which it is applied possibly like those proposed in figures 6 through 11. For example, it is believed that the invention causes liquids to vaporize (for example, fuels including but not limited to gasoline) enabling its use in the internal combustion engine such as normally aspirated gasoline engines to achieve better explosive properties and mileage (i.e. efficiency) and performance gains including torque at wider ranges than any previous modifications or inventions.

[0035] A standard configuration of a stock throttle body 10 (with the linkage omitted for visibility) is shown in Figure 1. The throttle body 10 includes a housing 20 having athrottle body wall 30. The throttle body wall 30 has an outside surface 40 and inside surface 50 wherein the inside surface 50 defines the fluid passageway 60 and the fluid passage 60 has a longitudinal axis 62 (see figure 11). Preferably the housing 20 is cylindrical, but maybe of any geometry that will work with fluid flow. The housing also includes an open end 70 and a discharge end 80 so that the fluid moves from the open end 70 to the discharge end 80. Further, the term fluid includes any liquid or vapor such as air and the term throttle body means any device used for metering fluids. Housings for throttle bodies are well known and are typically made of metal or other suitable materials.

[0036] Also as shown in Figures 1 and 2, the throttle body 10 also includes a throttle plate 90 located in the fluid passageway 60 and having a front surface 100 facing the open end of the fluid passageway 60 and having a back surface 110 on the opposite side from the front surface 100. Throttle plates are well known and are typically made of thin metal or other suitable materials. As shown in this embodiment, the throttle plate 90 is coupled to the housing using a central axis 120. While the central axis may be coupled by any means to the housing such as pins, shaft or other mechanical or magnetic structure, preferably the central axis 120 is a central axis shaft and attaches to the throttle plate 90 and is rotatably (or pivotally) connected to the housing 20. When the throttle plate 90 is in a closed position, it blocks the passage of fluid through the fluid passageway 60. Typically, when the throttle plate 90 is in closed position it forms a fit with a throttle seat 65. The throttle plate 90 also has an open position that varies between 0 degrees and 90 degrees with respect to rotation from the closed position. A throttle plate means any obstruction in the fluid passageway.

[0037] In a preferred embodiment of the invention, at least one groove 200 or 210 is created into the throttle body wall 30 as seen in figures 4 though 8 and 12 wherein created means cut, molded, machined, formed, or anything that makes a groove in throttle body wall 30. In one preferred embodiment shown in figure 4, the at least one groove 200 has inferior groove placement (at the bottom of the housing 20). In another preferred embodiment shown in figure 5, the at least one groove 210 has inferior groove placement (at the top of the housing 20). While the invention can be practiced with one groove, combinations of grooves are also within the scope of the invention. Further, the at least one groove preferably includes at least one quarter of the circumference of the inside surface (i.e. the cylindrical passageway formed by the inside surface 50), but it is possible that such a groove need not be continuous and may be combined with other grooves. More preferably the at least one groove preferably includes at least one half of the circumference of the inside surface (i.e. the cylindrical passageway formed by the inside surface 50), and most preferably, the one half is bounded by a plane formed by a longitunal axis 300 of the fluid passageway and the central axis 120. It is, however, preferred as shown in figure 5, to use one groove placed after the throttle plate 90 (that is placed toward the discharge end when the throttle plate is in the closed position) and is superiorly placed if the rotation of the throttle plate 90 is clockwise (if the rotation of the throttle plate is counter clockwise then inferior placement of the one groove would be preferred).

[0038] Preferably, the at least one groove 200 or 210 is placed near to the throttle plate and works cooperatively with the throttle plate 90 to modify the fluid flow such as enhancing a pressure wave or toroidal nature of the fluid flow, and, more preferably, the at least one groove 200 or 210 does not interfere with the throttle seat 65. Most preferably, the at least one groove is placed near the position of the throttle plate when the throttle plate is in idle position such as when an engine is idling. In a preferred embodiment, the at least one groove 200 or 210 has a depth (y) and a width (x) that are roughly equivalent as shown in figure 12. In another preferred embodiment, the groove has the following characteristics x=y and the radius of curvature (z)(not depicted) is 0.8x. It is believed that the dimensions may be varied for x, y and z as long as the pressure wave is created or enhanced. Further, in a preferred embodiment the dimension of x is 3 millimeters, but the value of x may be varied between 2 mm and 4 mm. In a most preferred embodiment, the dimension x is one-half the thickness of the throttle body wall. Preferably, the groove dimensions are adjusted according to the characteristics of the individual application as based on the variables of displacement and intake air speed.

[0039] Preferably, the at least one groove 200 or 210 is perpendicular to the inside surface, more preferably at least one groove 200 or 210 is perpendicular to direction defined by fluid travel from the open end to the discharge end, but most preferably, the at least one groove 200 or 210 is slightly curved to match the throttle body plate consistent with an imaginary slice made through the housing in the plane formed by the throttle plate 90 when it is in an idle position.

[0040] In a preferred method, the at least one groove may be created by a hemispherical cut using a bit 300 wherein a bit means any tool for altering or creating shapes in structures. In another preferred embodiment, compound cuts may be created by a special bit or by making one or more additional cuts next to or within a previous groove.

[0041] While not being bound by any theory suggested herein, it is believed that the fluid flow is modified by the at least one groove to create pressure waves and possibly rolling toroidal pressure waves and that the pressure waves maintain their integrity of the wave pulse as postulated in figures 6 through 11. It is believe that this mechanism or one like it provides a method to increase gas mileage, increase horsepower, increase torque, reduce emissions and/or reduce the carbon foot print of a machine, especially an internal combustion engine.

[0041] This invention also includes a method of creating the at least one groove in the throttle body side wall 30. In a preferred embodiment the at least one groove 90 may be cut into the throttle body side wall 30 using a bit 300 described in figures 13 - 15. Preferably the bit 300 is used with a high speed rotary tool to cut a groove into the throttle body wall 30 of an existing throttle body 10 on an engine. In the preferred embodiment, as throttle bodies differ from engine to engine, different bits may be used to create the at least one groove. Preferred embodiments found in figure 13-15 include one or more of the following elements: a shank 310, a cutting head 320, a hemisphere section 330, a flat surface 340, a oblique angle portion 350, tapered shank section 360 and/or a reduced shank section 370.

[0042] The preferred embodiments shown in figures 13a, 14a, an 15a show bits used for a primary cut having a hemispherical portion terminating in a flat surface which is most preferably a 50 percent cut at the equator of the hemisphere. This bit would be preferably used for the primary cut on the portion in front of the throttle body as seen in figure 12 thereby generating the principal shape for the waveform producing groove. Also, preferably this bit may be used for the primary cut on the portion in front of the throttle body as seen in figure 12 when access is available to the portion of the throttle body.

[0043] The preferred embodiments shown in figures 13b, 14b, and 15b show bits used for a secondary cut having a hemispherical portion terminating in a flat surface which is most preferably a 60 percent cut. This bit may be preferably used for a secondary cut inside the primary groove on the portion in front of the throttle body. It is believed that additional modification of the primary may enhance the wave being generated; however, other modifications or configurations of the groove could also be envisioned to enhance the wave being generated.

[0044] The preferred embodiments shown in figures 13c, 14c, and 15c show bits where the cutting material is removed from the shank end of a spherical cutter, and where the non- cutting surface on the shank end is preferably at a 110[deg.] -120[deg.] oblique angle from shank to the equator, originating at a point on the shank at 50 percent of diameter. For example, figure 13c shows a 5/16" ball - origin at 5/32" from the end of the cutting surface. This bit would be preferably used for the primary cut on the portion in back of the throttle body as seen in figure 12 especially where access to the both sides of the throttle plate is prohibited by other design considerations of stock air systems. The use of this bit in cutting a groove which can generate the principle shape for the waveform producing groove.

[0045] Figure 15 shows preferred embodiments where material may be removed from shank so that the bit may reach the throttle body.

[0046] The preferred embodiment of the invention is described above in the Drawings and Description of Preferred Embodiments. While these descriptions directly describe the above embodiments, it is understood that those skilled in the art may conceive modifications and/or variations to the specific embodiments shown and described herein. Any such modifications or variations that fall within the purview of this description are intended to be included therein as well. Unless specifically noted, it is the intention of the inventor that the words and phrases in the specification and claims be given the ordinary and accustomed meanings to those of ordinary skill in the applicable art(s). The foregoing description of a preferred embodiment and best mode of the invention known to the applicant at the time of filing the application has been presented and is intended for the purposes of illustration and description. It is not intended to be exhaustive or to limit the invention to the precise form disclosed, and many modifications and variations are possible in the light of the above teachings. The embodiment was chosen and described in order to best explain the principles of the invention and its practical application and to enable others skilled in the art to best utilize the invention in various embodiments and with various modifications as are suited to the particular use contemplated.


  <


Your Support Maintains this Service --

BUY

The Rex Research Civilization Kit

... It's Your Best Bet & Investment in Sustainable Humanity on Earth ...
Ensure & Enhance Your Survival & Genome Transmission ...
Everything @ rexresearch.com on a Thumb Drive or Download !

ORDER PAGE