rexresearch.com
Return to Meyer/Water Electrolysis Main Page

Stanley MEYER

Water Electrolysis



WO 92/07861

A Control and Driver Circuit for a Hydrogen Gas Fuel Producing Cell

Abstract

A control circuit for a capacitive resonant cavity water capacitor cell (7) for the production of a hydrogen containing fuel gas has a resonant scanning circuit cooperating with a resonance detector and PLL circuit to produce pulses. The pulses are fed into the primary (TX1) transformer. The secondary (TX2) transformer is connected to the resonant cavity water capacitor cell (7) via a diode and a resonant charging chokes (TX4, TX5).

Description

This invention relates to electrical circuit systems useful in the operation of a water fuel cell including a water capacitor/resonant cavity for the production of a hydrogen containing fuel gas, such as that described in my US Patent # 4,936,961, Method for the Production of a Fuel Gas (26 June 1990).

In my aforesaid Patent for a method for the production of a fuel gas, voltage pulses applied to plates of a water capacitor tune into the dielectric properties of the water and attenuate the electrical forces between the hydrogen and oxygen atoms of the molecule. The attenuation of the electrical forces results in a change in the molecular electrical field and the covalent atomic binding forces of the hydrogen and oxygen atoms. When resonance is achieved, the atomic bond of the molecule is broken, and the atoms of the molecule disassociate. At resonance, the current (amp) draw from a power source to the water capacitor is minimized and voltage across the water capacitor increases. Electron flow is not permitted (except at the minimum, corresponding to leakage resulting from the residual conductive properties of water). For the process to continue, however, a resonant condition must be maintained.

Because of the electrical polarity of the water molecule, the fields produced in the water capacitor respectively attract and repel the opposite and like charges in the molecule, and the forces eventually achieved at resonance are such that the strength of the covalent bonding force in the water molecule is exceeded, and the atoms of the water molecule (which are normally in an electron sharing mode) disassociate. Upon disassociation, the formerly shared bonding electrons migrate to the hydrogen nuclei, and both the hydrogen and oxygen revert to net zero electrical charge. The atoms are released from the water as a gas mixture.

In the invention herein, a control circuit for a resonant cavity water capacitor cell utilized for the production of a hydrogen containing fuel gas is provided.

The circuit includes an isolation means such as a transformer having a ferromagnetic, ceramic or other electromagnetic material core and having one side of a secondary coil connected in series with a high speed switching diode to one plate of the water capacitor of the resonant capacitor and the other side of the secondary coil connected to the other plate of the water capacitor to form a closed loop electronic circuit utilizing the dielectric properties of water as part of the electronic resonant circuit. The primary coil of the isolation transformer is connected to a pulse generation means. The secondary coil of the transformer may include segments that form resonant charging choke circuits in series with the water capacitor plates.

In the pulse generation means, an adjustable first, resonant frequency generator and a second gated pulse frequency generator are provided. A gate pulse controls the number of the pulses produced by the resonant frequency generator sent to the primary could during a period determined by the gate frequency of the second pulse generator.

The invention also includes a means for sensing the occurrence of a resonant condition in the water capacitor/resonant cavity, which when a ferromagnetic or electromagnetic core is used, may be a pickup coil on the transformer core. The sensing means is interconnected to a scanning circuit and a phase lock loop circuit, whereby the pulsing frequency to the primary coil of the transformer is maintained at a sensed frequency corresponding to a resonant condition in the water capacitor.

Control means are provided in the circuit for adjusting the amplitude of a pulsing cycle sent to the primary coil and for maintaining the frequency of the pulsing cycle at a constant frequency regardless of pulse magnitude. In addition, the gated pulse frequency generator may be operatively interconnected with a sensor that monitors the rate of gas production from the cell and controls the number of pulses from the resonant frequency generator sent to the cell in a gated frequency in a correspondence with the rate of gas production. The sensor may be a gas pressure sensor in an enclosed water capacitor resonant cavity which also includes a gas outlet. E gas pressure sensor is operatively connected to the circuit to determine the rate of gas production with respect to ambient gas pressure in the water capacitor enclosure.

Thus, an omnibus control circuit and its discrete elements for maintaining and controlling the resonance and other aspects of the release of gas from a resonant cavity water cell is described herein and illustrated in the drawings which depict the following:

Figure 1 is a block diagram of an overall control circuit showing the interrelationship of sub-circuits, the pulsing core/resonant circuit and the water capacitor resonant cavity.

Figure 2 shows a type of digital control means for regulating the ultimate rate of gas production as determined by an external input.  (Such a control means would corresponding, for example, to the accelerator in an automobile or a building thermostat control.)

Figure 3 shows an analog voltage generator.

Figure 4 is a voltage amplitude control circuit interconnected with the voltage generator and one side of the primary coil of the pulsing core.

Figure 5 is the cell driver circuit that is connected with the opposite side of the primary coil of the pulsing core.

Figures 6Fig. 7Fig. 8, and Fig. 9 relate to pulsing control means including a gated pulse frequency generator (Figure 6); a phase lock circuit (Figure 7); a resonant scanning circuit (Figure 8); and the pulse indicator circuit (Figure 9) that control pulses transmitted to the resonant cavity/water fuel cell capacitor.

Figure 10 shows the pulsing core and the voltage intensifier circuit that is the interface between the control circuit and the resonant cavity.

Figure 11 is a gas feedback control circuit.

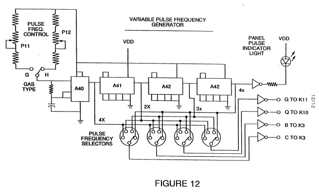
Figure 12 is an adjustable frequency generator circuit.

The circuits are operatively interconnected as in Figure 1 and to the pulsing core voltage intensifier circuit of Figure 10, which, inter alia, electrically isolates the water capcitor so that it becomes an electrically isolated cavity for the processing of water in accordance with its dielectric resonance properties. By reason of the isolation, power consumption in the control and driving circuits is minimized as voltage is maximized in the gas production mode of the water capacitor/fuel cell.

The reference letters appearing in the Figures, A, B, C, D, E, etc., to M and M1 show, with respect to each separate circuit depicted, the point at which a connection in that circuit is made to a companion or interrelated circuit.

In the invention, the water capacitor is subjected to a duty pulse which builds up in the resonant changing choke coil and then collapses. This occurrence permits a unipolar pulse to be applied to the fuel cell capacitor. When a resonant condition of the circuit is locked-in by the circuit, amp leakage is held to a minimum as the voltage which creates the dielectric field tends to infinity. Thus, when high voltage is detected upon resonance, the phase lock loop circuit that controls the cell driver circuit maintains the resonance at the detected (or sensed) frequency.

The resonance of the water capacitor cell is affected by the volume of water in the cell. The resonance of any given volume of water maintained in the water capacitor cell is also affected by contaminants in the water which act as a damper. For example, at an applied potential difference of 2000 to 5000 volts to the cell, an amp spike or surge may be caused by inconsistencies in water characteristics that cause an out-of-resonance condition which is remedied instantaneously by the control circuits.

In the invention, the adjustable frequency generator (Figure 12) tunes into the resonant condition of the circuit including the water cell and the water therein. The generator has a frequency capability of 0-10 KHz in a typical 3.0 inch water capacitor formed of a 0.5 inch rod enclosed within a 0.75 inside diameter cylinder. At start up, in this example, current draw through the water cell will measure about 25 milliamp; however, when the circuit finds a tuned resonant condition, current drops to a 1-2 milliamp minimum leakage condition.

The voltage to the capacitor water cell increases according to the turns of the winding and size of the coils, as in a typical transformer circuit. For example, if 12 volts are sent to the primary coil of the pulsing core and the secondary coil resonant charging choke ration is 30 to 1, then 360 volts are sent to the capacitor water cell. Turns are a design variable that control the voltage of the unipolar pulses sent to the capacitor.

The high speed switching diode shown in Figure 10 prevents charge leakage from the charged water in the water capacitor cavity, and the water capacitor as an overall capacitor circuit element, i.e., the pulse and charge status of the water/capacitor never pass through an arbitrary ground. The pulse to the water capacitor is always unipolar. The water capacitor is electrically isolated from the control, input and driver circuits by the electromagnetic coupling through the core. The switching diode in the VIC circuit (Figure 10) performs several functions in the pulsing. The diode is an electronic switch that determines the generation and collapse of an electromagnetic field to permit the resonant charging choke(s) to double the applied frequency and also allows the pulse to be sent to the resonant cavity without discharging the capacitor therein. The diode, of course, is selected in accordance with the maximum voltage encountered in the pulsing circuit. A 600 PIV fast switching diode, such as an NVR 1550 high speed switching diode, has been found to be useful in the circuit herein.

The VIC circuit of Figure 10 also includes a ferromagnetic or ceramic ferromagnetic pulsing core capable of producing electromagnetic flux lines in response to an electrical pulse input. The flux lines equally affect the secondary coil and the resonant charging choke windings. Preferably, the core is a closed loop construction. The effect of the core is to isolate the water capacitor and to prevent the pulsing signal from going below an arbitrary ground and to maintain the charge of the already charged water and water capacitor.

In the pulsing core, the coils are preferably wound in the same direction to maximize the additive effect of the electromagnetic field therein.

The magnetic field of the pulsing core is in synchronization with the pulse input to the primary coil. The potential from the secondary coil is introduced to the resonant charging choke(s) series circuit elements which are subjected to the same synchronous applied electromagnetic field, simultaneously with the primary pulse.

When resonance occurs, control of the gas output is achieved by varying voltage amplitude or varying the time of the duty gate cycle. The transformer core is a pulse frequency doubler. In a figurative explanation of the workings of the fuel gas generator water capacitor cell, when a water molecule is hit by a pulse, electron time share is affected, and the molecule is charged. When the time of the duty cycle is changed, the number of pulses that hit the molecules in the fuel cell is correspondingly modified. More hits result in a greater rate of molecular disassociation.

With reference to the overall circuit of Figure 1, Figure 3 receives a digital input signal, and Figure 4 depicts the control means that directs 0-12 volts across the primary coil of the pulsing core. Depending upon design parameters of primary coil voltage and other factors relevant t core design, the secondary coil of the pulsing core can be set up for a predetermined maximum, such as 2000 volts.

Figure 5, the cell driver circuit, allows a gated pulse to be varied in direct relation to voltage amplitude.

As noted above, the circuit of Figure 6 produces a gate pulse frequency. The gate pulse is superimposed over the resonant frequency pulse to create a duty cycle that determines the number of discrete pulses sent to the primary coil. For example, assuming a resonant pulse o 5 KHz, a 0.5 Hz gate pulse may be superimposed over the 5 KHz pulse to provide 2500 discrete pulses in a 50% duty cycle per Hz. The relationship of resonant pulse to the gate pulse is determined by conventional signal addition/subtraction techniques.

Figure 7, a phase lock loop, allows pulse frequency to be maintained at a predetermined resonant condition sensed by the circuit. Together, the circuits of Figures 7 and 8 determine an output signal to the pulsing core until the peak voltage signal sensed at resonance is achieved.

A resonant condition occurs when the pulse frequency and the voltage input attenuates the covalent bonding forces of the hydrogen and oxygen atoms of the water molecule. When this occurs, amp leakage through the water capacitor is minimized. The tendency of voltage to maximize at resonance increases the force of the electric potential applied to the water molecules, which ultimately disassociate into atoms.

Because resonances of different waters, water volumes, and capacitor cells vary, the resonant scanning circuit of Figure 8 is useful. The scanning circuit o Figure 8 scans frequency from high to low to high repeating until a signal lock is determined. The ferromagnetic core of the voltage intensifier circuit transformer suppresses electron surge in an out-of-resonance condition of the fuel cell. In an example, the circuit scans at frequencies from 0 Hz to 10 KHz t 0 Hz. In water having contaminants in the range of 1 ppm to 20 ppm, a 20% variance in resonant frequency is encountered. Depending on water flow rate into fuel cell, the normal variance range is about 8-10%. For example, iron in well water affects the status of molecular disassociation. Also, at a resonant condition harmonic effects occur. In a typical operation of the cell with a representative water capacitor described below, at a frequency of about 5 KHz at unipolar pulses from 0 to 650 volts at a sensed resonant condition into the resonant cavity, conversion of about 5 gallons of water per hour into a fuel gas will occur on average. To increase the rate, multiple resonant cavities can be used and/or the surfaces of the water capacitor can be increased, however, the water capacitor cell is preferably small in scale. A typical water capacitor may be formed from a 0.5 inch in diameter stainless steel rod and a 0.75 inch inside diameter cylinder that together extend concentrically about 3.0 inches with respect to each other.

Shape and size of the resonant cavity may vary. Larger resonant cavities and higher rates of consumption of water in the conversion process require higher frequencies such as up to 50 KHz and above. The pulsing rate, to sustain such high rates of conversion must be correspondingly increased.

From the foregoing description of the preferred embodiment, other variations and modifications of the system disclosed will be evident to those of skill in the art.