rexresearch
rexresearch1


Viktor SCHAUBERGER
Collected Works



 Our Darling :
  
Viktor Schauberger

Books :

https://1lib.sk/book/1365287/10edca/die-forellenturbine.html
Die Forellenturbine   [ PDF ]
Schauberger Viktor

The Fertile Earth
[ PDF ]
Schauberger, Viktor

Our Senseless Toil 
[ PDF ]
Schauberger Viktor

https://1lib.sk/book/1365290/881298/landwirtschaft.html
Landwirtschaft
   [ PDF ]
Schauberger Viktor

https://1lib.sk/book/12002932/971baf/wasser-das-blut-der-erde-2004.html
Wasser, Das Blut Der Erde
[ PDF ]
Viktor Schauberger

https://1lib.sk/book/2282744/c9a99b/the-water-wizard-the-extraordinary-properties-of-natural-water.html
The Water Wizard: The Extraordinary Properties of Natural Water
  [ PDF ]
Viktor Schauberger, Callum Coats

Nature as Teacher  [ PDF ]
Schauberger, Viktor

https://1lib.sk/book/17085199/156500/die-geniale-bewegungskraft.htm
Die geniale Bewegungskraft
[ PDF ]
Viktor Schauberger

https://1lib.sk/book/3215559/f58460/living-energies-viktor-schaubergers-brilliant-work-with-natural-energy-explained.html
Living Energies: Viktor Schauberger's Brilliant Work with Natural Energy Explained
[ PDF ]
Callum Coats

 
Lebendes Wasser  [ PDF ]
Olaf Alexandersson

https://1lib.sk/book/5901663/54185b/viktor-schauberger.html
Viktor Schauberger --  A Life of Learning from Nature  [ PDF ]
Jane Cobbald

 
IMPLOSION : VIKTOR SCHAUBERGER and the PATH of NATURAL ENERGY  [ PDF ]
Riley Crabb





   



The Klimator :






Implosion Magazine, No. 83, p. 17
The Klimator

"I can generate suctional forces, which act indirectly and are entirely undetectable. No current of air can be noticed; only an almost imperceptible cooling, as occurs when air is sucked in strongly with the back of the hand held in front of the mouth. It is therefore incorrect to say that I have copied the cyclones and typhoons of the tropics."



Spec. Ed. Mensch und Technik, Vol. 2,1993, section 7.5.
Cold and Hot Machines - Cooling-Heating Machines

"I have certain devices in my possession that can cool a river with a temperature of about +20°C (+68°F) down to below 0°C (+32°F) in a few minutes without any cooling equipment of current design (ice or refrigerator). The breath-like regulation of oxygen between interconnected vessels (containing copper and zinc plates) is enough to eliminate thousands of heat-calories in a few seconds, or convert them into cold substances. These simple, natural processes are valid for temperature fluctuations in excess of 60°C (108°F). This involves the atomic dissociation of air or aqueous substances. I am now having machines built, which generate heat or cold organically. (see fig. 27) Heat or cold-producing dynamos of 1/8th horsepower heat and cool in a cold combustion process, without fire. The device is both heater and refrigerator. By means of an organic vacuum, it lifts water or air to any height, converts water or air into an immaterial form and distils the starting product, so that any kind of water or air can be produced. Main criterion: The correct composition of the material. Study catalysts that separate oxygen from water. For experiments use caustic potash and zinc, or sodium. To dissipate the additional heat, bind aluminium and silica with waterglass. The ratio of 1:1 is not right, because the resultant temperature is too high. Intuitively it should be in the ratio of 2:3, wherein the C-substances must predominate. The number of revolutions per minute should be between 4,000 and 9,000. Basic concept is planetary motion with suction and pressure on opposite sides of the catalyst. Depending on the rate of rotation, there can be a 350,000-fold increase in weight or pressure. The device can also be used to produce the cheapest artificial petrol. With one system as big as a fist, houses can be heated. On the other hand, any desired low temperature can be achieved merely by adjusting the needle-jets. Small motive impulses only are required to set it in motion -- kick-starter or electrical starter-motor. In a vacuum water will be evaporated and by means of cold is transformed (through mutators) into a gaseous state. In my next device air will be converted into electrozoic energy. ( 1 -- Electrozoic energy: an animalistic or organismic form of electrical energy. — Ed.) This is how the organic or physical vacuum comes into being, which even in small machines consumes about 4 m^3 (141.24 ft^3) of air per second, delivering about 10,000 hp to the drive-shaft to do work. If a physical vacuum is created in front of the suction-intake openings, then the machine itself is drawn forwards by this force, thus opening the way to the production of silent, fuelless aircraft (in the current meaning of the word)..."



Implosion Magazine, No. 77 ( 25 August 1945 )
The Klimator - a New Form of Synthesising Current produced by a Space-Energy Generator

Central heating with reactive forms of heat
In exactly the same way as happened after World War I, there is no other solution to the present shortage of coal than to cut down the forest in order to heat our houses over the coming winter.As a result:

1. A valuable national asset will be further destroyed.
2. A whole string of new economic disasters will ensue.
3. Nothing will be achieved of any practical value.

Assuming that we are able to fell such a large number of trees, then, as also happened after World War I, it will be impossible to transport the green and heavy fire-wood logs to the railways and on to further destinations, due to the lack of draft-animals and fuel. What is actually delivered, can barely be burned for at least six months, because firewood must first be dried out. At the same time the generation of an unhealthy form of heat, conducive to the propagation of bacteria will result. People should send me a few sheets of copper (Cu), brass (Cu5Zn8, Cu9Al4,Cu3Sn8) or aluminium (Al), which should be 0.8-1.0 mm (0.0315-0.0394 in.) thick. Steel sheet is hard to bend, although it is also very suitable. It is not worth having a press-die specially made merely to build a prototype to demonstrate how this problem can be solved naturally and inexpensively. Hardly anyone will be able to understand the essential nature of this new system of heating. Nevertheless, the attempt should be made in order to create interest.

It is a well-known fact that it is warm below the ground-surface in winter and cool in summer. These variations in temperature originate from material changes in the raw materials present in the ground and in part are also effected through the cycloid-spiral-space-curve motion of the Earth. These internal and external changes in motion are brought about as Nature increases the intensity of the Suns rays in summer by lengthening their developmental path ( 2 -- In the northern hemisphere summer the distance between Sun and Earth increases to a maximum at aphelion about the 1st of June. — Ed.) and weakens them in winter through the earthward approach of the Sun at perihelion. In very general terms this enables dense agglomerations of oxygen to enter the ground. It is the same process that happens in a motor in cool weather or at night. The oxygen then consumes the residual matter, which the Earth created during the summer out of the earthly remains of deceased life-forms with the aid of her cycloid-spiral-space-curve motion. The movement of sap in summer and its state of rest in winter are the biological sequel to the above variations in intensity. These are the cause of the different motions, which in turn contribute towards the intensification of the Earths new processes.

It is only in this way that qualigen is to be understood, whose waste-matter is also involved in the generation of reactive, falling and therefore concentrating influences of heat. Without these influences no growth is possible. It is these falling and concentrating forms of heat that are of interest to us at the moment, since they can solve the most urgent problems of fuel and heating quickly and simply. They are about 90% more efficient than normal methods of heating for the simple reason that they are produced from the waste-products of qualigen and hence will function equally efficiently in large, medium or very small heating appliances. A great deal of time, effort and expense can thus be spared using this naturalesque method of heating. Wood and coal will become as good as obsolete. In Nature nothing happens directly, but only indirectly. Without waste-matter, therefore, no growth and no gain is possible. As far as present heating problems are concerned, the trick is to learn how to make use of those waste-products that generate falling and concentrating heat rays. These heat from above downwards in the same way that the Sun heats the surface of the Earth.

For this purpose a Klimator is required. What is a Klimator? It is merely a type of dynamo that generates natural forms of temperature, or more accurately, falling and concentrating heat rays as well as naturally rising and expanding forms of cold. The latter are health-promoting and lethal to bacteria.

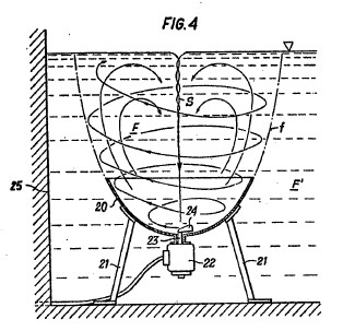
The Klimator essentially consists of three special components (see fig. 28) and:

1. Is a small, conventional heating element, which is incorporated in the middle of a sort of selenium cell ( 3 -- Selenium's electrical resistance increases with exposure to light and a selenium cell is a type of photo-electric cell comprising a thin coating of selenium applied to a metal disc and covered with a layer ofgold or platinum thin enough to allow the passage of light. — Ed. ), which is surrounded by a material mass. As in a natural living cell (similar to a protoplasm), all major and secondary basic elements are present in an allotropic state. Herein are contained all stocks of allotropic fructigens and seminal substances, oligodynamic (decay-promoting) and catalytic (growth-accelerating), exciting substances.

2. Is a diminutive, but faithful copy of the Earth itself, within which an agitator rotates, which is attached to the end of the vertical shaft. In addition, the Klimator consists of a series of nested, rilled, calyx-like ( 4 -- Calyx = the sepals of a flower collectively forming the outer floral envelope, protective of the bud. -Ed.) vanes, which are so constructed that the through-flowing masses, such as water and air, can be bio-centrifugated. Through the increase in centripetating and centrifugating velocities, which have hitherto never been achieved anywhere, increases in pressure and suction are produced, which reciprocally amplify each other exponentially. This results in the decomposition of the water and air due to the thorough trituration of the smallest molecules of sediment, leading to the development of a hitherto unknown process of synthesis. This gives rise to two longitudinally oriented types of inward flowing, spiral-like currents, one flowing upwards and the other downwards.

3. A small generator is also incorporated in the Klimator, whose armature is fixed and about which the stator rotates.

Fig. 28: The Klimator

The primary product of synthesis, a biomagnetic formative and levitative current, will not be elaborated in more detail here, since we are primarily interested in the solution of the problem of heating, namely, with the function of the secondary or reflux current. This is a potential with which it is possible to heat up a space from the ceiling downwards, like the Sun does. It is a radiant form of heat, which heats the whole space evenly. If the intensity of the small heating resistance (element) is reduced, however, for which the rate of rotation of the agitator must be increased, then the living space is suffused with an evenly dispersed, rising, expanding and high-altitude-like fresh air. In this way the natural, reactive forms of temperature are produced nearly free of cost, through which the natural warmth of the valley-climate comes into being. It is a mountain micro-climate. The Klimator represents the most basic developmental form in which the natural, primary motive forces can evolve, whose two components are to be differentiated as:

(a) The metaphysical, which acts from the inside outwards, and
(b) The physical, which acts from the outside inwards.

Both these higher forms of pressure and suction together produce the original form of motion through which the higher influence arises, which in turn generates the increased and qualitatively improved, primary life-energy. This original way of generating natural formative and levitative essences is exploited by the stationary trout, which stands motionless in fast-flowing torrents and darts upstream like lightning when danger threatens, wherein it cannot only overcome its own body-weight, but also, swimming freely and without other assistance, overcomes the weight of the oncoming water. This was previously inexplicable as far as science was concerned.The secret of this mysterious overcoming of gravity solves the problem of the aforementioned, hitherto unknown synthesizing current, which is triggered off through the cold metabolic process. Contemporary science knows nothing about it, because it only uses warm processes of oxidation, which triggers the counter-current to the above current. This, however, is the most dangerous current of all. This annihilating current science uses for mechanical power and to heat living spaces. The suppression of the life-current means the gradual elimination of the life-force leading to disease and premature death. Progress can only be made in the search for the synthesizing current and quality of life when all substances are moved inwindingly. The cyloidally moving Earth demonstrates this to us daily. It was a trout that showed it to me. With the Klimator, the Repulsator and the Repulsine the first atom-bomb that rises can be produced instead of one that falls. The latter achieved the veritable zenith of almost complete annihilation with the aid of the most efficacious combustion process of all. But with it came the long-sought turning point, for in all truth no deeper nadir could have been reached.





Implosion Magazine, No. 116,pp 37-45.
Biotechnisches Versuchsinstitut ( Oct. 1946 )

The Naturalesque Ur-Generation of Power, Heat and Light

The no longer mysterious secret of the naturalesque generation of power, heat, cold and light lies hidden in the substance that today's technologists combust, from which the so-called calories arise, and which understandably disappear when we drive our machines with Natures principal formative substance (fatty-matter), or use it for heating or for generating low-grade light. Derived from the ancient Greek word technao, technology means self-cheating or self-deception. Actually it ought to be called stupidity, because all we have to do is merely to move what actually moves, heats and illuminates naturalesquely in order to be able to set every kind of machine in motion originally or to produce heat and light naturalesquely. For this reason the ancient Greeks also rejected technology in any form.Instead they captured slaves so as to have the more demeaning and demanding tasks carried out by these natural machines, which run on metaphysical fatty-matter. In order to eat today the wretched slaves scramble for work, burrowing into the earth for coal, felling the forests and extracting oil from the ground, in order, so they believe, to alleviate their lot, but achieve precisely the opposite. More and more people have to work and the more diligently they slave away, the more keenly the hunger they will have to experience, because without coal, timber and oil no growth of vegetation is possible. In other words, there will be an increasing dearth of all that is most vital to life, if by the sweat of our brows we inhibit the build-up of quality matter and exploit Natures most important formative substance - fatty-matter - for every possible and impossible purpose, i.e. to drive machines and for ridiculous methods of lighting and heating: All this in the belief that these earthly residues of fatty-matter would in any case be reduced to dust and ashes if left in the ground,and therefore it does not matter whether we make soap or something else outof them, or merely combust them. Today this is totally unnecessary. Naturally there will be a hue and cry from all the well-camouflaged slave-masters, who earn fat sums through those they lead around by the nose, once the bio-technical secret is revealed and the mentally castrated work-oxen are shown the way to move this mysterious fatty-matter naturalesquely. This will provoke an upheaval of a kind that humanity has never yet experienced, because mechanical power, heal and light will be as good as free. In the future no intelligent person will operate machines or even generate heat and light with Natures principal working material, but will make the actual mover and Life re-awakener move bio-technically. To learn this art it is necessary above all to explain two fundamental concepts. Firstly, what actually is substance and secondly what actually is motion ? From a naturalesque viewpoint, the term substance is to be envisaged as a more or less highly developed energy-concentrate; a lattice of atoms, as it were, or as the word lattice implies, a sort of prison, in which Natures principal formative substance -- the fatty-matter in the process of change and formation -- also resides in an allotropic (naturally congealed or condensed) state. This only awaits the naturalesque motive impulse in order to be elevated to a freely moving atomic state, which happens all the more rapidly, the faster this energy-concentrate in a latent transitional state is rotated in inwinding space-spiral-curves about its own axis by means of so-called venal-motion. Immediately thereafter, what has come into being in this way is moved further in so-called arterial-motion in order to distribute what has been freely formed by way of naturalesque rhythmical motion through the surrounding body (the soil) in order to bring it to life.With this the secret of biotechnical motion stands revealed and all that remains is to explain the mysterious machine with which it is possible to ur-generate the originally moving and resuscitating, i.e. a higher-grade potential. With its use all machines can be powered and our homes heated and illuminated independently. Moreover, all growth -- which is none other than the natural solidification of energy-concentrates -- can be stimulated and increased as well as qualitatively improved. In short, our every wish can be fulfilled with very little effort. Naturally all this will be described as Utopian, as the product of a deranged mind intent on creating all kinds of confusion amidst the present economic chaos caused by the insanity of combusting Natures most vital primary substances.

Consequently, great concern for the continuing supply of fatty-matter will inevitably arise; a substance that nowadays not only every house-wife lacks ( 5 -- This relates to the severe food shortages and rationing in Austria in the immediate post-war period. - Ed. ) , but one that is also lacking in the form of what might be called cerebral lubricant. For it is from the brain that all healthy thoughts arise, and above all the idea of doing things in accordance with Nature in the future ; something the director of an institute for commodity studies naturally cannot immediately appreciate. Therefore a number of other things must be explained in greater detail in order to make it clear to the various ministers of government departments as well. This is necessary so as to enable an increased production of commodities and above all a faster growth of calories, which under the present circumstances are not only being increasingly wasted, but ultimately would go to waste entirely were such individuals not to be enlightened by an outsider. That is, were the fundamental concepts of biotechnology not explained in a generally understandable way. Under the concept motion we have to visualise a rhythmical combination of pressure and suction, wherein it is of crucial importance whether pressure or suction predominates. If the former prevails, then a decadent potential or expressed more scientifically, an oxidation, takes place, which should generally be understood as a highly combustive process that inhibits development. In contrast, if suction prevails during a naturalesque course of motion, then a reduction process occurs, which is here to be generally understood as the aforesaid higher-grade transformation of an already high-grade material into spirit, or expressed more scientifically, into the above form of higher-grade potential. Naturally, this is also the source of higher-grade temperature and light phenomena, which as development-furthering instrumentalities, foster the development of naturalesque motive forces, high-grade heat and cold as well as light. In this formative process il primo movere, the initial motive impulse, also plays a decisive role. If any motion is actuated by a pressure-induced axial->radial (see fig. 14) impulse and pressure prevails, then the decadent form of potential results, because in this case the atom lattice ruptures due to the release of its content of unipolar and highly aggressive allotropic oxygen. In other words, when the oxygen has attained the energetic state that enables itto encircle the fatty-matter (carbone). The latter having become passive and coincident ( internally collapsed ) under this lower-grade heat influence, the oxygen loops around it in spiral-space-curves, and engulfs, consumes and digests it. The offspring of this outbirth of decadent energies are lower-grade temperatures, i.e. rising heat-forms and falling cold-forms, which foster the decay process. Subsequently, with the aid of these solidifying cold-forms, the relape into the earth of what has missed its way on evolutions upward path ensues. However, if a motion is initiated by a radial->axial impulse, i.e. if the initiating upward suction and inward impulsion are triggered simultaneously, then firstly the atom lattice of basic elements is disassembled naturalesquely, because under this centripetal motion it is only the oxygen that reacts and contracts into itself. Secondly, due to the developing coolness that occurs with all sucking action, the fatty-matter ( carbones ), which become free, unipolar and highly active then encircles the oxygen, also loops around it in inwinding spiral curves, and engulfs and digests it. The product of this metabolic process is the higher-grade potential, which immediately gives rise to higher-grade temperature-forms, i.e. falling and concentrating heat-forms and rising and expanding invigorative cold-forms. These combine the highest-grade elements into a new atom lattice and propel the product of this high-grade synthesis, which already has a desire to rise, into even higher zones of evolvement.

To restate the process briefly: axial->radial expulsion results in explosion,decay and combustion. Impulsion, or a radial->axial impetus results in implosion, ennoblement and autonomous upward displacement (levitation). In this case reactive suctional forces operate first during the ascent and are then reinforced by supplementary reactive forces. This is how physical weight is overcome naturalesquely, during which process the already higher-grade energetic ballasting elements are precipitated out and manifest themselves as falling and concentrating heat-forms. If this formative process is copied naturalesquely in a so-called Klimator (see figs. 27 and 28), which is suspended from the ceiling and moved bio-centrifugally then a falling and concentrating heat-form is produced with which the living space can be naturalesquely heated in winter. If these invigorative cold-forms with their rising and expanding properties are introduced into an evacuated glass bulb, then the energy-concentrates,which in any case move exceptionally rapidly, exceed their highest velocity in this resistance-less space. In the process they eject high-grade ballast material which interacts with the residual oxygen still present in an extremely rarefied state. The product of this renewed union is atmospheric space-light, naturalesquely copied sunlight as it were. This evolves and lights up the vacuum bulb when the bulb, which has no other connections apart from the earth-wire, is merely earthed. All that is required therefore is to connect the earth-wire in order to make the living space as bright as day. To extinguish this natural light, which is of course temperatureless, the earth-wire is simply disconnected. If virtually free mechanical power is required, then the above higher-grade heating effects merely need to be switched off, thus converting them into formative and levitative invigorative forms (cold-forms). This immediately reactivates the ur -- powerfully-waxing buoyant motion, which here should been visaged as a bio-magnetic up-current (a synthesizing current). With elemental force arising from an energy gradient that evolves along a common developmental axis, this up-current sucks up the generating device in its wake, i.e. it effortlessly overcomes its own weight. Aircraft, submarines orheavy projectiles can be propelled like lightning in this way at negligible cost.In stationary machines on the other hand, which must be well anchored to the ground, the indrawn air will be almost instantaneously decomposed, trans-formed and built up as described earlier by passing through a curviform pipe.The concurrently coincident water, i.e. the discharged and inwardly collapsed medium, will be expelled at the same time, resulting in the ur-generation of a high-grade high-quality space -- the organic vacuum. This is the opposite of atmospheric air pressure and is the best and cheapest attractional force to be found anywhere on this planet. It is also the space that produces ray-like forms which penetrate through al l enclosures and stream upwards.

If a communicating pipe is interposed between this naturalesquely evacuated highly potent vacuity imbued with qualigens and the outer pressure of atmospheric space, and if a propeller or turbine is installed inside it, then the external atmospheric pressure exerts a force of 1 atm/cm2 on the inclined blades of the propeller (turbine). Since any desired volume of air can be reduced (transformed into formations of qualigen) in a fraction of a second with a naturalesquely constructed Repulsine (see figs. 30-33), for which at most a driving force of 0.8 kW isrequired, the levitative torque-producing force generated, or more correctly ur-generated, in this way is as good as free. For here, with increasing velocity due to the upward activation of the above bio-synthesising torque-producing force, the Repulsines power increases by the square of the ur-generative motion. This is to be compared with the increase in the resistance to motion in all technical machines, where understandably, due to the reversed direction of motion the forces of recoil increase in the same ratio as described above. That is to say, todays technology strives to move forwards with forces that operate backwards. Logically what has been achieved is not only a reversal of motion, but also of the economy; an economic decline resulting from the mechanical build-up of decadent repulsive pressures, which naturally have a decadent or destructive effect economically. Consequently, the economy willbecome increasingly unhealthy, the more widespread and intensive such technology, this self-deception becomes, or to put it mildly, the more the abysmal stupidity of generating decadent energies mechanically takes effect. This tragic aberration was inaugurated by the foolish belief that the progress of evolution comes to a halt when the life-functions are apparently extinguished and that the so-called soul escapes after the cessation of vital activity. In reality the true resurrection only begins after the proper decomposition of an atom lattice (fatty-matter concentrate) that has fallen back into the earth with the aid of and because of the cycloid-space-curve motion of the Earth itself, which provides the radial->axial impulse. In contrast, all technical machines, i.e. all dynamos, turbines, pressure pumps, propellers, explosion and steam driven engines, all furnaces, gas and electric heating appliances,all soil-tilling and harvesting machinery, etc. provide a developmentally harmful expulse to initiate motion. Because of this and without exception,the atom lattice thus moved ruptures, resulting in the disintegration of the molecular (bacteriophagous) formations in suspension. In unnaturally moved air or water decadent stresses appear, causing the decay of the decivise energy-concentrates (as a graphic example, see hydraulic river regulation and torrent confinement ( 6 -- See sections on river engineering in The Water Wizard, Vol. I of the Ecotechnology series. — Ed). This leads to the build-up of decadent potential and thedecomposition of the blood of the Earth, and thus to a total economic collapse along the whole course of development.

The possibility of ur-generating virtually free mechanical power, heat, coldand temperature-less light, however, is only the first step towards cultural (economic) reconstruction. For with venal-motion, it goes without saying that the highest quality blood of the Earth - water containing exceptionally potent substances -- can be produced by mechanical means. With this water not only can reactive expansive pressures be generated and all petroleum fuels, etc. replaced, but all cancerous decay can also be healed naturally, which would revolutionize medicine, i.e. put it back on the right track. In a word, the naturalesque movement of any given medium and the atom lattice it contains, signifies a social reconstruction in every sense, because all slave-labour will cease with the restoration of natural abundance and freedom of movement. Everyone will be free and independent, and healthy once more in mind and body. This will happen for the sole reason that any given atom lattice - like the body of a dead animal or plant - can be transformed and built up with the aid of venal-motion, whereupon the subtle physical energies - the so-called life-forces - then come into being, which through this revitalising process move our bodies originally (autonomously). Precisely the same thing happens at a large scale if we transform and build up bacteriophagous threshold structures (minute molecular atom lattices of water or air) mechanically through venal-motion, and thereafter distribute these specifically densified higher-grade energy-concentrates where required by way of arterial-motion. This will reimbue the surrounding body orgeosphere -- the macro atom lattice - with life and restore its inner vibration. We have only to intensify this formative oscillating motion in order to stimulate the macro-climate or higher-grade potential out of which displacement, namely physical movement, reproduction and further development, arises as the biological sequel to a naturalesque motive impulse. With this I place the lever or the fulcrum that lies beyond space and time in the hands of humanity, which will enable the normalization of those evolutive processes whose normal motion has been dislocated and in this way the standard of living can be simply and fundamentally improved along the whole chain of development. Only when this is done can reconstruction finally begin in a truly natural way. In this regard all institutes for commodity studies and research are outdated and for this reason the Visamontana Biotechnical Research Institute Ltd ( 7 -- The name Schauberger can be broken down into two concepts — "Schau" = look/see and "berger" = of the mountain. Hence the Latin-derived name Visa (look/see) + montana (mountain) = Visamontana. — Ed. ) has been registered with the chamber of commerce. It is in the close interest of those who play a leading role in government to enable this research institute to come into operation quickly, because all the preconditions now exist for implementing these formative atomic energies.

This will put an end to the present world-wide shortages of raw materials, food, fuel and germinating substances, which had to happen because the workings of evolution were subverted and put into reverse gear through the reversal of the naturalesque motive impulse. There can be no doubting what has been stated, because it is founded on indisputable practical results. It is contemporary science that erred and which, on the basis of various inventions, took the wrong evolutionary road.Science must now be shown another way by an outsider, and if not of its own free will, will be forced to do so by the mass of the people deprived of their most primitive rights to life. To err is human. It would be inhuman, however, now to delay and arrest this fresh start for the sake of scientific prestige or other interests. For in the present situation the life of millions upon millions of people, already hungry and freezing, is at stake. For this reason all this will be presented to the competent authorities and once more emphasized that the economy cannot move forward in reverse gear. Therefore everything must be switched around all along the line.



Log Flume :



Articles :

https://1lib.sk/book/5995624/4f0bc8/implosion-heft-148-2005-01-jan-schauberger-biotechnische-nachrichte.html
Implosion, Heft 148, 2005 01 Jan 
[ PDF ]
 
https://1lib.sk/book/5995625/a6ebcc/viktor-schauberger-implosion-heft-nr-155.html
Implosion, Heft Nr 155
  [ PDF ]
 
https://1lib.sk/book/1365289/3192ea/implosion-sonderhefte-120.html
Implosion Sonderhefte 1-20 
[ PDF ]

https://1lib.sk/book/17174937/51d490/implosion-die-entdeckung-der-levitationskraft.html
IMPLOSION – Die Entdeckung der Levitationskraft 
[ PDF ]
Viktor Schauberger

https://1lib.sk/book/5995629/75c7a3/viktor-schauberger-diverse-aufsa-tze.html
Viktor Schauberger - Diverse Aufsätze 
[ PDF ]
Aufsätze aus Implosion Nr. 2, 3, 7, 8, 10, 14, 15, 17, 19, 20

https://1lib.sk/book/1363695/eeea7c/der-hyperbolische-kegel-nach-walter-schauberger.html
Der hyperbolische Kegel nach Walter Schauberger
[ PDF ]
Radlberger Claus

https://1lib.sk/book/17174937/51d490/implosion-die-entdeckung-der-levitationskraft.html
IMPLOSION – Die Entdeckung der Levitationskraft -- Viktor Schauberger
[ PDF ]

https://1lib.sk/book/1363695/eeea7c/der-hyperbolische-kegel-nach-walter-schauberger.html?dsource=recommend
Der hyperbolische Kegel nach Walter Schauberger 
[ PDF ]
Radlberger Claus


Viktor Schauberger Patents :

EP4484381 -- METHOD, SYSTEM AND ITS USE FOR REMOVAL AND/OR DEGRADATION OF MICRO-POLLUTANTS FROM A LIQUID
Abstract -- The present invention relates to method, a system, and its use for removal and/or degradation of micro-pollutants from a liquid. The method according to the invention comprises:- providing a reactor having an inlet configured for receiving the liquid, an outlet configured for removing the treated liquid, and a treatment chamber having a substantially hyperbolic shape in a main flow direction of the liquid from the inlet to the outlet;- providing a treatment device configured for generating a plasma for treating the liquid and having one or more electrodes;- providing the liquid to the reactor;- generating a vortex by liquid flow;- generating a plasma with the treatment device;- treating the liquid in the treatment chamber with the plasma to remove and/or degrade micro-pollutants from the liquid; and- removing the treated liquid from the treatment chamber.

US1775871 -- Method and apparatus for assorting timber
Inventor: VIKTOR SCHAUBERGER

FR1057576 -- Procédé et dispositif pour la commande de processus de décomposition ou de composition moléculaires dans des milieux en mouvement    
Inventor: SCHAUBERGER VIKTOR     

FR785965 -- Procédé d'obtention d'une eau potable analogue à l'eau minérale
Inventor: SCHAUBERGER VIKTOR

FR763215 -- Conduite d'eau
Inventor: SCHAUBERGER VICTOR
    
DE809725 -- Bodenbearbeitungsgeraet    
Inventor: SCHAUBERGER VIKTOR

CH279546 -- Bodenbearbeitungsgerät und Verfahren zur Herstellung eines solchen.
Inventor: VIKTOR SCHAUBERGER , FRANZ ROSENBERGER

AT166644 -- Bodenbearbeitungsgerät
Inventor: SCHAUBERGER VIKTOR

AT145141 -- Luftturbine    
Inventor: SCHAUBERGER VIKTOR

AT143069 -- Verfahren zum Heben von Flüssigkeiten oder Gasen.
Inventor: CHAUBERGER VIKTOR

AT142032 -- Verfahren zur Herstellung von quellwasserähnlichem Trinkwasser.
Inventor: SCHAUBERGER VIKTOR     

AT138296 -- Wasserführung
Inventor: SCHAUBERGER VIKTOR

AT136214 -- Anlage und Einrichtungen zur Regelung des Abflußgerinnes von Staubecken und Festigkeitserhöhung deren Abschlußdammes.
Inventor: SCHAUBERGER VIKTOR

AT134543 -- Wasserführung in Rohren und Gerinnen
Inventor: SCHAUBERGER VIKTOR

AT125819 -- Einrichtung zum Transport von Langhölzern.
Inventor: SCHAUBERGER VICTOR

AT122144 -- Künstliches Gerinne zum Schwemmen von Holz u. dgl.    
Inventor: SCHAUBERGER VIKTOR

AT118713 -- Auswurfvorrichtungen für Langholz u. dgl. aus Transportvorrichtungen, Riesen, Transportbändern u. dgl.
Inventor: SCHAUBERGER VIKTOR

AT117749 -- Strahlturbine
Inventor: SCHAUBERGER VIKTOR

AT114660 -- Auslände- und Sortieranlage für verschiedene auf Schwemmstraßen gebrachte Hölzer
Inventor: SCHAUBERGER VIKTOR

AT113848 -- Verfahren und Vorrichtung, um beim Schwemmen verschiedene Holzsortimente voneinander zu trennen
Inventor: SCHAUBERGER VICTOR

AT113772 -- Verfahren und Vorrichtung zum Ausländen und Weiterbefördern von Langhölzern aus Schwemmanlagen
Inventor: SCHAUBERGER VIKTOR

AT113526 -- Vorrichtung zum Heranziehen und Überführen von Holzsortimenten aus Fangstauen in die Schwemmstraße
Inventor: SCHAUBERGER VICTOR
    
AT113487 -- Einbau zur Wildbachverbauung und Flußregulierung
Inventor: SCHAUBERGER VIKTOR

AT196680 -- Rohrleitung für flüssige und gasförmige Medien
Inventor: SCHAUBERGER WALTER DIPL ING, SCHAUBERGER VIKTOR


   
 
 
                           

Schauberger Family, et al. Patents :

GB1187632 -- Mixer with stirrer-induced mixing vortex
Inventor: SCHAUBERGER W
Abstract -- The mixing chamber is of egg-shape with the layer or the small end lowermost and has a stirrer which at the bottom induces an upward spiral flow in the liquid towards the free surface where solid, liquid or gaseous additives introduced throught upper or tangential inlet are entrained for downward flow into the liquid along the axis of the chamber. An irradiating source may be located at the upper end. To mix large volumes, the chamber is open-topped and sits in a large reservoir. Applications include water purification and mixing of mineral drinks.

EP4094823 -- METHOD, SYSTEM, AND USE OF SAID SYSTEM FOR ENHANCING GAS VOLUMETRIC MASS TRANSFER
Inventor: SCHAUBERGER JÖRG WALTHER OTTO 
Abstract -- The invention relates to a method and system for enhancing gas volumetric mass transfer. The method comprises the steps of:- providing an enhancing gas system comprising:- an entry part comprising an entry room and a liquid inlet;- a hyperbolic funnel operatively coupled with the entry part; and- a back pressure regulator, which is operatively coupled with the outlet of the hyperbolic funnel;- providing a liquid to the entry room via the liquid inlet;- providing a gas to the entry room via a gas inlet; and- providing a back pressure at the outlet of the hyperbolic funnel.

DE19620006 -- Domestic waste water oxygenated using helical clay surface treatment assembly
Inventor: SCHAUBERGER HUBERT
Abstract -- Domestic waste water oxygenated in a treatment assembly comprising a treatment basin (3a, 3b) and a basin (1) containing a series of filters present in different thicknesses. At intervals, effluent water is uniformly sprinkled onto the filter (1) by a pipe (18) through a number of side holes (19). The filters oxygenate the water and remove pollutants. The water (39) descends down a helical chute (36) along the basin walls (31a, 31b) on reaching the bottom of the basin and chute water drains through an outlet (35). During its descent through the chute effluent water is oxygenated by an air connector (40). Air is introduced to the connector by upwards (42) and downwards (41) directed pipes which draw in ambient air. The basin wall has a clay lining. The processed water is collected in a dosing basin (5) and discharged by a tip-up tank (51) at intervals through the pipe (18) with sprinkler-holes (19) into the filter basin (1) containing a sequence of similar sequence of filter layers. The filter layers are fine sand or gravel (11, 13), a relatively heavy layer of sand and clay (12,14), from which the water is discharged to a gully (17) and a height-adjustable overflow (20). After each batch has been treated, the filter layers are given time to recover before the next batch.

AT141313 -- Lochscheibe für Fleischwölfe
Inventor: SCHAUBERGER KARL

AT32143 -- Schrämmaschine
Inventor: SCHAUBERGER SIEGMUND     

CA817850 -- METHODS AND MEANS FOR EFFECTING PHYSICAL PROCESSES OR CHEMICAL REACTIONS IN GASES AND OTHER SUBSTANCES
Inventor: SCHAUBERGER WALTER

AT197625 -- Bodenbearbeitungsgeräte, insbesondere für die Land-, Forst- und Gartenwirtschaft
Inventor: SCHAUBERGER WALTER DIPL ING

FR381754 -- Haveuse mécanique
Inventor: SCHAUBERGER SIEGMUND

DE1040730 -- Device for treating liquids and gases comprises funnel having part directed from funnel opening formed as mold sleeve body with section of hyperboloid
Inventor: REIZ HELMUT, SCHAUBERGER JOERG    

DE1815149 -- AUSWECHSELBARER TOPFREINIGER.
Inventor: SCHAUBERGER WILLY

DE1059938 -- Verfahren zur Duengung von Boeden mit Spurenelementen und zu dessen Durchfuehrung geeignete Duengungs- und Bodenbearbeitungsgeraete
Inventor: SCHAUBERGER DIPL-ING WALTER, SWAROVSKI DANIEL     

DE1712326 -- GUSSSTUECK MIT DURCH EINSETZEN VON METALLQUERRIEGELN REPARIERTEN RISSEN.

Inventor: SCHAUBERGER WILLY

FR1178170 -- Appareils de travail du sol, destinés notamment à l'agriculture, à la sylviculture et à l'horticulture
Inventor: SCHAUBERGER WALTER, SWAROVSKI DANIEL


Some Hyperbolic Funnel Patents :

EP4484381 -- METHOD, SYSTEM AND ITS USE FOR REMOVAL AND/OR DEGRADATION OF MICRO-POLLUTANTS FROM A LIQUID
US2025099877 -- Disk-Pack Turbine
CN119059116 -- Hyperbola funnel silo with central pressure reducing pipe
CN221359452 -- Blending tank convenient for producing soluble concentrate
US2024110351 -- Reservoir Desilting Device Having Funnel with Bivariate Normal Surface
CN117300549 -- Manufacturing and mounting method for steel hyperbolic funnel
CN219822396 -- Ultrasonic hyperbolic funnel
CN219791595 -- Hyperbolic funnel type material distributing device
CN219387228 -- Oblique deep insertion type concrete vibrating device
CN115632583 -- Self-adaptive funnel inversion control method of bidirectional coupling permanent magnet synchronous motor
CN217806472 -- Hyperbolic vibration funnel
CN216661087 -- Storage bin funnel device based on hyperbolic curve
EP4094823 -- METHOD, SYSTEM, AND USE OF SAID SYSTEM FOR ENHANCING GAS VOLUMETRIC MASS TRANSFER
RO135670 -- VORTEX VALVE
RO135531 -- CLOSED-LOOP VORTEX TURBINE
CN114087945 -- Hyperbolic funnel measuring device and measuring method thereof
CN113152971 -- Hyperbolic coal bunker funnel steel rail cladding structure and manufacturing method thereof
CN113005983 -- Reservoir sand discharging device based on normal curved surface funnel
CN111532600 -- Hyperbolic movable vibrating funnel
CN210766635 -- Embedded system for joint surface grouting
WO2020208663 -- LIQUID EXTRACTION SYSTEM WITH FILTER FOR POWDERS AND EQUIPPED WITH CARAFE
CN110541564 -- BIM-based coal bunker hyperbolic funnel construction method
CN209582493 -- Ellipse-like hyperbolic coal bunker funnel
CN110127832 -- Imitated natural spring water producing equipment
CN110000348 -- Wide copper plate of hyperbolic funnel-shaped crystallizer and preparation method thereof
CN109878915 -- Hyperbolic funnel with flow-diverting device
RU2612204 -- WORKING BODY OF SUBSURFACE PLOW-FERTILIZER DISTRIBUTOR
RU2015128741 -- ASTEROID, COMET NUCLEUS AND OTHER SPACE OBJECTS PATH CHANGING DEVICE
CN105621118 -- Composite material bin capable of preventing binding coal
RU2015128087 -- SPACE OBJECTS PATH CHANGING DEVICE
WO2013096649 -- WIND LENS ASSEMBLY
CN102373808 -- Method for constructing hyperbolic curve funnel wall of tamping coke coaling tower
DE102010024223 -- Vortex or tornado turbine for converting energy of water or air...
CN201915638 -- Hyperbolic steel funnel construction equipment
GR20090100236 -- SYSTEM FOR AVOIDING SEA WATER-AND-FRESH WATER MIXING IN SUBSEA WATER SPRINGS - VALORISATION MODE OF SAME
DE102008046889 -- Hyperbolic round funnel having specific aspect ratio of height to diameter...
US5592738  -- System for quickly terminating wires and preventing faulty crimps
GB1180276 -- Grinding Machine
DE202004012440 -- System to vitalize water, in a flow through a flexible hose or fixed water pipe...
DE102005060841 -- Nozzle for generating turbulence, comprises funnel and perforated plate containing slanting holes
DE2649286 -- Mute for french horn - has exponential compression section to provide high tone quality without increasing pitch of note
DE2114260 -- Capacitive rainfall measuring instrument - has hyperbolic shaped capacitor plate...
CN2346751 -- Electrohydraulic swinging three-way funnel